JP4160720B2 - ポインティングデバイス - Google Patents

ポインティングデバイス Download PDF

Info

Publication number
JP4160720B2
JP4160720B2 JP2000379341A JP2000379341A JP4160720B2 JP 4160720 B2 JP4160720 B2 JP 4160720B2 JP 2000379341 A JP2000379341 A JP 2000379341A JP 2000379341 A JP2000379341 A JP 2000379341A JP 4160720 B2 JP4160720 B2 JP 4160720B2
Authority
JP
Japan
Prior art keywords
pointing device
image
pointer
plate
information terminal
Prior art date
Legal status (The legal status is an assumption and is not a legal conclusion. Google has not performed a legal analysis and makes no representation as to the accuracy of the status listed.)
Expired - Fee Related
Application number
JP2000379341A
Other languages
English (en)
Japanese (ja)
Other versions
JP2002062984A (ja
JP2002062984A5 (enExample
Inventor
剛史 星野
幸伸 丸山
幸則 浅田
Current Assignee (The listed assignees may be inaccurate. Google has not performed a legal analysis and makes no representation or warranty as to the accuracy of the list.)
Hitachi Ltd
Original Assignee
Hitachi Ltd
Priority date (The priority date is an assumption and is not a legal conclusion. Google has not performed a legal analysis and makes no representation as to the accuracy of the date listed.)
Filing date
Publication date
Application filed by Hitachi Ltd filed Critical Hitachi Ltd
Priority to JP2000379341A priority Critical patent/JP4160720B2/ja
Publication of JP2002062984A publication Critical patent/JP2002062984A/ja
Publication of JP2002062984A5 publication Critical patent/JP2002062984A5/ja
Application granted granted Critical
Publication of JP4160720B2 publication Critical patent/JP4160720B2/ja
Anticipated expiration legal-status Critical
Expired - Fee Related legal-status Critical Current

Links

Images

Landscapes

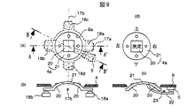
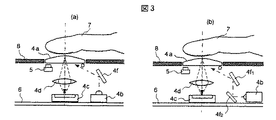
  • Position Input By Displaying (AREA)
  • Calculators And Similar Devices (AREA)
JP2000379341A 2000-12-13 2000-12-13 ポインティングデバイス Expired - Fee Related JP4160720B2 (ja)

Priority Applications (1)

Application Number Priority Date Filing Date Title
JP2000379341A JP4160720B2 (ja) 2000-12-13 2000-12-13 ポインティングデバイス

Applications Claiming Priority (1)

Application Number Priority Date Filing Date Title
JP2000379341A JP4160720B2 (ja) 2000-12-13 2000-12-13 ポインティングデバイス

Related Parent Applications (1)

Application Number Title Priority Date Filing Date
JP2000249883A Division JP2002062983A (ja) 2000-08-21 2000-08-21 ポインティングデバイス

Related Child Applications (1)

Application Number Title Priority Date Filing Date
JP2008043085A Division JP2008146680A (ja) 2008-02-25 2008-02-25 携帯情報端末

Publications (3)

Publication Number Publication Date
JP2002062984A JP2002062984A (ja) 2002-02-28
JP2002062984A5 JP2002062984A5 (enExample) 2006-03-02
JP4160720B2 true JP4160720B2 (ja) 2008-10-08

Family

ID=18847735

Family Applications (1)

Application Number Title Priority Date Filing Date
JP2000379341A Expired - Fee Related JP4160720B2 (ja) 2000-12-13 2000-12-13 ポインティングデバイス

Country Status (1)

Country Link
JP (1) JP4160720B2 (enExample)

Families Citing this family (11)

* Cited by examiner, † Cited by third party
Publication number Priority date Publication date Assignee Title
JP2002259045A (ja) * 2001-02-26 2002-09-13 Ntt Docomo Inc 手書きデータ入力装置及び方法並びに動きデータ入力装置及び方法並びに個人認証装置及び方法
JP2003288161A (ja) 2002-03-28 2003-10-10 Nec Corp 携帯機器
KR20030090997A (ko) * 2002-05-24 2003-12-01 김원찬 접촉압력 감지형 입력 디바이스
JP4585906B2 (ja) * 2005-04-27 2010-11-24 京セラ株式会社 携帯端末装置
JP4731289B2 (ja) * 2005-11-22 2011-07-20 京セラ株式会社 入力処理装置
JP4973310B2 (ja) 2007-05-15 2012-07-11 富士ゼロックス株式会社 電子筆記具、コンピュータシステム
JP5106226B2 (ja) * 2008-04-24 2012-12-26 シャープ株式会社 携帯端末装置
JP4683098B2 (ja) * 2008-09-16 2011-05-11 セイコーエプソン株式会社 入力装置、情報装置及び制御情報生成方法
JP2013011552A (ja) * 2011-06-30 2013-01-17 Navitime Japan Co Ltd ナビゲーションシステム、サーバ装置、端末装置、ナビゲーション装置、ナビゲーション方法、および、プログラム
WO2016063911A1 (ja) * 2014-10-24 2016-04-28 株式会社村田製作所 物体検出装置および情報処理装置
JP7014009B2 (ja) * 2018-03-29 2022-02-01 セイコーエプソン株式会社 操作デバイス、位置検出システム及び操作デバイスの制御方法

Also Published As

Publication number Publication date
JP2002062984A (ja) 2002-02-28

Similar Documents

Publication Publication Date Title
US7719524B2 (en) Pointing device and portable information terminal using the same
US5898600A (en) Portable information processing apparatus
US6069648A (en) Information communication terminal device
JP5316387B2 (ja) 情報処理装置、表示方法及びプログラム
US8788676B2 (en) Method and system for controlling data transmission to or from a mobile device
JP5218353B2 (ja) 情報処理装置、表示方法及びプログラム
US6809723B2 (en) Pushbutton optical screen pointing device
JP4160720B2 (ja) ポインティングデバイス
US8046033B2 (en) Mobile terminal
JP4272290B2 (ja) 携帯型電子計算機
US20040233173A1 (en) Keypad for portable electronic devices
JP4190935B2 (ja) 携帯端末装置
JP2008146680A (ja) 携帯情報端末
JP4040935B2 (ja) マウスリモコンとこれを用いた映像情報システム
TW200307450A (en) Digital still camera
KR100790090B1 (ko) 휴대폰의 메뉴 검색장치
JP3918427B2 (ja) 情報端末装置
EP1881680B1 (en) Handheld mobile communication device with slidable display/cover member
JP3995363B2 (ja) ゲーム機などに使用するコントローラ
JP2002196882A (ja) 光学式リモコン
JP2011091749A (ja) モバイル機器
JP4826926B2 (ja) 携帯通信端末およびその情報記録制御方法
JP2005192033A (ja) 携帯端末
JP2001100909A (ja) スイッチ装置及び電子機器
JPH10341363A (ja) 画像入力処理装置

Legal Events

Date Code Title Description
A521 Request for written amendment filed

Free format text: JAPANESE INTERMEDIATE CODE: A523

Effective date: 20060110

A621 Written request for application examination

Free format text: JAPANESE INTERMEDIATE CODE: A621

Effective date: 20060110

A131 Notification of reasons for refusal

Free format text: JAPANESE INTERMEDIATE CODE: A131

Effective date: 20071225

A521 Request for written amendment filed

Free format text: JAPANESE INTERMEDIATE CODE: A523

Effective date: 20080225

TRDD Decision of grant or rejection written
A01 Written decision to grant a patent or to grant a registration (utility model)

Free format text: JAPANESE INTERMEDIATE CODE: A01

Effective date: 20080708

A01 Written decision to grant a patent or to grant a registration (utility model)

Free format text: JAPANESE INTERMEDIATE CODE: A01

A61 First payment of annual fees (during grant procedure)

Free format text: JAPANESE INTERMEDIATE CODE: A61

Effective date: 20080718

R150 Certificate of patent or registration of utility model

Free format text: JAPANESE INTERMEDIATE CODE: R150

FPAY Renewal fee payment (event date is renewal date of database)

Free format text: PAYMENT UNTIL: 20110725

Year of fee payment: 3

FPAY Renewal fee payment (event date is renewal date of database)

Free format text: PAYMENT UNTIL: 20110725

Year of fee payment: 3

FPAY Renewal fee payment (event date is renewal date of database)

Free format text: PAYMENT UNTIL: 20120725

Year of fee payment: 4

FPAY Renewal fee payment (event date is renewal date of database)

Free format text: PAYMENT UNTIL: 20130725

Year of fee payment: 5

S111 Request for change of ownership or part of ownership

Free format text: JAPANESE INTERMEDIATE CODE: R313111

R350 Written notification of registration of transfer

Free format text: JAPANESE INTERMEDIATE CODE: R350

S111 Request for change of ownership or part of ownership

Free format text: JAPANESE INTERMEDIATE CODE: R313111

R350 Written notification of registration of transfer

Free format text: JAPANESE INTERMEDIATE CODE: R350

R250 Receipt of annual fees

Free format text: JAPANESE INTERMEDIATE CODE: R250

LAPS Cancellation because of no payment of annual fees