JP4147930B2 - 蒸気圧縮式冷凍機 - Google Patents
蒸気圧縮式冷凍機 Download PDFInfo
- Publication number
- JP4147930B2 JP4147930B2 JP2002366793A JP2002366793A JP4147930B2 JP 4147930 B2 JP4147930 B2 JP 4147930B2 JP 2002366793 A JP2002366793 A JP 2002366793A JP 2002366793 A JP2002366793 A JP 2002366793A JP 4147930 B2 JP4147930 B2 JP 4147930B2
- Authority
- JP
- Japan
- Prior art keywords
- heat exchanger
- temperature
- frost
- refrigerant
- temperature side
- Prior art date
- Legal status (The legal status is an assumption and is not a legal conclusion. Google has not performed a legal analysis and makes no representation as to the accuracy of the status listed.)
- Expired - Fee Related
Links
- 230000006835 compression Effects 0.000 title claims description 26
- 238000007906 compression Methods 0.000 title claims description 26
- 239000003507 refrigerant Substances 0.000 claims description 77
- XLYOFNOQVPJJNP-UHFFFAOYSA-N water Substances O XLYOFNOQVPJJNP-UHFFFAOYSA-N 0.000 claims description 29
- 238000010438 heat treatment Methods 0.000 claims description 22
- 230000015572 biosynthetic process Effects 0.000 claims description 8
- 238000007664 blowing Methods 0.000 claims description 7
- CURLTUGMZLYLDI-UHFFFAOYSA-N Carbon dioxide Chemical compound O=C=O CURLTUGMZLYLDI-UHFFFAOYSA-N 0.000 claims description 6
- 230000005855 radiation Effects 0.000 claims description 6
- 238000007710 freezing Methods 0.000 claims description 5
- 230000008014 freezing Effects 0.000 claims description 5
- 229910002092 carbon dioxide Inorganic materials 0.000 claims description 3
- 239000001569 carbon dioxide Substances 0.000 claims description 3
- 239000000498 cooling water Substances 0.000 description 14
- 239000000446 fuel Substances 0.000 description 10
- 239000003638 chemical reducing agent Substances 0.000 description 7
- 238000010586 diagram Methods 0.000 description 6
- 238000010521 absorption reaction Methods 0.000 description 4
- 238000004378 air conditioning Methods 0.000 description 4
- 230000007423 decrease Effects 0.000 description 3
- 230000003247 decreasing effect Effects 0.000 description 3
- 239000007789 gas Substances 0.000 description 3
- 238000001816 cooling Methods 0.000 description 2
- 238000001514 detection method Methods 0.000 description 2
- 239000007791 liquid phase Substances 0.000 description 2
- 238000000034 method Methods 0.000 description 2
- 239000012071 phase Substances 0.000 description 2
- 238000005057 refrigeration Methods 0.000 description 2
- 238000010257 thawing Methods 0.000 description 2
- UFHFLCQGNIYNRP-UHFFFAOYSA-N Hydrogen Chemical compound [H][H] UFHFLCQGNIYNRP-UHFFFAOYSA-N 0.000 description 1
- QVGXLLKOCUKJST-UHFFFAOYSA-N atomic oxygen Chemical compound [O] QVGXLLKOCUKJST-UHFFFAOYSA-N 0.000 description 1
- 238000002485 combustion reaction Methods 0.000 description 1
- 239000002826 coolant Substances 0.000 description 1
- 230000000694 effects Effects 0.000 description 1
- 230000005611 electricity Effects 0.000 description 1
- 230000017525 heat dissipation Effects 0.000 description 1
- 239000001257 hydrogen Substances 0.000 description 1
- 229910052739 hydrogen Inorganic materials 0.000 description 1
- 239000001301 oxygen Substances 0.000 description 1
- 229910052760 oxygen Inorganic materials 0.000 description 1
- 238000005096 rolling process Methods 0.000 description 1
- 238000011144 upstream manufacturing Methods 0.000 description 1
- 238000009736 wetting Methods 0.000 description 1
Images
Classifications
-
- B—PERFORMING OPERATIONS; TRANSPORTING
- B60—VEHICLES IN GENERAL
- B60H—ARRANGEMENTS OF HEATING, COOLING, VENTILATING OR OTHER AIR-TREATING DEVICES SPECIALLY ADAPTED FOR PASSENGER OR GOODS SPACES OF VEHICLES
- B60H1/00—Heating, cooling or ventilating [HVAC] devices
- B60H1/00642—Control systems or circuits; Control members or indication devices for heating, cooling or ventilating devices
- B60H1/00814—Control systems or circuits characterised by their output, for controlling particular components of the heating, cooling or ventilating installation
- B60H1/00878—Control systems or circuits characterised by their output, for controlling particular components of the heating, cooling or ventilating installation the components being temperature regulating devices
- B60H2001/00935—Control systems or circuits characterised by their output, for controlling particular components of the heating, cooling or ventilating installation the components being temperature regulating devices comprising four way valves for controlling the fluid direction
-
- B—PERFORMING OPERATIONS; TRANSPORTING
- B60—VEHICLES IN GENERAL
- B60H—ARRANGEMENTS OF HEATING, COOLING, VENTILATING OR OTHER AIR-TREATING DEVICES SPECIALLY ADAPTED FOR PASSENGER OR GOODS SPACES OF VEHICLES
- B60H1/00—Heating, cooling or ventilating [HVAC] devices
- B60H1/00642—Control systems or circuits; Control members or indication devices for heating, cooling or ventilating devices
- B60H1/00814—Control systems or circuits characterised by their output, for controlling particular components of the heating, cooling or ventilating installation
- B60H1/00878—Control systems or circuits characterised by their output, for controlling particular components of the heating, cooling or ventilating installation the components being temperature regulating devices
- B60H2001/00961—Control systems or circuits characterised by their output, for controlling particular components of the heating, cooling or ventilating installation the components being temperature regulating devices comprising means for defrosting outside heat exchangers
-
- F—MECHANICAL ENGINEERING; LIGHTING; HEATING; WEAPONS; BLASTING
- F25—REFRIGERATION OR COOLING; COMBINED HEATING AND REFRIGERATION SYSTEMS; HEAT PUMP SYSTEMS; MANUFACTURE OR STORAGE OF ICE; LIQUEFACTION SOLIDIFICATION OF GASES
- F25B—REFRIGERATION MACHINES, PLANTS OR SYSTEMS; COMBINED HEATING AND REFRIGERATION SYSTEMS; HEAT PUMP SYSTEMS
- F25B2309/00—Gas cycle refrigeration machines
- F25B2309/06—Compression machines, plants or systems characterised by the refrigerant being carbon dioxide
- F25B2309/061—Compression machines, plants or systems characterised by the refrigerant being carbon dioxide with cycle highest pressure above the supercritical pressure
-
- F—MECHANICAL ENGINEERING; LIGHTING; HEATING; WEAPONS; BLASTING
- F25—REFRIGERATION OR COOLING; COMBINED HEATING AND REFRIGERATION SYSTEMS; HEAT PUMP SYSTEMS; MANUFACTURE OR STORAGE OF ICE; LIQUEFACTION SOLIDIFICATION OF GASES
- F25B—REFRIGERATION MACHINES, PLANTS OR SYSTEMS; COMBINED HEATING AND REFRIGERATION SYSTEMS; HEAT PUMP SYSTEMS
- F25B2339/00—Details of evaporators; Details of condensers
- F25B2339/04—Details of condensers
- F25B2339/047—Water-cooled condensers
-
- F—MECHANICAL ENGINEERING; LIGHTING; HEATING; WEAPONS; BLASTING
- F25—REFRIGERATION OR COOLING; COMBINED HEATING AND REFRIGERATION SYSTEMS; HEAT PUMP SYSTEMS; MANUFACTURE OR STORAGE OF ICE; LIQUEFACTION SOLIDIFICATION OF GASES
- F25B—REFRIGERATION MACHINES, PLANTS OR SYSTEMS; COMBINED HEATING AND REFRIGERATION SYSTEMS; HEAT PUMP SYSTEMS
- F25B47/00—Arrangements for preventing or removing deposits or corrosion, not provided for in another subclass
- F25B47/02—Defrosting cycles
-
- F—MECHANICAL ENGINEERING; LIGHTING; HEATING; WEAPONS; BLASTING
- F25—REFRIGERATION OR COOLING; COMBINED HEATING AND REFRIGERATION SYSTEMS; HEAT PUMP SYSTEMS; MANUFACTURE OR STORAGE OF ICE; LIQUEFACTION SOLIDIFICATION OF GASES
- F25B—REFRIGERATION MACHINES, PLANTS OR SYSTEMS; COMBINED HEATING AND REFRIGERATION SYSTEMS; HEAT PUMP SYSTEMS
- F25B9/00—Compression machines, plants or systems, in which the refrigerant is air or other gas of low boiling point
- F25B9/002—Compression machines, plants or systems, in which the refrigerant is air or other gas of low boiling point characterised by the refrigerant
- F25B9/008—Compression machines, plants or systems, in which the refrigerant is air or other gas of low boiling point characterised by the refrigerant the refrigerant being carbon dioxide
Landscapes
- Air-Conditioning For Vehicles (AREA)
Description
【発明の属する技術分野】
本発明は、蒸気圧縮式冷凍機に関するもので、高圧(高温)側で発生する温熱を利用する空調装置や給湯器等に用いて有効である。
【0002】
【従来の技術】
蒸気圧縮式冷凍機では、低温(低圧)側の熱交換器にて冷媒を蒸発させて吸熱して冷熱を生成し、高温(高圧)側の熱交換器にて低温側熱交換器にて吸熱した熱量、及びポンプ手段をなす圧縮機の圧縮仕事相当の熱量を放熱して温熱を生成している。
【0003】
しかし、低温側熱交換器の温度は雰囲気温度より低いため、低温側熱交換器の表面に霜が発生(着霜)してしまう。
【0004】
そこで、従来は、低温側熱交換器の雰囲気温度(雰囲気の乾球温度)と低温側熱交換器から流出する冷媒の温度とに基づいて低温側熱交換器の表面に霜が発生したか否かを判定し、霜が発生したことを判定したときには、圧縮機から吐出した高温の冷媒を低温側熱交換器に流入させることにより低温側熱交換器を内側から加熱して低温側熱交換器の表面に発生した霜を除去していた(例えば、特許文献1参照)。
【0005】
【特許文献1】
特開2002−174474号公報
【0006】
【発明が解決しようとする課題】
ところで、低温側熱交換器の表面に発生する霜は、低温側熱交換器の表面に発生した凝縮水が凝固した(凍った)ものであるので、雰囲気温度が水の凝固点以下であっても、凝縮水が発生しなければ霜は発生しない。逆に、低温側熱交換器の表面に凝縮水が発生しても、雰囲気温度が凝固点より高いときには、霜は発生しない。
【0007】
したがって、低温側熱交換器の雰囲気温度及び低温側熱交換器から流出する冷媒の温度のみから低温側熱交換器の表面に霜が発生し得るか否かを予測することはできない。このため、特許文献1に記載の検出方法にて着霜を判定したときには、既に低温側熱交換器の表面に多量の霜が着霜してしまっているおそれが高い。
【0008】
本発明は、上記点に鑑み、第1には、従来と異なる新規な蒸気圧縮式冷凍機を提供し、第2には、低温側熱交換器の表面に多量の霜が着霜してしまう前に着霜を判定することを目的とする。
【0009】
【課題を解決するための手段】
本発明は、上記目的を達成するために、請求項1に記載の発明では、低温側の熱を高温側に移動させる蒸気圧縮式冷凍機であって、低温側雰囲気である室外の空気中に配置され、冷媒と雰囲気とを熱交換させる低温側熱交換器(3)と、高温側に配置され、冷媒と水とを熱交換させる高温側熱交換器(2)と、低温側熱交換器(3)と高温側熱交換器(2)との間で冷媒を循環させるポンプ手段(1)と、低温側熱交換器(3)の表面に霜が発生し得る状況にあるか否か判定する着霜予測手段と、着霜予測手段により低温側熱交換器(3)の表面に霜が発生し得る状況にあると判定されたときに、ポンプ手段(1)の作動を制御する着霜判定時ポンプ制御手段とを備え、
高温側熱交換器(2)にて熱交換した水は、室内に吹き出す空気を加熱する熱源として用いられ、着霜予測手段は、低温側熱交換器(3)から流出する冷媒の温度(THO)が、室外空気の相対湿度および室外空気の温度から算出される室外空気の露点温度(Tf)未満であるときであって、かつ、低温側熱交換器(3)から流出する冷媒の温度(THO)が水の凝固点以下であるときに、低温側熱交換器(3)の表面に霜が発生し得る状況にあると判定し、
着霜予測手段により低温側熱交換器(3)の表面に霜が発生し得る状況にないと判定されたときには、ポンプ手段(1)の目標回転数(IVO)は、高温側熱交換器(2)にて加熱された水の温度が目標吹出温度(TAO)に基づいて算出された目標水温(TWO)となるような値に決定され、目標吹出温度(TAO)は、室外空気の温度、室内空気の温度、室内に注がれる日射量および室内の設定温度に基づいて算出されており、着霜予測手段により低温側熱交換器(3)の表面に霜が発生し得る状況にあると判定されたときには、着霜判定時ポンプ制御手段が、着霜予測手段により低温側熱交換器(3)の表面に霜が発生し得る状況にあると判定される前の目標回転数(IVO)から予め定めた所定値(β)を減算した値に、目標回転数(IVO)を変更することを特徴とする。
【0010】
これにより、低温側熱交換器の雰囲気温度及び低温側熱交換器から流出する冷媒の温度のみから低温側熱交換器の表面に霜が発生し得るか否かを予測する手法に比べて、低温側熱交換器の表面に多量の霜が着霜してしまう前に着霜を判定することができ得る
【0014】
さらに、吸熱効率が大きく低下することを抑制しながら、除霜運転が行われる頻度を低減することができるので、蒸気圧縮式冷凍機の運転効率を向上させることができる。
【0015】
請求項2に記載の発明では、冷媒として二酸化炭素が用いられていることを特徴とするものである。
【0016】
請求項3に記載の発明では、高圧側の冷媒圧力を冷媒の臨界圧力以上まで上昇させることを特徴とするものである。
【0020】
因みに、上記各手段の括弧内の符号は、後述する実施形態に記載の具体的手段との対応関係を示す一例である。
【0021】
【発明の実施の形態】
(第1実施形態)
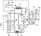
本実施形態は、本発明に係る蒸気圧縮式冷凍機を、二酸化炭素を冷媒とする電気自動車用の空調装置に適用したものであって、図1は本実施形態に係る車両用空調装置の模式図である。
【0022】
なお、本実施形態に係る電気自動車は、酸素と水素とを化学反応させることにより発電する燃料電池(FCスタック)20から走行用電動モータ(図示せず。)に電力を供給するものであり、ラジエータ21は燃料電池20を加熱又は冷却するための冷却水と外気とを熱交換して冷却水を冷却する熱交換器であり、ポンプ22は冷却水を循環させる電動ポンプである。
【0023】
圧縮機1は冷媒を吸入圧縮するポンプ手段であり、本実施形態では、インバータ制御方式の電動圧縮機を採用している。第1室外熱交換器2は圧縮機1から吐出した冷媒と燃料電池20から流出した冷却水とを熱交換する熱交換器であり、第2室外熱交換器3は冷媒と室外空気とを熱交換する熱交換器である。
【0024】
なお、図1では、第1室外熱交換器2において冷媒と冷却水とは並行流となっているが、実際の第1室外熱交換器2では、両者を対向流として熱交換効率を高めている。
【0025】
室内熱交換器4は室内に吹き出す空気と冷媒とを熱交換する熱交換器であり、内部熱交換器5は圧縮機1に吸引される低圧冷媒と減圧される前の高圧冷媒とを熱交換する熱交換器である。
【0026】
切替弁6は圧縮機1から吐出した減圧される前の高圧冷媒を第2室外熱交換器3側に循環させる場合と室内熱交換器4側に循環させる場合とを切り替えるバルブである。第1、2減圧器7、8は冷媒を減圧膨脹させる減圧手段であり、両減圧器7、8の絞り開度は、電子制御装置(図示せず。)により制御される。
【0027】
そして、電子制御装置には、圧縮機1から吐出する冷媒の温度を検出する吐出冷媒温度センサ9a、圧縮機1から吐出する冷媒の圧力検出する吐出冷媒圧力センサ9b、第1室外熱交換器2から流出する冷媒の温度を検出する第1室外熱交換器冷媒温度センサ9c、第2室外熱交換器3から流出する冷媒の温度を検出する第2室外熱交換器冷媒温度センサ9d、室内熱交換器4から流出した冷媒の圧力を検出する室内熱交換器冷媒圧力センサ9e、室内熱交換器4から流出した冷媒の温度を検出する室内熱交換器冷媒温度センサ9f、第1室外熱交換器2に流入する冷却水の温度を検出する水温センサ9g、車室外空気温度を検出する外気温センサ9h、車室外空気の相対湿度を検出する外気湿度センサ9j、室内空気温度を検出する内気温センサ9k、室内に注がれる日射を検出する日射センサ9m、車室内空気の相対湿度を検出する内気湿度センサ9n、及び室内熱交換器4を通過した直後の空気温度を検出する室内熱交換器空気温度センサ9pの検出値が入力されている。
【0028】
なお、アキュムレータ10は、冷媒を気相冷媒と液相冷媒とに分離して余剰冷媒を液相冷媒として蓄えるとともに、気相冷媒を圧縮機1の吸入側に供給するものである。
【0029】
ところで、空調ケーシング11は、室内熱交換器4を収納して室内に吹き出す空気の通路を構成するもので、この空調ケーシング11内うち室内熱交換器4より空気流れ下流側には、冷却水を熱源として室内に吹き出す空気を加熱するヒータ12が配置されている。
【0030】
エアミックスドア13は、室内熱交換器4を通過した空気のうちヒータ12を通過して加熱される温風とヒータ12を迂回して流れる冷風との風量割合を調節することにより室内に吹き出す空気の温度を調節するものである。
【0031】
また、空調ケーシング11の最上流側には、空調ケーシング11内に導入する室内空気量と室外空気量と調節する内外気切換ユニット14、及び室内に空気を送風する送風機15が設けられ、空調ケーシング11の最下流側には、空気を吹き出させる吹出口を選択開閉する吹出モード切換装置(図示せず。)が設けられている。
【0032】
なお、圧縮機1の回転数、エアミックスドア13、内外気切換ユニット14、送風機15及び吹出モード切換装置も電子制御装置にて制御されている。
【0033】
次に、本実施形態の作動を述べる。
【0034】
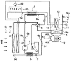
1.冷房運転(図2参照)
外気温センサ9h、内気温センサ9k及び日射センサ9mの検出値、並びに乗員が設定入力した希望室内温度(設定温度)等に基づいて算出された目標吹出温度TAOが所定温度以下のときに実行されるもので、エアミックスドア13にてヒータ12のコア面を閉じて室内に流れ込む温風量を0とした状態で、冷媒を、圧縮機1→第1室外熱交換器2→第2減圧器8→切替弁6→第2室外熱交換器3→内部熱交換器5→第1減圧器7→室内熱交換器4→アキュムレータ10→内部熱交換器5→圧縮機1の順で循環させる。
【0035】
このとき、第2減圧器8にて冷媒が減圧されないように第2減圧器8の絞り開度を全開とするとともに、吐出冷媒圧力センサ9bの検出圧力が第2室外熱交換器冷媒温度センサ9dによって決定される目標高圧圧力Poとなるように第1減圧器7の絞り開度を制御することにより、室内熱交換器4にて室内に吹き出す空気から吸熱して蒸発した冷媒の熱を第1室外熱交換器2及び第2室外熱交換器3にて放熱する。
【0036】
なお、目標高圧圧力Poとは、蒸気圧縮式冷凍機の成績係数が略最大となる圧力であり、この目標高圧圧力Poは高圧側での放熱能力によって変化するため、冷房運転時では、第2室外熱交換器冷媒温度センサ9dの検出温度に基づいて決定する。
【0037】
また、室内熱交換器空気温度センサ9pの検出温度が目標吹出温度TAOとなるように圧縮機1の回転数が制御される。
【0038】
2.暖房運転(図3参照)
目標吹出温度TAOが所定温度以上であって、内気温センサ9kの検出温度が内気湿度センサ9nの検出湿度及び内気温センサ9kの検出温度から算出される露点温度より高いときに実行されるもので、エアミックスドア13にてヒータ12を迂回する空気通路を閉じた状態で、冷媒を、圧縮機1→第1室外熱交換器2→第2減圧器8→切替弁6→室内熱交換器4→第1減圧器7→内部熱交換器5→第2室外熱交換器3→切替弁6→アキュムレータ10→圧縮機1の順に循環させる。
【0039】
このとき、第2減圧器8にて冷媒が減圧されないように第2減圧器8の絞り開度を全開とするとともに、室内熱交換器冷媒圧力センサ9eの検出圧力が室内熱交換器冷媒温度センサ9fによって決定される目標高圧圧力Poとなるように第1減圧器7の絞り開度を制御することにより、第2室外熱交換器3にて室外空気から吸熱して蒸発した冷媒の熱を第1室外熱交換器2及び室内熱交換器4にて放熱する。このため、室内に吹き出す空気は室内熱交換器4及びヒータ12にて加熱されて室内に吹き出される。
【0040】
また、ヒータ12に供給される冷却水(温水)は、燃料電池20及び第1室外熱交換器2にて加熱されており、ヒータ12に供給される冷却水の温度は第1室外熱交換器2の加熱能力で決定されることから、本実施形態では、ヒータ12に供給される冷却水の温度が、目標吹出温度TAOにヒータ12での熱交換効率γを乗じた目標水温TWO(=TAO×γ)となるように圧縮機1の回転数を制御する。
【0041】
具体的には、目標水温TWOと水温センサ9gの検出温度との温度差、及び温度差の変化率からファジー理論に基づいて圧縮機1の回転数変化量Δfを決定するものである。
【0042】
なお、内部熱交換器5の圧縮機1側及び第1減圧器7側には、共に減圧後の冷媒が流れるため、実質的に熱交換が行われない。
【0043】
因みに、目標水温TWOと水温センサ9gの検出温度との温度差が所定温度以下のとき、又は水温センサ9gの検出温度が目標水温TWO以上であるときには、圧縮機1を停止して蒸気圧縮式冷凍機による暖房補助、つまり蒸気圧縮式冷凍機によってヒータ12に流入する冷却水を加熱することは行わない。
【0044】
3.除湿暖房
目標吹出温度TAOが所定温度以上であって、内気温センサ9kの検出温度が内気湿度センサ9nの検出湿度及び内気温センサ9kの検出温度から算出される露点温度より高いときに実行されるもので、エアミックスドア13にてヒータ12を迂回する空気通路を閉じた状態で、冷媒を暖房運転時と同様な経路で循環させる。
【0045】
具体的には、圧縮機1→第1室外熱交換器2→第2減圧器8→切替弁6→室内熱交換器4→第1減圧器7→内部熱交換器5→第2室外熱交換器3→切替弁6→アキュムレータ10→圧縮機1の順である。
【0046】
このとき、吐出冷媒圧力センサ9bの検出圧力が第1室外熱交換器冷媒温度センサ9cによって決定される目標高圧圧力Poとなるように第2減圧器8の絞り開度を制御することにより、第1室外熱交換器2にて冷却水を加熱して間接的に室内に吹き出す空気を加熱するとともに、室内熱交換器4にて冷媒を蒸発させて室内に吹き出す空気を冷却する。
【0047】
このため、室内熱交換器4にて除湿冷却された空気がヒータ12にて再加熱されるため、除湿しながら暖房を行うことができる。因みに、圧縮機1の制御は、暖房運転時と同じである。
【0048】
なお、暖房運転時及び除湿暖房運転時においては、第2室外熱交換器3が特許請求の範囲に記載された低温側熱交換器となり、第1室外熱交換器2が特許請求の範囲に記載された高温側熱交換器となる。
【0049】
ところで、図4は暖房運転時及び除湿暖房運転時における空調装置の特徴的作動を示すフローチャートであり、以下、このフローチャートについて述べる。
【0050】
外気温センサ9h、内気温センサ9k及び日射センサ9mの検出値、並びに乗員が設定入力した希望室内温度(パネル入力)等に基づいて算出された目標吹出温度TAOを算出し(S110〜S130)、この目標吹出温度TAOから目標水温TWOを算出した後(S140)、目標水温TWOに基づいて圧縮機1の目標回転数IVOを算出する(S160)。
【0051】
次に、外気湿度センサ9j及び外気温センサ9hの検出温度(外気乾球温度)に基づいて、第2室外熱交換器3の雰囲気の露点温度Tfを算出し、第2室外熱交換器冷媒温度センサ9dの検出温度THOが露点温度Tf未満であるか否かを判定する(S170)。
【0052】
そして、検出温度THOが露点温度Tf未満であるときには、第2室外熱交換器3の表面に凝縮水が発生することから、検出温度THOが所定温度α、つまり水の凝固点(0℃)以下か否かを判定する(S180)。
【0053】
なお、露点温度Tfは、周知ごとく、相対湿度及び乾球温度が解れば、湿り空気線図(図5参照)から求めることができる。
【0054】
そして、検出温度THOが所定温度α以下のときには、第2室外熱交換器3の表面に霜が発生するおそれが非常に高いことから、S160にて決定した目標回転数IVOより低い回転数を目標圧縮機回転数IVOとして、アクチュエータ、つまり圧縮機1及び減圧機等を実際に稼動させる(S190、S200)。
【0055】
換言すれば、第2室外熱交換器3の表面に霜が発生し得る状況にあると判定されたときには、第2室外熱交換器3の表面に霜が発生し得る状況にあると判定される前に比べて、循環させる冷媒流量を減少させて蒸気圧縮式冷凍機の吸熱能力及び加熱能力を低下(セーブ)する。
【0056】
なお、検出温度THOと外気温度との温度差が所定温度差(例えば、20℃)以上となったときには、圧縮機1から吐出した高圧冷媒(ホットガス)を第2室外熱交換器3にに流入させることにより第2室外熱交換器3を内側から加熱して霜を除去する除霜を行う。
【0057】
次に、本実施形態の作用効果を述べる。
【0058】
本実施形態では、低温側雰囲気の温度及び相対湿度に基づいて露点温度を算出して低温側熱交換器をなす第2室外熱交換器3の表面に霜が発生し得る状況にあるか否か判定するので、低温側熱交換器の表面に多量の霜が着霜してしまう前に着霜を判定することができ得る。
【0059】
また、第2室外熱交換器3の表面に霜が発生し得る状況にあると判定されたときには、循環させる冷媒流量を減少させて蒸気圧縮式冷凍機の吸熱能力及び加熱能力を低下(セーブ)するので、着霜の進行速度を小さくすることができる。
【0060】
したがって、吸熱効率が大きく低下することを抑制しながら、除霜運転が行われる頻度を低減することができるので、蒸気圧縮式冷凍機の運転効率を向上させることができる。
【0061】
(参考例)
上述の実施形態では、第2室外熱交換器3の表面に霜が発生し得る状況にあると判定されたときには、循環させる冷媒流量を減少させて蒸気圧縮式冷凍機の吸熱能力及び加熱能力を低下(セーブ)したが、参考例では、第2室外熱交換器3の表面に霜が発生し得る状況にあると判定されたときには、蒸気圧縮式冷凍機による暖房補助を行うか行わないかのしきい値をなす温度を下げるものである。
【0062】
具体的には、図6のS195に示すように、第2室外熱交換器3の表面に霜が発生し得る状況にあると判定されたときには、目標水温TWOを低下させることにより蒸気圧縮式冷凍機による暖房補助を第1実施形態に比べて早めに停止させて、蒸気圧縮式冷凍機の吸熱能力及び加熱能力を低下(セーブ)させるものである。
【0063】
なお、S195及び水温センサ9gの検出温度が所定温度(例えば、60℃)以上となったときに除霜運転を行う点以外は第1実施形態と同じである。
【0064】
ところで、図1では、燃料電池20はラジエータ21及び第2室外熱交換器3とは別の部位に配置されているが、実装状態では、車両前側から順に、第2室外熱交換器3、ラジエータ21、燃料電池20の順で配置されている。このため、車両の走行風は、第2室外熱交換器3及びラジエータ21を通過して燃料電池20に当たる。
【0065】
これにより、本参考例では、第1実施形態に比べて第2室外熱交換器3の表面に多くの霜が発生するものの、第2室外熱交換器3の表面に多くの霜が発生すると、燃料電池20に当たる走行風量が減少するので、第2室外熱交換器3に霜が発生する以前に比べて冷却水温度が上昇し、蒸気圧縮式冷凍機による暖房補助を停止しても、燃料電池20にて加熱された冷却水のみにて室内に吹き出す空気を十分に加熱することができる。
【0066】
延いては、蒸気圧縮式冷凍機の稼働率を低減することができるので、蒸気圧縮式冷凍機の運転効率を向上させることができる。
【0067】
(その他の実施形態)
上述の実施形態では、運転時に発熱する車両機器として燃料電池20を用いたが、本発明はこれに限定されるものではなく、運転時に発熱する車両機器として、例えば内燃機関としてもよい。
【0068】
また、上述の実施形態では、高圧(高温)側で発生する温熱を利用する空調装置に本発明を適用したが、冷凍庫等の低温(低圧)側で発生する冷熱を利用する蒸気圧縮式冷凍機にも適用することができる。
【0069】
また、上述の実施形態では、高圧側の冷媒圧力を冷媒の臨界圧力以上まで上昇させて必要な能力を得ていたが、本発明はこれに限定されるものではなく、例えば冷媒をフロンとして、高圧側の冷媒圧力を冷媒の臨界圧力未満としてもよい。
【図面の簡単な説明】
【図1】本発明の実施形態に係る空調装置の模式図である。
【図2】本発明の実施形態に係る空調装置の冷媒流れを示す模式図である。
【図3】本発明の実施形態に係る空調装置の冷媒流れを示す模式図である。
【図4】本発明の第1実施形態に係る空調装置の制御を示すフローチャートである。
【図5】湿り線図である。
【図6】 参考例に係る空調装置の制御を示すフローチャートである。
【符号の説明】
1…圧縮機、2…第1室外熱交換器、3…第2室外熱交換器、
4…室内熱交換器、5…内部熱交換器、9h…外気温センサ、
9j…外気湿度センサ。
Claims (3)
- 低温側の熱を高温側に移動させる蒸気圧縮式冷凍機であって、
低温側雰囲気である室外の空気中に配置され、冷媒と雰囲気とを熱交換させる低温側熱交換器(3)と、
高温側に配置され、冷媒と水とを熱交換させる高温側熱交換器(2)と、
前記低温側熱交換器(3)と前記高温側熱交換器(2)との間で冷媒を循環させるポンプ手段(1)と、
前記低温側熱交換器(3)の表面に霜が発生し得る状況にあるか否か判定する着霜予測手段と、
前記着霜予測手段により前記低温側熱交換器(3)の表面に霜が発生し得る状況にあると判定されたときに、前記ポンプ手段(1)の作動を制御する着霜判定時ポンプ制御手段とを備え、
前記高温側熱交換器(2)にて熱交換した水は、室内に吹き出す空気を加熱する熱源として用いられ、
前記着霜予測手段は、前記低温側熱交換器(3)から流出する冷媒の温度(THO)が、前記室外空気の相対湿度および前記室外空気の温度から算出される前記室外空気の露点温度(Tf)未満であるときであって、かつ、前記低温側熱交換器(3)から流出する冷媒の温度(THO)が水の凝固点以下であるときに、前記低温側熱交換器(3)の表面に霜が発生し得る状況にあると判定し、
前記着霜予測手段により前記低温側熱交換器(3)の表面に霜が発生し得る状況にないと判定されたときには、前記ポンプ手段(1)の目標回転数(IVO)は、前記高温側熱交換器(2)にて加熱された水の温度が目標吹出温度(TAO)に基づいて算出された目標水温(TWO)となるような値に決定され、
前記目標吹出温度(TAO)は、前記室外空気の温度、前記室内空気の温度、前記室内に注がれる日射量および前記室内の設定温度に基づいて算出されており、
前記着霜予測手段により前記低温側熱交換器(3)の表面に霜が発生し得る状況にあると判定されたときには、前記着霜判定時ポンプ制御手段が、前記着霜予測手段により前記低温側熱交換器(3)の表面に霜が発生し得る状況にあると判定される前の目標回転数(IVO)から予め定めた所定値(β)を減算した値に、前記目標回転数(IVO)を変更することを特徴とする蒸気圧縮式冷凍機。 - 冷媒として二酸化炭素が用いられていることを特徴とする請求項1に記載の蒸気圧縮式冷凍機。
- 高圧側の冷媒圧力を冷媒の臨界圧力以上まで上昇させることを特徴とする請求項1または2に記載の蒸気圧縮式冷凍機。
Priority Applications (1)
| Application Number | Priority Date | Filing Date | Title |
|---|---|---|---|
| JP2002366793A JP4147930B2 (ja) | 2002-12-18 | 2002-12-18 | 蒸気圧縮式冷凍機 |
Applications Claiming Priority (1)
| Application Number | Priority Date | Filing Date | Title |
|---|---|---|---|
| JP2002366793A JP4147930B2 (ja) | 2002-12-18 | 2002-12-18 | 蒸気圧縮式冷凍機 |
Publications (2)
| Publication Number | Publication Date |
|---|---|
| JP2004198027A JP2004198027A (ja) | 2004-07-15 |
| JP4147930B2 true JP4147930B2 (ja) | 2008-09-10 |
Family
ID=32763885
Family Applications (1)
| Application Number | Title | Priority Date | Filing Date |
|---|---|---|---|
| JP2002366793A Expired - Fee Related JP4147930B2 (ja) | 2002-12-18 | 2002-12-18 | 蒸気圧縮式冷凍機 |
Country Status (1)
| Country | Link |
|---|---|
| JP (1) | JP4147930B2 (ja) |
Cited By (2)
| Publication number | Priority date | Publication date | Assignee | Title |
|---|---|---|---|---|
| WO2021100076A1 (ja) | 2019-11-18 | 2021-05-27 | 三菱電機株式会社 | 冗長レゾルバ及びそれを搭載した電動パワーステアリング装置 |
| WO2021205596A1 (ja) | 2020-04-09 | 2021-10-14 | 三菱電機株式会社 | 冗長レゾルバ及び冗長レゾルバを搭載した電動パワーステアリング装置 |
Families Citing this family (18)
| Publication number | Priority date | Publication date | Assignee | Title |
|---|---|---|---|---|
| JP4631576B2 (ja) * | 2005-07-21 | 2011-02-16 | 株式会社デンソー | 暖房サイクル装置、その制御装置およびその制御方法 |
| JP4799347B2 (ja) * | 2006-09-28 | 2011-10-26 | 三菱電機株式会社 | 給湯、冷温水空気調和装置 |
| JP4957206B2 (ja) * | 2006-11-24 | 2012-06-20 | トヨタ自動車株式会社 | 燃料電池と空調の協調冷却システム |
| JP5006697B2 (ja) * | 2007-05-23 | 2012-08-22 | カルソニックカンセイ株式会社 | 車両用空調システム |
| JP2010025493A (ja) * | 2008-07-23 | 2010-02-04 | Sanden Corp | ヒートポンプ式給湯装置 |
| JP5446520B2 (ja) * | 2009-07-03 | 2014-03-19 | 株式会社デンソー | 車両用空調装置の制御方法 |
| JP5851696B2 (ja) * | 2011-01-21 | 2016-02-03 | サンデンホールディングス株式会社 | 車両用空気調和装置 |
| JP5851703B2 (ja) * | 2011-02-25 | 2016-02-03 | サンデンホールディングス株式会社 | 車両用空気調和装置 |
| US9925877B2 (en) | 2011-01-21 | 2018-03-27 | Sanden Holdings Corporation | Vehicle air conditioning apparatus |
| DE112012000522B4 (de) | 2011-01-21 | 2020-12-17 | Sanden Holdings Corporation | Fahrzeugklimatisierungseinrichtung |
| JP5851704B2 (ja) * | 2011-02-25 | 2016-02-03 | サンデンホールディングス株式会社 | 車両用空気調和装置 |
| DE102012219168B4 (de) | 2012-10-22 | 2021-10-14 | Bayerische Motoren Werke Aktiengesellschaft | Verfahren zum Steuern des Kältemitteldrucks in einem Umgebungswärmetauscher eines Kältemittelkreislaufs |
| JP5929862B2 (ja) * | 2013-09-30 | 2016-06-08 | ダイキン工業株式会社 | 空気調和装置 |
| JP7243197B2 (ja) * | 2019-01-11 | 2023-03-22 | 株式会社デンソー | 車両用空調装置 |
| CN110103668A (zh) * | 2019-05-24 | 2019-08-09 | 上汽大众汽车有限公司 | 汽车的热泵空调 |
| CN113715574B (zh) * | 2021-07-29 | 2023-05-02 | 西安交通大学 | 跨临界二氧化碳电动汽车热管理系统及其无霜控制方法 |
| CN114370691B (zh) * | 2022-01-27 | 2023-11-03 | 宁波奥克斯电气股份有限公司 | 一种空调器的控制方法和空调器 |
| CN118968670B (zh) * | 2024-10-08 | 2024-12-24 | 杭州企智互联科技有限公司 | 一种基于物联网的自动售货机远程管理系统 |
-
2002
- 2002-12-18 JP JP2002366793A patent/JP4147930B2/ja not_active Expired - Fee Related
Cited By (3)
| Publication number | Priority date | Publication date | Assignee | Title |
|---|---|---|---|---|
| WO2021100076A1 (ja) | 2019-11-18 | 2021-05-27 | 三菱電機株式会社 | 冗長レゾルバ及びそれを搭載した電動パワーステアリング装置 |
| WO2021205596A1 (ja) | 2020-04-09 | 2021-10-14 | 三菱電機株式会社 | 冗長レゾルバ及び冗長レゾルバを搭載した電動パワーステアリング装置 |
| US12163809B2 (en) | 2020-04-09 | 2024-12-10 | Mitsubishi Electric Corporation | Redundant resolver and electric power steering device equipped with redundant resolver |
Also Published As
| Publication number | Publication date |
|---|---|
| JP2004198027A (ja) | 2004-07-15 |
Similar Documents
| Publication | Publication Date | Title |
|---|---|---|
| JP4147930B2 (ja) | 蒸気圧縮式冷凍機 | |
| JP4232463B2 (ja) | 空調装置 | |
| JP4517529B2 (ja) | ヒートポンプサイクル、加熱装置、車両用暖房装置、暖房装置および蒸気圧縮式冷凍サイクル | |
| US11577579B2 (en) | Vehicle air-conditioning device | |
| CN109983287B (zh) | 制冷循环装置 | |
| JP6041423B2 (ja) | 車両用ヒートポンプシステム及びその制御方法 | |
| US6314750B1 (en) | Heat pump air conditioner | |
| US6750630B2 (en) | Battery temperature control device for controlling the temperature of a battery installed in vehicle which includes an air passage to the battery from a rear air-conditioning unit | |
| JP5892774B2 (ja) | 車両用ヒートポンプシステムの制御方法 | |
| JP6192435B2 (ja) | 車両用空気調和装置 | |
| JP6065637B2 (ja) | 冷却システム | |
| WO2003083381A1 (fr) | Dispositif a cycle frigorifique | |
| JP5786615B2 (ja) | 自動車用温調システム | |
| JP2013129353A (ja) | 車両用空調装置 | |
| WO2004056594A1 (ja) | 空調装置 | |
| KR20130026872A (ko) | 차량용 히트펌프 시스템 및 그 제어방법 | |
| JP4211186B2 (ja) | 車両用ヒートポンプ装置 | |
| CN111762000B (zh) | 热泵空调系统、送风子系统和控制热泵空调系统的方法 | |
| JP2001324237A (ja) | 冷凍サイクル装置 | |
| JP3704814B2 (ja) | 車両用空気調和装置 | |
| US20030079873A1 (en) | Vehicle air conditioning system | |
| JPH11173729A (ja) | 冷蔵庫 | |
| JPH0914780A (ja) | 空調装置 | |
| JP2005178524A (ja) | 燃料電池の加熱機能を有するヒートポンプ装置 | |
| JPH11159911A (ja) | 冷凍サイクル装置 |
Legal Events
| Date | Code | Title | Description |
|---|---|---|---|
| A621 | Written request for application examination |
Free format text: JAPANESE INTERMEDIATE CODE: A621 Effective date: 20050204 |
|
| A977 | Report on retrieval |
Free format text: JAPANESE INTERMEDIATE CODE: A971007 Effective date: 20071005 |
|
| A131 | Notification of reasons for refusal |
Free format text: JAPANESE INTERMEDIATE CODE: A131 Effective date: 20071016 |
|
| A521 | Written amendment |
Free format text: JAPANESE INTERMEDIATE CODE: A523 Effective date: 20071211 |
|
| TRDD | Decision of grant or rejection written | ||
| A01 | Written decision to grant a patent or to grant a registration (utility model) |
Free format text: JAPANESE INTERMEDIATE CODE: A01 Effective date: 20080603 |
|
| A01 | Written decision to grant a patent or to grant a registration (utility model) |
Free format text: JAPANESE INTERMEDIATE CODE: A01 |
|
| A61 | First payment of annual fees (during grant procedure) |
Free format text: JAPANESE INTERMEDIATE CODE: A61 Effective date: 20080616 |
|
| FPAY | Renewal fee payment (event date is renewal date of database) |
Free format text: PAYMENT UNTIL: 20110704 Year of fee payment: 3 |
|
| R150 | Certificate of patent or registration of utility model |
Ref document number: 4147930 Country of ref document: JP Free format text: JAPANESE INTERMEDIATE CODE: R150 Free format text: JAPANESE INTERMEDIATE CODE: R150 |
|
| FPAY | Renewal fee payment (event date is renewal date of database) |
Free format text: PAYMENT UNTIL: 20120704 Year of fee payment: 4 |
|
| FPAY | Renewal fee payment (event date is renewal date of database) |
Free format text: PAYMENT UNTIL: 20120704 Year of fee payment: 4 |
|
| FPAY | Renewal fee payment (event date is renewal date of database) |
Free format text: PAYMENT UNTIL: 20130704 Year of fee payment: 5 |
|
| R250 | Receipt of annual fees |
Free format text: JAPANESE INTERMEDIATE CODE: R250 |
|
| S802 | Written request for registration of partial abandonment of right |
Free format text: JAPANESE INTERMEDIATE CODE: R311802 |
|
| R350 | Written notification of registration of transfer |
Free format text: JAPANESE INTERMEDIATE CODE: R350 |
|
| R250 | Receipt of annual fees |
Free format text: JAPANESE INTERMEDIATE CODE: R250 |
|
| R250 | Receipt of annual fees |
Free format text: JAPANESE INTERMEDIATE CODE: R250 |
|
| R250 | Receipt of annual fees |
Free format text: JAPANESE INTERMEDIATE CODE: R250 |
|
| R250 | Receipt of annual fees |
Free format text: JAPANESE INTERMEDIATE CODE: R250 |
|
| LAPS | Cancellation because of no payment of annual fees |