JP4100976B2 - インクジェット記録用インクセット、インクジェット記録方法、インクカートリッジ、記録ユニット及びインクジェット記録装置 - Google Patents
インクジェット記録用インクセット、インクジェット記録方法、インクカートリッジ、記録ユニット及びインクジェット記録装置 Download PDFInfo
- Publication number
- JP4100976B2 JP4100976B2 JP2002176078A JP2002176078A JP4100976B2 JP 4100976 B2 JP4100976 B2 JP 4100976B2 JP 2002176078 A JP2002176078 A JP 2002176078A JP 2002176078 A JP2002176078 A JP 2002176078A JP 4100976 B2 JP4100976 B2 JP 4100976B2
- Authority
- JP
- Japan
- Prior art keywords
- ink
- color
- black
- jet recording
- recording
- Prior art date
- Legal status (The legal status is an assumption and is not a legal conclusion. Google has not performed a legal analysis and makes no representation as to the accuracy of the status listed.)
- Expired - Fee Related
Links
Images
Landscapes
- Ink Jet (AREA)
- Ink Jet Recording Methods And Recording Media Thereof (AREA)
- Inks, Pencil-Leads, Or Crayons (AREA)
Description
【発明の属する技術分野】
本発明は、インクジェット記録用インクセット、該インクセットを用いるインクジェット記録方法、インクカートリッジ、記録ユニット及びインクジェット記録装置に関する。
【0002】
【従来の技術】
近年のインクジェット記録画像の品質は、銀塩写真とほぼ同等のレベルにまで向上してきている。一方、インクジェット記録画像の更なる耐久性、例えば、耐光性の向上のために、マルチカラー画像の形成に必要なインクの全てについて、例えば、イエロー(Y)、マゼンタ(M)、及びシアン(C)の各カラーインクと、ブラック(Bk)インクの全てについて、色材を水不溶性のもの、例えば、顔料とすることが検討されてきている。しかし、全てのインクが色材として顔料を含んでいるインクセットを用いて形成したインクジェット記録画像の品位は、銀塩写真のレベルには及ばないものであり、本発明者らは、かかるインクセットを用いて、銀塩写真並の高い品質のインクジェット記録画像を得るためには、更なる技術の開発が必要であるとの認識を得ている。ところで、本発明者らは、色材として顔料を含む顔料インクを組み合わせたインクセットに対しても、色材として染料を用いている染料インクで採用されてきた技術が、有効な場合があるとの知見を得ている。
【0003】
【発明が解決しようとする課題】
これまで染料インクで採用されてきた技術には、多種多様のものがある。例えば、色材として染料を用いた染料インクでは、ブラックインク(Bkインク)に対しては、キャラクターのプリントに多用されることから、より高いOD(画像濃度)とエッジシャープネスが要求されるため、Bkインクには、比較的高い表面張力を持たせるのが好ましいとされている。一方、カラーインクに対しては、異なる色のカラーインク同士が、被記録材上に隣接して付与されたときに、それらのインクの境界領域で生じるインクの混色の抑制、即ち、ブリードの緩和が要求されるため、カラーインクには、比較的低い表面張力を持たせることが有効であるとされている。このこと自体は、例えば、特開平3−41171号公報にも記載されているように、公知の事項である。
【0004】
本発明者らは、水不溶性の色材、例えば顔料を含むインクを用いたインクジェット記録システムの検討を通じ、当該システムにおいても、Bkインクの表面張力を高くし、カラーインクの表面張力をBkインクよりも低くすることが高品位なマルチカラー画像を形成するためには有効であるとの知見を得ている。しかしながら、このようなシステムにおける解決すべき技術課題の一つに、被記録材上にBkインク画像とカラーインク画像とが隣接しているときの、Bkインク画像とカラーインク画像との間におけるブリード発生の抑制がある。本発明者らは、この技術課題に対して種々の検討を重ねた結果、Bkインク画像とカラーインク画像との間のブリードが緩和された、高品位なマルチカラー画像の形成に好適に用いることのできるインクジェット記録用インクセットを見出すに至った。本発明は、かかる知見に基づき為されたものである。
【0005】
従って、本発明の目的は、水不溶性の色材としてカーボンブラックを含むBkインクと、水不溶性の色材を含む各色のカラーインクとを用いて、マルチカラーのインクジェット記録を行なう場合において、Bkインク画像と、それと隣接しているカラーインク画像との間のブリードの発生が大幅に緩和された、高品位なインクジェット記録画像の形成を可能とするインクジェット記録用インクセット(以下、単にインクセットと呼ぶ)を提供することにある。
又、本発明の他の目的は、上記インクセットを用いた高品位なインクジェット記録画像を形成するためのインクジェット記録方法を提供することにある。
更に本発明の他の目的は、上記インクセットを用いた高品位なインクジェット記録画像を形成するための記録ユニット、インクカートリッジ及びインクジェット記録装置を提供することにある。
【0007】
【課題を解決するための手段】
本発明の第一の態様にかかるインクジェット記録用インクセットは、少なくともブラックインクと、イエロー、マゼンタ及びシアンの各カラーインクの4色のインクを有するインクジェット記録用インクセットにおいて、(a)ブラックインクは、少なくとも水と、水不溶性の色材としてカーボンブラックを含有し、動的光散乱法による該色材の体積平均粒子径が80nm以上であり、(b)各カラーインクは、少なくとも水と、水不溶性の色材として顔料を含有し、動的光散乱法によって測定した該色材の体積平均粒子径が60nm以下であり、且つ体積粒度分布の累積90%粒径が100nm以下であり、(c)ブラックインク中の色材の動的光散乱法によって測定した体積平均粒子径が、各カラーインク中の該色材の体積平均粒子径よりも大きく、且つ該ブラックインクの表面張力が該各カラーインクの表面張力よりも高いことを特徴とする。
【0008】
又、本発明の一実施態様にかかるインクジェット記録方法は、(i)上記した第一の態様にかかるインクジェット記録用インクセットを用意する工程;(ii)該インクセットを構成しているブラックインクを被記録材に付与する工程;及び(iii)該インクセットを構成しているカラーインクを被記録材に付与する工程、を有することを特徴とする。
【0009】
又、本発明にかかるインクカートリッジは、上記した第一の態様にかかるインクジェット記録用インクセットを構成しているブラックインクとカラーインクとを各々収納していることを特徴とする。
【0010】
又、本発明にかかる記録ユニットは、上記した第一の態様にかかるインクジェット記録用インクセットを構成しているブラックインクとカラーインクとを各々収納しているインクタンクと、各々のインクを吐出するためのインクジェットヘッドと、を備えていることを特徴とする。
【0011】
又、本発明にかかるインクジェット記録装置は、上記した第一の態様にかかるインクジェット記録用インクセットを構成しているブラックインクとカラーインクとを各々収納しているインクタンクと、各々のインクを吐出するためのインクジェットヘッドとを備えていることを特徴とする。
【0012】
本発明にかかるインクジェット記録用インクセット(以下、単にインクセットと呼ぶ)では、先ず、全ての色の水性インクにおいて、水不溶性の色材、具体的には例えば顔料を用いることで、該インクセットを用いて形成される画像の、耐水性、耐光性、及び耐ガス性を大幅に向上させる。又、本発明においては、ブラックインクの色材として、例えば、カーボンブラックを使用する。この場合、該カーボンブラックの粒径は、高い画像濃度を得るために、ある程度大きいことが望まれる。一方、カラーインクにおいては、カラー画像の広い色再現範囲を得るために、使用する色材(例えば顔料等)の粒径が小さいことが望まれる。
【0013】
但し、本発明者らの検討によれば、ブラックインクにおいては、インクの保存安定性や、ノズルの目詰まり防止の観点から、ブラックインクで使用する色材の、動的光散乱法によって測定した体積平均粒子径(以下、単に粒径と呼ぶ)の上限を200nmとすることが望ましく、一方、画像濃度の観点からは、下限を50nm以上とすることが好ましいことがわかった。更に、このようなブラックインクと併用するカラーインクでは、使用する色材の粒径が60nm以下であり、且つ体積粒度分布の累積90%粒径(以下、単に累積90%粒径と呼ぶ)を100nm以下とすることが好ましい。このように構成すれば、広い色再現範囲と、優れた耐光性とを有するインクジェット記録画像を得ることができ、更に、インク自体の粘度が大きくなったりする可能性を低くすることもできる。
【0014】
更に、本発明者らの検討によれば、上記した構成を有するインクセットを用いた場合に、ブラックインク画像とカラーインク画像との境界領域において発生するブリードを有効に防止し、或いは緩和するためには、例えば、ブラックインクとカラーインクとが同一極性である場合、例えば、ブラックインクとカラーインクとが、共にアニオン性の場合においては、ブラックインクで先ず印字し、その後、少なくとも1スキャン以上遅らせて、カラーインクを印字することが望ましいことがわかった。しかし、ブラックインクを被記録材に付与した後に1スキャン遅らせて、カラーインクを付与した場合であっても、カラーインクに含まれる色材の粒径が、ブラックインクに含まれる色材の粒径よりも大きい場合においては、ブラック画像とカラー画像との境界領域で生じるブリードの抑制効果は十分とはいえない場合があることがわかった。これに対して、ブラックインク中の水不溶性の色材、例えばカーボンブラックと、カラーインク中の水不溶性の色材、例えば有機顔料との粒径の関係を、本発明において規定しているように調整した場合には、ブラックインクを被記録材に付与した後に、1スキャン遅らせてカラーインクを付与することで、ブラック画像とカラー画像との境界領域におけるブリードの発生は、明らかな改善を示す。
【0015】
次に、ブラックインクとカラーインクとの極性が異なる場合、例えば、ブラックインクがカチオン性で、カラーインクがアニオン性である場合には、ブラックインクとカラーインクとを同時スキャンで印字することが可能である。しかし、この場合においても、カラーインクに含まれる色材の粒径が、ブラックインクに含まれる色材の粒径よりも小さく、且つ粒径が60nm以下で、且つ累積90%粒径が100nm以下であることが望ましい。即ち、このような構成を採用することで、ブラック画像とカラー画像との間のブリードの発生が極めて有効に緩和される。この理由は詳細には不明であるが、カラーインク中に含まれる水不溶性の色材の粒径を、ブラックインク中の水不溶性の色材の粒径よりも小さくすることによって、カラーインク中の色材の表面積が増加し、黒インク中の色材との反応場が増え、この結果、ブラック画像とカラー画像との間のブリードを有効に防止することができたものと考えられる。
【0016】
上記した場合において、逆に、カラーインク中に含まれる色材の粒径が、ブラックインク中の色材の粒径よりも大きいと、ブラック画像とカラー画像との間に生じるブリード抑制効果が十分とはいえない場合がある。又、カラーインク中に含まれる顔料若しくは色材の粒径が、ブラックインク中に含まれるカーボンブラック若しくは色材の粒径より小さくても、その粒径が60nmを超えると、ブリーディング抑制効果は薄くなる場合が認められる。
【0017】
顔料を色材とするブラックインクとそれとイオン性の異なる各カラーインクを組み合わせてなるインクセットを用いて、ブラックインクの記録画素領域の一部分に、浸透性のあるカラーインクを下打ちし、定着性を向上させる場合においては、カラーインクに含まれる顔料若しくは色材の粒径が大きいと、紙に対する浸透性が悪くなり、つまりは下打ちをすることによる定着性向上の効果が薄れることがある。逆に、カラーインクに含まれる顔料若しくは色材の粒径を小さくし過ぎて、例えば、染料のような領域に入ってくると、カラーインクを下打ちをすることによるブラックインクの定着性は向上するものの、下打ちの品位に関しては、染料の場合と同様に、浸透性が大きくなるため、色材の染み出しが発生し、画像品位が低下してしまう場合がある。これに対して、本発明にかかるインクセットは、各インクに使用する顔料若しくは色材の粒径を特定のものに規定しているため、上記したような現象が起こることはなく、画像品位を低下させることなく定着性を向上させることが可能となる。
【0018】
更に、本発明にかかるインクセットを用いてグレー画像を形成する場合には、図1に示したように、明度の高い(明るい)グレーの時は、イエロー、マゼンタ及びシアンの各インクからなるプロセスブラックで形成し(領域1)、次いで、明度が小さい(暗い)グレーになるにしたがって、このプロセスブラックに、ブラックインクを入れていき(領域2)、最後はブラックインクのみにしていく(領域3)ことが好ましい。
【0019】
このような手法を用いることにより、明度の明るい領域でも、粒状感のない画像を形成することが可能となる。更に、ブラックとカラーのイオン性が異なるインクセットと、先ほど述べた同時スキャン印字をキャリッジの往方向、復方向交互に印字する1パス往復印字プロセスと、上記したグレー画像の形成方法を併用した場合には、図1に示した領域2において、ブラックとカラーの打ち込みの順番が逆転することによる画像の濃度差(以下「黒往復濃度ムラ」と呼ぶ)が発生する恐れがあるが、本発明にかかるインクセット、特には、ブラックとカラーとでイオン性の異なる各インクを組み合わせてなる本発明にかかるインクセットを用いれば、この黒往復濃度ムラの発生を非常に高いレベルで改善することが可能となる。
【0020】
【発明の実施の形態】
次に、好ましい実施の形態を挙げて本発明を更に詳細に説明する。先ず、本発明にかかるインクセットを構成するブラックインク、カラーインクについて説明する。
本発明で使用するブラックインクとカラーインクに関しては、各々のインクに含有させる水不溶性の色材(以降、単に「色材」と略)、例えば顔料等、の量は、質量比で1〜20%、好ましくは、2〜12%の範囲で用いる。ブラックインクに好適に使用されるカーボンブラックとしては、ファーネス法又はチャネル法で製造されたカーボンブラックであって、一次粒径が15〜40mμm(=nm)、BET法による比表面積が50〜300m2/g、DBP吸油量が40〜150ml/100g、揮発分が0.5〜10%、pH値が2〜9の各値を有するものが好ましい。
【0021】
このようなカーボンブラックとしては、例えば、No.2300、No.900、MCF−88、No.33、No.40、No.45、No.52、MA7、MA8、MA100、No.2200B(以上、三菱化学製)、Raven700、同5750、同5250、同5000、同3500、同1255(以上、コロンビア製)、Regal400R、同330R、同660R、MogulL、Monarch700、同800、同880、同900、同1000、同1100、同1300、Monarch1400(以上、キャボット製)、カラーブラックFW1、同FW2、同FW2V、同FW18、同FW200、同S150、同S160、同S170、プリンテックス35、同U、同V、同140U、同140V、スペシャルブラック6、同5、同4A、同4(以上、デグッサ製)等を使用することができるが、これらに限定されるものではない。
【0022】
イエローインクに使用される色材として好適に用いられる顔料の例としては、例えば、C.I.ピグメントイエロー1、同2、同3、同12、同13、同14、同16、同17、同73、同74、同75、同83、同93、同95、同97、同98、同114、同128、同129、同151、同154等が挙げられるが、これらに限られるものではない。
【0023】
マゼンタインクに使用される色材として好適に用いられる顔料の例としては、例えば、C.I.ピグメントレッド5、同7、同12、同48(Ca)、同48(Mn)、同57(Ca)、同57:1、同112、同123、同168、同184、同202等が挙げられるが、これらに限られるものではない。
【0024】
シアンインクに使用される色材として好適に用いられる顔料の例としては、例えば、C.I.ピグメントブルー1、同2、同3、同15:3、同15:34、同16、同22、同60、C.I.バットブルー4、同60等が挙げられるが、これらに限られるものではない。又、本発明で使用する各インクに含有される顔料は、本発明のために新たに製造されたものでも使用可能である。
【0025】
本発明で使用するブラックインク中には、色材として例えば前記に挙げたようなカーボンブラックを用いるが、動的光散乱法によって測定したカーボンブラックの体積平均粒子径が50nm以上のものを使用することが好ましい。このブラックインクと併用するカラーインク中の色材には、動的光散乱法によって測定した体積平均粒子径が60nm以下、且つ体積粒度分布の累積90%粒径が100nm以下のものを用いることが好ましい。これらの色材の体積平均粒子径、90%粒径の値は、水系中に色材が安定に分散しているときの値であり、分散前の粉体としての色材、ウエットケーキの粒径を意味していない。本発明において、粒径を測る手段として具体的には、マイクロトラック社製のUPA150を用い、サンプル濃度指数が0.01〜0.1の範囲になるようにインクを純水で希釈し、超音波洗浄器で分散処理した試料で測定したものである。
【0026】
色材、例えば顔料を水性インク中において安定に分散させるためには、公知の様々な手段を用いることができる。例えば、所謂分散剤(水溶性樹脂、若しくは酸/アルカリ可溶型樹脂)を用いて水性へ分散させる手段、又、界面重合法、界面沈降法等の手法による顔料のマイクロカプセル化を用いる手段、更には、顔料表面をプラズマ処理を施すことや、ジアゾニウムカップリング等を施し、顔料表面に官能基を共有結合させる方法等の一般的な表面処理を施すことによってイオン性官能基を導入させる手段等が挙げられるが、これらに限定されない。
【0027】
上記顔料を溶解又は分散する液媒体は、水と水溶性有機溶剤との混合物であることが好ましい。具体的な水溶性有機溶剤としては、例えば、メチルアルコール、エチルアルコール、n−プロピルアルコール、イソプロピルアルコール、n−ブチルアルコール、sec−ブチルアルコール、tert−ブチルアルコール等の炭素数1〜4のアルキルアルコール類、ジメチルホルムアミド、ジメチルアセトアミド等のアミド類、アセトン等のケトン類、テトラヒドロフラン、ジオキサン等のエーテル類、ポリエチレングリコール、ポリプロピレングコリコール等のポリアルキレングリコール類、エチレングリコール、プロピレングリコール、ブチレングリコール、トリエチレングリコール、1,2,6−へキサントリオール、チオジグリコール、へキシレングリコール、ジエチレングリコール等のアルキレン基が2〜6個の炭素原子を含むアルキレングリコール類、グリセリン、エチレングリコールモノメチル(又はエチル)エーテル、ジエチレングリコールモノメチル(又はエチル)エーテル等の多価アルコールの低級アルキルエーテル類、N−メチル−2−ピロリドン、1,3−ジメチル−2−イミダゾリジノン、スルホラン、ジメチルサルフォオキサイド、2−ピロリドン、ε−カプロラクタム等の、環状アミド化合物及びスクシンイミド等のイミド化合物等が挙げられる。
【0028】
上記水溶性有機溶剤の含有量は、一般には、インクの全重量に対して、質量基準で、1〜40%が好ましく、より好ましくは3〜30%の範囲である。又、インク中の水の含有量は30〜95%の範囲とした場合、色材の分散性等も良好であり、インクの粘度が高くなることを抑えることができ、且つ固着特性を十分に満足させることができる。又、上記した色材の重量濃度は、色材の種類に応じて適宜選択されるが、カラーインクの場合には、インクの全重量に対し、質量基準で、0.1〜20%、特には0.1〜12%の範囲とすることが好ましい。尚、本発明で使用する各インクは、上記成分の他に必要に応じて、界面活性剤、pH調整剤、防錆剤、防黴剤、蒸発促進剤、キレート化剤及び水溶性ポリマー等の添加剤を添加してもよい。
【0029】
本発明にかかるインクセットを構成するブラックインクは、その粘度を1〜10cp(mPa・s)の範囲内とすることが望ましく、特には1.5〜5cp(mPa・s)が好適である。この範囲内とすることで、当該ブラックインクをインクジェットノズルから高周波数で吐出させることが可能となる。又、ブラックインクの表面張力は、画像を形成した場合のキャラクターの品位を考慮すると、35dyn/cm(mN/m)以上、更に望ましくは、38dyn/cm(mN/m)以上とすることが好適である。
【0030】
本発明にかかるインクセットを構成するカラーインクは、その粘度を1〜10cp(mPa・s)の範囲内とすることが望ましく、更には、1.5〜5cp(mPa・s)が好適である。この範囲内とすることで、当該カラーインクをインクジェットノズルから高周波数で吐出させることができる。又、互いに隣接している異色のカラー画像の境界領域のブリードの発生は、マルチカラー画像の品位を低下させてしまうことを考慮すると、カラーインクの表面張力は、35dyn(mN/m)以下とすることが望ましい。先に述べたブラックインクの場合ように、インクの表面張力を高くすることは、確かに文字品位に対しては有利になるが、1次色や2次色の画像均一性の向上の点からも、カラーインクの表面張力は35dyn/cm(mN/m)以下とすることが有効である。従って、本発明にかかるインクセットおいては、ブラックインクの表面張力を、これと併用するカラーインクのそれよりも高くすることを構成の一つとする。
【0031】
又、本発明にかかるインクジェット記録方法或いは記録装置は、上記した構成を有する本発明のインクセットが用いられる限り、従来公知の何れのインクジェット記録方式を用いてもよいが、例えば、好ましい方式としては、記録ヘッドの室内のインクに記録信号に対応した熱エネルギーを与え、該エネルギーにより液滴を発生させるタイプのインクジェット記録方式が挙げられる。
【0032】
本発明にかかるインクジェット記録用のインクセットは、少なくとも1以上のカラーインクが、上記した構成を有することを要する。従って、例えば、マルチカラー画像の形成に必要な複数のカラーインク、例えば、イエロー(Y)、シアン(C)、マゼンタ(M)の各カラーインクの中から選ばれる少なくとも1のインクが、先に説明した構成を有するものであればよいが、より好ましい態様は、マルチカラー画像の形成に必要な、上記複数のカラーインクの全てが、本発明にかかるインクセットのカラーインクに要求される構成を満たしているインクセットである。更に、本発明にかかるインクセットの別の態様としては、カラーインクとして、Yインクと、第1のCインク、第2のCインク、の2種類のシアンインクと、第1のMインク、第2のMインク、の2種類のマゼンタインクを有している構成が挙げられる。ここで、上記第1と第2のCインクは、色材濃度が互いに異なり、上記第1と第2のMインクは、色材濃度が互いに異なっているものである。
【0033】
次に、上記した本発明のインクセットを用いて記録を行うのに好適な、本発明のインクジェット記録装置の一例について説明する。
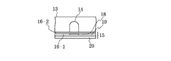
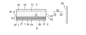
先ず、熱エネルギーを利用したインクジェット記録装置の主要部であるヘッド構成の一例を、図2及び図3に示す。図2は、インク流路に沿ったヘッド13の断面図であり、図3は図2のA−B線での切断面図である。ヘッド13は、ガラス、セラミック、シリコン、ポリサルホン又はプラスチック板等からなりインクを通す流路(ノズル)14と、発熱素子基板15とを有する。発熱素子基板15は、酸化シリコン、窒化シリコン、炭化シリコン等で形成される保護層16−1と、白金等の金属又は白金の酸化物等の金属の酸化物で形成される最表面保護層16−2と、アルミニウム、金、アルミニウム−銅合金等で形成される電極17−1及び17−2と、ハフニウムボライド、窒化タンタル、タンタルアルミニウム等の高融点材料から形成される発熱抵抗体層18と、酸化シリコン、酸化アルミニウム等で形成される蓄熱層19と、シリコン、アルミニウム、窒化アルミニウム等の放熱性のよい材料で形成される基板20とからなっている。
【0034】
上記ヘッド13の電極17−1及び17−2にパルス状の電気信号が印加されると、発熱素子基板15のnで示される領域(ヒーター)が急速に発熱し、この表面に接しているインク21に気泡が発生し、その圧力でメニスカス23が突出し、インク21がヘッドのノズル14を通して吐出し、吐出オリフィス22よりインク小滴24となり、被記録材25に向かって飛翔する。図4には、図2に示したヘッドを多数並べたマルチヘッドの一例の外観図を示す。このマルチヘッドは、例えば、マルチノズル26を有するボリサルホン27と、図2に説明したものと同じような発熱ヘッド28を接着して作られている。
【0035】
図5に、このヘッドを組み込んだインクジェット記録装置の一例を示す。図5において、61はワイピング部材としてのブレードであり、その一端はブレード保持部材によって保持固定されており、カンチレバーの形態をなす。ブレード61は記録ヘッド65による記録領域に隣接した位置に配置され、又、本例の場合、記録ヘッド65の移動経路中に突出した形態で保持される。
【0036】
62は、記録ヘッド65の突出口面のキャップであり、ブレード61に隣接するホームポジションに配置され、記録ヘッド65の移動方向と垂直な方向に移動して、インク吐出口面と当接し、キャッピングを行う構成を備える。更に、63は、ブレード61に隣接して設けられるインク吸収体であり、ブレード61と同様、記録ヘッド65の移動経路中に突出した形態で保持される。上記ブレード61、キャップ62及びインク吸収体63によって吐出回復部64が構成され、このうちのブレード61及びインク吸収体63によって、吐出口面からの、水分や塵埃等の除去が行われる。
【0037】
65は、吐出エネルギー発生手段を有し、吐出口を配した吐出口面に対向する被記録材にインクを吐出して記録を行う記録ヘッド、66は、記録ヘッド65を搭載して記録ヘッド65の移動を行うためのキャリッジである。キャリッジ66は、ガイド軸67と摺動可能に係合し、キャリッジ66の一部は、モーター68によって駆動されるベルト69と接続(不図示)している。これによりキャリッジ66は、ガイド軸67に沿って移動が可能となり、記録ヘッド65による記録領域及びその隣接した領域の移動が可能となる。
【0038】
51は、被記録材を挿入するための給紙部、52は不図示のモーターにより駆動される紙送りローラーである。これらの構成により記録ヘッド65の吐出口面と対向する位置へ被記録材が給紙され、記録の進行につれて排紙ローラー53を配した排紙部へ排紙される。以上の構成において、記録ヘッド65が記録終了してホームポジションへ戻る際、吐出回復部64のキャップ62は、記録ヘッド65の移動経路から退避しているが、ブレード61は、移動経路中に突出している。その結果、記録ヘッド65の吐出口がワイピングされる。
【0039】
尚、キャップ62が記録ヘッド65の吐出口面に当接してキャッピングを行う場合、キャップ62は、記録ヘッドの移動経路中に突出するように移動する。記録ヘッド65がホームポジションから記録開始位置へ移動する場合、キャップ62及びブレード61は、上記したワイピングのときの位置と同一の位置にある。この結果、この移動においても、記録ヘッド65の吐出口面はワイピングされる。
【0040】
前記の記録ヘッド65のホームポジションへの移動は、記録終了時や吐出回復時ばかりではなく、記録ヘッド65が記録のために記録領域を移動する間に所定の間隔で記録領域に隣接したホームポジションへ移動し、この移動に伴って上記ワイピングが行われる。
【0041】
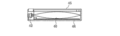
図6は、ヘッドのインク供給部材、例えば、チューブを介して供給されるインクを収容したインクカートリッジ45の一例を示す図である。ここで40は供給用インクを収容したインク収容部、例えば、インク袋であり、その先端にはゴム製の栓42が設けられている。この栓42に針(図示せず)を挿入することにより、インク袋40中のインクをヘッドに供給可能ならしめる。44は廃インクを受容するインク吸収体である。
【0042】
インク収容部としては、インクとの接液面がポリオレフィン、特に、ポリエチレンで形成されているものが好ましい。
【0043】
本発明で使用されるインクジェット記録装置としては、前記の如きヘッドとインクカートリッジが別体となったものに限らず、図7に示す如き、それらが一体となったものも好適に用いられる。
【0044】
図7において、70は記録ユニットであり、この中にはインクを収容したインク収容部、例えば、インク吸収体が収納されており、かかるインク吸収体中のインクが複数オリフィスを有するヘッド部71からインク滴として吐出される構成になっている。本発明では、インク吸収体の材料としてポリウレタンを用いることが好ましい。又、インク吸収体を用いず、インク収容部が内部にバネ等を仕込んだインク袋であるような構造であってもよい。
【0045】
72は、カートリッジ内部を大気に連通させるための大気連通口である。この記録ユニット70は、図5に示す記録ヘッド65に換えて用いられるものであって、キャリッジ66に対して着脱自在になっている。
【0046】
その他の実施例としては、複数のノズルを有するノズル形成基板と、ノズルに対向して配置される圧電材料と導電材料からなる圧力発生素子と、この圧力発生素子の周囲を満たすインクを備え、印加電圧により圧力発生素子を変位させ、インクの小液滴をノズルから吐出させるオンデマンドインクジェット記録ヘッドを挙げることができる。その記録装置の主要部である記録ヘッドの構成の一例を図8に示す。
【0047】
ヘッドは、インク室(不図示)に連通したインク流路80と、所望の体積のインク滴を吐出するためのオリフィスプレート81と、インクに直接圧力を作用させる振動板82と、この振動板82に接合され、電気信号により変位する圧電素子83と、オリフィスプレート81、振動板82等を指示固定するための基板84とから構成されている。
【0048】
図8において、インク流路80は、感光性樹脂等で形成され、オリフィスプレート81は、ステンレス、ニッケル等の金属を電鋳やプレス加工による穴あけ等により吐出口85が形成され、振動板82はステンレス、ニッケル、チタン等の金属フィルム及び高弾性樹脂フィルム等で形成され、圧電素子83は、チタン酸バリウム、PZT等の誘電体材料で形成される。
【0049】
以上のような構成の記録ヘッドは、圧電素子83にパルス状の電圧を与え、歪み応力を発生させ、そのエネルギーが圧電素子83に接合された振動板を変形させ、インク流路80内のインクを垂直に加圧しインク滴(不図示)をオリフィスプレート81の吐出口85より吐出して記録を行うように動作する。
【0050】
このような記録ヘッドは、図5に示したものと同様なインクジェット記録装置に組み込んで使用される。インクジェット記録装置の細部の動作は、前述と同様に行うもので差し支えない。
【0051】
上記したような装置を利用する本発明にかるインクジェット記録方法によってカラー画像を形成する場合には、例えば、図4に示した記録ヘッドをキャリッジ43上に4個並べた記録装置を使用する。図9はその一例である。91、92、93、94は、それぞれ4種のインク、例えば、マゼンタ(M)、シアン(C)、及びイエロー(Y)の各カラーインクと、ブラックインク、の各々のインクを吐出するための記録ヘッドである。該ヘッドは、前記した記録装置に配置され、記録信号に応じて各色のインクを吐出する。
【0052】
図9では、4個の記録ヘッドを使用した例を示したが、これに限定されるものではなく、図10に示したように、1つの記録ヘッドで、Mインク、Cインク、Yインク及びBkインクの4種のインクを、液流路を分けて行う場合も好ましい形態である。
【0053】
【実施例】
次に、実施例及び比較例を挙げて本発明を更に具体的に説明する。尚、文中「部」又は「%」とあるのは特に断りのない限り質量基準である。又、各インクは、純水(イオン交換水)で調整して総量を100部とした。
【0054】
<ブラックインク1の調製>
先ず、スチレン−アクリル酸共重合体(Joncryl678;商品名、ジョンソンポリマー社製)と、これを中和するのに必要な所定の水酸化カリウム、及び水を混合して、約60℃に保温した状態でこれらを攪拌混合し、10%のスチレン−アクリル酸共重合体の水溶液を作成した。
【0055】
次に、上記で作製したスチレン−アクリル酸共重合体を分散剤として用い、以下の成分からなるブラック顔料分散体を得、その後、これを用いて下記の方法によってブラックインクを得た。
【0056】
先ず、上記の材料をバッチ式の縦型サンドミルに仕込み、500μm径のガラスビーズをメディアとして充填し、水冷しつつ、粉砕媒体速度5,000rpmで4時間、分散処理を行った。次に、得られたブラック顔料分散体を遠心分離処理(10,000rpm、30分間)した後、水にて全体を2倍に希釈してインク化した。更に、このインクにアセチレノールEH(川研ファインケミカル社製)を、インク全体に対して0.2wt%相当となるように外添した。更に、再び遠心分離処理(10,000rpm、30分間)することによって、粗大粒子を除去した。そして、最後にポア径1ミクロンのメンブレンフィルターで濾過することによって、ブラックインク1を作製した。得られたインクを動的光散乱法による粒径測定装置(商品名:UPA15;マイクロトラック社製)で測定したところ、ブラックインク1中の色材(カーボンブラック)の体積平均粒子径は45nmであった。
【0057】
<ブラックインク2の調製>
5.3gの水に5gの濃塩酸を溶かした塩酸溶液に、5℃の条件下、アントラニル酸1.58gを加えた。これをアイスバスを用い、攪拌することによって、溶液を常に10℃以下に保った状態にし、この中に、8.7gの5℃の水に1.78gの亜硝酸ナトリウムを加えて得た溶液を加えた。これを更に15分間攪拌後、表面積が320m2/gで、DBP吸油量が120ml/100gのカーボンブラック20gを混合した状態のまま加え、更に15分間攪拌した。得られたスラリーを濾紙(商品名;東洋濾紙No.2;アドバンティス社製)で濾過し、濾別された顔料粒子を十分に水洗し、110℃のオーブンで乾燥させ、更にこの顔料に水を足して、顔料濃度10%の顔料水溶液を作成した。以上の方法によりカーボンブラックの表面に下記化学式(I)で示される基を導入した。
【0058】
その後、強酸性イオン交換樹脂(商品名;ダイアイオンSK1B;日本錬水社製)10gへ、上記で得た顔料水溶液100gを添加し、2時間攪拌し、上記カルボキシル基をH型へイオン交換した。その後、ポア径100μmのメッシュフィルターで、イオン交換樹脂と顔料水溶液を分離し、この顔料水溶液へ、アンモニアを添加してpHを8に調整した。これを顔料分散液2とした。
【0059】
上記成分を混合し、ポア径1.0μmのメンブランフィルターで濾過し、ブラックインク2を作製した。このインクを動的光散乱法による粒径測定装置(商品名UPA15;マイクロトラック社製)で測定したところ、ブラックインク2中の色材(カーボンブラック)の体積平均粒子径は80nmであった。
【0060】
上記3成分を、粉砕メディアとしてジルコニアビーズを用いたサンドミルで4時間分散し、その後、遠心分離(12,000回転、30分)を施した後、ポア径1.0μmのメンブランフィルターで濾過し、顔料分散液3を作成した。
【0061】
上記成分を混合し、ポア径1.0μmのメンブランフィルターで濾過し、ブラックインク3を作製した。このインクを動的光散乱法による粒度測定装置(商品名:UPA15;マイクロトラック社製)で測定したところ、ブラックインク3中の色材(カーボンブラック)の体積平均粒径は、120nmであった。
【0062】
上記3成分を、粉砕メディアとしてジルコニアビーズを用いたサンドミルで1時間分散し、その後、遠心分離(5,000回転、30分)を施した後、ポア径2.5μmのメンブランフィルターで濾過し、顔料分散液4を作成した。
【0063】
上記成分を混合し、ポア径1.0μmのメンブランフィルターで濾過し、ブラックインク4を作製した。このインクを動的光散乱法による粒径測定装置マイクロトラックUPA15で測定したところ、ブラックインク4中の色材(カーボンブラック)の体積平均粒子径は250nmであった。
【0064】
<ブラックインク5の調製>
表面積が230m2/gでDBP吸油量が70ml/100gのカーボンブラック10gと、3−アミノ−N−エチルピリジニウムブロマイド2.06gを水72gによく混合した後、これに硝酸1.62gを滴下し、70℃で攪拌した。これに更に数分後に、5gの水に1.07gの亜硝酸Naを溶かした溶液を加え、更に1時間攪拌した。得られたスラリーを濾紙(商品名:東洋濾紙No.2;アドバンティス社製)で濾過し、濾別された顔料粒子を十分に水洗し、110℃のオーブンで乾燥させた。更に、この顔料に水を足して、顔料濃度10%の顔料水溶液を作成した。以上の方法によりカーボンブラック表面に、下記化学式(II)に示される基を導入した。
【0065】
その後、強塩基性イオン交換樹脂(製品名;ダイアイオンSA−10A;日本錬水(株)製)10gへ上記顔料水溶液100gを添加し、2時間攪拌し、上記ピリジニウム基をOH型へイオン交換した。その後、ポア径100μmのメッシュフィルターで、イオン交換樹脂と顔料水溶液を分離し、この顔料水溶液を、酢酸と硝酸とをモル比7:3で添加し、pH5に調整した。これを顔料分散体5とした。
【0066】
上記成分を混合し、ポア径1.0μmのメンブランフィルターで濾過し、ブラックインク5を作製した。このインクを動的光散乱法による粒径測定装置(商品名:UPA15;マイクロトラック社製)で測定したところ、ブラックインク5中の色材(カーボンブラック)の体積平均粒子径は90nmであった。
【0067】
<ブラックインク6の調製>
・カーボンブラック 10部
・スチレン−N,N−ジメチルアミノエチルメタク
リレート−エチルアクリレート共重合体(分子量=
約2万、モノマー構成比50:30:20)10部
・MEK 30部
上記成分を混合溶解し、酢酸で1.2当量中和した後、転送乳化を行い、最終的にメチルエチルケトン(MEK)を除去して、固形分濃度20%、平均粒子径120nmの顔料分散体6を得た。
【0068】
上記に示す材料を攪拌混合し、酢酸でpHを4に調整した後に、ポア径1μmのメンブランフィルターで濾過して、ブラックインク6を得た。このインクを動的光散乱法による粒径測定装置(商品名:UPA15;マイクロトラック社製)で測定したところ、ブラックインク6中の色材(カーボンブラック)の体積平均粒子径は125nmであった。
【0069】
<カラーインクセット1(染料系)の調製>
カラーインクセット1を構成する各カラーインクの色材として、イエローインクには、イエロー染料であるAcid Yellow 23を用い、マゼンタインクには、マゼンタ染料であるAcid Red 52を用い、シアンインクには、シアン染料であるAcid Blue 9を用いた。
上記した成分を混合し、ポア径0.2μmのメンブランフィルターで濾過して、イエロー、マゼンタ、シアンの3色の染料インクの組み合わせからなるカラーインクセット1を調製した。
【0070】
<カラーインクセット2の調製>
先ず、特開平11−057458号公報の実施例3に記載の気相法による表面処理型顔料インクの製造方法を用いて、カラーインクセット2の調製に用いる、イエロー、マゼンタ、シアンの3色のカラーインクに使用する表面処理型の各顔料を調製した。この際、原料として、イエロー顔料には、Pigment Yellow 138を用い、マゼンタ顔料には、Pigment Red 122を用い、シアン顔料には、Pigment Blue 15:3を用い、又、作業ガスとしては酸素を用いた。上記の方法で得られた表面処理型の各顔料は、表面にカルボキシル基が導入された微粒子であった。
【0071】
次に、上記で得た各顔料微粒子を3部、グリセリン5部、ジエチレングリコール5部、アセチレノールEH1部、残部をイオン交換水で調整して100部としたものを各色インクの組成とし、これらを混合し、更に、アンモニア水でpHを7〜8に調整した後、ポア径1μmのメンブランフィルターで濾過した。このようにして調製した、イエロー、マゼンタ、シアンの3色のカラーインクを組み合わせたものを、カラーインクセット2とした。これらの3色のカラーインクを動的光散乱法による粒径測定装置(商品名:UPA15;マイクロトラック社製)で測定したところ、各色インク中の色材(有機顔料)の体積平均粒子径は、イエロー40nm、マゼンタ45nm、シアン55nmであった。又、体積粒径分布の累積90%粒径は、イエロー75nm、マゼンタ90nm、シアン95nmであった。
【0072】
<カラーインクセット3の調製>
スチレン−アクリル酸共重合体(Joncryl678;商品名、ジョンソンポリマー社製)とこれを中和するのに必要な所定の水酸化カリウム、及び水を混合して、約60℃に保温した状態でこれらを攪拌混合し、10%のスチレン−アクリル酸共重合体の水溶液を作成した。得られた水溶液を分散剤として用いて下記のようにシアンインク(Cインク)、マゼンタインク(Mインク)及びイエローインク(Yインク)を調製した。
【0073】
[Cインク]
【0074】
上記の材料をバッチ式の縦型サンドミルに仕込み、500μm径のガラスビーズをメディアとして充填し、水冷しつつ、粉砕媒体速度5,000rpmで4時間、分散処理を行なってシアン顔料分散体を作成した。このシアン顔料分散体を遠心分離処理(10,000rpm、30分間)した後、水にて全体を2倍に希釈してインク化した。更に、これにアセチレノールEH(川研ファインケミカル社製)を、インク全体に対して1.0wt%相当となるように外添した。最後に、このインクをポア径1ミクロンのメンブレンフィルターで濾過することによってCインクを作製した。
【0075】
【0076】
上記の材料をバッチ式の縦型サンドミルに仕込み、200μm径のガラスビーズをメディアとして充填し、水冷しつつ、粉砕媒体速度9,000rpmで6時間、分散処理を行ってマゼンタ顔料分散体を作成した。このマゼンタ顔料分散体を遠心分離処理(10,000rpm、30分間)した後、水にて全体を2倍に希釈してインク化した。更に、これにアセチレノールEH(川研ファインケミカル社製)を、インク全体に対して1.0wt%相当となるように外添した。そして、再び遠心分離処理(10,000rpmp、30分間)することによって、粗大粒子を除去した。最後に、このインクをポア径1ミクロンのメンブレンフィルターで濾過してMインクを調製した。
【0077】
【0078】
上記の材料をバッチ式の縦型サンドミルに仕込み、500μm径のガラスビーズをメディアとして充填し、水冷しつつ、粉砕媒体速度5,000rpmで5時間、分散処理を行った。このイエロー顔料分散体を遠心分離処理(10,000rpm、30分間)した後、水にて全体を2倍に希釈してインク化した。更に、これにアセチレノールEH(川研ファインケミカル社製)を、インク全体に対して1.0wt%相当となるように外添した。そして、再び遠心分離処理(10,000rpmp、30分間)することによって、粗大粒子を除去した。最後に、このインクをポア径1ミクロンのメンブレンフィルターで濾過してYインクを作製した。
【0079】
以上のようにして調製した、イエロー、マゼンタ、シアンの3色のカラーインクを組み合わせたものを、カラーインクセット3とした。カラーインクセット3を構成するCインク、Mインク及びYインクの各カラーインクについて、動的光散乱法による粒径測定装置マイクロトラックUPA15で測定した。この結果、各色インク中の色材(有機顔料)の体積平均粒子径は、イエロー124nm、マゼンタ183nm、シアン128nmであり、又、体積粒径分布の累積90%粒径は、イエロー230nm、マゼンタ330nm、シアン200nmであった。
【0080】
<カラーインクセット4の調製>
上記したカラーインクセット3の調製のために作成した10%のスチレン−アクリル樹脂の水溶液を用いて、以下のようにして、カラーインクセット4を構成するCインク、Mインク及びYインクの3色のカラーインクを調製した。
【0081】
【0082】
上記の材料をバッチ式の縦型サンドミルに仕込み、500μm径のガラスビーズをメディアとして充填し、水冷しつつ、粉砕媒体速度5,000rpmで4時間、分散処理を行った。このシアン顔料分散体を遠心分離処理(10,000rpm、30分間)した後、水にて全体を2倍に希釈してインク化した。更に、これにアセチレノールEH(川研ファインケミカル社製)を、インク全体に対して1.0wt%相当となるように外添した。更に、再び、遠心分離処理(10,000rpmp、30分間)することによって、粗大粒子を除去した。そして、最後にこのインクをポア径1ミクロンのメンブレンフィルターで濾過してCインクを作製した。
【0083】
【0084】
上記の材料をバッチ式の縦型サンドミルに仕込み、300μm径のガラスビーズをメディアとして充填し、水冷しつつ、粉砕媒体速度7,000rpmで5時間、分散処理を行った。このイエロー顔料分散体を遠心分離処理(10,000rpm、30分間)した後、水にて全体を2倍に希釈してイオン化した。更に、これにアセチレノールEH(川研ファインケミカル社製)を、インク全体に対して1.0wt%相当となるように外添した。更に、再び遠心分離処理(10,000rpm、30分間)することによって、粗大粒子を除去した。そして、最後に、このインクをポア径1ミクロンのメンブレンフィルターで濾過してMインクを作製した。
【0085】
【0086】
上記の材料をバッチ式の縦型サンドミルに仕込み、300μm径のガラスビーズをメディアとして充填し、水冷しつつ、粉砕媒体速度9,000rpmで5時間、分散処理を行った。このイエロー顔料分散体を遠心分離処理(10,000rpm、30分間)した後、水にて全体を2倍に希釈してインク化した。更に、これに、アセチレノールEH(川研ファインケミカル社製)を、全体に対して1.0wt%相当となるように外添した。更に、再び、遠心分離処理(10,000rpmp、30分間)することによって、粗大粒子を除去した。そして、最後に、ポア径1ミクロンのメンブレンフィルターで濾過してYインクを作製した。
【0087】
以上のようにして調製した、イエロー、マゼンタ、シアンの3色のカラーインクを組み合わせたものを、カラーインクセット4とした。カラーインクセット4を構成する3色のインクを、動的光散乱法による粒径測定装置(商品名:UPA15;マイクロトラック社製)で測定したところ、各インク中の色材(有機顔料)の体積平均粒子径はイエロー13nm、マゼンタ45.6nm、シアン50.8nmであり、又、体積粒径分布の累積90%粒径は、イエロー14nm、マゼンタ85nm、シアン89nmであった。
【0088】
下記表1に、上記で得たブラックインク1〜6と、カラーインクセット2〜4を構成するイエロー、マゼンタ、シアンの3色のカラーインクについて、インク中の色材、及びインクの特性をまとめて示した。表中に、本発明の主たる構成要件を合わせて記載した。
【0089】
【0090】
<評価>
上記のように調製したブラックインク1〜6、及びカラーインクセット1〜4を用いて、下記に示すような手段及び基準にてインクの評価を行なった。画像形成試験には、被印字媒体には、キヤノン製の普通紙を用いた。尚、カラーインクセット1〜4を用いて形成した画像についての評価は、カラーインクセットを構成する各色インクによる画像についての総合評価とした。表2にブラックインクについての評価結果を示し、表3にカラーインクセットについての評価を示した。
【0091】
[沈降性]
先ず、各インクの吸光度を測定し、イニシャルの吸光度とした。次に、各インクについて、5,000回転で30分間、遠心分離を行い、その上澄みの、各インク全重量に対し20wt%を、上部から採取し、それらについて吸光度を測定し、得られた吸光度をイニシャルの吸光度で除して得られるパーセンテージを求めた。そして、下記の基準で評価した。得られた結果を表2及び3に示した。
◎:70%以上である。
○:50%以上、70%未満である。
×:50%未満である。
【0092】
[画像濃度]
各ブラックインクでベタのパッチを印字し、画像濃度をマクベスRD918で測定し、その結果を表2に示した。
【0093】
[色再現範囲]
各カラーインクセット1〜4を用いて、Y、M、C、R、G、Bのそれぞれのベタパッチを印字した。得られた画像について、その発色性を目視で観察し、下記の基準で総合評価した。得られた結果を表3に示した。
◎:非常に鮮やかである。
○:比較的鮮やかである。
△:あまり鮮やかさが感じられない。
【0094】
[耐水性]
各カラーインクセット1〜4を用いて、Y、M、C、R、G、Bのそれぞれのベタパッチを印字した。得られた画像について、その印字面へスポイトで水を垂らして、インクの流れ出しを目視で観察し、下記の基準で総合評価した。得られた結果を表3に示した。
○:問題ないレベルである。
×:インクの流れ出しがひどい。
【0095】
[耐光性]
各カラーインクセット1〜4を用いて、Y、M、C、R、G、Bのそれぞれのベタパッチを印字した。得られた画像について、アトラス社製の紫外線照射装置に100時間投入し、退色具合を評価した。評価方法は、試験の前後の画像についてL*a*b*をミノルタCM2202で測定し、測定値の差ΔEを求め、下記の基準で総合評価した。得られた結果を表3に示した。
○:ΔEが10以内である。
×:ΔEが10以上である。
【0096】
【0097】
【0098】
実施例1〜3及び比較例1〜6
上記で得た各ブラックインク2、5、6及びカラーインクセット1〜4を下記表4の如く組み合わせて、本発明の実施例及び比較例のインクセットを作製した。これらのインクセットについて、下記の方法及び評価基準で評価を行った。そして、得られた結果を表4にまとめて示した。
【0099】
[ブラック画像とカラー画像の境界領域のブリード]
ブラックインクによるブラックの細線の両側が、各色カラーインク画像に隣接するようなパターンを印字し、これらの画像の境界領域における色間滲みを目視で観察した。そして、下記の基準で総合評価した。
○:問題ないレベルである。
△:滲みが少し気になる。
×:滲みがひどい。
【0100】
[下打ち定着性]
黒文字を印字する手法として、ブラックインクに先立って、カラーインクセットを構成する各色のインクを付与量比で5%程度に間引いてランダムに、但しカラーインク同士が重ならないように付与した。そして、黒文字の定着性の早さを、目視にて観察して下記の基準で比較した。
○:10秒後に軽く手で触っても汚れはなかった。
△:10秒後に軽く手で触ったら、少し汚れが発生した。
【0101】
[下打ち品位]
黒文字を印字する手法として、ブラックインクに先立って、カラーインクセットを構成する各インクを付与量比で5%程度に間引いてランダムに、但しカラーインク同士が重ならないように付与した。そして、得られた黒文字の品位を目視で観察して、下記の基準で評価した。
○:印字品位は良好であった。
△:少しヒゲ状の滲みだしがあり、品位は今ひとつであった。
【0102】
[黒往復濃度ムラ]
カラーインクセットを構成しているY、M、Cの各インクをそれぞれ10%デューティー、ブラックインクを60%デューティー、これらが同じエリアに印字される画像を1パス往復印字した。そして、得られた各画像について画像濃度を測定して、下記の基準で評価した。
○:往復の画像濃度差が0.05未満である。
×:往復の画像濃度差が0.05以上である。
【0103】
【0104】
上記表4中の印字方法における「1scanディレイ」及び「1pass−bi」は、下記のことを示す。いずれの場合も、図9に示すヘッドを搭載した、被記録材を搬送する方向に対し、垂直方向にヘッドを走査して印字を行う、図5に示すようなインクジェット記録装置を用いて印字を行った。
・1scanディレイ:上記記録装置の第一のヘッド走査でブラックインクを印字し、その走査より1走査分後にカラーインクを印字した。
・1pass−bi:上記記録装置の同一走査内で、ブラックインクとカラーインクとを印字した。
【0105】
【発明の効果】
以上述べたように、本発明によれば、インクジェット記録によって得られる記録画像が、耐光性、耐水性、耐ガス性に優れ、且つ、特に、黒文字画像においてはエッジのシャープさが達成され、高い画像濃度の黒色画像が得られ、又、カラー画像においては、広い色再現範囲性を有し、更に、ブラック画像とカラー画像との境界領域で生じる異色間滲み(ブリーディング)が有効に抑制された高品位画像を得ることのできる、インクジェット記録用インクセット、インクジェット記録方法、インクカートリッジ、記録ユニット及びインクジェット記録装置が提供される。
【図面の簡単な説明】
【図1】グレー画像の領域の形成手段を説明するための図である。
【図2】インクジェット記録装置のヘッドの一例を示す縦断面図である。
【図3】図2のインクジェット記録ヘッドのAB線断面図である。
【図4】図2に示したヘッドをマルチ化したヘッドの外観斜視図である。
【図5】インクジェット記録装置の一例を示す概略斜視図である。
【図6】インクカートリッジの一例を示す縦断面図である。
【図7】記録ユニットの一例を示す斜視図である。
【図8】力学的エネルギーを利用したインクジェット記録ヘッドの構成の一例を示す概略断面図である。
【図9】複数の記録ヘッドが配列した記録部を示した斜視図である。
【図10】本発明に使用し得る別の態様にかかる記録ヘッドの斜視図である。
【符号の説明】
13:ヘッド
14:流路(ノズル)
15:発熱素子基板
16−1:保護層
16−2:最表面保護層
17−1、17−2:電極
18:発熱抵抗体層
19:蓄熱層
20:基板
21:インク
22:吐出オリフィス(微細孔)
23:メニスカス
24:インク小滴
25:被記録材
26:マルチノズル
27:ボリサルホン
28:発熱ヘッド
40:インク収容部
42:栓
43:キャリッジ
44:インク吸収体
45:インクカートリッジ
51:給紙部
52:紙送りローラー
53:排紙ローラー
61:ブレード
62:キャップ
63:インク吸収体
64:吐出回復部
65:記録ヘッド
66:キャリッジ
67:ガイド軸
68:モーター
69:ベルト
70:記録ユニット
71:ヘッド部
72:大気連通口
80:インク流路
81:オリフィスプレート
82:振動板
83:圧電素子
84:基板
85:吐出口
91、92、93、94:記録ヘッド
Claims (7)
- 少なくともブラックインクと、イエロー、マゼンタ及びシアンの各カラーインクの4色のインクを有するインクジェット記録用インクセットにおいて、
(a)ブラックインクは、少なくとも水と、水不溶性の色材としてカーボンブラックを含有し、動的光散乱法による該色材の体積平均粒子径が80nm以上であり、
(b)各カラーインクは、少なくとも水と、水不溶性の色材として顔料を含有し、動的光散乱法によって測定した該色材の体積平均粒子径が60nm以下であり、且つ体積粒度分布の累積90%粒径が100nm以下であり、
(c)ブラックインク中の色材の動的光散乱法によって測定した体積平均粒子径が、各カラーインク中の該色材の体積平均粒子径よりも大きく、且つ該ブラックインクの表面張力が該各カラーインクの表面張力よりも高いことを特徴とするインクジェット記録用インクセット。 - (i)ブラックインクとカラーインクとの組み合わせからなる請求項1に記載のインクジェット記録用インクセットを用意する工程;
(ii)上記ブラックインクを被記録材に付与する工程;及び
(iii)上記カラーインクを被記録材に付与する工程、を有することを特徴とするインクジェット記録方法。 - 前記工程(iii)を、前記工程(ii)が行なわれた後、少なくとも1スキャン遅れて行なう請求項2に記載のインクジェット記録方法。
- 前記工程(ii)と(iii)とを1スキャン動作のうちに行う請求項2に記載のインクジェット記録方法。
- 請求項1に記載のインクジェット記録用インクセットを構成しているブラックインクとカラーインクとを各々収納しているインクタンクを具備していることを特徴とするインクカートリッジ。
- 請求項1に記載のインクジェット記録用インクセットを構成しているブラックインクとカラーインクとをそれぞれに収容しているインクタンクと、該ブラックインクと該カラーインクとを各々吐出するためのインクジェットヘッドと、を具備していることを特徴とする記録ユニット。
- 請求項1に記載のインクジェット記録用インクセットを構成しているブラックインクとカラーインクとをそれぞれに収容しているインクタンクと、該ブラックインクと該カラーインクとを各々吐出するためのインクジェットヘッドと、を具備していることを特徴とするインクジェット記録装置。
Priority Applications (1)
| Application Number | Priority Date | Filing Date | Title |
|---|---|---|---|
| JP2002176078A JP4100976B2 (ja) | 2001-06-15 | 2002-06-17 | インクジェット記録用インクセット、インクジェット記録方法、インクカートリッジ、記録ユニット及びインクジェット記録装置 |
Applications Claiming Priority (3)
| Application Number | Priority Date | Filing Date | Title |
|---|---|---|---|
| JP2001181705 | 2001-06-15 | ||
| JP2001-181705 | 2001-06-15 | ||
| JP2002176078A JP4100976B2 (ja) | 2001-06-15 | 2002-06-17 | インクジェット記録用インクセット、インクジェット記録方法、インクカートリッジ、記録ユニット及びインクジェット記録装置 |
Publications (2)
| Publication Number | Publication Date |
|---|---|
| JP2003096371A JP2003096371A (ja) | 2003-04-03 |
| JP4100976B2 true JP4100976B2 (ja) | 2008-06-11 |
Family
ID=26616998
Family Applications (1)
| Application Number | Title | Priority Date | Filing Date |
|---|---|---|---|
| JP2002176078A Expired - Fee Related JP4100976B2 (ja) | 2001-06-15 | 2002-06-17 | インクジェット記録用インクセット、インクジェット記録方法、インクカートリッジ、記録ユニット及びインクジェット記録装置 |
Country Status (1)
| Country | Link |
|---|---|
| JP (1) | JP4100976B2 (ja) |
Families Citing this family (8)
| Publication number | Priority date | Publication date | Assignee | Title |
|---|---|---|---|---|
| JP4328670B2 (ja) * | 2004-05-28 | 2009-09-09 | 富士フイルム株式会社 | 画像記録方法 |
| JP2005342897A (ja) * | 2004-05-31 | 2005-12-15 | Fuji Photo Film Co Ltd | インク組成物、インクセット及びそれを用いる画像記録方法 |
| WO2006001543A1 (ja) * | 2004-06-28 | 2006-01-05 | Canon Kabushiki Kaisha | 記録方法、インクカートリッジ及び画像形成方法 |
| JP4420461B2 (ja) * | 2004-06-28 | 2010-02-24 | キヤノン株式会社 | 記録方法、インクカートリッジ及び画像形成方法 |
| JP2008106229A (ja) | 2006-09-29 | 2008-05-08 | Brother Ind Ltd | インクジェット記録用インクセット |
| US7763107B2 (en) | 2007-12-27 | 2010-07-27 | Brother Kogyo Kabushiki Kaisha | Ink for ink-jet recording and ink set for ink-jet recording |
| JP5652657B2 (ja) * | 2011-03-14 | 2015-01-14 | 株式会社リコー | インクセット及びインクジェット記録方法 |
| JP6955658B2 (ja) * | 2017-01-11 | 2021-10-27 | Dic株式会社 | 液状組成物の組み合わせ |
-
2002
- 2002-06-17 JP JP2002176078A patent/JP4100976B2/ja not_active Expired - Fee Related
Also Published As
| Publication number | Publication date |
|---|---|
| JP2003096371A (ja) | 2003-04-03 |
Similar Documents
| Publication | Publication Date | Title |
|---|---|---|
| US6733120B2 (en) | Ink set for ink-jet recording, recording method, ink cartridge, recording unit, and ink-jet recording apparatus | |
| KR100795614B1 (ko) | 수성 잉크, 잉크젯 기록 방법, 잉크 카트리지, 기록 유닛,잉크젯 기록 장치 및 상 형성 방법 | |
| US7160376B2 (en) | Aqueous ink, and ink-jet recording method, ink-jet recording apparatus, and image forming method using the same | |
| EP1748059B1 (en) | Ink set, inkjet recording method, ink cartridge, recording unit, inkjet recording apparatus, and image forming method | |
| JP4612793B2 (ja) | インクジェット記録方法 | |
| JP4100976B2 (ja) | インクジェット記録用インクセット、インクジェット記録方法、インクカートリッジ、記録ユニット及びインクジェット記録装置 | |
| EP1085060A2 (en) | Aqueous ink for ink-jet recording, ink set, ink-jet recording process and bleeding reducing method | |
| JP4273104B2 (ja) | 水性インク、インクジェット記録方法、インクカートリッジ、記録ユニット、インクジェット記録方法及び画像形成方法 | |
| JP2006159426A (ja) | 反応液、インクセット、インクジェット記録方法及び記録物 | |
| JP2006008899A (ja) | インクセット、インクジェット記録方法、インクカートリッジ、記録ユニット、インクジェット記録装置及び画像形成方法 | |
| JP4976644B2 (ja) | インクジェット用水性インク、インクジェット記録方法、インクカートリッジ、記録ユニット、インクジェット記録装置及び画像形成方法 | |
| JP5054897B2 (ja) | インクセット、インクジェット記録方法、インクカートリッジ、記録ユニット、インクジェット記録装置及び画像形成方法 | |
| JP2010018764A (ja) | インクセット、インクジェット記録方法、記録ユニット及びインクジェット記録装置 | |
| JP2006160815A (ja) | インクセット、インクジェット記録方法及び記録物 | |
| JP2004115549A (ja) | インクセット、画像形成方法、記録ユニット及びインクジェット記録装置 | |
| JP2005052974A (ja) | 水性インクセット | |
| JP2009138136A (ja) | インクセット、インクジェット記録方法、インクカートリッジ、記録ユニット、インクジェット記録装置、及び画像形成方法 | |
| JP2010095680A (ja) | インクセット、インクジェット記録方法、記録ユニット及びインクジェット記録装置 | |
| JP2010095600A (ja) | インクセット、インクジェット記録方法、記録ユニット及びインクジェット記録装置 | |
| JP2006160930A (ja) | インク組成物、インクセット、画像記録装置及び画像記録方法 | |
| JP2006263941A (ja) | インクジェット記録方法及び記録物 | |
| JP2008179678A (ja) | インクセット、インクジェット記録方法、インクカートリッジ、記録ユニット、及びインクジェット記録装置 | |
| JP2006008916A (ja) | カラーインク、インクジェット記録方法、インクカートリッジ、記録ユニット、インクジェット記録装置、及び画像形成方法 | |
| JP2002226742A (ja) | インクセット、それを用いたインクジェット記録方法、記録ユニット、インクカートリッジ、及びインクジェット記録装置 | |
| JP2010138352A (ja) | 着色インクと液体組成物とのセット、インクジェット記録方法、及びインクジェット記録装置 |
Legal Events
| Date | Code | Title | Description |
|---|---|---|---|
| A977 | Report on retrieval |
Free format text: JAPANESE INTERMEDIATE CODE: A971007 Effective date: 20051027 |
|
| A131 | Notification of reasons for refusal |
Free format text: JAPANESE INTERMEDIATE CODE: A131 Effective date: 20060314 |
|
| A521 | Written amendment |
Free format text: JAPANESE INTERMEDIATE CODE: A523 Effective date: 20060515 |
|
| A131 | Notification of reasons for refusal |
Free format text: JAPANESE INTERMEDIATE CODE: A131 Effective date: 20070626 |
|
| A521 | Written amendment |
Free format text: JAPANESE INTERMEDIATE CODE: A523 Effective date: 20070827 |
|
| A02 | Decision of refusal |
Free format text: JAPANESE INTERMEDIATE CODE: A02 Effective date: 20070918 |
|
| A521 | Written amendment |
Free format text: JAPANESE INTERMEDIATE CODE: A523 Effective date: 20071115 |
|
| A911 | Transfer of reconsideration by examiner before appeal (zenchi) |
Free format text: JAPANESE INTERMEDIATE CODE: A911 Effective date: 20080219 |
|
| TRDD | Decision of grant or rejection written | ||
| A01 | Written decision to grant a patent or to grant a registration (utility model) |
Free format text: JAPANESE INTERMEDIATE CODE: A01 Effective date: 20080311 |
|
| A61 | First payment of annual fees (during grant procedure) |
Free format text: JAPANESE INTERMEDIATE CODE: A61 Effective date: 20080318 |
|
| FPAY | Renewal fee payment (event date is renewal date of database) |
Free format text: PAYMENT UNTIL: 20110328 Year of fee payment: 3 |
|
| R150 | Certificate of patent or registration of utility model |
Ref document number: 4100976 Country of ref document: JP Free format text: JAPANESE INTERMEDIATE CODE: R150 Free format text: JAPANESE INTERMEDIATE CODE: R150 |
|
| FPAY | Renewal fee payment (event date is renewal date of database) |
Free format text: PAYMENT UNTIL: 20120328 Year of fee payment: 4 |
|
| FPAY | Renewal fee payment (event date is renewal date of database) |
Free format text: PAYMENT UNTIL: 20130328 Year of fee payment: 5 |
|
| FPAY | Renewal fee payment (event date is renewal date of database) |
Free format text: PAYMENT UNTIL: 20140328 Year of fee payment: 6 |
|
| LAPS | Cancellation because of no payment of annual fees |
