JP4100372B2 - 超音波美容器具 - Google Patents

超音波美容器具 Download PDF

Info

Publication number
JP4100372B2
JP4100372B2 JP2004140457A JP2004140457A JP4100372B2 JP 4100372 B2 JP4100372 B2 JP 4100372B2 JP 2004140457 A JP2004140457 A JP 2004140457A JP 2004140457 A JP2004140457 A JP 2004140457A JP 4100372 B2 JP4100372 B2 JP 4100372B2
Authority
JP
Japan
Prior art keywords
ultrasonic
horn
transmission medium
vibration
vibrator
Prior art date
Legal status (The legal status is an assumption and is not a legal conclusion. Google has not performed a legal analysis and makes no representation as to the accuracy of the status listed.)
Expired - Fee Related
Application number
JP2004140457A
Other languages
English (en)
Other versions
JP2005323213A (ja
Inventor
真人 布村
秀明 安倍
隆文 大羽
Current Assignee (The listed assignees may be inaccurate. Google has not performed a legal analysis and makes no representation or warranty as to the accuracy of the list.)
Panasonic Electric Works Co Ltd
Original Assignee
Matsushita Electric Works Ltd
Priority date (The priority date is an assumption and is not a legal conclusion. Google has not performed a legal analysis and makes no representation as to the accuracy of the date listed.)
Filing date
Publication date
Application filed by Matsushita Electric Works Ltd filed Critical Matsushita Electric Works Ltd
Priority to JP2004140457A priority Critical patent/JP4100372B2/ja
Publication of JP2005323213A publication Critical patent/JP2005323213A/ja
Application granted granted Critical
Publication of JP4100372B2 publication Critical patent/JP4100372B2/ja
Anticipated expiration legal-status Critical
Expired - Fee Related legal-status Critical Current

Links

Images

Landscapes

  • Percussion Or Vibration Massage (AREA)
  • Obtaining Desirable Characteristics In Audible-Bandwidth Transducers (AREA)

Description

本発明は、超音波領域での振動エネルギーを利用して生体肌表面(生体内の目的箇所を含む)の美容、治療、及び/又は、診断をする超音波美容器具に関する。
従来の超音波美容器具(以下、超音波プローブという)として、超音波振動体の外殻作用面に、該振動体とは別に、柔軟性のある材質から成る袋体を設け、この袋体内にゲル等の振動伝達媒体を保持させ、この振動伝達媒体を介して生体の皮膚に振動を伝達するようにしたものがある(例えば、特許文献1参照)。
その他の超音波プローブとして、超音波振動体を包み込むゴム等から成る保護部材を設け、この保護部材を振動体に対向する振動面よりも周囲方向に拡張させ、その外周の垂下縁により形成した空間にゲル等の振動伝達媒体を保持させ、この振動伝達媒体を介して生体の皮膚に振動を伝達するようにしたものがある(例えば、特許文献2参照)。
ところが、上記特許文献1に示されるような構成では、超音波プローブの振動面となるホーンとは別個に、振動伝達媒体を閉じ込めるための袋体を必要とすることから、袋体が外れたり、器具自体が大型化する問題のほか、袋体の最適設計や部品追加によるコストアップに繋がる。また、上記特許文献2に示されるような構成では、超音波プローブの振動面となるホーン領域とは別に、振動伝達媒体を保持するための比較的大径の保護部材を必要とすることから、器具自体が大型化する問題のほか、保護部材が劣化したり、保護部材の最適設計が難しく、コストアップに繋がる。
特表平11−505440号公報 特開平3−49760号公報
そこで、そのような問題が生じないように、超音波プローブの振動面自体にゲル等の振動伝達媒体を保持させることが考えられる。図10は、そのような超音波プローブを示し、以下に説明する。この超音波プローブ1は、そのハウジング2と、電気振動を機械振動に変換する超音波振動子3と、この超音波振動子3により変換された機械振動の振動エネルギーを生体肌表面もしくは生体10内に効率よく伝達させる放射面(振動面)を備えたキャップ状ホーン4からなり、駆動回路6から超音波振動子3に電気振動を供給し、ゲル等の超音波伝達媒体5を介して生体10の被処理部に超音波を伝達させる。超音波伝達媒体5はホーン4自体の表面に保持される。
図11は、超音波振動子3とホーン4部分を示す。ホーン4は、アルミニウム等の導電性部材から成り、超音波振動子3の一方の電極3aが接続され、この電極3aと他方の電極3bとの間に電気振動信号が入力される。電気振動が機械振動に、さらに音響振動に変換される。
図12は、上記のような超音波プローブの使用法を示す。超音波プローブ1は、広域な被処理面積に超音波を伝播させ、また、安全のために同一箇所へ超音波を集中させないために、生体10の被処理部表面を滑らせて使用することが通常である。ところが、このようにして超音波プローブ1を被処理部表面で滑らせて使用すると、時間の経過に伴い、図示のように、ホーン4と、被処理部表面の間に介在していた超音波伝達媒体5の量が少なくなる。ここに、超音波振動子3からホーン4に伝播され、ホーン放射面から放射される超音波を、被処理部へ高効率に伝播させるためには、超音波伝達媒体5が必要である。
ここで、超音波プローブのホーンにより発生される音波の現象について説明する。音波の現象として反射があり、2種の媒質の境界面における反射率、すなわち反射エネルギーと入射エネルギーとの比は、媒質の密度をρ、媒質中の音速度をcとすると、ρcは音響インピーダンスであり、二つの媒質の音響インピーダンスは、ρ1c1、ρ2c2となり、
反射率r={(ρ1c1−ρ2c2)/(ρ1c1+ρ2c2)}
で与えられ、ρ1c1とρ2c2の差が大きいほど、界面で反射が起こる。
一例では、アルミニウムの音響インピーダンスは、およそ17×10N・s/m、空気はおよそ430N・s/m、水はおよそ1.5×10N・s/mであり、生体はほぼ水と等価とされる。ここから、空気と水(生体)、空気とアルミニウムの界面では音波がほとんど反射してしまうことが分かる。この反射を防ぐために、超音波伝達媒体が利用される。
図13は、超音波伝達媒体が無い場合の音波の伝播現象を示す。ホーン4(例えば、アルミニウム製)を直接、生体10に接触させて超音波を伝達させるが、超音波伝達媒体が無いため、ホーン4と生体10との間には必ず空気層が存在してしまう。このため、ホーンと空気の界面、空気と生体の界面での音響インピーダンスの違いから、ほとんどの音波が界面で反射を起こし、超音波が生体内へ伝達されなくなる。超音波振動の伝達方向を図示矢印の方向で示し、振動振幅の大きさや超音波の強さを矢印の大きさで示しており、この場合、超音波が生体にほとんど伝達されないことが分かる。
図14は、超音波伝達媒体が有る場合の音波の伝播現象を示す。超音波伝達媒体5としては、通常、水や生体と等価な媒体が用いられ、ホーン4(例えばアルミニウム製)の超音波放射面と生体10との間に満たされる。これにより、ホーン4と生体10との間に存在していた空気層が無くなり、図示の矢印の幅で示したように、音波が界面でほとんど反射せずに、生体10に高効率に伝達されるようになる。
このように、超音波を高効率に生体に伝達させるためには、ホーンと被処理部との間に、常に超音波伝達媒体が存在することが不可欠であるが、超音波プローブは、ホーンと生体被処理部(例えば肌表面)を密着させ、かつ滑らせて使用するため、使用の間に超音波伝達媒体が減少し、超音波を伝達できなくなる。このため、常時、超音波伝達媒体を供給しながら超音波プローブを使用する必要があり、面倒である上に、超音波伝達媒体も無駄となる。
従って、超音波プローブを使用する上で、超音波伝達媒体をホーンと生体被処理部間に常に安定して存在させ、高効率に安定した超音波の伝達が達成できる超音波プローブの実現が望まれていた。
本発明は、それに応えるもので、超音波プローブで生体肌表面又は生体内の被処理箇所を美容、治療、診断する上で、器具が大型化したりすることなく、超音波伝達媒体をホーンと生体被処理部間に維持させることができ、超音波プローブからの超音波を高効率、かつ安定して生体被処理部へ伝達することが可能な超音波美容器具を提供することを目的とする。
上記目的を達成するために、請求項1に係る発明は、超音波振動を生体肌表面に伝達させる超音波美容器具において、超音波振動を発生する超音波振動子と、前記超音波振動子からの超音波振動を伝達するホーンと、を備え、前記ホーンは、その表面に、器具使用時に該ホーンと生体肌表面との間に介在させる流動性を持つ超音波伝達媒体の流動を阻止する環状の凹部又は凸部の流動阻止構造を有し、前記環状の凹部又は凸部は前記超音波振動子と同心に形成され、前記環状の凹部又は凸部の内側円寸法が前記超音波振動子の外径寸法よりも大きいことを特徴とする
また、請求項2に係る発明は、超音波振動を生体肌表面に伝達させる超音波美容器具において、超音波振動を発生する超音波振動子と、前記超音波振動子からの超音波振動を伝達するホーンと、を備え、前記超音波振動子は、中央部に穴が形成された円板型振動子であり、前記ホーンは、その表面に、前記超音波振動子の穴に対向するように形成された円形の凹部又は凸部を有し、前記超音波振動子の穴径が前記ホーンの表面に形成された円形の凹部又は凸部の直径以上であることを特徴とする
なお、凹部又は凸部は、頂部に平坦部がある必要はなく、円錐状など錘状でも構わない。また、超音波伝達媒体は、美容器具とは別売りのものを想定している。
請求項3に係る発明は、請求項2記載の超音波美容器具において、前記ホーンは、その表面に、前記円形の凹部又は凸部の外側に形成され、器具使用時に該ホーンと生体肌表面との間に介在させる流動性を持つ超音波伝達媒体の流動を阻止する環状の凹部又は凸部の流動阻止構造を有し、前記超音波振動子の外径が前記環状の凹部又は凸部の内径以下であることを特徴とする。
請求項4に係る発明は、請求項1乃至3のいずれか1項に記載の超音波美容器具において、前記超音波振動子とホーンの振動方向厚みが、超音波の1/4波長の整数倍とされ、前記凹凸形状が超音波の1/4波長の整数倍を外した高さとされていることを特徴とする。
本発明によれば、ホーン自体の表面に凹凸形状を設けたことで、超音波伝達媒体の流動をできるだけ少なくして、超音波伝達媒体を被処理部分表面に維持させることができるので、従来のように、超音波伝達媒体を入れる袋体を別個に設けるといった必要がなくなり低コスト化を図りつつ、ホーンと被処理部表面との間に介在する空気層を無くし、高効率かつ安定して超音波を被処理部分へ伝達させることができ、常に安定した超音波美容、治療、診断ができるようになる。ホーンと被処理部表面との間に介在させた超音波伝達媒体は窪みや穴に入り込み、被処理部分外に排除されないで維持することができる。
また、プローブを滑らせる使用方法は、方向や動かし方に規則性がないため、ホーンに設ける凸部や窪みや穴をホーン中心を基準として略点対称もしくは線対称にすることで、方向や動かし方に関わらず、安定して超音波を伝達させることができる。また、凹凸形状が略対称であることにより、例えば、円板型振動子(リング状振動子をも含む)に円環状の凹凸形状(凹溝)であることで、超音波伝達媒体を効率的に維持できる。
また、凹凸形状が閉ループ(円環状、四角の囲みなどであるが、一部が切れているものをも含む)であれば、ホーンの端部から超音波伝達媒体が出て行くのを防止することができる。
また、ホーンに設けられた凹凸の寸法設定により、ホーンに設けた窪みや穴が本来の超音波振動を妨げることなく、窪み又は穴や凸部の共振を防ぎ、不要な振動の発生を防ぐことができ、かつ、超音波伝達媒体をホーンと被処理部分との間に維持させることができる。
以下、本発明の実施形態による超音波美容器具について図面を参照して説明する。図1は、超音波美容器具、すなわち、超音波プローブの構成を、図2は同プローブのホーン部の構成を示し、いずれも器具使用状態を示す。超音波プローブ1は、そのハウジング2と、超音波振動の駆動源となる超音波振動子3と、その超音波振動を生体10の肌表面又は生体内の目的箇所つまり被処理部に伝達させるホーン4と、超音波振動子3を駆動する駆動回路6を有している。ここに、ホーン4と生体10の被処理部との間に、オリーブ油等のゲル状物質で成る超音波伝達媒体5を常時介在させた状態で超音波を被処理部に伝達させる。それにより、ホーン4と生体10の被処理部との間に空気層が介在しなくなり、高効率に超音波を伝達することができる。
ホーン4と生体10の被処理部との間に超音波伝達媒体5を常時介在させた状態とするために、図2に示すように、超音波伝達媒体5を維持するための構造として、プローブ内のホーン4の被処理部対向平面に凹凸形状9(凸部や窪みや穴も含む)を設けた。ホーン4は、本実施形態では、アルミニウム等の材質で有底筒状に形成され、扁平円板状の超音波振動子3を貼り付けた型の振動ブロックを示したが、ボルト締め(ランジュバン型を含む)振動子を用いた構成であってもよい。好ましい実施形態では、ホーン4と超音波振動子3は、超音波の定在波振動体を構成している。なお、ハウジング2には、電源ケーブル7が導出され、また、動作スイッチ8が設けられている。ホーン4は、ハウジング2の開口に取り付けられる。
超音波プローブ1は、被処理部分表面を滑らせて移動させながら使用する。図3は、そうして使用した場合を示す。当初、超音波伝達媒体5は、ユーザによりホーン4の被処理部対向面に適当量を塗布される。超音波伝達媒体5は、上記のホーン4の凹凸形状9により流動が阻止され、被処理部対向面に維持されるので、時間経過後においても、ホーン4と生体10との間に空気層が生じることがなくなる。そのため、ホーン4は超音波伝達媒体5を介在させて超音波を高効率かつ安定して被処理部へ伝達することができ、また、インピーダンス周波数特性も安定し、安定駆動ができる。ちなみに、凹凸形状9がない場合は、ホーン4と被処理部分との間に介在させた超音波伝達媒体5が少なくなるため、空気層が生じて界面での音響インピーダンスの大幅な相違により、音波の反射が起こり、超音波の伝達効率が低下する。
本実施形態による超音波プローブによれば、ホーン4に直接設けた凹凸形状により超音波伝達媒体5をホーン4と被処理部表面との間に維持させることができ、そのため、空気層を無くして、音響インピーダンスの大幅な相違による音波の反射を抑えるとともに、インピーダンス周波数特性も安定させることができるため、常時、高効率な超音波の伝達や安定駆動ができ、安全に使用することができる。
図4、図5は、ホーン4と被処理部分との間に超音波伝達媒体5を維持するための構造の他実施形態を示す。図4には、ホーン4の表面に凹凸形状として凸部91を設けた例、図5には、ホーン4の表面に凸部91と窪み(又は穴)92を設けた例をそれぞれ示す。好ましくは、凸部や窪み又は穴は、ホーン4の中心を基準として略点対称又は線対称とする。
図6は、窪み92の各種実施形態を示す。窪み92(凸部でも構わない)が略点対称又は線対称に配置されることにより、ホーン4と被処理部表面との間に介在させた超音波伝達媒体5は、窪み92に入り込み、被処理部分外に排除されないで維持される。プローブ1を滑らせる使用方法は、その方向や動かし方に規則性がないことから、ホーン4に設ける凸部や窪みや穴が、上記のように略点対称又は線対称であることは好都合である。さらに、プローブ1の使用中に生体を傷つけることを防ぐため、凸部や窪みや穴の角部は面取り(R含む)することが望ましい。これにより、プローブ1の如何なる不規則な動きにも追従して効果的な超音波伝達が可能となる。
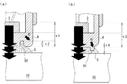
上記のように、ホーン4に設けられる凸部91や窪み92又は穴は、円状又は環状に設置している。このとき、好ましい条件としては、図7(a)(b)(c)に示すように、環状の窪み(凹部)92又は凸部91の内側円寸法φ2が、超音波振動子3の外寸法φ1よりも大きく、同心であることが望ましい。また、図7(d)に示すように、環状の窪み92又は凸部91は、一部が切れていても構わない。図7(a)の矢印で示すように、超音波振動子3の振動は、超音波伝達媒体5を介して生体10に高効率に伝達される。
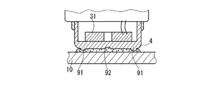
また、図8に示すように、超音波振動子3として、円板型振動子31を用いてもよい。この場合、円板型振動子31の穴径φAは、円状の窪み92又は凸部91の穴径φC以上で、かつ同心であることが望ましい。また、円板型振動子31の外径φBは、状の窪み92又は凸部91の径φ以下であることが望ましい。これらにより、ホーン4に設けた窪み92等が本来の超音波振動を妨げることなく、かつ超音波伝達媒体5をホーン4と生体10の被処理部分との間に維持させることができる。
図9(a)(b)は、超音波プローブ1における超音波振動子3とホーン4の適正な高さ寸法を示す。ホーン4の表面に設けた窪み92(又は穴)や凸部91は、ホーン4の共振動作に伴い不要な振動を発生する要因となる。この不要な超音波振動を矢印Eで示す。この不要な振動を阻止するため、ホーン4に設けた窪み92又は穴の深さt2や凸部91の高さ寸法t4は、超音波の1/4波長の整数倍を外した寸法に設計する。また、超音波振動子3とホーン4の振動方向厚みt1,t3は、通常、超音波の1/4波長の整数倍の寸法に形成する。また、好ましくは、窪み92又は穴の深さや凸部91の高さは、超音波の1/4波長以下の寸法にする。こうして、ホーン4の窪み92又は穴や凸部91の共振を防ぎ、不要な振動の発生を防ぐことができる。
なお、本発明は前述した事柄及び図示のものに限定されるわけではなく、超音波プローブに超音波伝達媒体を維持させる構造をホーン自体に設け、生体の被処理部に超音波伝達効率を上げるようにしたものであれば、発明の精神及び特許請求の範囲に逸脱することなく、様々な変形を取ることができる。
本発明の一実施形態による超音波美容器具(超音波プローブ)の器具使用状態における断面構成図。 同プローブのホーン部の器具使用状態における拡大断面図。 同プローブを移動させながら使用した場合を示す図。 同プローブのホーン部の他実施形態による断面図。 同プローブのホーン部のさらに他実施形態による断面図。 ホーン部の凹凸形状の各種形態による構成図。 ホーン部の凹凸形状の寸法関係を示す図。 ホーン部の凹凸形状の寸法関係を示す図。 ホーン部の寸法関係を示す図。 従来の超音波プローブの器具使用状態における構成図。 同プローブのホーン部の拡大断面図。 同プローブを移動させながら使用した場合を示す図。 同プローブにおいて空気層がある場合の超音波伝達の動作を説明する図。 同プローブにおいて超音波伝達媒体がある場合の動作を説明する図。
符号の説明
1 超音波プローブ
2 ハウジング
3 超音波振動子
31 円板型振動子
4 ホーン
5 超音波伝達媒体
9 凹凸形状
91 窪み
92 凸部
10 生体

Claims (4)

  1. 超音波振動を生体肌表面に伝達させる超音波美容器具において、
    超音波振動を発生する超音波振動子と、
    前記超音波振動子からの超音波振動を伝達するホーンと、を備え、
    前記ホーンは、その表面に、器具使用時に該ホーンと生体肌表面との間に介在させる流動性を持つ超音波伝達媒体の流動を阻止する環状の凹部又は凸部の流動阻止構造を有し、
    前記環状の凹部又は凸部は前記超音波振動子と同心に形成され、前記環状の凹部又は凸部の内側円寸法が前記超音波振動子の外径寸法よりも大きいことを特徴とする超音波美容器具。
  2. 超音波振動を生体肌表面に伝達させる超音波美容器具において、
    超音波振動を発生する超音波振動子と、
    前記超音波振動子からの超音波振動を伝達するホーンと、を備え、
    前記超音波振動子は、中央部に穴が形成された円板型振動子であり、
    前記ホーンは、その表面に、前記超音波振動子の穴に対向するように形成された円形の凹部又は凸部を有し、
    前記超音波振動子の穴径が前記ホーンの表面に形成された円形の凹部又は凸部の直径以上であることを特徴とする超音波美容器具。
  3. 前記ホーンは、その表面に、前記円形の凹部又は凸部の外側に形成され、器具使用時に該ホーンと生体肌表面との間に介在させる流動性を持つ超音波伝達媒体の流動を阻止する環状の凹部又は凸部の流動阻止構造を有し、
    前記超音波振動子の外径が前記環状の凹部又は凸部の内径以下であることを特徴とする請求項記載の超音波美容器具。
  4. 前記超音波振動子とホーンの振動方向厚みが、超音波の1/4波長の整数倍とされ、前記凹凸形状が超音波の1/4波長の整数倍を外した高さとされていることを特徴とする請求項1乃至3のいずれか一項に記載の超音波美容器具。
JP2004140457A 2004-05-10 2004-05-10 超音波美容器具 Expired - Fee Related JP4100372B2 (ja)

Priority Applications (1)

Application Number Priority Date Filing Date Title
JP2004140457A JP4100372B2 (ja) 2004-05-10 2004-05-10 超音波美容器具

Applications Claiming Priority (1)

Application Number Priority Date Filing Date Title
JP2004140457A JP4100372B2 (ja) 2004-05-10 2004-05-10 超音波美容器具

Publications (2)

Publication Number Publication Date
JP2005323213A JP2005323213A (ja) 2005-11-17
JP4100372B2 true JP4100372B2 (ja) 2008-06-11

Family

ID=35470140

Family Applications (1)

Application Number Title Priority Date Filing Date
JP2004140457A Expired - Fee Related JP4100372B2 (ja) 2004-05-10 2004-05-10 超音波美容器具

Country Status (1)

Country Link
JP (1) JP4100372B2 (ja)

Families Citing this family (50)

* Cited by examiner, † Cited by third party
Publication number Priority date Publication date Assignee Title
US6050943A (en) 1997-10-14 2000-04-18 Guided Therapy Systems, Inc. Imaging, therapy, and temperature monitoring ultrasonic system
US7914453B2 (en) 2000-12-28 2011-03-29 Ardent Sound, Inc. Visual imaging system for ultrasonic probe
US8235909B2 (en) 2004-05-12 2012-08-07 Guided Therapy Systems, L.L.C. Method and system for controlled scanning, imaging and/or therapy
US7824348B2 (en) 2004-09-16 2010-11-02 Guided Therapy Systems, L.L.C. System and method for variable depth ultrasound treatment
US7393325B2 (en) 2004-09-16 2008-07-01 Guided Therapy Systems, L.L.C. Method and system for ultrasound treatment with a multi-directional transducer
US9011336B2 (en) 2004-09-16 2015-04-21 Guided Therapy Systems, Llc Method and system for combined energy therapy profile
US10864385B2 (en) 2004-09-24 2020-12-15 Guided Therapy Systems, Llc Rejuvenating skin by heating tissue for cosmetic treatment of the face and body
US8444562B2 (en) 2004-10-06 2013-05-21 Guided Therapy Systems, Llc System and method for treating muscle, tendon, ligament and cartilage tissue
US8535228B2 (en) 2004-10-06 2013-09-17 Guided Therapy Systems, Llc Method and system for noninvasive face lifts and deep tissue tightening
US11883688B2 (en) 2004-10-06 2024-01-30 Guided Therapy Systems, Llc Energy based fat reduction
US8133180B2 (en) 2004-10-06 2012-03-13 Guided Therapy Systems, L.L.C. Method and system for treating cellulite
EP2279698A3 (en) 2004-10-06 2014-02-19 Guided Therapy Systems, L.L.C. Method and system for non-invasive cosmetic enhancement of stretch marks
US7758524B2 (en) 2004-10-06 2010-07-20 Guided Therapy Systems, L.L.C. Method and system for ultra-high frequency ultrasound treatment
US11235179B2 (en) 2004-10-06 2022-02-01 Guided Therapy Systems, Llc Energy based skin gland treatment
US8690779B2 (en) 2004-10-06 2014-04-08 Guided Therapy Systems, Llc Noninvasive aesthetic treatment for tightening tissue
KR20210068607A (ko) 2004-10-06 2021-06-09 가이디드 테라피 시스템스, 엘.엘.씨. 초음파 치료 시스템
US20060111744A1 (en) 2004-10-13 2006-05-25 Guided Therapy Systems, L.L.C. Method and system for treatment of sweat glands
US9694212B2 (en) 2004-10-06 2017-07-04 Guided Therapy Systems, Llc Method and system for ultrasound treatment of skin
US9827449B2 (en) 2004-10-06 2017-11-28 Guided Therapy Systems, L.L.C. Systems for treating skin laxity
US11207548B2 (en) 2004-10-07 2021-12-28 Guided Therapy Systems, L.L.C. Ultrasound probe for treating skin laxity
US11724133B2 (en) 2004-10-07 2023-08-15 Guided Therapy Systems, Llc Ultrasound probe for treatment of skin
EP1875327A2 (en) 2005-04-25 2008-01-09 Guided Therapy Systems, L.L.C. Method and system for enhancing computer peripheral saftey
US9566454B2 (en) 2006-09-18 2017-02-14 Guided Therapy Systems, Llc Method and sysem for non-ablative acne treatment and prevention
US9241683B2 (en) 2006-10-04 2016-01-26 Ardent Sound Inc. Ultrasound system and method for imaging and/or measuring displacement of moving tissue and fluid
PT2152167T (pt) 2007-05-07 2018-12-10 Guided Therapy Systems Llc Métodos e sistemas para acoplamento e focagem de energia acústica utilizando um componente acoplador
EP2152351B1 (en) 2007-05-07 2016-09-21 Guided Therapy Systems, L.L.C. Methods and systems for modulating medicants using acoustic energy
KR20250005526A (ko) * 2008-06-06 2025-01-09 얼테라, 인크 초음파 치료 시스템
US12102473B2 (en) 2008-06-06 2024-10-01 Ulthera, Inc. Systems for ultrasound treatment
WO2010075547A2 (en) 2008-12-24 2010-07-01 Guided Therapy Systems, Llc Methods and systems for fat reduction and/or cellulite treatment
US8715186B2 (en) 2009-11-24 2014-05-06 Guided Therapy Systems, Llc Methods and systems for generating thermal bubbles for improved ultrasound imaging and therapy
KR101117311B1 (ko) * 2009-12-11 2012-03-19 김희구 경피투여약물전달 피부 마사지기
KR20200004466A (ko) 2010-08-02 2020-01-13 가이디드 테라피 시스템스, 엘.엘.씨. 초음파 치료 시스템 및 방법
US9504446B2 (en) 2010-08-02 2016-11-29 Guided Therapy Systems, Llc Systems and methods for coupling an ultrasound source to tissue
US8857438B2 (en) 2010-11-08 2014-10-14 Ulthera, Inc. Devices and methods for acoustic shielding
RU2504330C2 (ru) 2011-03-24 2014-01-20 Магомед Хабибович Магомедов Устройство слежения за жевательными движениями (варианты) и наушник
WO2013009787A2 (en) 2011-07-10 2013-01-17 Guided Therapy Systems, Llc Methods and systems for ultrasound treatment
US9011337B2 (en) 2011-07-11 2015-04-21 Guided Therapy Systems, Llc Systems and methods for monitoring and controlling ultrasound power output and stability
US9263663B2 (en) 2012-04-13 2016-02-16 Ardent Sound, Inc. Method of making thick film transducer arrays
US9510802B2 (en) 2012-09-21 2016-12-06 Guided Therapy Systems, Llc Reflective ultrasound technology for dermatological treatments
CN204017181U (zh) 2013-03-08 2014-12-17 奥赛拉公司 美学成像与处理系统、多焦点处理系统和执行美容过程的系统
WO2014146022A2 (en) 2013-03-15 2014-09-18 Guided Therapy Systems Llc Ultrasound treatment device and methods of use
ES2972602T3 (es) 2014-04-18 2024-06-13 Ulthera Inc Terapia de ultrasonido con transductor de banda
CN108367317B (zh) 2016-01-18 2020-10-09 奥赛拉公司 具有外围电连接到柔性印刷电路板的环形超声波阵列的紧凑型超声波装置及其组装方法
IL264440B (en) 2016-08-16 2022-07-01 Ulthera Inc Systems and methods for cosmetic ultrasound treatment of skin
TWI797235B (zh) 2018-01-26 2023-04-01 美商奧賽拉公司 用於多個維度中的同時多聚焦超音治療的系統和方法
WO2019164836A1 (en) 2018-02-20 2019-08-29 Ulthera, Inc. Systems and methods for combined cosmetic treatment of cellulite with ultrasound
CN108722326B (zh) * 2018-08-07 2020-04-03 深圳市蓓媞科技有限公司 振动组件、具有该振动组件的美容装置及其使用方法
CN109316328B (zh) * 2018-09-29 2021-06-04 深圳市蓓媞科技有限公司 美容装置
CA3137928A1 (en) 2019-07-15 2021-01-21 Ulthera, Inc. Systems and methods for measuring elasticity with imaging of ultrasound multi-focus shearwaves in multiple dimensions
WO2024025014A1 (ko) * 2022-07-29 2024-02-01 엘지전자 주식회사 물리치료 기기

Also Published As

Publication number Publication date
JP2005323213A (ja) 2005-11-17

Similar Documents

Publication Publication Date Title
JP4100372B2 (ja) 超音波美容器具
JP4363987B2 (ja) 超音波振動ビームを収束する装置
JP5267128B2 (ja) 超音波センサ
US5581144A (en) Miniature, high efficiency dual frequency ultrasonic transducer with selectable beamwidth and apparatus
JP4319400B2 (ja) 超音波コアビット
US20210043825A1 (en) Multi-cell transducer
JP6774697B1 (ja) 超音波照射器
JP4936187B2 (ja) 美容装置
KR101861354B1 (ko) 집속 초음파 변환기
JP2798501B2 (ja) 音波又は超音波変換器
RU2332266C1 (ru) Ультразвуковая колебательная система
JP3972610B2 (ja) 超音波美容器
JP2007155675A (ja) 超音波センサ
JP4419774B2 (ja) 超音波美容装置
JP6832564B2 (ja) 集束音場形成装置
JP4639306B2 (ja) エアーギャップハイドロホン
JPH06161476A (ja) 超指向性音波出力装置
JPH09271098A (ja) 電気音響変換器
JP2001258088A5 (ja)
JP2021057630A (ja) アレイ型パラメトリックスピーカ
CN223026561U (zh) 一种检测与治疗一体的换能器
JP2020141354A (ja) 積層型振動子
JPH09200888A (ja) 広帯域低周波送波器
JP2003275684A (ja) 超音波発生装置、及びこの超音波発生装置を用いた超音波美容器
CN115739575A (zh) 一种音频加强处理装置

Legal Events

Date Code Title Description
A621 Written request for application examination

Free format text: JAPANESE INTERMEDIATE CODE: A621

Effective date: 20060414

A131 Notification of reasons for refusal

Free format text: JAPANESE INTERMEDIATE CODE: A131

Effective date: 20071204

A521 Written amendment

Free format text: JAPANESE INTERMEDIATE CODE: A523

Effective date: 20080130

TRDD Decision of grant or rejection written
A01 Written decision to grant a patent or to grant a registration (utility model)

Free format text: JAPANESE INTERMEDIATE CODE: A01

Effective date: 20080226

A61 First payment of annual fees (during grant procedure)

Free format text: JAPANESE INTERMEDIATE CODE: A61

Effective date: 20080310

FPAY Renewal fee payment (event date is renewal date of database)

Free format text: PAYMENT UNTIL: 20110328

Year of fee payment: 3

R150 Certificate of patent or registration of utility model

Free format text: JAPANESE INTERMEDIATE CODE: R150

S533 Written request for registration of change of name

Free format text: JAPANESE INTERMEDIATE CODE: R313533

FPAY Renewal fee payment (event date is renewal date of database)

Free format text: PAYMENT UNTIL: 20110328

Year of fee payment: 3

R350 Written notification of registration of transfer

Free format text: JAPANESE INTERMEDIATE CODE: R350

FPAY Renewal fee payment (event date is renewal date of database)

Free format text: PAYMENT UNTIL: 20120328

Year of fee payment: 4

FPAY Renewal fee payment (event date is renewal date of database)

Free format text: PAYMENT UNTIL: 20120328

Year of fee payment: 4

FPAY Renewal fee payment (event date is renewal date of database)

Free format text: PAYMENT UNTIL: 20130328

Year of fee payment: 5

FPAY Renewal fee payment (event date is renewal date of database)

Free format text: PAYMENT UNTIL: 20130328

Year of fee payment: 5

FPAY Renewal fee payment (event date is renewal date of database)

Free format text: PAYMENT UNTIL: 20140328

Year of fee payment: 6

LAPS Cancellation because of no payment of annual fees