JP4046851B2 - 削岩ドリル - Google Patents
削岩ドリル Download PDFInfo
- Publication number
- JP4046851B2 JP4046851B2 JP16235698A JP16235698A JP4046851B2 JP 4046851 B2 JP4046851 B2 JP 4046851B2 JP 16235698 A JP16235698 A JP 16235698A JP 16235698 A JP16235698 A JP 16235698A JP 4046851 B2 JP4046851 B2 JP 4046851B2
- Authority
- JP
- Japan
- Prior art keywords
- drill
- cutter
- rock
- auxiliary
- main cutter
- Prior art date
- Legal status (The legal status is an assumption and is not a legal conclusion. Google has not performed a legal analysis and makes no representation as to the accuracy of the status listed.)
- Expired - Fee Related
Links
Images
Classifications
-
- E—FIXED CONSTRUCTIONS
- E21—EARTH OR ROCK DRILLING; MINING
- E21B—EARTH OR ROCK DRILLING; OBTAINING OIL, GAS, WATER, SOLUBLE OR MELTABLE MATERIALS OR A SLURRY OF MINERALS FROM WELLS
- E21B10/00—Drill bits
- E21B10/44—Bits with helical conveying portion, e.g. screw type bits; Augers with leading portion or with detachable parts
- E21B10/445—Bits with helical conveying portion, e.g. screw type bits; Augers with leading portion or with detachable parts percussion type, e.g. for masonry
-
- E—FIXED CONSTRUCTIONS
- E21—EARTH OR ROCK DRILLING; MINING
- E21B—EARTH OR ROCK DRILLING; OBTAINING OIL, GAS, WATER, SOLUBLE OR MELTABLE MATERIALS OR A SLURRY OF MINERALS FROM WELLS
- E21B10/00—Drill bits
- E21B10/46—Drill bits characterised by wear resisting parts, e.g. diamond inserts
- E21B10/58—Chisel-type inserts
Landscapes
- Engineering & Computer Science (AREA)
- Geology (AREA)
- Life Sciences & Earth Sciences (AREA)
- Mining & Mineral Resources (AREA)
- Physics & Mathematics (AREA)
- Environmental & Geological Engineering (AREA)
- Fluid Mechanics (AREA)
- Mechanical Engineering (AREA)
- General Life Sciences & Earth Sciences (AREA)
- Geochemistry & Mineralogy (AREA)
- Earth Drilling (AREA)
- Processing Of Stones Or Stones Resemblance Materials (AREA)
- Drilling And Exploitation, And Mining Machines And Methods (AREA)
Description
【技術分野】
本発明は、ドリル屑を排出するための少なくとも1本の排出溝が長手方向に沿ってヘリカルに配置されたドリルシャフトと、該ドリルシャフトの端部に結合された硬質金属製のドリルヘッドとを具え、該ドリルヘッドが、それぞれドリルヘッドの直径線に沿って配置された主カッターおよび少なくとも1個の補助カッター)を含む削岩ドリルに関するものである。
【0002】
【背景技術】
削岩ドリルは、コンクリート製の基盤又は壁にドリル孔又は開口部を形成するために、軸線方向衝撃力を作用させる回転ドリル装置と組合わせて使用される。削岩ドリルは硬い岩石におけるドリル作業や高速回転に際して早期に損耗する。したがって、削岩ドリルには硬質金属を被着するのが普通である。その硬質金属としては、焼結又は溶射した炭化物、ケイ化物、ホウ化物又はそれらの合金が使用されている。
【0003】
上記構成の削岩ドリルは、例えば欧州特許出願公開第0654580号公報又はこれに対応する特開平7−180463号公報に開示されている。この既知の削岩ドリルは、全体が硬質金属製とされ、溶着又は溶接等によってドリルシャフトと結合されたドリルヘッドを具えている。ドリルヘッドはほぼ矩形断面に形成され、各対角線上にカッターが配置されている。これらのカッターは岩石の切削に供すると共に、削岩ドリルをドリル孔内で側方からガイドする。カッターは、第1の対角線上に延在する主カッターと、第1の対角線と交差する第2の対角線と平行に配置された2個の補助カッターとから構成されている。補助カッターは、主カッターに対して軸線方向に後退した位置に配置されている。主カッターおよび補助カッターは、削岩ドリルの回転に際して同一の包絡線を画成するように配置される。屋根状に形成された主カッターは、削岩ドリルのセンタリング機能を発揮する。更に、主カッターは主たる材料切削を達成するものであり、補助カッターの前方で加工すべき岩石と噛み合う。主カッターによって削られたドリル屑はドリルヘッドの外周領域に放出され、そこに配置された補助カッターによって更に細かく破砕される。この既知の削岩ドリルは、優れたドリル効率、長期の耐用寿命、良好なドリル屑排出特性等を発現する。しかしながら、ドリル効率を更に向上することが望まれる。特に、カッターを固有の負荷に関して最適化しうるための条件を整える必要がある。主カッターの周辺領域又は補助カッターには主として剪断力が作用するが、主カッターの中心部分には回転衝撃ドリル装置による軸線方向の衝撃力も負荷され、特に、ドリル作業中に回転衝撃ドリル装置の全衝撃エネルギーは主カッターの中心部分によって吸収されることに留意しなければならない。
【0004】
【発明の課題】
本発明の課題は、前述した構成を有する削岩ドリルにおいて、ドリル作業中に生ずるカッターの各部における負荷に対して容易に最適化できるように改良し、併せて、ドリル工具の性能を向上させると共にドリル屑の良好な排出を保障することにある。
【0005】
【課題の解決手段】
この課題を解決するため、本発明は、ドリル屑を排出するための少なくとも1本の排出溝が長手方向に沿ってヘリカルに配置されたドリルシャフトと、該ドリルシャフトの端部に結合された硬質金属製のドリルヘッドとを具え、該ドリルヘッドが、それぞれドリルヘッドの直径線に沿って配置された主カッターおよび少なくとも1個の補助カッターを含む削岩ドリルにおいて、補助カッターを、主カッターの周辺領域から軸線方向前方に突出させると共に、主カッターの周辺領域から半径方向外方にも突出させて配置したことを特徴とするものである。
【0006】
本発明によれば、少なくとも1個の補助カッターが主カッターの周辺領域から軸線方向前方に突出すると共に、主カッターの周辺領域から半径方向外方にも突出する配置とされているため、補助カッターが主たる材料切削を分担する。本発明において、少なくとも1個の補助カッターは、ドリル作業時に最大の剪断負荷を受ける。少なくとも1個の補助カッターに対して軸線方向に後退させた主カッターの周辺領域は、もっぱらセンタリング機能だけを発揮する。その結果、主カッターは更に最適化され、例えばセンタリング機能が大幅に改善される。削岩ドリルの耐用寿命の間に補助カッターがある程度まで摩耗しても、主カッターのセンタリング機能は保全される。補助カッターは、半径方向に延在するドリルヘッドの直径線の一部のみに亙って延在するため、剪断負荷を所定の限度内に抑制することが可能である。軸線方向に及ぼされる衝撃エネルギは、センタリング端部として作用する主カッターだけを介して、又は補助カッターを更に介して基盤に伝達される。既知の削岩ドリルと対比して、基盤に対する衝撃エネルギーの伝達効率が高まり、切削すべき材料に及ぼす圧力を増加させることが可能である。主カッターと、その周辺領域に対して軸線方向前方に突出する補助カッターとの間の移行領域では、基盤に対するドリル作業時に追加的な剪断力が生じることによってドリル作業が行われる。
【0007】
さらに、本発明によれば、補助カッターを主カッターの周辺領域から半径方向外方にも突出させた構成により、主カッターの周辺領域がドリル孔内壁の材料切削には関与せず、削岩ドリルのガイド機能のみを発揮する。
【0008】
本発明を実施するにあたっては、削岩ドリルの対称性を考慮し、ドリルヘッドの直径線に沿って2個の補助カッターを配置するのが有利である。補助カッターに対応する直径線は、主カッターに対応する直径線に対して90°未満の角度で交差させ、その交差角度は約10°〜50°とするのが好適である。2個の補助カッターを配置することにより、ドリル孔内におけるドリル工具の同期作動特性が改善される。本発明による補助カッターおよび主カッターの配置に基づく利点は、ドリル屑を排出するための排出溝の断面積をドリルヘッド内で拡大できることである。ドリルヘッドの対向する長手方向側面に断面積の大きな排出溝を配置することにより、硬質金属の使用量も節約することができる。上述の構成を有するドリルヘッドは、軸線方向から見てほぼX字形状の外周輪郭を呈するものである。
【0009】
良好なセンタリング機能を発現させるため、主カッターには屋根状に延在する中心領域を設けるのが有利である。主カッターの中心領域を補助カッターから軸線方向前方に突出させると共にその半径方向寸法をドリルヘッドの最大径の約1/3以下とするのが好適である。このような構成として主カッターの中心領域は、回転衝撃ドリル工具による軸線方向衝撃力の伝達に関して最適化されている。屋根状輪郭と上記範囲内で選択された半径方向寸法とにより、基盤中への挿入時に中心領域は剪断力が比較的小さな表面積のみに作用する。その結果、主カッターおよびドリルヘッドの耐用寿命が改善されるものである。
【0010】
補助カッターの半径方向寸法は、ドリルヘッドの最大径の約2/3以上とするのが有利である。この場合、良好な切削性能が確保されると共に、ドリル作業中に補助カッターに作用する剪断力を抑制することができる。
【0011】
削岩ドリルの作動中に最適な合力ベクトルを達成するため、ドリルシャフトの中心軸線に対して約90°の角度で延在する切削エッジを補助カッターに設けるのが有利である。この場合、補助カッターの切削エッジは特に良好な切削作用を発現する。
【0012】
削岩ドリルの作動中には、補助カッターは回転方向で主カッターの周辺領域に対して先行させることができる。ドリル作業を促進するために、補助カッターは主カッターに先行する配置とするのが有利である。その際、ドリル屑を排出するための主排出溝を補助カッターに対応させて配置することにより、特に良好な排出特性が達成される。
【0013】
ドリル屑の排出特性を向上するため、主カッターの周辺領域とドリルヘッドの側壁内における補助カッターとの間で、ほぼ軸線方向に延在する溝を配置し、その溝をドリル屑のための排出溝に接続するのが好適である。
【0014】
主カッターにおける中心領域の両側に位置する半径方向部分を、ドリルシャフトの中心軸線に対して約90°の角度で配置する場合には、主カッターによる削岩ドリルのガイド機能を更に改善することが可能である。この配置を選択する場合、軸線方向前方に突出する主カッターの中心領域はドリルのセンタリング機能を発揮し、主カッターの周辺領域は材料切削に関与しない。
【0015】
シャフト軸線に対して平行に延在する端面の曲率をドリルシャフトの曲率に適合させる場合には、主カッターの周辺領域のガイド機能が更に向上する。主カッターにおいてシャフト外周から突出する周辺領域がドリル孔内壁と接触する際に、周辺領域の端面がドリル孔内壁に沿ってもっぱら摺動し、材料切削には実質的に関与しない。そのために、ドリル孔内におけるドリル工具の摩擦抵抗が低減する。
【0016】
【実施の形態】
以下、本発明を図示の好適な実施形態について更に具体的に説明する。
【0017】
図1に示した削岩ドリル1はドリルシャフト2を具える。ドリルシャフト2は、ドリル作業時に発生するドリル屑を排出するための排出溝3を有する。排出溝3はドリルシャフト2の外周面内で長手方向に沿ってつる巻き状、すなわちヘリカルに配置される。ドリルシャフト2の後端部は、回転衝撃ドリル装置(図示せず)の工具ホルダと係合させるための差し込み端部4として形成されている。そのドリル装置は、例えば、本出願人の製造販売に係る高性能ハンマードリル装置とすることができる。ドリルシャフト2は、全体が硬質金属から形成されたドリルヘッド5を前端部に具える。本実施形態において、硬質金属は、焼結又は溶射した炭化物、ケイ化物、ホウ化物又はそれらの合金とすることができる。ドリルヘッド5は、例えば溶着又は溶接によってドリルシャフト2に結合することができる。
【0018】
ドリルヘッド5は主カッター6と2個の補助カッター7,8とを具え、これらのカッターはドリルヘッド5の直径線D1,D2上に配置される。カッター6,7,8に対応する直径線D1,D2は、互いに90°未満の角度αで交差させる。その交差角度αは約10°〜50°とするのが有利である。図1及び図2に示すように、主カッター6には屋根状に成形された中心領域9と、その両側に位置する周辺領域10,11とを設ける。主カッター6の中心領域9は補助カッター7,8から軸線方向前方に突出させ、ドリル作業中にセンタリング端部として機能させる。ドリルヘッド5の直径線D1と平行に測った中心領域9の半径方向寸法lは、ドリルヘッド5の最大径の1/3以下とする。
【0019】
補助カッター7,8は、ドリルヘッドの直径の一部のみに亙って延在させ、その半径方向長さsはドリルヘッド5の最大直径の2/3以上とする。補助カッター7,8は、主カッター6の周辺領域10,11から少なくとも軸線方向前方に突出させる。補助カッター7,8は、図3に示すように、半径方向でも主カッター6の周辺領域10,11から突出させるのが有利である。補助カッター7,8に、それぞれ半径方向に延在する切削エッジ12,13を設ける。これらの切削エッジ12,13は、ドリルシャフト2の軸線に対して約90°の角度をなす配置とする。補助カッター7,8と主カッター6の周辺領域10,11との間に、ほぼ軸線方向に延在する溝14,15を設ける。溝14,15はドリルシャフト2にヘリカルに配置したドリル屑排出用の溝3に接続してドリル屑を排出可能とする。ドリルヘッド5の長手方向側面に断面形状が凹状またはV字状の空隙16,17を形成し、これらの空隙16,17を排出溝3に接続する。空隙16,17はドリル屑を排出するための主排出溝として機能させる。
【0020】
ドリル作業中には、補助カッター7,8が主カッター6の周辺領域10,11に先行して基盤材料と係合して主たる材料切削を分担する。その際、凹状又はV字状の主排出溝16,17は補助カッター7,8にそれぞれに対応してドリル屑の排出を行う。主カッター6の周辺領域10,11により、削岩ドリル1をドリル孔内で側方からガイドする。そのカイド特性を向上させると共にドリル孔内での摩擦抵抗を低減するため、周辺領域10,11の軸線方向における端面18,19を湾曲させて形成し、その曲率はドリルシャフト2の曲率にほぼ一致させる。
【0021】
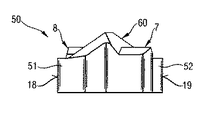
図4は、本発明による削岩ドリルのドリルヘッド50に係る他の実施形態を示している。この実施形態は、図1〜3に示したドリルヘッド5に殆ど一致している。相違点は、周辺領域51,52をドリルシャフトの中心軸線に対して約90°の角度で配置して、主カッター60の周辺領域51,52におけるガイド機能を更に改善したことである。
【図面の簡単な説明】
【図1】図1は、本発明による削岩ドリルの好適な実施形態を示す側面図である。
【図2】図2は、図1に示したドリルヘッドの斜視図である。
【図3】図3は、図1に示したドリルヘッドの平面図である。
【図4】図4は、本発明の他の実施形態による削岩ドリルにおけるドリルヘッドを示す側面図である。
【符号の説明】
1 削岩ドリル
2 ドリルシャフト
3 排出溝
4 差し込み端部
5 ドリルヘッド
6 主カッター
7,8 補助カッター
9 中心領域
10,11 周辺領域
12,13 カッターエッジ
14,15 溝
16,17 空隙
18,19 軸線方向の端面
Claims (9)
- ドリル屑を排出するための少なくとも1本の排出溝(3)が長手方向に沿ってヘリカルに配置されたドリルシャフト(2)と、該ドリルシャフト(2)の端部に結合された硬質金属製のドリルヘッド(5;50)とを具え、該ドリルヘッド(5;50)が、それぞれドリルヘッドの直径線(D1,D2)に沿って配置された主カッター(6;60)および少なくとも1個の補助カッター(7,8)を含む削岩ドリルにおいて、補助カッター(7,8)を、主カッター(6;60)の周辺領域(10,11;51,52)から軸線方向前方に突出させると共に、主カッター(6;60)の周辺領域(10,11;51,52)から半径方向外方にも突出させて配置したことを特徴とする削岩ドリル。
- 請求項1に記載の削岩ドリルにおいて、2個の補助カッター(7,8)をドリルヘッドの直径線(D2)に沿って配置し、該直径線(D2)は主カッター(6;60)に対応する直径線(D1)に対して90°未満の角度(α)で交差させることを特徴とする削岩ドリル。
- 請求項1又は2に記載の削岩ドリルにおいて、補助カッター(7,8)から軸線方向前方に突出する屋根状の中心領域(9)を主カッター(6;60)に設け、該中心領域(9)の半径方向寸法(l)をドリルヘッド(5;50)の最大径の1/3以下としたことを特徴とする削岩ドリル。
- 請求項1〜3の何れか一項に記載の削岩ドリルにおいて、補助カッター(7,8)の半径方向寸法(s)をドリルヘッド(5;50)の最大径の2/3以上としたことを特徴とする削岩ドリル。
- 請求項1〜4の何れか一項に記載の削岩ドリルにおいて、ドリルシャフト(2)の中心軸線に対して約90°の角度で半径方向に延在する切削エッジ(12,13)を補助カッター(7,8)に設けたことを特徴とする削岩ドリル。
- 請求項1〜5の何れか一項に記載の削岩ドリルにおいて、補助カッター(7,8)をドリルの作動回転方向(R)に関して主カッター(6;60)の周辺領域に先行する配置とし、補助カッター(7,8)にそれぞれドリル屑を排出するための主排出溝(16,17)を対応させて配置したことを特徴とする削岩ドリル。
- 請求項1〜6の何れか一項に記載の削岩ドリルにおいて、主カッター(6;60)と補助カッター(7,8)との間で、ほぼ軸線方向に延在する溝(14,15)をドリルヘッド(5;50)の側壁に設け、該溝はドリルシャフト(2)にヘリカルに配置した前記排出溝(3)に接続することを特徴とする削岩ドリル。
- 請求項1〜7の何れか一項に記載の削岩ドリルにおいて、主カッター(60)の中心領域(9)の両側に位置する周辺領域(51,52)を、ドリルシャフト(2)の中心軸線に対して約90°の角度をなす配置としたことを特徴とする削岩ドリル。
- 請求項1〜8の何れか一項に記載の削岩ドリルにおいて、主カッター(6;60)の周辺領域(10,11;51,52)でドリルシャフト(2)の中心軸線に対して平行に延在する端面(18,19)に、ドリルシャフト(2)の曲率に対応する曲率を持たせたことを特徴とする削岩ドリル。
Applications Claiming Priority (2)
| Application Number | Priority Date | Filing Date | Title |
|---|---|---|---|
| DE19724373:8 | 1997-06-10 | ||
| DE19724373A DE19724373A1 (de) | 1997-06-10 | 1997-06-10 | Gesteinsbohrer |
Publications (2)
| Publication Number | Publication Date |
|---|---|
| JPH1193558A JPH1193558A (ja) | 1999-04-06 |
| JP4046851B2 true JP4046851B2 (ja) | 2008-02-13 |
Family
ID=7832000
Family Applications (1)
| Application Number | Title | Priority Date | Filing Date |
|---|---|---|---|
| JP16235698A Expired - Fee Related JP4046851B2 (ja) | 1997-06-10 | 1998-06-10 | 削岩ドリル |
Country Status (5)
| Country | Link |
|---|---|
| US (1) | US6129162A (ja) |
| EP (1) | EP0884448B1 (ja) |
| JP (1) | JP4046851B2 (ja) |
| DE (2) | DE19724373A1 (ja) |
| DK (1) | DK0884448T3 (ja) |
Families Citing this family (34)
| Publication number | Priority date | Publication date | Assignee | Title |
|---|---|---|---|---|
| DE19916975A1 (de) * | 1999-04-15 | 2000-10-19 | Hilti Ag | Gesteinsbohrer |
| DE19942985A1 (de) * | 1999-09-09 | 2001-03-15 | Hilti Ag | Bohrwerkzeug |
| DE19964272C2 (de) * | 1999-09-16 | 2003-05-28 | Heller Dinklage Gmbh Geb | Bohrer, insbesondere Gesteinsbohrer |
| US6374931B1 (en) * | 1999-11-03 | 2002-04-23 | Relton Corporation | Multiple cutter rotary hammer bit |
| DE10006936A1 (de) * | 2000-02-16 | 2001-08-23 | Hilti Ag | Bohrwerkzeug für Gestein |
| DE10006932A1 (de) * | 2000-02-16 | 2001-08-23 | Hilti Ag | Bohrwerkzeug für Gestein |
| DE10009732A1 (de) * | 2000-03-02 | 2001-09-06 | Hawera Probst Gmbh | Gesteinsbohrer |
| DE10024433A1 (de) * | 2000-05-19 | 2001-11-29 | Hawera Probst Gmbh | Gesteinsbohrer |
| DE10117262A1 (de) * | 2001-01-17 | 2002-07-18 | Hilti Ag | Gesteinsbohrer |
| GB2393681A (en) * | 2002-10-03 | 2004-04-07 | Black & Decker Inc | Masonry drilling tool |
| US6996247B2 (en) * | 2002-11-05 | 2006-02-07 | Step Technologies, Inc. | Push-push multiple magnetic air gap transducer |
| EP1431511B1 (de) | 2002-12-19 | 2006-08-30 | Robert Bosch Gmbh | Gesteinsbohrer |
| US7540696B1 (en) * | 2004-01-15 | 2009-06-02 | Century Tool & Design, Inc. | Spot drilling insert |
| DE102004028099A1 (de) * | 2004-06-09 | 2005-12-29 | Hilti Ag | Bohrer |
| DK1875032T3 (da) * | 2005-04-28 | 2011-01-10 | Irwin Ind Tool Company As | Boreværktøj |
| DE102006020538A1 (de) | 2006-05-03 | 2007-11-15 | Irwin Industrial Tools Gmbh | Bohrkopf für Bohrwerkzeug und Bohrwerkzeug |
| DE102006000221A1 (de) * | 2006-05-10 | 2007-11-15 | Hilti Ag | Hartstoffbohrkopf |
| JP2008062620A (ja) * | 2006-09-11 | 2008-03-21 | Miyanaga:Kk | ドリルビット |
| USD557290S1 (en) * | 2006-10-06 | 2007-12-11 | Douglas Melegari | Dry compaction bit for earth boring |
| DE102006035443B3 (de) * | 2006-11-15 | 2008-02-21 | Hilti Ag | Bohrwerkzeug mit Hartstoffkopf |
| US20080166194A1 (en) * | 2007-01-09 | 2008-07-10 | Durfee Laverne R | Drill bit |
| US20100003094A1 (en) * | 2007-01-09 | 2010-01-07 | Irwin Industrial Tool Company | Drill bit |
| US20090148250A1 (en) * | 2007-12-05 | 2009-06-11 | Wayne Chappell | Drill Bit |
| US8070397B2 (en) * | 2008-02-19 | 2011-12-06 | Irwin Industrial Tool Company | Self feed bit |
| DE102008043999A1 (de) * | 2008-11-24 | 2010-05-27 | Robert Bosch Gmbh | Bohrwerkzeug insbesondere für Bohr- und/oder Meißelgeräte |
| US7861807B2 (en) | 2008-12-03 | 2011-01-04 | Black & Decker Inc. | Drill bit including one piece cutting head |
| DE102008062298B4 (de) | 2008-12-15 | 2025-05-15 | Drebo Werkzeugfabrik Gmbh | Bohrkörper |
| DE102008054869B4 (de) | 2008-12-18 | 2010-09-02 | Hilti Aktiengesellschaft | Bohrkopf für Gesteinsbohrer |
| US20100307640A1 (en) * | 2009-06-03 | 2010-12-09 | Durfee La Verne R | Cutting edge and cutting tool |
| AT13738U1 (de) * | 2013-03-05 | 2014-07-15 | Dywidag Systems Int Gmbh | Bohrkrone |
| CN104251121A (zh) * | 2014-09-18 | 2014-12-31 | 武汉地大长江钻头有限公司 | 适用于石油勘探井可形成粗颗粒岩屑的pdc钻头 |
| DE102015220634A1 (de) * | 2015-10-22 | 2017-06-29 | Robert Bosch Gmbh | Bohrwerkzeug |
| EP3336302A1 (de) * | 2016-12-16 | 2018-06-20 | HILTI Aktiengesellschaft | Bohrer |
| CN116905976A (zh) * | 2023-07-27 | 2023-10-20 | 东北大学 | 一种负压运移钻屑的钻具及其使用方法 |
Family Cites Families (7)
| Publication number | Priority date | Publication date | Assignee | Title |
|---|---|---|---|---|
| DE3707798A1 (de) * | 1987-03-11 | 1988-09-22 | Hawera Probst Kg Hartmetall | Gesteinsbohrer |
| DE3820695C2 (de) * | 1988-06-18 | 1996-07-25 | Hawera Probst Kg Hartmetall | Gesteinsbohrer |
| DE4301708C2 (de) * | 1993-01-22 | 2002-10-31 | Drebo Werkzeugfab Gmbh | Gesteinsbohrer |
| DE4306981A1 (de) * | 1993-03-05 | 1994-09-08 | Keil Werkzeugfabrik Karl Eisch | Bohrer für Gestein oder dergleichen |
| DE4339245A1 (de) | 1993-11-18 | 1995-05-24 | Hilti Ag | Spiralbohrer |
| DE4407119A1 (de) * | 1993-12-11 | 1995-06-14 | Hawera Probst Kg Hartmetall | Gesteinsbohrer |
| DE19545647A1 (de) * | 1995-12-07 | 1997-06-12 | Hilti Ag | Drehschlag-Wendelbohrer |
-
1997
- 1997-06-10 DE DE19724373A patent/DE19724373A1/de not_active Withdrawn
-
1998
- 1998-05-07 DE DE1998512348 patent/DE59812348D1/de not_active Expired - Lifetime
- 1998-05-07 EP EP98810413A patent/EP0884448B1/de not_active Expired - Lifetime
- 1998-05-07 DK DK98810413T patent/DK0884448T3/da active
- 1998-06-10 JP JP16235698A patent/JP4046851B2/ja not_active Expired - Fee Related
- 1998-06-11 US US09/096,415 patent/US6129162A/en not_active Expired - Lifetime
Also Published As
| Publication number | Publication date |
|---|---|
| DK0884448T3 (da) | 2005-04-11 |
| US6129162A (en) | 2000-10-10 |
| EP0884448A3 (de) | 2002-03-27 |
| EP0884448B1 (de) | 2004-12-08 |
| DE19724373A1 (de) | 1998-12-17 |
| EP0884448A2 (de) | 1998-12-16 |
| JPH1193558A (ja) | 1999-04-06 |
| DE59812348D1 (de) | 2005-01-13 |
Similar Documents
| Publication | Publication Date | Title |
|---|---|---|
| JP4046851B2 (ja) | 削岩ドリル | |
| JP4728341B2 (ja) | チゼルホルダ | |
| JP3819500B2 (ja) | 回転打撃螺旋ドリル | |
| CN100525971C (zh) | 钻孔刀具和可转换的钻刃 | |
| JP3907757B2 (ja) | 回転衝撃螺旋ドリル | |
| JP4195123B2 (ja) | ドリル工具 | |
| JP4627838B2 (ja) | 掘削ドリル | |
| EP1506830B1 (en) | A cutting plate for a drill bit | |
| JP3739048B2 (ja) | ドリルビット | |
| JPH04228796A (ja) | 削岩ドリル | |
| JPH04226875A (ja) | たがね工具 | |
| JP4189380B2 (ja) | ドリルビット | |
| JP3921089B2 (ja) | 削岩ドリル | |
| AU2004222834B2 (en) | Rotary hammerdrill bit | |
| CN101132874B (zh) | 钻头 | |
| JP2001121529A (ja) | ドリル工具 | |
| JP3332842B2 (ja) | 掘削用のカッタリング及び掘削用のディスクカッタ | |
| KR100592543B1 (ko) | 드릴 비트 | |
| JP2001179518A (ja) | ドリルビット | |
| JPH0732622Y2 (ja) | 二重管式掘削工具 | |
| JPS6137451Y2 (ja) | ||
| JP2533255Y2 (ja) | ドリル | |
| JPS6327923Y2 (ja) | ||
| JP3331170B2 (ja) | 掘削用のカッタリング及び掘削用のディスクカッタ | |
| JP3485968B2 (ja) | 掘削用ビット |
Legal Events
| Date | Code | Title | Description |
|---|---|---|---|
| A621 | Written request for application examination |
Free format text: JAPANESE INTERMEDIATE CODE: A621 Effective date: 20050609 |
|
| A131 | Notification of reasons for refusal |
Free format text: JAPANESE INTERMEDIATE CODE: A131 Effective date: 20070619 |
|
| A521 | Request for written amendment filed |
Free format text: JAPANESE INTERMEDIATE CODE: A523 Effective date: 20070919 |
|
| RD03 | Notification of appointment of power of attorney |
Free format text: JAPANESE INTERMEDIATE CODE: A7423 Effective date: 20070919 |
|
| TRDD | Decision of grant or rejection written | ||
| A01 | Written decision to grant a patent or to grant a registration (utility model) |
Free format text: JAPANESE INTERMEDIATE CODE: A01 Effective date: 20071113 |
|
| A61 | First payment of annual fees (during grant procedure) |
Free format text: JAPANESE INTERMEDIATE CODE: A61 Effective date: 20071121 |
|
| FPAY | Renewal fee payment (event date is renewal date of database) |
Free format text: PAYMENT UNTIL: 20101130 Year of fee payment: 3 |
|
| R150 | Certificate of patent or registration of utility model |
Free format text: JAPANESE INTERMEDIATE CODE: R150 |
|
| FPAY | Renewal fee payment (event date is renewal date of database) |
Free format text: PAYMENT UNTIL: 20111130 Year of fee payment: 4 |
|
| FPAY | Renewal fee payment (event date is renewal date of database) |
Free format text: PAYMENT UNTIL: 20111130 Year of fee payment: 4 |
|
| FPAY | Renewal fee payment (event date is renewal date of database) |
Free format text: PAYMENT UNTIL: 20121130 Year of fee payment: 5 |
|
| FPAY | Renewal fee payment (event date is renewal date of database) |
Free format text: PAYMENT UNTIL: 20121130 Year of fee payment: 5 |
|
| FPAY | Renewal fee payment (event date is renewal date of database) |
Free format text: PAYMENT UNTIL: 20131130 Year of fee payment: 6 |
|
| R250 | Receipt of annual fees |
Free format text: JAPANESE INTERMEDIATE CODE: R250 |
|
| R250 | Receipt of annual fees |
Free format text: JAPANESE INTERMEDIATE CODE: R250 |
|
| LAPS | Cancellation because of no payment of annual fees |