JP4042002B2 - 包装機械 - Google Patents

包装機械 Download PDF

Info

Publication number
JP4042002B2
JP4042002B2 JP25491197A JP25491197A JP4042002B2 JP 4042002 B2 JP4042002 B2 JP 4042002B2 JP 25491197 A JP25491197 A JP 25491197A JP 25491197 A JP25491197 A JP 25491197A JP 4042002 B2 JP4042002 B2 JP 4042002B2
Authority
JP
Japan
Prior art keywords
filling
clean
clean booth
nozzle
booth
Prior art date
Legal status (The legal status is an assumption and is not a legal conclusion. Google has not performed a legal analysis and makes no representation as to the accuracy of the status listed.)
Expired - Fee Related
Application number
JP25491197A
Other languages
English (en)
Other versions
JPH1191720A (ja
Inventor
康次 藤川
孝 荒尾
道雄 植田
Current Assignee (The listed assignees may be inaccurate. Google has not performed a legal analysis and makes no representation or warranty as to the accuracy of the list.)
Shikoku Kakoki Co Ltd
Original Assignee
Shikoku Kakoki Co Ltd
Priority date (The priority date is an assumption and is not a legal conclusion. Google has not performed a legal analysis and makes no representation as to the accuracy of the date listed.)
Filing date
Publication date
Application filed by Shikoku Kakoki Co Ltd filed Critical Shikoku Kakoki Co Ltd
Priority to JP25491197A priority Critical patent/JP4042002B2/ja
Priority to EP19980202856 priority patent/EP0903297B1/en
Priority to DK98202856T priority patent/DK0903297T3/da
Priority to DE69840925T priority patent/DE69840925D1/de
Publication of JPH1191720A publication Critical patent/JPH1191720A/ja
Application granted granted Critical
Publication of JP4042002B2 publication Critical patent/JP4042002B2/ja
Anticipated expiration legal-status Critical
Expired - Fee Related legal-status Critical Current

Links

Images

Classifications

    • BPERFORMING OPERATIONS; TRANSPORTING
    • B65CONVEYING; PACKING; STORING; HANDLING THIN OR FILAMENTARY MATERIAL
    • B65BMACHINES, APPARATUS OR DEVICES FOR, OR METHODS OF, PACKAGING ARTICLES OR MATERIALS; UNPACKING
    • B65B55/00Preserving, protecting or purifying packages or package contents in association with packaging
    • B65B55/02Sterilising, e.g. of complete packages
    • B65B55/025Packaging in aseptic tunnels

Landscapes

  • Engineering & Computer Science (AREA)
  • Mechanical Engineering (AREA)
  • Vacuum Packaging (AREA)
  • Basic Packing Technique (AREA)

Description

【0001】
【発明の属する技術分野】
この発明は、包装機械、詳しくは、クリーンな環境下で、容器に内容物を充填する等の包装作業をなしうる包装機械に関する。
【0002】
【従来の技術】
この種の包装機械としては、ベッド上面を被覆するように下方開放箱型クリーンブースが配置され、クリーンブース頂壁にクリーンエア吹出口が下向きに設けられており、ベッド上面とクリーンブース下端の間にはエア排出用間隙が形成されており、クリーンブース内に容器搬送コンベヤが設置され、容器搬送経路にそって所要の包装作業をなしうる装置群が配置されており、装置群が、充填装置を有しており、充填装置が、充填ノズルと、充填ノズルに充填液を供給する充填装置本体と、充填ノズルと充填装置本体を接続している接続パイプを備えており、充填ノズル、充填装置本体および接続パイプが、いずれもクリーンブース内に配置されているものが知られている。
【0003】
【発明が解決しようとする課題】
上記包装機械では、充填装置の全体がクリーンブース内にあるため、充填装置周辺部のクリーンエアの流れが充填装置によって乱され、これにより、クリーンブース内に外気が進入し、クリーンブース内が汚染される恐れがあった。外気の進入を防止するためには、クリーンブースに供給するクリーンエアの風量を増加させらればよいが、これは経済的ではない。
【0004】
この発明の目的は、クリーンブース内を必要最小限のエアー量で理想的な陽圧下に保ち、クリーンな環境下で容器の製造をすることができる包装機械を提供することにある。
【0005】
【課題を解決するための手段】
この発明による包装機械は、ベッド上面に下方開放箱型クリーンブースが配置され、クリーンブース頂壁にクリーンエア吹出口が下向きに設けられており、ベッド上面とクリーンブース下端の間にはエア排出用間隙が形成されており、クリーンブース内に、前向きにのびた搬送経路を有する容器搬送コンベヤが設置され、容器搬送経路にそって所要の包装作業をなしうる装置群が配置されており、装置群が、充填装置を有している包装機械において、充填装置が、クリーンブース内における容器搬送経路上方に配置されている充填ノズルと、クリーンブース外に配置されかつ充填ノズルに充填液を供給する充填装置本体と、クリーンブースの内外にわたって配置されかつ充填ノズルと充填装置本体を接続している接続パイプを備えていることを特徴とするものである。
【0006】
この発明による包装機械では、充填装置が、クリーンブース内における容器搬送経路上方に配置されている充填ノズルと、クリーンブース外に配置されかつ充填ノズルに充填液を供給する充填装置本体と、クリーンブースの内外にわたって配置されかつ充填ノズルと充填装置本体を接続している接続パイプを備えているから、クリーンブース内には充填装置の充填ノズルがあるだけである。クリーンブースの天井から下向きに吹き出されたクリーンエアーは、充填装置本体等によってその流れが乱されることなく、充填ノズルの周囲を層流となって流れる。したがって、クリーンブース内に外気が進入する心配が無く、クリーンな環境下で容器に充填作業をすることができる。
【0007】
クリーンブース内において、充填ノズルおよびその周辺部を仕切壁によって取り囲み、充填チャンバを形成するようにしてもよい。
【0008】
クリーンエア吹出口から吹出されるクリーンエアによってクリーンブースまたは充填チャンバ内が陽圧に保持しうるようになされていることが好ましい。
【0009】
充填装置本体が、充填液タンクと、タンクから充填液を一定量ずつ流入しかつ流入した充填液を接続パイプを通じて充填ノズルに流出する定量シリンダを備えているタイプのものであってもよい。
【0010】
【発明の実施の形態】
この発明の実施の形態を図面を参照してつぎに説明する。
【0011】
以下の説明において、前後とは、図1の左側を前、これと反対側を後といい、左右とは、前に向かって、その左右の側を左右というものとする。
【0012】
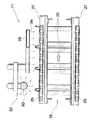
図1を参照すると、包装機械は、前後方向に長い方形板状脚11付きベッド12と、ベッド12の上面を被覆するように配置されている下方開放箱型クリーンブース13とを備えている。
【0013】
クリーンブース13内の後部高さの中程には、放射状マンドレル14を有し、マンドレル14がこれと同数の処理ステーションに順次停止させられるように配置されている間欠駆動ロータ15が配置されている。ロータ15の下方から前に向かって間欠駆動容器搬送コンベヤ16が配置されている。マンドレル14の移動経路にそう所要処理ステーションに第1装置群17が配置されている。コンベヤ16の搬送経路にそって第2装置群18が配置されている。
【0014】
図示しないが、ロータ15は、4つの左右並列状マンドレル輪を有している。容器搬送コンベヤ16は、2つの左右並列状容器搬送経路を有している。第1装置群17は、マンドレ輪の数に対応して、同一構成要素よりなる4つずつの構成ユニットを有している。第2装置群18は、容器搬送経路の数に対応して、同一構成要素よりなる2つずつの構成ユニットを有している。
【0015】
コンベヤ16の左右の搬送経路は、同一構造のものである。コンベヤ16の各搬送経路は、図3に示すように、左右一対ずつの垂直前駆動軸21および後従動軸22と、左右それぞれの側において前駆動軸21および後従動軸22に上下一対ずつ取付けられている左右の駆動スプロケット23および従動スプロケット24と、左右それぞれの側において上下同じ側の駆動スプロケット23および従動スプロケット24にそれぞれ巻き掛けられている左右のエンドレスチェーン25と、左右それぞれの側において上下のチェーン25に渡し止められている複数の横断面L字垂直片よりなるホルダプレート26と、チェーン25の所要部分がそわされている樹脂製ガイド27(図4参照)と、左右のチェーン25間下方に配置されている水平ガイドレール28とを備えている。
【0016】
平面より見て、左チェーン25が反時計方向に駆動され、右チェーン25が時計方向に駆動される。左右のチェーン25の相対して前向きに移動する部分が送り側経路を形成する。左右の送り側経路を移動するチェーン25の2つずつのホルダプレート26が容器Cの四隅にあてがわれるとともに、同容器Cの底がガイドレール28で受けられた状態で容器Cが前向きに搬送されるようになっている。
【0017】
第1装置群17の各ユニットによって、マンドレル14に角筒状ブランクがはめ被せられ、はめ被せられたブランクの容器底部となる端部が平坦に折畳まれて有底角筒状容器Cとされる。第1装置群17によって一度に形成される容器の数は、4つである。4つの容器はコンベヤ16の左右の容器搬送経路に2つずつ渡される。各容器搬送経路では1ピッチの駆動で容器が2つずつ搬送されていく。第2装置群18の各ユニットによって、コンベヤ16で搬送される容器Cに内容物が充填され、内容物を充填した容器Cの頂部が切妻屋根型に折畳まれて閉じられ、密封容器Cが完成する。
【0018】
第2装置群18は、左右の充填装置31を有している。図2に示すように、左右の充填装置31は、左右の向きは異にするが、同一構造のものである。すなわち、各充填装置31は、容器搬送ピッチに対応して、前後2つずつの充填ノズル41、充填装置本体42および接続パイプ43を備えている(図1参照)。
【0019】
ベッド12の上面には、左右の容器搬送経路の間に通されたスタンド44が設けられている。スタンド44の上端には左右反対方向にのびた左右のアーム45が設けられている。両アーム45の先端は、それぞれ左右の容器搬送経路の上方に達している。
【0020】
充填ノズル41は、垂直筒状のもので、左右対応するがわのアームの先端に2つずつ並んで取付けられており、この状態で、クリーンブース13内において容器搬送経路の真上に位置させられている。
【0021】
充填装置本体42は、クリーンブース13外に配置されかつ充填液タンク51および定量シリンダ52を備えている。定量シリンダ52は、図示しないピストンを内蔵し、ピストンの作動により、タンク51から充填液を一定量ずつ流入しかつ流入した充填液を接続パイプ43を通じて充填ノズル41に流出する。
【0022】
接続パイプ43は、クリーンブース13の側壁を貫通して充填ノズル41および定量シリンダ52に渡されている。
【0023】
左右の充填ノズルを挟んでその上流側および下流側に、前後の垂直板状仕切壁61,62が設けられている。これにより、クリーンブース13内における両仕切壁61,62間に充填チャンバ64が形成されている。両仕切壁61,62の下縁部には、コンベヤ16および容器Cとの干渉を避けるための切欠64,65が形成されている。
【0024】
図3に、コンベヤ殺菌装置71が示されている。コンベヤ殺菌装置71は、左右のチェーンの送り側経路における後仕切壁62より後方に配置されている第1殺菌液ノズル81と、同戻り側経路における前仕切壁61より前方に配置されている第2殺菌液ノズル82とを備えている。第1殺菌液ノズル81は、図4に詳しく示すように、吐出口91を同移動経路に上方より臨ませている逆U字状滴下パイプ92よりなる。第2殺菌液ノズル82は、図5に詳しく示すように、同移動経路上方に下向きに配置されているスプレイボール93と、これの後方に配置されかつ多数の下向き吐出口94が1列に並んであけられている水平滴下パイプ95とよりなる。
【0025】
殺菌液としては、電解酸性水が用いられている。電解酸性水は、強い殺菌力を発揮する。電解酸性水によってコンベヤ16が充填チャンバ63に導入される直前に殺菌されるため、コンベヤ16が外気と接触し、これによりコンベヤ16に付着した微生物等によって汚染される心配がない。また、電解酸性水は、人体や機械の金属部分に悪い影響を与える心配がない。さらに、電解酸性水が潤滑水としての作用をなすため、チェーン25およびホルダプレート26と、ガイド27との接触部分の滑り抵抗が良くなり、コンベヤ駆動抵抗が減少され部品寿命が延長される。
【0026】
再び図2を参照すると、充填チャンバ63の天井にあたる部分にはエアフィルタ101 が装備されている。エアフィルタ101 は、下方開放箱型ケーシング102 を有している。ケーシング102 の頂壁にはエアダクト103 が接続されている。ケーシング103 の下端開口は吹出口104 となっている。吹出口104 の下方には多孔板製整流板105 が設けられている。
【0027】
クリーンブース13の左右両側壁下端とベッド12上面両縁間には隙間がそれぞれ形成されており、これらの隙間を通じてエアーが流出するようになっている。
【0028】
フィルタ101 から吹き出されたクリーンエアーは、整流板105 を通過させられることにより、充填チャンバ63内の全体で流速の均一な層流となって、充填チャンバ63内を下向きに流れる。充填チャンバ63内には充填装置31の充填ノズル41および接続パイプ43の一部があるだけであるから、クリンエアーの流れが乱されることなく、充填ノズル41の周囲をスムースに流れる。
【0029】
エアフィルタ101 から吹出されるクリーンエアーの風量と、ベッド12とクリンブース13の間から排出される風量のバランスを適切に設定することにより、充填チャンバ63内は陽圧に保たれる。クリーンエアーの流れが乱され無いことにより、充填チャンバ63内の圧力にも変動が生じること無く、充填チャンバ63内から外に一定量ずつクリンエアーが排出されていくため、外気が充填チャンバ63内に逆流する心配が無い。
【0030】
【発明の効果】
この発明によれば、クリーンブース内を必要最小限のエアー量で理想的な陽圧下に保つことができ、クリーンな環境下で容器の製造をすることができる。
【図面の簡単な説明】
【図1】この発明による包装機械の側面図である。
【図2】同包装機械の充填装置周辺部の横断面図である。
【図3】同包装機械のコンベヤおよびこれの殺菌装置の平面図である。
【図4】図3のIVーIV線にそう断面図である。
【図5】図3のVーV線にそう断面図である。
【符号の説明】
12 ベッド
13 クリーンブース
16 コンベヤ
18 装置群
31 充填装置
41 充填ノズル
42 装置本体
43 接続パイプ
61 前仕切壁
62 後仕切壁
63 接続パイプ
104 吹出口

Claims (5)

  1. ベッド上面に下方開放箱型クリーンブースが配置され、クリーンブース頂壁にクリーンエア吹出口が下向きに設けられており、ベッド上面とクリーンブース下端の間にはエア排出用間隙が形成されており、クリーンブース内に、前向きにのびた搬送経路を有する容器搬送コンベヤが設置され、容器搬送経路にそって所要の包装作業をなしうる装置群が配置されており、装置群が、充填装置を有している包装機械において、
    充填装置が、クリーンブース内における容器搬送経路上方に配置されている充填ノズルと、クリーンブース外に配置されかつ充填ノズルに充填液を供給する充填装置本体と、クリーンブースの内外にわたって配置されかつ充填ノズルと充填装置本体を接続している接続パイプを備えており、
    クリーンエア吹出口が、充填ノズルの上方に位置させられ、クリーンエア吹出口に多孔板製整流板が被覆され、整流板を通過させられたエアが充填ノズルの周囲を層流となって下向きに流れるようになされている、
    ことを特徴とする包装機械。
  2. ベッド上面に下方開放箱型クリーンブースが配置され、クリーンブース頂壁にクリーンエア吹出口が下向きに設けられており、ベッド上面とクリーンブース下端の間にはエア排出用間隙が形成されており、クリーンブース内に、前向きにのびた搬送経路を有する容器搬送コンベヤが設置され、容器搬送経路にそって所要の包装作業をなしうる装置群が配置されており、装置群が、充填装置を有している包装機械において、
    容器搬送経路と交差させられた前および/または後仕切壁によってクリーンブース内に充填チャンバが形成され、
    充填装置が、充填チャンバ内における容器搬送経路上方に配置されている充填ノズルと、充填チャンバ外に配置されかつ充填ノズルに充填液を供給する充填装置本体と、充填チャンバの内外にわたって配置されかつ充填ノズルと充填装置本体を接続している接続パイプを備えており、
    クリーンエア吹出口が、充填ノズルの上方に位置させられ、クリーンエア吹出口に多孔板製整流板が被覆され、整流板を通過させられたエアが充填ノズルの周囲を層流となって下向きに流れるようになされている、
    ことを特徴とする包装機械。
  3. クリーンエア吹出口から吹出されるクリーンエアによってクリーンブース内が陽圧に保持しうるようになされている請求項1記載の包装機械。
  4. クリーンエア吹出口から吹出されるクリーンエアによって充填チャンバ内が陽圧に保持しうるようになされている請求項2記載の包装機械。
  5. 充填装置本体が、充填液タンクと、タンクから充填液を一定量ずつ流入しかつ流入した充填液を接続パイプを通じて充填ノズルに流出する定量シリンダを備えている請求項1〜4のいずれか1つに記載の包装機械。
JP25491197A 1997-09-19 1997-09-19 包装機械 Expired - Fee Related JP4042002B2 (ja)

Priority Applications (4)

Application Number Priority Date Filing Date Title
JP25491197A JP4042002B2 (ja) 1997-09-19 1997-09-19 包装機械
EP19980202856 EP0903297B1 (en) 1997-09-19 1998-08-27 Clean air booth for a packaging machine
DK98202856T DK0903297T3 (da) 1997-09-19 1998-08-27 Renluftsbås til en emballeringsmaskine
DE69840925T DE69840925D1 (de) 1997-09-19 1998-08-27 Reinlufthaube für eine Verpackungsmaschine

Applications Claiming Priority (1)

Application Number Priority Date Filing Date Title
JP25491197A JP4042002B2 (ja) 1997-09-19 1997-09-19 包装機械

Publications (2)

Publication Number Publication Date
JPH1191720A JPH1191720A (ja) 1999-04-06
JP4042002B2 true JP4042002B2 (ja) 2008-02-06

Family

ID=17271570

Family Applications (1)

Application Number Title Priority Date Filing Date
JP25491197A Expired - Fee Related JP4042002B2 (ja) 1997-09-19 1997-09-19 包装機械

Country Status (4)

Country Link
EP (1) EP0903297B1 (ja)
JP (1) JP4042002B2 (ja)
DE (1) DE69840925D1 (ja)
DK (1) DK0903297T3 (ja)

Families Citing this family (14)

* Cited by examiner, † Cited by third party
Publication number Priority date Publication date Assignee Title
DE19947786A1 (de) 1999-10-05 2001-04-19 Bosch Gmbh Robert Verpackungsmaschine, insbesondere zum Abfüllen und Verschliessen von flüssigen Pharmazeutika enthaltenden Behältnissen
JP2001240236A (ja) * 2000-03-01 2001-09-04 Shikoku Kakoki Co Ltd コンベヤ
JP4484192B2 (ja) * 2002-09-20 2010-06-16 日本テトラパック株式会社 食品用包装充填機
FR2882341B1 (fr) * 2005-02-23 2009-11-20 Serac Group Installation de conditionnement aseptique a zones tampon aseptiques
JP4916166B2 (ja) * 2005-12-12 2012-04-11 出光興産株式会社 充填ノズル、樹脂ペレット充填システム及び樹脂ペレット充填方法
FR2923474B1 (fr) * 2007-11-13 2013-08-16 Sidel Participations Unite de remplissage de recipients comportant un isolateur, notamment pour une installation de production
BRPI1011893A2 (pt) 2009-07-03 2016-04-12 Tetra Laval Holdings & Finance método para manter uma barreira de fluxo de gás entre dois volumes de um canal em uma máquina de enchimento, e, dispositivo para manutenção de uma barreira de fluxo de gás entre dois volumes de um canal em uma máquina de enchimento
DE102015122876A1 (de) * 2015-12-28 2017-06-29 Sig Technology Ag Vorrichtung und Verfahren zum Sterilisieren bei der Abfüllung vorzugsweise flüssiger Lebensmittel in Packungsbehälter
DE102016108281A1 (de) * 2016-05-04 2017-11-09 Grunwald GmbH Abfüllvorrichtung mit Gehäuse und Strömungsvorrichtung
CN114502473B (zh) * 2019-10-04 2024-08-20 利乐拉瓦尔集团及财务有限公司 具有卫生腔室的填充机
JP7737731B2 (ja) * 2021-02-22 2025-09-11 四国化工機株式会社 充填包装機
JP7659180B2 (ja) * 2021-05-31 2025-04-09 澁谷工業株式会社 処理システム
EP4335763A1 (en) * 2022-09-07 2024-03-13 Elopak Asa Filling machine comprising airflow system
EP4335761A1 (en) * 2022-09-07 2024-03-13 Elopak Asa Filling machine comprising airflow system

Family Cites Families (2)

* Cited by examiner, † Cited by third party
Publication number Priority date Publication date Assignee Title
US3828833A (en) * 1969-05-08 1974-08-13 Heinz Co H J Aseptic container filling apparatus
DE3607322A1 (de) * 1986-03-06 1987-09-10 Bosch Gmbh Robert Vorrichtung zum keimfreien verpacken

Also Published As

Publication number Publication date
DK0903297T3 (da) 2009-09-14
EP0903297B1 (en) 2009-06-24
JPH1191720A (ja) 1999-04-06
EP0903297A1 (en) 1999-03-24
DE69840925D1 (de) 2009-08-06

Similar Documents

Publication Publication Date Title
JP4042002B2 (ja) 包装機械
US8728249B2 (en) Packing machine
US4693052A (en) Apparatus for aseptic packaging
US7162848B2 (en) Filling device with housing having a directed gas supply
EP0261745A2 (en) Apparatus for sterilizing containers
US4590734A (en) Packaging machine
CA2265959A1 (en) Method and device for sterilizing and filling packing containers
JPS6133271A (ja) 基材スプレ被覆システム
JP7737731B2 (ja) 充填包装機
EP0533353A2 (en) Flexible, compact vial washer
US6041834A (en) Liquid filling device
JP4651775B2 (ja) ストリップ包装材料を殺菌するユニット
EP0162968B1 (en) Packaging machine
JP3899812B2 (ja) アセプティック充填缶詰の製造方法と装置
US6561203B2 (en) Container cleaning, draining and drying apparatus
KR20110000218U (ko) 제품용기 청소장치
JPH0114097B2 (ja)
CN218231826U (zh) 一种复合季铵盐清洗消毒剂质检及包装装置
CN214605372U (zh) 一种带有保护结构的吸塑机用自动送料装置
CN211871353U (zh) 一种保健乳品输送装置
JPH03124527A (ja) 充填包装機用洗浄方法及び装置
JPS6241932B2 (ja)
JPH07187150A (ja) 包装機械
SE505487C2 (sv) Industritvättmaskin
JPS627047B2 (ja)

Legal Events

Date Code Title Description
A621 Written request for application examination

Free format text: JAPANESE INTERMEDIATE CODE: A621

Effective date: 20040901

A977 Report on retrieval

Free format text: JAPANESE INTERMEDIATE CODE: A971007

Effective date: 20061226

A131 Notification of reasons for refusal

Free format text: JAPANESE INTERMEDIATE CODE: A131

Effective date: 20070116

A521 Written amendment

Free format text: JAPANESE INTERMEDIATE CODE: A523

Effective date: 20070313

TRDD Decision of grant or rejection written
A01 Written decision to grant a patent or to grant a registration (utility model)

Free format text: JAPANESE INTERMEDIATE CODE: A01

Effective date: 20071002

A61 First payment of annual fees (during grant procedure)

Free format text: JAPANESE INTERMEDIATE CODE: A61

Effective date: 20071031

R150 Certificate of patent or registration of utility model

Free format text: JAPANESE INTERMEDIATE CODE: R150

FPAY Renewal fee payment (event date is renewal date of database)

Free format text: PAYMENT UNTIL: 20101122

Year of fee payment: 3

FPAY Renewal fee payment (event date is renewal date of database)

Free format text: PAYMENT UNTIL: 20131122

Year of fee payment: 6

R250 Receipt of annual fees

Free format text: JAPANESE INTERMEDIATE CODE: R250

LAPS Cancellation because of no payment of annual fees