JP4032425B2 - 光ヘッド装置 - Google Patents

光ヘッド装置 Download PDF

Info

Publication number
JP4032425B2
JP4032425B2 JP2003381980A JP2003381980A JP4032425B2 JP 4032425 B2 JP4032425 B2 JP 4032425B2 JP 2003381980 A JP2003381980 A JP 2003381980A JP 2003381980 A JP2003381980 A JP 2003381980A JP 4032425 B2 JP4032425 B2 JP 4032425B2
Authority
JP
Japan
Prior art keywords
base frame
subframe
head device
optical
attached
Prior art date
Legal status (The legal status is an assumption and is not a legal conclusion. Google has not performed a legal analysis and makes no representation as to the accuracy of the status listed.)
Expired - Fee Related
Application number
JP2003381980A
Other languages
English (en)
Other versions
JP2005149565A (ja
Inventor
勉 松井
Current Assignee (The listed assignees may be inaccurate. Google has not performed a legal analysis and makes no representation or warranty as to the accuracy of the list.)
Funai Electric Co Ltd
Original Assignee
Funai Electric Co Ltd
Priority date (The priority date is an assumption and is not a legal conclusion. Google has not performed a legal analysis and makes no representation as to the accuracy of the date listed.)
Filing date
Publication date
Application filed by Funai Electric Co Ltd filed Critical Funai Electric Co Ltd
Priority to JP2003381980A priority Critical patent/JP4032425B2/ja
Priority to US10/985,040 priority patent/US7366062B2/en
Publication of JP2005149565A publication Critical patent/JP2005149565A/ja
Application granted granted Critical
Publication of JP4032425B2 publication Critical patent/JP4032425B2/ja
Anticipated expiration legal-status Critical
Expired - Fee Related legal-status Critical Current

Links

Images

Classifications

    • GPHYSICS
    • G11INFORMATION STORAGE
    • G11BINFORMATION STORAGE BASED ON RELATIVE MOVEMENT BETWEEN RECORD CARRIER AND TRANSDUCER
    • G11B7/00Recording or reproducing by optical means, e.g. recording using a thermal beam of optical radiation by modifying optical properties or the physical structure, reproducing using an optical beam at lower power by sensing optical properties; Record carriers therefor
    • G11B7/12Heads, e.g. forming of the optical beam spot or modulation of the optical beam
    • GPHYSICS
    • G11INFORMATION STORAGE
    • G11BINFORMATION STORAGE BASED ON RELATIVE MOVEMENT BETWEEN RECORD CARRIER AND TRANSDUCER
    • G11B7/00Recording or reproducing by optical means, e.g. recording using a thermal beam of optical radiation by modifying optical properties or the physical structure, reproducing using an optical beam at lower power by sensing optical properties; Record carriers therefor
    • G11B7/08Disposition or mounting of heads or light sources relatively to record carriers
    • G11B7/10Interchangeable mountings, e.g. for replacement of head without readjustment including interchangeable electrical adjuster boards
    • GPHYSICS
    • G11INFORMATION STORAGE
    • G11BINFORMATION STORAGE BASED ON RELATIVE MOVEMENT BETWEEN RECORD CARRIER AND TRANSDUCER
    • G11B7/00Recording or reproducing by optical means, e.g. recording using a thermal beam of optical radiation by modifying optical properties or the physical structure, reproducing using an optical beam at lower power by sensing optical properties; Record carriers therefor
    • G11B7/12Heads, e.g. forming of the optical beam spot or modulation of the optical beam
    • G11B7/22Apparatus or processes for the manufacture of optical heads, e.g. assembly

Landscapes

  • Physics & Mathematics (AREA)
  • Optics & Photonics (AREA)
  • Optical Head (AREA)

Description

この発明は、光ディスクにレーザ光を照射してデータの記録再生を行う光ヘッド装置において、レーザ出力素子の交換修理を容易にする技術に関する。
例えば、CD(コンパクトディスク)、DVD(デジタル多用途ディスク)、青紫レーザ用の光ディスクなどを対象にデータの記録再生を行う光ヘッド装置において、光ディスクにレーザ光を導く種々の光学系が取り付けられるベースフレームに対して、半導体レーザが取り付けられるフレーム(以下、サブフレームと呼ぶ)を別体に構成し、サブフレームをベースフレームに固定する際に、サブフレームを動かして半導体レーザの位置調整を行うようにした構成が知られている。
詳細には、半導体レーザからレーザ光を出力させてベースフレームの光学系を介してこのレーザ強度を測定しつつ、上記半導体レーザが固着されたサブフレームをベースフレームとの接合面に沿って光軸に垂直なXY方向に移動させて位置調整を行う。そして、レーザ光の検出強度が一番高くなる位置を最適な位置として見つけ、その位置でサブフレームをベースフレームにネジ止着等により固定する。
従来、上記のベースフレームは例えば亜鉛ダイカストにより形成され、半導体レーザが取り付けられる上記のサブフレームは、半導体レーザの放熱板としても機能するようにアルミ等により形成されるのが一般的である。
また、光ヘッドと電子基板の取付け箇所に適用するのに好適な技術として特許文献1の部品組立て構造の発明があった。
特開平3−165321号公報
光ディスクにデータ記録を行う場合、それに必要なレーザ出力は大きなものとなる。また、その書込み速度を高速にしようとすれば、必要なレーザ出力も増していく。一方、半導体レーザは高出力領域に劣化が生じやすいという特徴がある。
従って、今後、書込み速度が高速な光ヘッド装置が増えるのに従って、半導体レーザの劣化により半導体レーザの交換修理が必要となるケースが増えると予想される。
しかしながら、従来の半導体レーザの固定構造にあっては、半導体レーザの交換作業を行う際に次のような不具合を生じることが多いと判明した。すなわち、上記の固定構造では、半導体レーザを取り付けるサブフレームやベースフレームが亜鉛ダイカストやアルミなど比較的に柔らかい金属から構成されているため、例えば1回目の半導体レーザの位置調整やサブフレームのネジ止着時に、サブフレームとベースフレームの接合面に所謂カジリと呼ばれる傷や溝等の変形が生じることがある。
そして、このようにカジリが生じた場合、新たなレーザ出力素子をサブフレームごと交換しようとすると、サブフレームを摺動させて半導体レーザの位置調整を行うときに、接合面に生じたカジリが邪魔をしてサブフレームを上手く動かすことが出来なくなる。
このような問題は、新品製品のアセンブリ時においても同様に生じえるものである。すなわち、サブフレームの止着が済んだ後に半導体レーザやその固定位置について不良と判断され、半導体レーザをサブフレームごと取り替える場合や、サブフレームの固定をもう一度やり直す場合に、その接合面にカジリが生じていると上記と同様に処理できなくなる。そして、その結果、ベースフレームやそれに光学系を取り付けた工程が無駄となり、製品の歩留の低下を招く。
また、特許文献1に開示の技術を、半導体レーザが取り付けられたサブフレームとベースフレームの接合箇所に適用することを検討したが、特許文献1で示されるようなフッ素樹脂からなる膜状部材をサブフレームとベースフレームの接合部に挿入したのでは、サブフレームやベースフレームにカジリは生じないものの、膜状部材が樹脂からできているため、サブフレームの締め付けにより膜状部材が容易に変形してしまい、それにより種々の問題が発生すると考えられた。例えば、強く締め付けすぎると膜状部材が潰れて破損したり、締め付けが弱いと膜状部材の変形により生じた弾性により長期にわたって固定位置がずれるという恐れが生じる。
また、特許文献1には、接合面にフッ素樹脂等をコーティングして用いる方法も開示されているが、金属面にフッ素樹脂等をコーティングした場合、コーティング膜は非常にはがれ易く、このようなコーティングを施したベースフレームやサブフレームは部品として成り立たないという問題があった。
この発明の目的は、レーザ出力素子をサブフレームを介して光ヘッドのベースフレームに取り付ける構造において、位置ずれなどが生じない強固な固定が可能であるとともに、サブフレームの固定と取外しを何度か行った場合でも、サブフレームとベースフレームの接合面にカジリなどが生じ難く、この接合面においてサブフレームをスムースに摺動させることの出来るようにすることにある。
本発明は、上記目的を達成するため、光ディスクの記録面にレーザ光を照射してデータの記録又は再生を行う光ヘッド装置において、亜鉛ダイカストにより形成されレーザ光を光ディスクに導く光学系が取り付けられるベースフレームと、アルミ成型部材からなりレーザ光を出力するレーザ出力素子が取り付けられて上記ベースフレームに固定されるサブフレームとを備え、ベースフレームとサブフレームの接合面の両方にダイヤモンド・ライク・カーボン(DLC)膜を形成した。
また、本発明のもう一つの構成は、ベースフレームとサブフレームの接合面の両方にグラファイト板を貼り付け、且つ、この接合面にフラーレン・ゲル状体或いはゾル状体を塗布した。
このような構成により、特許文献1のように樹脂の膜を間に挿入した場合に比べてベースフレームとサブフレームとを強固に固定することが出来るととも、その接合面の摩擦係数は小さくなるので、サブフレームをベースフレームに押し付けて摺動させたりネジ止着した場合にも、その接合面にカジリなどが生じ難く、サブフレームの固定と取り外しを同様の状態で何度も行うことが出来る。
また、本発明のもう一つの構成は、上記ベースフレームとサブフレームの接合面にパーフロロ系フッ素樹脂(例えばテフロン(登録商標)(登録商標)やダイフロン(登録商標)の微粒子を含んだ潤滑剤が塗布されている構成とした。
このような構成においても、ベースフレームとサブフレームとを強固に固定することが出来るとともに、その接合面の摩擦係数が小さくなって、その接合面にカジリなどが生じるのを少なくすることが出来る。
本発明に従うと、劣化等によりレーザ出力素子を交換修理する際に、レーザ出力素子をサブフレームごと取り替えることで対処することができ、更に、その作業を障害なく行うことが出来るという効果がある。
また、光ヘッド装置のアセンブリ工程においても、レーザ出力素子やその位置調整について不良と判断された場合でも、その部分の取替え作業や位置調整のやり直し作業を障害なく行うことが出来るので、製品の歩留の向上を図ることが出来る。
以下、本発明の実施の形態を図面に基づいて説明する。
[第1の実施の形態]
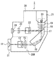
図1は、本発明の実施の形態の光ヘッド装置1を示す全体構成図である。
この実施の形態の光ヘッド装置1は、例えば記録型のDVDを対象にその記録面にレーザ光を照射してデータの記録と再生を行うもので、図1に示すように、レーザ出力手段としての半導体レーザ11と、レーザ光を平行光にするコリメータレンズ12と、フォーカス制御やトラッキング制御用にレーザ光を複数のビームにする回折格子15と、光軸を曲げるプリズム16と、光ディスクへの進行ビームと光ディスクからの反射ビームとを分離するPBS(偏光ビームスプリッタ)17と、進行ビームと反射ビームの偏光を90度回転させる1/4波長板18と、立上げミラー19と、光ディスクの記録面にレーザ光を集束させる対物レンズ20と、この対物レンズ20をフォーカス方向やトラッキング方向に駆動する対物レンズ駆動装置21と、PBS17により分離された反射ビームを集束させるレンズ22と、この反射ビームにフォーカス制御やトラッキング制御のために非点収差を与える凹型の円筒レンズ23と、反射ビームの強度を検出する8分割センサ24等を備えている。
光ヘッド装置1の機枠は、例えば亜鉛ダイカストからなり半導体レーザ11以外の光学系部品が取り付けられるベースフレーム30と、例えばアルミ成型部材からなり半導体レーザ11が取り付けられてその放熱板としての機能を有するサブフレーム31とからなる。
図2には、光ヘッド装置1の半導体レーザ11の取付け構造を示す分離斜視図を、図3には半導体レーザ11の位置調整を行っているところの正面図を、それぞれ示す。
ベースフレーム30は、サブフレーム31との接合面30Cが平面状に形成され、且つ、この接合面30Cにダイヤモンド・ライク・カーボン(DLC)膜が形成されている。また、この接合面30Cには、レーザー光を通過させる光路用の孔30aやサブフレーム31をネジ止着するためのネジ穴30b,30bが設けられている。
サブフレーム31は、ベースフレーム30との接合面31Cが平面状にされた板状ブロックの形状に成型され、且つ、この接合面31Cにダイヤモンド・ライク・カーボン(DLC)膜が形成されている。また、サブフレーム31には、半導体レーザ11を固定する固定用溝31aやネジ止着用の挿通孔31b,31b、並びに、位置調整用ジグのアームF,Fに挟持されるための係合溝31d,31dが設けられている。
半導体レーザ11は、サブフレーム31の固定用溝31aに嵌合されて、例えば接着剤等により固着される。そして、このサブフレーム31がその接合面31Cをベースフレーム30の接合面30Cに重ね合わされた状態でベースフレーム30にネジ止着されて固定されるようになっている。
ネジ止着する前には、図3に示すように、サブフレーム31は位置調整用ジグの可動アームF,Fに強固に挟持され、且つ、サブフレーム31がベースフレーム30に或る程度の力で押圧された状態で、可動アームF,Fが光軸と直行するXY方向に動いて半導体レーザの位置を最適化し、その上でネジ止着が行われるようになっている。位置調整のときにサブフレーム31をベースフレーム30に或る程度押圧させた状態にするのは、ネジを止着するときにサブフレーム31とベースフレーム30とが位置ずれするのを防ぐためである。
この実施の形態の光ヘッド装置1によれば、ベースフレーム30とサブフレーム31の接合面30C,31Cにダイヤモンド・ライク・カーボン(DLC)膜が形成されているので、半導体レーザ11の位置調整の際にサブフレーム31をベースフレーム30に強く押圧しても、DLC膜により低摩擦の摺動性が得られる。そして、それにより、位置調整用ジグの可動アームF,FをXY方向にスムースに移動させることができ、半導体レーザ11の正確な位置合わせができる。
また、厚みを有するフッ素樹脂膜を間に挿んだものに比べて、ネジも強固に止着できるのでベースフレーム30とサブフレーム31の固定を強固に行うことが出来る。
また、DLC膜によりサブフレーム31とベースフレーム30との接合面30C,31Cにカジリが生じることが少ない。従って、使用劣化で半導体レーザ11を交換する場合や、製品のアセンブリ工程で半導体レーザ11の固定後に半導体レーザ11やその固定位置に不良が検出された場合でも、サブフレーム31をベースフレーム30から取り外して、同様の方法で、再び半導体レーザ11を取り付けることが出来る。
[第2の実施の形態]
第2の実施の形態は、ベースフレーム30とサブフレーム31の接合部分にグラファイト板を貼り付けて、各接合面30C,31Cをグラファイト面により構成するとともに、サブフレーム31をベースフレーム30に固定する際に、各接合面30C,31Cの間にフラーレン・ゲル状体(すなわちフラーレンをコロイド溶液中に添加してゲル状としたもの)を塗布したものである。
このような構成においても、ベースフレーム30とサブフレーム31の各接合面30C,31Cに低摩擦の摺動性を得ることが出来るとともに、ベースフレーム30とサブフレーム31の互いの接合面を強く押し付けてもカジリなどを生じ難くすることが出来る。従って、第1の実施の形態と同様の効果を得ることが出来る。
なお、上記のフラーレン・ゲル状体はシリコンオイルなどにフラーレンを添加してなるゾル状体などとしても良い。
[第3の実施の形態]
第3の実施の形態は、ベースフレーム30のサブフレーム31と接合す一区画(例えば図1の点線の区画)30Hをフェライトなどのモース硬度が6以上の部材で構成する一方、サブフレーム31をダイヤモンド・ライク・カーボンなどモース硬度が9以上の部材で構成したものである。
このような構成においても、ベースフレーム30とサブフレーム31の各接合面30C,31Cに低摩擦の摺動性を得ることが出来るとともに、ベースフレーム30とサブフレーム31の接合面30C,31Cを互いに強く押し付けてもカジリなどを生じ難くすることが出来る。そして、それにより、第1の実施の形態と同様の効果を得ることが出来る。
なお、モース硬度6以上の部材としては、その他、長石、石英、ガラスなどを適用することが出来る。また、上記構成では、ベースフレーム30の方を6以上のモース硬度で、サブフレーム31の方を9以上のモース硬度にすると説明したが、逆にベースフレーム30の方を9以上のモース硬度で、サブフレーム31の方を6以上のモース硬度にしても同様の作用・効果が奏される。
なお、本発明は、上記の実施の形態に限られるものではなく、例えば、上記の第1と第2の実施の形態において、ベースフレーム30とサブフレーム31の両方の接合面30C,31Cについて、DLC膜を形成するか、或いは、グラファイト板を貼り付けると説明したが、何れか一方の接合面についてのみこのような構成としても完全ではないが同様の効果を奏すことが出来る。
また、ベースフレーム30とサブフレーム31の接合面の構成として第1〜第3の実施形態を示したが、その他、この接合面にテフロン(登録商標)粒子やダイフロン粒子が添加された潤滑剤を塗布するようにしても、接合面における低摩擦の摺動性と、接合面においてカジリを生じにくくするという作用を得ることが出来る。
その他、サブフレーム31の形状やその位置調整方法など、実施の形態で具体的に示した細部構造および方法は一例に過ぎず、種々の変形がありえる。
また、光ヘッド装置を構成する光学系の種類や配置は種々の変更が可能であるし、また、光ヘッド装置が対象とする光ディスクの種類も記録型のDVDに限られず、種々の光ディスクを対象とするものでも良い。
本発明の実施の形態の光ヘッド装置を示す全体構成図である。 半導体レーザの取付け構造を示す分離斜視図である。 サブフレームに固着された半導体レーザの位置調整方法を説明する正面図である。
符号の説明
1 光ヘッド装置
11 半導体レーザ
12 コリメータレンズ
15 回折格子
16 プリズム
17 PBS
18 1/4波長板
19 立上げミラー
20 対物レンズ
21 対物レンズ駆動装置
22 集束レンズ
23 円筒レンズ
24 光センサ
30 ベースフレーム
30C 接合面
31 サブフレーム
31C 接合面

Claims (4)

  1. 光ディスクの記録面にレーザ光を照射してデータの記録又は再生を行う光ヘッド装置において、
    亜鉛ダイカストにより形成されレーザ光を光ディスクに導く光学系が取り付けられるベースフレームと、
    アルミ成型部材からなりレーザ光を出力するレーザ出力素子が取り付けられて上記ベースフレームに固定されるサブフレームとを備え、
    上記ベースフレームと上記サブフレームの接合面の両方にダイヤモンド・ライク・カーボン膜が形成されていることを特徴とする光ヘッド装置。
  2. 光ディスクの記録面にレーザ光を照射してデータの記録又は再生を行う光ヘッド装置において、
    亜鉛ダイカストにより形成されレーザ光を光ディスクに導く光学系が取り付けられるベースフレームと、
    アルミ成型部材からなりレーザ光を出力するレーザ出力素子が取り付けられて上記ベースフレームに固定されるサブフレームとを備え、
    上記ベースフレームと上記サブフレームの接合面の両方にグラファイト板が貼り付けられ、且つ、この接合面にフラーレン・ゲル状体或いはフラーレン・ゾル状体が塗布されていることを特徴とする光ヘッド装置。
  3. 光ディスクの記録面にレーザ光を照射してデータの記録又は再生を行う光ヘッド装置において、
    亜鉛ダイカストにより形成されレーザ光を光ディスクに導く光学系が取り付けられるベースフレームと、
    アルミ成型部材からなりレーザ光を出力するレーザ出力素子が取り付けられて上記ベースフレームに固定されるサブフレームとを備え、
    上記ベースフレームと上記サブフレームの接合面の両方にグラファイト板が貼り付けられ、且つ、この接合面にパーフロロ系フッ素樹脂の微粒子を含んだ潤滑剤が塗布されていることを特徴とする光ヘッド装置。
  4. 上記ベースフレームと上記サブフレームの接合面のダイヤモンド・ライク・カーボン膜間にパーフロロ系フッ素樹脂の微粒子を含んだ潤滑剤が塗布されていることを特徴とする請求項1記載の光ヘッド装置。
JP2003381980A 2003-11-12 2003-11-12 光ヘッド装置 Expired - Fee Related JP4032425B2 (ja)

Priority Applications (2)

Application Number Priority Date Filing Date Title
JP2003381980A JP4032425B2 (ja) 2003-11-12 2003-11-12 光ヘッド装置
US10/985,040 US7366062B2 (en) 2003-11-12 2004-11-10 Optical head disk device

Applications Claiming Priority (1)

Application Number Priority Date Filing Date Title
JP2003381980A JP4032425B2 (ja) 2003-11-12 2003-11-12 光ヘッド装置

Publications (2)

Publication Number Publication Date
JP2005149565A JP2005149565A (ja) 2005-06-09
JP4032425B2 true JP4032425B2 (ja) 2008-01-16

Family

ID=34616095

Family Applications (1)

Application Number Title Priority Date Filing Date
JP2003381980A Expired - Fee Related JP4032425B2 (ja) 2003-11-12 2003-11-12 光ヘッド装置

Country Status (2)

Country Link
US (1) US7366062B2 (ja)
JP (1) JP4032425B2 (ja)

Families Citing this family (4)

* Cited by examiner, † Cited by third party
Publication number Priority date Publication date Assignee Title
JP4770715B2 (ja) * 2006-11-20 2011-09-14 船井電機株式会社 光ピックアップ装置
JP2008152888A (ja) * 2006-12-20 2008-07-03 Funai Electric Co Ltd 対物レンズ駆動装置、その組立て方法、及び光ディスク装置
JP5152923B2 (ja) * 2009-02-13 2013-02-27 京セラドキュメントソリューションズ株式会社 インクジェット記録装置及びインクジェット記録方法
EP3129130B1 (en) * 2014-04-10 2020-03-25 Shell International Research Maatschappij B.V. A method of making a supported gas separation membrane

Family Cites Families (4)

* Cited by examiner, † Cited by third party
Publication number Priority date Publication date Assignee Title
JPH03165321A (ja) 1989-11-24 1991-07-17 Ricoh Co Ltd 部品組立て構造
JP2002269791A (ja) * 2001-03-15 2002-09-20 Sankyo Seiki Mfg Co Ltd 光ヘッド装置
US6968563B2 (en) * 2001-07-27 2005-11-22 Kabushiki Kaisha Toshiba Optical head
JP2005276242A (ja) * 2004-03-22 2005-10-06 Pioneer Electronic Corp ディスク駆動装置

Also Published As

Publication number Publication date
JP2005149565A (ja) 2005-06-09
US7366062B2 (en) 2008-04-29
US20050120363A1 (en) 2005-06-02

Similar Documents

Publication Publication Date Title
US7457055B2 (en) Lens driving apparatus and optical pickup unit having the same
US20080310287A1 (en) Deformable mirror apparatus, optical pickup and optical drive apparatus
US20080212214A1 (en) Fixing structure of optical element
JP4032425B2 (ja) 光ヘッド装置
WO2003102940A1 (en) Lens support mechanism, optical head device and optical information processor
EP1178474A1 (en) Optical head
JPH09274123A (ja) 光学素子の固定装置
JP2006099875A (ja) ビーム形状整形用プリズムの位置決め固定構造
JP3980528B2 (ja) 光ピックアップ
JP3991227B2 (ja) 光ヘッド装置
JP4785695B2 (ja) 光ピックアップ装置
JP2008171498A (ja) 光ヘッド装置
JPH087313A (ja) 光学ヘッド
JP4947940B2 (ja) 光ピックアップ装置
JPH10255318A (ja) 集積型光学ユニット
JP2003187461A (ja) 光ピックアップ
JP2005285166A (ja) 光ピックアップ装置
JP3882937B2 (ja) 光学式ピックアップ
JP2004281033A (ja) 光ピックアップ
JP2008103014A (ja) 光学部品の取り付け方法及び光ピックアップ
JP2007157293A (ja) ベース部材への打上げミラーの取付け構造
JP2004145976A (ja) 光ヘッド装置
JPH03165321A (ja) 部品組立て構造
JP2009064485A (ja) 光ピックアップ装置
JP2005332448A (ja) 光記録媒体固定装置、光記録媒体の固定方法及び光記録再生装置

Legal Events

Date Code Title Description
A977 Report on retrieval

Free format text: JAPANESE INTERMEDIATE CODE: A971007

Effective date: 20060630

A131 Notification of reasons for refusal

Free format text: JAPANESE INTERMEDIATE CODE: A131

Effective date: 20060724

A521 Written amendment

Free format text: JAPANESE INTERMEDIATE CODE: A523

Effective date: 20060922

TRDD Decision of grant or rejection written
A01 Written decision to grant a patent or to grant a registration (utility model)

Free format text: JAPANESE INTERMEDIATE CODE: A01

Effective date: 20071001

A61 First payment of annual fees (during grant procedure)

Free format text: JAPANESE INTERMEDIATE CODE: A61

Effective date: 20071014

FPAY Renewal fee payment (event date is renewal date of database)

Free format text: PAYMENT UNTIL: 20101102

Year of fee payment: 3

R150 Certificate of patent or registration of utility model

Free format text: JAPANESE INTERMEDIATE CODE: R150

FPAY Renewal fee payment (event date is renewal date of database)

Free format text: PAYMENT UNTIL: 20111102

Year of fee payment: 4

FPAY Renewal fee payment (event date is renewal date of database)

Free format text: PAYMENT UNTIL: 20111102

Year of fee payment: 4

FPAY Renewal fee payment (event date is renewal date of database)

Free format text: PAYMENT UNTIL: 20121102

Year of fee payment: 5

FPAY Renewal fee payment (event date is renewal date of database)

Free format text: PAYMENT UNTIL: 20121102

Year of fee payment: 5

FPAY Renewal fee payment (event date is renewal date of database)

Free format text: PAYMENT UNTIL: 20131102

Year of fee payment: 6

LAPS Cancellation because of no payment of annual fees