JP3946830B2 - 熱応動式蒸気トラップ - Google Patents

熱応動式蒸気トラップ Download PDF

Info

Publication number
JP3946830B2
JP3946830B2 JP25318597A JP25318597A JP3946830B2 JP 3946830 B2 JP3946830 B2 JP 3946830B2 JP 25318597 A JP25318597 A JP 25318597A JP 25318597 A JP25318597 A JP 25318597A JP 3946830 B2 JP3946830 B2 JP 3946830B2
Authority
JP
Japan
Prior art keywords
spring
valve
temperature
springs
steam trap
Prior art date
Legal status (The legal status is an assumption and is not a legal conclusion. Google has not performed a legal analysis and makes no representation as to the accuracy of the status listed.)
Expired - Lifetime
Application number
JP25318597A
Other languages
English (en)
Other versions
JPH10332081A (ja
Inventor
敏雄 藤岡
正和 丸岡
孝弘 岡崎
Current Assignee (The listed assignees may be inaccurate. Google has not performed a legal analysis and makes no representation or warranty as to the accuracy of the list.)
Miyawaki Inc
Original Assignee
Miyawaki Inc
Priority date (The priority date is an assumption and is not a legal conclusion. Google has not performed a legal analysis and makes no representation as to the accuracy of the date listed.)
Filing date
Publication date
Application filed by Miyawaki Inc filed Critical Miyawaki Inc
Priority to JP25318597A priority Critical patent/JP3946830B2/ja
Publication of JPH10332081A publication Critical patent/JPH10332081A/ja
Application granted granted Critical
Publication of JP3946830B2 publication Critical patent/JP3946830B2/ja
Anticipated expiration legal-status Critical
Expired - Lifetime legal-status Critical Current

Links

Images

Landscapes

  • Temperature-Responsive Valves (AREA)

Description

【0001】
【発明の属する技術分野】
本発明は、たとえば蒸気配管の下流側に設けられ、蒸気と復水が混入した流体が所定温度以下のときに開弁して、流体を外部に排出するようにした熱応動式蒸気トラップに関するものである。
【0002】
【従来の技術】
従来、この種の熱応動式蒸気トラップは、ボディの内部に、弁座面をもつ弁座部材と、一端に前記弁座面に着座する弁体を、他端にストッパを設けた弁棒と、その外周に嵌め込まれたバイメタルコラムからなる感温駆動体と、弁棒の外周で感温駆動体とストッパとの間に介装された単一の圧縮ばねを備えている。
【0003】
そして、ボディ内の流体温度が所定温度以上のとき、感温駆動体が熱膨張することにより、圧縮ばねを介して弁棒が閉弁方向に移動し、その弁体が弁座面に着座する。この着座により、熱膨張を続ける感温駆動体と弁棒のストッパの間で圧縮ばねが圧縮され、この圧縮ばねにより弁体が弁座面に圧接されて閉弁状態が維持され、所定温度以上の流体の外部排出を阻止する。
【0004】
以上の状態から、復水の量が増加してボディ内の流体が所定温度以下に低下したとき、感温駆動体の熱膨張力が低下し、これに伴い圧縮ばねが伸長することにより、弁棒に対する閉弁方向への押圧力が低下する。これら感温駆動体が弁棒を閉弁方向に移動させようとする力に対し、弁棒の全体に作用するボディ内の流体圧力などにより弁棒を開弁方向に移動させようとする力が打ち勝ったとき、弁棒が開弁方向に移動して弁体が弁座面から離れ、所定温度以下の流体をボディから外部に排出する。
【0005】
【発明が解決しようとする課題】
ところで、以上のような熱応動式蒸気トラップにおいては、多量の復水の滞溜防止および省資源の観点から、流体の圧力変化にかかわらず、蒸気飽和温度に近く、かつこの温度よりも一定値だけ低い温度で開弁する特性、つまり、蒸気飽和温度曲線に沿った開弁特性を具備させることが望ましい。しかしながら、従来のように、感温駆動体とストッパの間に圧縮ばねを1つだけ介装した場合、蒸気飽和温度曲線に沿った望ましい開弁特性を得るのが難しく、往々にして、復水の滞溜量が増加する問題がある。
【0006】
すなわち、縦軸に温度、横軸に絶対圧力を取った図5に示すように、蒸気飽和温度曲線Aが圧力上昇に伴って徐々に勾配が小さくなる曲線となるのに対し、圧縮ばね1つの場合の開弁特性曲線Dは、圧縮ばねが作用し始めるX1点の圧力までの開弁温度が、感温駆動体の伸張力によって一義的に決まり、X1点の圧力を越えた領域でも、圧縮ばねが1つであるために、開弁特性曲線Dの勾配が直線的になる。したがって、開弁特性曲線DはX1点の1か所でのみ山形に折れ曲がった直線からなるので、開弁特性曲線Dを蒸気飽和温度曲線Aに十分沿わせることができない。
【0007】
そこで、本発明の目的は、蒸気飽和温度曲線に沿った良好な開弁特性を得て、復水の滞留量を減少させることにある。
【0008】
【課題を解決するための手段】
上記目的を達成するため、請求項1記載の発明の特徴は、感温駆動体とストッパとの間に介装する圧縮ばね体として、ばね定数の異なる複数のばねを用い、これらばねを直列に接続させている。
【0009】
以上の熱応動式蒸気トラップでは、流体の温度が所定温度以上のとき、感温駆動体が熱膨張することにより、弁棒が閉弁方向に移動し、その弁体が通路の弁座面に着座する。この着座により、熱膨張を続ける感温駆動体とストッパの間に介装した複数のばねがそれぞれ圧縮され、これらのばねにより弁体が弁座面に圧接されて閉弁し、所定温度以上の流体の外部排出を阻止する。
【0010】
一方、流体が所定温度以下になると、感温駆動体の熱膨張力が低下し、これに伴い各ばねが伸長して弁棒に対する閉弁方向への押圧力が低下する。これら感温駆動体が弁棒を閉弁方向に移動させようとする力に対し、弁棒や弁体に作用する流体の圧力により弁棒が開弁方向に移動しようとする力が打ち勝ったとき、この弁棒が開弁方向に移動し、弁体が弁座面から離間することにより開弁して、所定温度以下の流体を外部に排出する。
【0011】
このとき、圧縮ばね体として、ばね定数の異なる複数のばねを用い、これら各ばねを直列に接続させているので、流体の蒸気飽和温度曲線に沿った開弁特性が得られる。つまり、流体の温度上昇に伴う感温駆動体の熱膨張により、まず最初に、ばね定数の小さい(弱い)ばねが主として圧縮されるので、開弁特性曲線は図5における勾配が大きいものとなる。このばね定数の小さいばねの圧縮が終了すると、ばね定数の大きい方のばねのみの圧縮に移る。この時点、つまりばね定数変化点以降は、ばね定数が大きいから、開弁特性曲線の勾配が小さくなる。したがって、開弁特性曲線は前記ばね定数変化点で折れ曲がった、上に凸な形状となるから、曲線状の蒸気飽和温度曲線に沿わせることが可能となる。
【0012】
本発明の実施形態では、複数のばねを弁棒の軸方向に沿って直列に配置している。また、別の実施形態では、複数のばねを互いに異なる直径として径方向に重合状に配置し、隣接する2つのばねの一端部と他方の他端部を連結部材により連結している。これらの構成によれば、所期の目的が簡単な構成で達成される。また、後者によれば、直径の異なる各ばねを重合状に配置することにより、圧縮ばね体の全体長さがより短くなる。
【0013】
請求項4記載の発明の特徴は、感温駆動体とストッパとの間に介装する圧縮ばね体として、複数のばねを並列配置したものを用い、ばね定数が小さい方のばねを大きい方のばねよりも早期に圧縮が始まるように設定している。
【0014】
この並列ばね型の熱応動式蒸気トラップでは、前記場合と同様に、流体の温度や圧力に基づき弁体が開弁したり閉弁したりする。このとき、各ばねを並列に配置し、かつばね定数が小さい方のばねを大きい方のばねよりも早期に圧縮が始まるように設定しているから、まず最初に、ばね定数の小さいばねが圧縮され、つづいて、ばね定数の大きい方のばねの圧縮が始まる。したがって、やはり、開弁特性曲線は複数のばねの圧縮が始まるばね定数変化点で折れ曲がった、上に凸な形状となるから、曲線状の蒸気飽和温度曲線に沿わせることが可能となる。さらに、各ばねを並列に配置して圧縮ばね体を構成したから、請求項1記載の発明よりも圧縮ばね体の全体長さを短くできる。
【0015】
本発明の実施形態では、圧縮ばね体として、直径の異なる複数のばねを用い、これらを径方向に重合状に配置して、ばね定数の小さい方のばねの自然長さを大きい方のばねよりも長くしている。この構成によれば、簡単な構成で所期の目的が達成される。
【0016】
【発明の実施の形態】
以下、第1の発明にかかる一実施形態を図面に基づいて説明する。
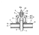
図1に示す熱応動式蒸気トラップは、左右両側に流入口1aと排出口1bをもつボディ1と、このボディ1の上部の開口部に着脱可能にねじ連結されたカバー2とを備えている。前記ボディ1の内部には、その底部にねじ結合された弁座部材3と、この弁座部材3を上下方向に貫挿し、下端側に弁体41を取付けた弁棒4が配置されている。
【0017】
前記弁座部材3は、その上部側に弁棒4をガイドするスリーブ5を圧力により固定するとともに、内方下部側には弁体41を収納する下部開放の弁室30を形成し、この弁室30の上方入口側には、下部側が径大で上部側が径小となるテーパ面からなる弁座面31を形成している。また、弁座面31の上方側には、上流端がボディ1内に常時開口する縦孔および横孔からなる通路32が設けられ、弁室30の周壁には、弁室30と排出口1bに開口する複数の流出孔33が形成されている。
【0018】
前記弁体41には、前記弁座面31に当接するテーパ状の当接部42が形成されている。また、弁棒4におけるスリーブ5の上部側には、後述する圧縮ばね体8の上部側を受けるワッシャ状のばね受け部材6を配置している。
【0019】
さらに、前記スリーブ5の外周には、複数のバイメタルを重合したバイメタルコラムのような感温駆動体7を上下移動可能に嵌め込む。このバイメタルコラム7は、Cuのような高膨張部材71とNiのような低膨張部材72とを重合させ、高膨張部材71が外部側に、低膨張部材72が内部側に位置するように2枚一組として重ね合わせ、この2枚一組とされた複数組を前記スリーブ5に嵌め込んで、バイメタルコラム7の下端部を弁座部材3の上面に支持させている。
【0020】
また、前記スリーブ5の外周囲でばね受け部材6とバイメタルコラム7の上端部との間には、圧縮ばね体8を介装する。
【0021】
この圧縮ばね体8としては、図2で明らかなように、ばね定数の大きな第1コイルばね81と、これよりもばね定数の小さな第2コイルばね82を用いる。そして、第1コイルばね81を下方のバイメタルコラム7側に、第2コイルばね82を上方のばね受け部材6側に置いて直列状に配置する。また、各コイルばね81,82の内部でスリーブ5との間には、筒状のストッパスリーブ10を配置しており、バイメタルコラム7の熱膨張に伴い各コイルばね81,82が、後述するストッパ91に当接したばね受け部材6とバイメタルコラム7との間で圧縮されるとき、まず最初に、ばね定数の小さな第2コイルばね82がストッパスリーブ10とばね受け部材6との間で圧縮され、その後は、ばね力の大きな第1コイルばね81のみが作用する(圧縮される)。このストッパスリーブ10の長さ方向中間には、径方向に延びるつば部10aを一体に形成し、このつば部10aを各コイルばね81,82の対向端部に位置させることにより、各コイルばね81,82を直列状に接続させる。
【0022】
図3の実施形態では、前記圧縮ばね体8として、直径が小さくてばね定数の大きな第1コイルばね83と、直径が大きくてばね定数の小さな第2コイルばね84を用いている。そして、前記スリーブ5の外周囲でばね受け部材6とバイメタルコラム7の間に、第1コイルばね83が内部側に、第2コイルばね84が外部側に位置するように重合して、圧縮ばね体8の全体高さを低くし、熱応動式蒸気トラップの全高寸法を小さくするようにしている。
【0023】
各コイルばね83,84の間には、両者を直列状に接続するための連結部材11を設けている。この連結部材11は、筒体11aの上端部に径方向内方に向かうつば部11bを、下端部に径方向外方に向かうつば部11cをそれぞれ一体に形成して、前記筒体11aをコイルばね83,84の間に介装させた状態で、これらコイルばね83,84の上下端部を各つば部11b,11cに当接させて連結することにより、各コイルばね83,84を直列状に接続している。この連結部材11も上記したストッパスリーブ10と同様な機能を備えている。
【0024】
各図においては、ボディ1の内部に、バイメタルコラム7の熱膨張時における変形量を制御可能な調整部材9を設け、熱応動式蒸気トラップを蒸気配管に取り付ける前に、カバー2を開放した状態で調整部材9を操作して、バイメタルコラム7の熱膨張による閉弁温度を適宜設定(初期設定)することにより、排水する流体の温度を任意に調整できるようにしている。
【0025】
この調整部材9は、前記弁棒4の上部側に設けたねじ部40に螺合され、ばね受け部材6が当接するナットからなるストッパ91と、ねじ部40のストッパ91の上部側に螺合させるロックナット92を備えている。そして、ねじ部40の上端に設けた操作溝40aにドライバなどを差し込んで螺回させながら、ねじ部40に対するストッパ91の取付位置を調整し、つまり、バイメタルコラム7の熱膨張に伴い各コイルばね81〜84を介してばね受部材6が上動されるときの上限位置を調整することにより、弁体41の閉弁温度を任意に調整する。この後、ロックナット92を緊締して、ストッパ91の位置ずれを防止する。
【0026】
次に、以上の構成とした熱応動式蒸気トラップの作用について説明する。
図1において、蒸気または蒸気と復水が混入した流体が、流入口1aからボディ1内に流入する。流入した流体の温度が所定温度以上のとき、バイメタルコラム7の各熱膨張要素(各バイメタル組)が熱膨張して上下方向(軸方向)に湾曲状に変形する。このバイメタルコラム7の変形により、図2の場合は、軸方向に直列に配置された第1,第2コイルばね81,82がガイド部材10とばね受け部材6を伴いながら上動する。また、図3の場合は、径方向に重合配置された第1,第2コイルばね83,84が連結部材11とばね受け部材6を伴いながら上動する。
【0027】
図1のように、ばね受け部材6がストッパ91に当接して、弁棒4を上方の閉弁方向へと移動させ、その弁体41の当接部42が弁座部材3の弁座面31に着座する。このとき、各コイルばね81,82および83,84は、当接部42の弁座面31への着座により、熱膨張を続けるバイメタルコラム7とストッパ91に当接したばね受け部材6との間で圧縮される。
【0028】
以上の状態から、ボディ1内に流入する復水の量が増加して、ボディ1内の流体が所定温度以下に低下すると、バイメタルコラム7の上下方向の変形量が小となり、これに伴い各コイルばね81,82および83,84が伸長することにより、弁棒4に対する開弁方向への押圧力が増加する。バイメタルコラム7により弁棒4を閉弁方向に移動させようとする力に対し、各コイルばね81,82または83,84の上面、弁棒4の頂面および弁体41のテーパ面41aに作用するボディ1内の流体圧力や自重などで弁棒4を下方の開弁方向に移動させようとする力が打ち勝ったとき、この弁棒4が開弁方向に移動して弁体41が弁座面31から離間することにより開弁し、所定温度以下の復水を連通路33を経て排出口1bから外部に排出する。
【0029】
このとき、各コイルばね81,82および83,84として、それぞればね定数の異なるものを使用し、これら各コイルばね81,82および83,84を直列に接続しているので、流体の蒸気飽和温度曲線に沿った開弁特性が得られる。この点に関しては後で説明する。
【0030】
次に、第2発明の実施形態を図4に基づいて説明する。
この実施形態では、ばね受け部材6とバイメタルコラム7の間に介装する圧縮ばね体8として、直径が小さくてばね定数の大きな第1コイルばね85と、直径が大きく、ばね定数が小さくて自然長さが第1コイルばね85よりも長い第2コイルばね86とを用いる。そして、前記スリーブ5の外周囲でばね受け部材6とバイメタルコラム7の間に、第1コイルばね85が内部側に、第2コイルばね86が外部側に位置するように重合して並列に配置する。
【0031】
また、各コイルばね85,86の間には、筒状のストッパスリーブ12を配置している。
【0032】
次に、以上の第2発明による作用について説明する。
図1の流入口1aからボディ1内に流入した流体の温度が所定温度以上のとき、図4のバイメタルコラム7の熱膨張により、各コイルばね85,86、ガイド部材12およびばね受け部材6が上動し、このばね受け部材6がストッパ91に当接することにより、弁棒4が閉弁方向に押し上げられて、その弁体41の当接部42が弁座面31に着座する。上記の絶対圧力がある特定の温度よりも低い場合は、第2のばね86のみが圧縮され、前記特定の温度よりも高い場合は、第1ばね85と第2ばね85が共に圧縮される。
【0033】
また、流体が所定温度以下になって、バイメタルコラム7の熱膨張力が低下したとき、弁棒4や弁体41に作用する流体の圧力により各コイルばね85,86が伸長して開弁方向への押圧力が増加し、弁棒4が開弁方向に移動して開弁状態となる。
【0034】
図5は、縦軸に温度(℃)を、横軸に絶対圧力(Kg・f/cm2)をとった流体の蒸気飽和温度曲線Aと、第1および第2発明による開弁特性曲線Bを示している。また、同図には、圧縮ばねを1個だけ用いた従来の開弁特性曲線Dも示されている。上記各曲線BDよりも下側の領域で開弁状態が維持される。また、各曲線B,Dにおいて、X1は各コイルばねの効きが開始する点を示している。このばね動作開始点X1まではばね体8とストッパ91との間に隙間が存在するために、ばね体8は圧縮されない。ばね動作開始点X1よりも高圧力側では、ばね体8のばね力が作用し、ばね定数が小さいほど、つまりばねが弱いほど曲線の勾配が大きくなる。
【0035】
この図から明らかなように、従来例を示す曲線Dは、前述のとおり、ばね動作開始点X1よりも低圧力側の開弁特性は、感温駆動体の伸張力により一義的に決まり、動作開始点X1よりも高圧力側は1つの圧縮ばねのばね定数により直線的に変化するので、蒸気飽和温度曲線Aに十分沿わせることは難しい。
【0036】
これに対し、図1〜3に示した第1発明の場合は、圧縮ばね体8として、ばね定数の異なる複数のばね81〜84を直列接続したものを用いている。したがって、流体の温度上昇に伴って動作開始点X10を越えると、まず最初に、ばね定数の小さいばね82,84が主として圧縮されるので、図5に示す開弁特性曲線Bは勾配が比較的大きいものとなる。このばね定数の小さいばね82,84の圧縮が終了した時点X2で、ばね定数の大きい方のばね81,83のみの圧縮に移り、ばね定数が変化する。このばね定数変化点X2以降は、ばね定数が大きいから、開弁特性曲線Bの勾配が小さくなる。したがって、開弁特性曲線Bは、前記動作開始点X0bと前記ばね定数変化点X2とで折れ曲がった、上に凸な形状となるから、曲線状の蒸気飽和温度曲線Aに沿わせることが可能となる。つまり、X10とX2の2点で折れ曲がった形状となるので、圧力上昇と共に温度上昇の勾配が徐々に小さくなる蒸気飽和温度曲線Aに沿わせ易くなる。
【0037】
なお、動作開始点X1,X10の位置は、図2に示したばね受け部材6と調整部材9のストッパ91との間隙の大きさを適宜変更することにより、移動する。
【0038】
また、図4の第2の発明では、2つの第1および第2コイルばね85,86を並列に配置し、ばね定数が小さい方のばね86を大きい方のばね85よりも早期に圧縮が始まるように設定しているから、まず最初に、ばね定数の小さいばね86が圧縮され、つづいて、ばね定数の大きい方のばね85の圧縮が始まる。したがって、図5に示した開弁特性曲線Bと同様な特性となり、動作開始点X10と両方のばね85,86の圧縮が始まるばね定数変化点X2の2か所で折れ曲がった、上に凸な形状となるから、曲線状の蒸気飽和温度曲線Aに沿わせることが可能となる。
【0039】
以上の各実施形態では、圧縮ばね体8として、2つのコイルばねを用いたが、本発明では、3つ以上のコイルばねを用いてもよい。
【0040】
【発明の効果】
以上のように、本発明によれば、感温駆動体とストッパとの間に介装する圧縮ばね体として、ばね定数の異なる複数のばねを用いたことにより、熱応動式蒸気トラップの全高を小さくし、かつ圧縮ばね体の信頼性を高めながら、蒸気飽和温度曲線に近づけた開弁特性を得て、復水の滞留量を減少させることができる。
【図面の簡単な説明】
【図1】第1の発明の一実施形態である熱応動式蒸気トラップの縦断面図である。
【図2】図1の要部を取出して示す拡大縦断面図である。
【図3】他の実施形態を示す縦断面図である。
【図4】第2の発明の一実施形態である熱応動式蒸気トラップの縦断面図である。
【図5】蒸気飽和温度曲線と本発明による開弁特性曲線を示す特性図である。
【符号の説明】
1…ボディ、4…弁棒、41…弁体、7…感温駆動体、8…圧縮ばね体、81〜84…ばね、91…ストッパ、11…連結部材。

Claims (5)

  1. 流体の温度と圧力に応じて流体の通路を開閉する熱応動式蒸気トラップであって、
    一端に弁体を有し、他端にストッパが取付けられた弁棒と、
    前記流体の熱を受けて熱膨張により前記弁棒の閉弁方向に駆動力を発生する感温駆動体と、
    前記弁棒の外周に嵌め込まれて、熱膨張した感温駆動体と前記ストッパとの間で圧縮される圧縮ばね体とを備え、
    この圧縮ばね体は、ばね定数の異なる複数のばねが直列に接続されてなる熱応動式蒸気トラップ。
  2. 請求項1において、前記複数のばねは、前記弁棒の軸方向に沿って直列に配置されている熱応動式蒸気トラップ。
  3. 請求項1において、前記複数のばねは、直径が互いに異なっており、径方向に重合して配置され、隣接する2つのばねの一方の一端部と他方の他端部とが連結部材によって連結されている熱応動式蒸気トラップ。
  4. 流体の温度と圧力に応じて流体の通路を開閉する熱応動式蒸気トラップであって、
    一端に弁体を有し、他端にストッパが取付けられた弁棒と、
    前記流体の熱を受けて熱膨張により前記弁棒の閉弁方向に駆動力を発生する感温駆動体と、
    前記弁棒の外周に嵌め込まれて、熱膨張した感温駆動体と前記ストッパとの間で圧縮される圧縮ばね体とを備え、
    この圧縮ばね体は、複数のばねを並列に配置してなり、ばね定数の小さい方のばねが大きい方のばねよりも早期に圧縮が始まるように設定されている熱応動式蒸気トラップ。
  5. 請求項4において、前記複数のばねは、直径が互いに異なっていて、径方向に重合して配置されており、ばね定数の小さい方のばねの自然長さが大きい方のばねよりも長く設定されている熱応動式蒸気トラップ。
JP25318597A 1997-04-04 1997-09-18 熱応動式蒸気トラップ Expired - Lifetime JP3946830B2 (ja)

Priority Applications (1)

Application Number Priority Date Filing Date Title
JP25318597A JP3946830B2 (ja) 1997-04-04 1997-09-18 熱応動式蒸気トラップ

Applications Claiming Priority (3)

Application Number Priority Date Filing Date Title
JP8656697 1997-04-04
JP9-86566 1997-04-04
JP25318597A JP3946830B2 (ja) 1997-04-04 1997-09-18 熱応動式蒸気トラップ

Publications (2)

Publication Number Publication Date
JPH10332081A JPH10332081A (ja) 1998-12-15
JP3946830B2 true JP3946830B2 (ja) 2007-07-18

Family

ID=26427676

Family Applications (1)

Application Number Title Priority Date Filing Date
JP25318597A Expired - Lifetime JP3946830B2 (ja) 1997-04-04 1997-09-18 熱応動式蒸気トラップ

Country Status (1)

Country Link
JP (1) JP3946830B2 (ja)

Cited By (1)

* Cited by examiner, † Cited by third party
Publication number Priority date Publication date Assignee Title
CN107063500A (zh) * 2016-10-20 2017-08-18 云南电网有限责任公司电力科学研究院 一种用于检测输电线路连接点的记忆合金弹簧故障指示器

Families Citing this family (4)

* Cited by examiner, † Cited by third party
Publication number Priority date Publication date Assignee Title
JP6322476B2 (ja) * 2014-05-19 2018-05-09 株式会社テイエルブイ フロート式スチームトラップ
KR101484602B1 (ko) * 2014-10-01 2015-01-22 윤정상 형상기억합금을 이용한 응축수양에 능동적으로 반응하는 스팀트랩
CN108397685A (zh) * 2018-05-09 2018-08-14 盐城市大昌石化设备有限公司 一种可调式恒温疏水阀
CN121429817A (zh) * 2025-12-29 2026-01-30 浙江纽顿流体控制有限公司 灵敏型蒸汽冷凝水温度控制阀

Family Cites Families (9)

* Cited by examiner, † Cited by third party
Publication number Priority date Publication date Assignee Title
JPS434633Y1 (ja) * 1965-02-20 1968-02-28
JPS5378426A (en) * 1976-12-22 1978-07-11 Kyokuto Kaihatsu Kogyo Co Pressure compensatable type flow quantity controlling valve
JPS5680589A (en) * 1979-12-02 1981-07-01 Otani Shigeki Steam trap
DE2948686C2 (de) * 1979-12-04 1983-09-29 Gestra Kondensatableiter Gmbh & Co Kg, 2800 Bremen Bimetallgesteuerter Kondensatableiter
DE3002294C2 (de) * 1980-01-23 1982-07-29 Gestra-Ksb-Vertriebsgesellschaft Mbh & Co Kg Bimettalgesteuerter Kondensatableiter
JPH0384286A (ja) * 1989-08-28 1991-04-09 Hitachi Constr Mach Co Ltd 流量制御弁
JP2503920Y2 (ja) * 1989-11-02 1996-07-03 旭有機材工業株式会社 定流量弁
DE4039766C1 (ja) * 1990-12-13 1992-06-04 Fa. Carl Freudenberg, 6940 Weinheim, De
JP3761985B2 (ja) * 1996-08-05 2006-03-29 株式会社ミヤワキ 温調トラップ

Cited By (2)

* Cited by examiner, † Cited by third party
Publication number Priority date Publication date Assignee Title
CN107063500A (zh) * 2016-10-20 2017-08-18 云南电网有限责任公司电力科学研究院 一种用于检测输电线路连接点的记忆合金弹簧故障指示器
CN107063500B (zh) * 2016-10-20 2023-10-20 云南电网有限责任公司电力科学研究院 一种用于检测输电线路连接点的记忆合金弹簧故障指示器

Also Published As

Publication number Publication date
JPH10332081A (ja) 1998-12-15

Similar Documents

Publication Publication Date Title
CN102308152B (zh) 具有δp功能和限流功能的阀
JP3946830B2 (ja) 熱応動式蒸気トラップ
US4723704A (en) Bimetal steam trap
KR890000252Y1 (ko) 디스크 타입 스팀 트랩
JP3761985B2 (ja) 温調トラップ
US4295605A (en) Steam traps
KR970002337B1 (ko) 열응동식 스팀 트랩
JPH06100316B2 (ja) スチ−ムトラツプ
JPH0150800B2 (ja)
JPH0215760B2 (ja)
US3724751A (en) Disc-type steam trap
US2914251A (en) Thermostatic steam trap
JPH0469320B2 (ja)
JPH0716159Y2 (ja) 温度に感応するバイメタルを用いた弁
JPH0828785A (ja) 熱応動式スチ―ムトラップ
US895702A (en) Steam-trap.
JPH0446155Y2 (ja)
GB2076494A (en) Snap-acting control for fluid- flow valve
CA1122500A (en) Steam traps
US2253930A (en) Pressure and temperature relief valve
JPH0520944Y2 (ja)
JP7357904B2 (ja) 弁装置
JP7277310B2 (ja) 弁装置
JP2709548B2 (ja) 大容量スチ―ムトラップ
JPS63259283A (ja) 温度調節弁

Legal Events

Date Code Title Description
A621 Written request for application examination

Free format text: JAPANESE INTERMEDIATE CODE: A621

Effective date: 20040915

A977 Report on retrieval

Free format text: JAPANESE INTERMEDIATE CODE: A971007

Effective date: 20070328

TRDD Decision of grant or rejection written
A01 Written decision to grant a patent or to grant a registration (utility model)

Free format text: JAPANESE INTERMEDIATE CODE: A01

Effective date: 20070410

A61 First payment of annual fees (during grant procedure)

Free format text: JAPANESE INTERMEDIATE CODE: A61

Effective date: 20070412

R150 Certificate of patent or registration of utility model

Free format text: JAPANESE INTERMEDIATE CODE: R150

FPAY Renewal fee payment (event date is renewal date of database)

Free format text: PAYMENT UNTIL: 20110420

Year of fee payment: 4

FPAY Renewal fee payment (event date is renewal date of database)

Free format text: PAYMENT UNTIL: 20110420

Year of fee payment: 4

FPAY Renewal fee payment (event date is renewal date of database)

Free format text: PAYMENT UNTIL: 20130420

Year of fee payment: 6

FPAY Renewal fee payment (event date is renewal date of database)

Free format text: PAYMENT UNTIL: 20130420

Year of fee payment: 6

FPAY Renewal fee payment (event date is renewal date of database)

Free format text: PAYMENT UNTIL: 20140420

Year of fee payment: 7

R250 Receipt of annual fees

Free format text: JAPANESE INTERMEDIATE CODE: R250

R250 Receipt of annual fees

Free format text: JAPANESE INTERMEDIATE CODE: R250

R250 Receipt of annual fees

Free format text: JAPANESE INTERMEDIATE CODE: R250

R250 Receipt of annual fees

Free format text: JAPANESE INTERMEDIATE CODE: R250

EXPY Cancellation because of completion of term