JP3846397B2 - 共焦点光学系を備えたバイオチップ - Google Patents
共焦点光学系を備えたバイオチップ Download PDFInfo
- Publication number
- JP3846397B2 JP3846397B2 JP2002301288A JP2002301288A JP3846397B2 JP 3846397 B2 JP3846397 B2 JP 3846397B2 JP 2002301288 A JP2002301288 A JP 2002301288A JP 2002301288 A JP2002301288 A JP 2002301288A JP 3846397 B2 JP3846397 B2 JP 3846397B2
- Authority
- JP
- Japan
- Prior art keywords
- light
- sample
- biochip
- substrate
- lens
- Prior art date
- Legal status (The legal status is an assumption and is not a legal conclusion. Google has not performed a legal analysis and makes no representation as to the accuracy of the status listed.)
- Expired - Fee Related
Links
- 238000000018 DNA microarray Methods 0.000 title claims description 78
- 239000000758 substrate Substances 0.000 claims description 59
- 230000005284 excitation Effects 0.000 claims description 29
- 230000003287 optical effect Effects 0.000 claims description 28
- 238000001514 detection method Methods 0.000 claims description 16
- 239000000126 substance Substances 0.000 claims description 14
- 230000000903 blocking effect Effects 0.000 claims description 3
- 230000002068 genetic effect Effects 0.000 claims description 3
- 230000001678 irradiating effect Effects 0.000 claims description 3
- 108090000623 proteins and genes Proteins 0.000 description 8
- 239000000463 material Substances 0.000 description 6
- 239000011347 resin Substances 0.000 description 6
- 229920005989 resin Polymers 0.000 description 6
- 238000003491 array Methods 0.000 description 3
- 238000012790 confirmation Methods 0.000 description 3
- 230000023077 detection of light stimulus Effects 0.000 description 3
- 230000000694 effects Effects 0.000 description 3
- 102000004169 proteins and genes Human genes 0.000 description 3
- 238000004458 analytical method Methods 0.000 description 2
- 238000002038 chemiluminescence detection Methods 0.000 description 2
- 238000010230 functional analysis Methods 0.000 description 2
- 239000011521 glass Substances 0.000 description 2
- 238000010030 laminating Methods 0.000 description 2
- 238000005259 measurement Methods 0.000 description 2
- 239000002773 nucleotide Substances 0.000 description 2
- 125000003729 nucleotide group Chemical group 0.000 description 2
- 125000006850 spacer group Chemical group 0.000 description 2
- 238000012360 testing method Methods 0.000 description 2
- 238000010521 absorption reaction Methods 0.000 description 1
- 239000000470 constituent Substances 0.000 description 1
- 238000010586 diagram Methods 0.000 description 1
- 239000000428 dust Substances 0.000 description 1
- 238000001962 electrophoresis Methods 0.000 description 1
- 238000011156 evaluation Methods 0.000 description 1
- 230000029142 excretion Effects 0.000 description 1
- 238000001917 fluorescence detection Methods 0.000 description 1
- 230000003834 intracellular effect Effects 0.000 description 1
- 230000004060 metabolic process Effects 0.000 description 1
- 238000000034 method Methods 0.000 description 1
- 230000000704 physical effect Effects 0.000 description 1
- 238000012113 quantitative test Methods 0.000 description 1
- 230000035945 sensitivity Effects 0.000 description 1
- 229910052710 silicon Inorganic materials 0.000 description 1
- 239000010703 silicon Substances 0.000 description 1
Images
Landscapes
- Investigating, Analyzing Materials By Fluorescence Or Luminescence (AREA)
- Microscoopes, Condenser (AREA)
Description
【発明の属する技術分野】
本発明は、微弱な光の進行方向を所定の方向に制御する機能を有するバイオチップに関し、具体的には共焦点光学系を備えたバイオチップに関する。また本発明は、当該バイオチップを用いたバイオチップ読取装置および光検出方法に関する。
【0002】
【従来の技術】
ガラスやシリコンなどの基板上に複数の試料を並べて固定化したバイオチップ(DNAチップ、プロテインチップ、DNAアレイおよびDNAマイクロアレイなどを含む)を用いた物性評価試験や定量試験では、蛍光あるいは化学発光の検出が行われることが多い。こうした微弱な光を検出する代表的な装置としては、共焦点光学系を用いたバイオチップ読取装置が挙げられる(例えば、特許文献1を参照のこと)。
【0003】
共焦点光学系とは、結像する位置(合焦点位置)にピンホールを置くことで、合焦点以外からの光を一切排除し、コントラストの良い像を得るための光学系である。
【0004】
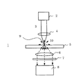
共焦点光学系を用いた従来のバイオチップ読取装置22は、図6に示すように、試料23を備えたバイオチップ24、対物レンズ25、ビームスプリッター26、ミラー27、光学フィルタ28、受光レンズ29、共焦点ピンホール30、受光器31などから構成される。光源(図示されない)から出射される励起光32をビームスプリッター26で反射させて試料23に照射すると、励起された試料23から蛍光33が発生する。その蛍光33を、試料23の上側に位置する対物レンズ25で取り込み、ビームスプリッター26を透過させ、ミラー27により光学フィルタ28に導き、受光レンズ29により集光し、共焦点ピンホール30によりノイズ光を除去して、受光器31により検出する。化学発光検出の場合、励起光32は照射されないが、試料23から発せられた光が受光器31により検出されるまでの過程は同様である。
このような共焦点型のバイオチップ読取装置は、検出光のSN比が高いが、ノイズ光を低減させるための光学系が複雑かつ大型なので装置価格が高い。
【0005】
【特許文献1】
特開2001−311690「バイオチップ読取装置及び電気泳動装置」
【発明が解決しようとする課題】
上述の事情に鑑み、本発明は、バイオチップ読取装置の小型化および低価格化を目的とする。
【0006】
【課題を解決するための手段】
本発明にかかるバイオチップは、複数の試料を備えた基板と、前記基板の前記試料が備えられた面とは反対側の面に設けられた遮光部材とを有するバイオチップであって、前記基板は、前記試料の各々に対応したレンズを備えており、前記遮光部材は、前記試料の各々に対応する開口を有し、前記試料と前記開口とが前記レンズを介して共焦点の関係にあることを特徴とする。
このような構成のバイオチップは、事実上チップ内に共焦点光学系を有しているので、バイオチップ読取装置の複雑かつ大型な光学系を要しない。すなわち、上記バイオチップにより、基板上の励起された試料から発生した光のうち基板側に出射した光を、レンズにより集光させ、試料の各々に対応するように遮光部材上に設けた開口を通過させることができる。従って、上記バイオチップを用いて、励起光の照射と試料が発生する光の検出とを、基板を挟んで反対側で行うようにすれば、バイオチップ読取装置の小型化および低価格化が可能となる。
【0007】
前記基板は、屈折率の異なる複数の物質を積層して形成しても良い。
このように基板を形成することで、内部にレンズ機能を有する基板を容易に形成することができる。
また、前記基板を形成する複数の物質のうち、前記試料と接する物質の屈折率を、前記試料の屈折率より大きくすると良い。
このように、試料と接する基板の材質として試料よりも屈折率が大きなものを選べば、試料から発生して基板側に進行する蛍光は基板の光入射面に対して法線の方向に屈折するため、基板と反対側に発生する蛍光よりも集光効率が良い。
【0008】
前記基板の前記試料が備えられた面側には、前記試料を挟んで第1マイクロレンズアレイがさらに形成されており、前記第1マイクロレンズアレイは、前記試料の各々に対応する第1レンズを有し、前記第1レンズの焦点が前記試料の位置に一致するようにしても良い。
このように、バイオチップが第1マイクロレンズアレイを備えることで、光源からの光を試料に集光するための対物レンズが不要となり、装置を小型化することができる。
さらに、このような構成により励起光を各試料に効率良く集光することができるので、複数の試料を同時に精度良く励起することができる。
【0009】
前記基板の前記試料が備えられた面とは反対側の面に、前記遮光部材を挟んで、第2マイクロレンズアレイが配置されており、前記第2マイクロレンズアレイは、前記開口の各々に対応する第2レンズを有し、前記第2レンズの焦点は前記開口の位置に一致するようにしても良い。
このように、バイオチップが第2マイクロレンズアレイを備えることで、遮光部材の開口を通過した光を受光する受光レンズが不要となり、装置を小型化することができる。
さらに、このような構成により各試料が発生した光を効率良く集光することができるので、複数の試料が発生する光を同時に精度良く検出することができる。
【0010】
前記試料は、生物の遺伝情報を含んでいても良い。
生物の遺伝情報を含む試料を備えたバイオチップを用いることで、遺伝子配列の決定、特定遺伝子の有無の確認、SNP(単一塩基多型)の解析、タンパク質の同定または機能解析などを行うことができる。
【0011】
本発明のバイオチップ読取装置は、光源と、光源からの励起光を試料に集光するための対物レンズと、バイオチップと、前記試料から前記基板側に発生して前記遮光部材の前記開口を通過した光を受光するための受光レンズと、前記励起光を遮断もしくは減衰させるための光学フィルタと、前記受光レンズおよび前記光学フィルタを通過した光を受光する受光器とからなり、前記バイオチップは、複数の試料を備えた基板と、前記基板の前記試料が備えられた面とは反対側の面に設けられた遮光部材とを有するバイオチップであって、前記基板は、前記試料の各々に対応したレンズを備えており、前記遮光部材は、前記試料の各々に対応する開口を有し、前記試料と前記開口とが前記レンズを介して共焦点の関係にあることを特徴とする。
このような構成のバイオチップ読取装置は、バイオチップ内に共焦点光学系を有するので、従来の装置に比べて小型で低価格である。
【0012】
本発明にかかる光検出方法は、上記バイオチップと、光源と、受光器とを用いた光検出方法であって、前記光源からの励起光を前記試料に照射することにより前記試料から発生した光のうち、前記基板側に出射した光を、前記レンズにより集光し、前記試料の各々に対応するように前記遮光部材上に設けた開口を通過させて受光器により検出することを特徴とする。
このように、共焦点光学系を備えたバイオチップを用いて、励起光の照射と試料が発生する光の検出とを、基板を挟んで反対側で行うことにより、従来の光検出装置のような複雑な光学系が不要となり、装置を小型化することができる。
【0013】
上記光検出方法において、前記光源から励起光の照射を停止したのち、前記受光器による光検出を行っても良い。
このように、励起光の照射を停止した状態で試料が発生する光の検出を行うことにより、励起光がノイズ光として検出されることはないので、SN比が飛躍的に向上する。
【0014】
【詳細な説明】
以下、本発明の好適な実施形態を、蛍光を検出する場合を例に、図面を参照しながら詳しく説明する。但し、この実施形態に記載されている構成部品の寸法、材質、形状、その相対的配置などは説明例に過ぎず、特に記載がない限りこの発明の範囲をそれらに限定する意図はない。また、各図面は模式図であり、構成要素の屈折率の相異を考慮して描かれてはいない。
【0015】
図1は、本発明の一つの実施形態にかかるバイオチップ読取装置1を示す。バイオチップ読取装置1は、光源2、対物レンズ4、バイオチップ5、受光レンズ6、光学フィルタ7、および受光器8から構成される。
【0016】
まず、図2により、バイオチップ読取装置1で使用されるバイオチップ5aの細部を説明する。バイオチップ5aにおいて、基板11は、屈折率の異なる物質12および13から形成され、基板11の表面上には試料9が備えられている。ここで、物質12と13との境界面は、試料9の各々に対応したレンズ120を有するマイクロレンズアレイを形成している。望ましくは、各レンズ120の有効半径は試料の配置間隔に等しい。さらに、基板11の試料9が備えられた面とは反対側の面には遮光部材14が形成され、遮光部材14には各試料に対応した開口15が設けられている。ここで、試料9と開口15は、物質12および13から形成されるマイクロレンズアレイを介して共焦点の関係にある。
【0017】
次に、バイオチップ読取装置1の動作を説明する。光源2からの励起光3は、対物レンズ4で集束されて、基板11上の試料9に照射される。試料9は励起光3を吸収して、蛍光10を発生する。蛍光10は、励起光3とは異なる波長特性を有する。試料9から発生した蛍光10は、バイオチップ5a内に物質12および13により形成されたマイクロレンズアレイによって屈折作用を受ける。このとき、試料9と開口15は共焦点の関係にあるので、蛍光10は遮光部材14の開口15を通過する。ここで、励起光3も同様にレンズの屈折作用によって開口15を通過するので、受光レンズ6と受光器8との間に波長選択特性を有する光学フィルタ7を設け、蛍光10を透過させ、励起光3を透過させないようにする。光学フィルタ7を透過した蛍光10は、受光器8で検出される。
ここで、光学フィルタとは、特定の波長の光を透過させるかまたは吸収もしくは反射することにより遮断する機能を有する波長選択素子をいう。
【0018】
このように、本発明のバイオチップは、従来のバイオチップと違い、試料から発生した蛍光のうち基板側に発生した蛍光を検出するための構成となっている。図6に示すような従来の共焦点型バイオチップ読取装置を用いて基板と反対側に発生する蛍光を検出する場合、検出される光の量は、対物レンズ25の開口数(NA)に依存してわずかである。一方、本発明に従って基板側に発生した蛍光を検出する場合、基板の材質として試料よりも屈折率が大きなものを選べば、基板側に進行する蛍光は基板の光入射面に対して法線の方向に屈折するため、基板と反対側に発生する蛍光よりも効率良く集光することができる。
ここで、試料の屈折率は1.33〜1.50程度であるから、例えば、試料の屈折率が1.4であるとき、基板の材料として屈折率が1.6程度の樹脂を選択すれば、蛍光の屈折角は約60度となり、集光効率が良い。従って、基板に用いる材料としては、透明で屈折率が大きなガラスや樹脂などが相応しい。
【0019】
基板内部に形成するレンズの曲率および基板の厚みは、試料および基板の屈折率に応じて、蛍光の集光効率が最適となるように選択される。
【0020】
基板11は、屈折率の異なる複数の樹脂により形成されても良いし、樹脂層と空気層とで形成されても良い。空気の屈折率は1であるから、屈折率の大きな樹脂層を組み合わせるとNAの大きなレンズを形成することができ、より多くの蛍光を検出することができる。
【0021】
図3は、本発明にかかる別のバイオチップ5bを示す。図3に示すように、基板11は、2つ以上のマイクロレンズアレイを光軸方向に積層した構成であっても良い。ここで、物質16および18の屈折率は同じであっても良いし、異なっていても良い。
このように2つ以上のマイクロレンズアレイを積層することにより、レンズの合成NAを大きくすることができるので、より多くの蛍光を検出することができる。
【0022】
図4は、本発明のさらに別の実施形態にかかるバイオチップ読取装置19を示す。バイオチップ読取装置19は、バイオチップが備える複数の試料に一度に励起光を照射し、各試料が発生した光を同時に検出することを特徴とする。図5に、バイオチップ読取装置19に使用されるバイオチップ5cの細部を示す。
【0023】
バイオチップ5cは、バイオチップ5bの構成に加えて、基板11の試料10が備えられた面側にスペーサ21を介して第1マイクロレンズアレイ20を備える。ここで、第1マイクロレンズアレイ20は、試料の各々に対応する第1レンズ200を有し、第1レンズ200の焦点は前記試料の位置に一致する。
【0024】
このように、バイオチップ5cが第1マイクロレンズアレイ20を備えることで、光源からの励起光3を試料に集光するための対物レンズが不要となる。即ち、第1マイクロレンズアレイ20により、励起光3は各試料10の位置に効率良く集光されるので、複数の試料10を同時に精度良く励起することができる。対物レンズを用いる場合には、焦点位置を各試料に合わせる必要があるが、第1マイクロレンズアレイ20が備えられている場合は、第1レンズ200の焦点が各試料の位置に一致しているので焦点位置を調節する必要がない。
【0025】
さらに、図示しないが、基板の試料が備えられた面とは反対側の面に、遮光部材を挟んで第2マイクロレンズアレイを備えても良い。第2マイクロレンズアレイは、遮光部材の開口の各々に対応する第2レンズを有し、第2レンズの焦点は前記開口の位置に一致するようにする。
このように、バイオチップ5cが第2マイクロレンズアレイを備えることで、各試料が発生した光は効率良く集光されるので、複数の試料が発生する光を同時に精度良く検出することができる。受光器としては高感度CCDカメラなどが用いられる。
【0026】
従って、バイオチップ5cを用いれば、複数の試料を同時に励起し、複数の試料が発生する光を同時に検出することができるので、基板を走査する必要がない。
ただし、バイオチップ5bに第1マイクロレンズアレイ20および第2マイクロレンズアレイを設ける際には、精度の高い位置合わせが必要である。位置合わせにはアラインメントマークを用いる。
【0027】
第1マイクロレンズアレイ20の第1レンズ200は、空気と接触していても良いが、屈折率の異なる樹脂を用いてレンズ表面を平坦化しても良い。そうすれば、レンズ表面を粉塵から保護することができると同時に取り扱いが容易となる。
【0028】
以上の実施例においては、基板が備えるレンズとして、屈折率の異なる複数の物質を積層して形成したマイクロレンズアレイの例を示したが、屈折率分布型レンズ(GRINレンズ)を配列したGRINレンズアレイとしても同様の効果が得られる。
【0029】
本発明にかかる光検出方法は、以上で説明したバイオチップと、光源と、受光器とを用いた光検出方法であって、光源からの励起光を試料に照射し、励起された試料から発生した光のうち、基板側に出射した光を、チップ内部のレンズにより集光し、試料の各々に対応するように遮光部材上に設けた開口を通過させて受光器により検出することを特徴とする。
このように、共焦点光学系を備えたバイオチップを用いて、励起光の照射と試料が発生する光の検出とを、基板を挟んで反対側で行うことにより、従来の光検出装置のような複雑な光学系が不要となり、装置を小型化することができる。
【0030】
さらに、上記光検出方法において、光源からの励起光の照射を停止したのち、受光器による光検出を行えば、励起光がノイズ光として検出されることはないので、SN比が飛躍的に向上する。また、光検出装置において励起光を除去するための光学フィルタは不要となり、装置を小型化することができる。
【0031】
以上、蛍光を検出する場合を例に説明したが、化学発光を検出する場合においても本発明にかかるバイオチップにより同様の効果が得られることは明白である。
【0032】
本発明の光検出方法は、遺伝子配列の決定、特定遺伝子の有無の確認、特定遺伝子の発現レベルの測定、SNP(単一塩基多型)の解析、実験用マウスに投与した物質の代謝・吸収・排泄の経路または状態の確認、細胞内のイオン濃度測定、タンパク質の同定または機能解析などに用いることができる。また、個人の健康状態を判別する健康診断や個人セキュリティーのための検査などにも応用することができる。
【発明の効果】
本発明にかかるバイオチップは、例えば、複数の試料を備える基板を屈折率の異なる物質を積層して形成することで、基板にレンズ機能を持たせている。さらに、基板の試料が備えられた面とは反対側の面に、試料の各々に対応する開口を有する遮光部材を設けることでチップ内部に共焦点光学系を備える構成とした。本発明のバイオチップを用いて、励起光の照射と試料が発生する光の検出とを、基板を挟んで反対側で行えば、従来の複雑かつ大型な光学系が不要となり、バイオチップ読取装置の小型化および低価格化が可能となる。
【図面の簡単な説明】
【図1】 本発明の実施形態にかかるバイオチップ読取装置を示す。
【図2】 本発明の実施形態にかかるバイオチップ読取装置の要部を示す。
【図3】 本発明の別の実施形態にかかるバイオチップを示す。
【図4】 本発明の別の実施形態にかかるバイオチップ読取装置を示す。
【図5】 本発明の別の実施形態にかかるバイオチップ読取装置の要部を示す。
【図6】 従来の共焦点型バイオチップ読取装置を示す。
【符号の説明】
1、19、22 バイオチップ読取装置
2 光源
3、32 励起光
4、25 対物レンズ
5、24 バイオチップ
6、29 受光レンズ
7、28 光学フィルタ
8、31 受光器
9、23 試料
10、33 蛍光
11 基板
14 遮光部材
15 開口
20 第1マイクロレンズアレイ
21 スペーサ
26 ピームスプリッタ
27 ミラー
30 共焦点ピンホール
120 レンズ
200 第1レンズ
Claims (8)
- 複数の試料を備えた基板と、前記基板の前記試料が備えられた面とは反対側の面に設けられた遮光部材とを有するバイオチップであって、
前記基板は、前記試料の各々に対応したレンズを備えており、
前記遮光部材は、前記試料の各々に対応する開口を有し、
前記試料と前記開口とが前記レンズを介して共焦点の関係にあることを特徴とする、バイオチップ。 - 前記基板は、屈折率の異なる複数の物質を積層して形成されることを特徴とする、請求項1に記載のバイオチップ。
- 前記基板を形成する複数の物質のうち、前記試料と接する物質の屈折率が、前記試料の屈折率より大きいことを特徴とする、請求項2に記載のバイオチップ。
- 前記基板の前記試料が備えられた面側に、前記試料を挟んで第1マイクロレンズアレイが配置されており、
前記第1マイクロレンズアレイは、前記試料の各々に対応する第1レンズを有し、
前記第1レンズの焦点は前記試料の位置に一致することを特徴とする、請求項1に記載のバイオチップ。 - 前記試料が生物の遺伝情報を含んでいることを特徴とする、請求項1に記載のバイオチップ。
- 請求項1に記載のバイオチップと、光源と、光源からの励起光を前記試料に集光するための対物レンズと、前記試料から前記基板側に発生して前記遮光部材の前記開口を通過した光を受光するための受光レンズと、前記励起光を遮断するための光学フィルタと、前記受光レンズおよび前記光学フィルタを通過した光を受光する受光器とからなるバイオチップ読取装置。
- 請求項1に記載のバイオチップと、光源と、受光器とを用いた光検出方法であって、前記光源からの励起光を前記試料に照射することにより前記試料から発生した光のうち前記基板側に出射した光を、前記レンズにより集光し、前記試料の各々に対応するように前記遮光部材上に設けた開口を通過させて受光器により検出することを特徴とする、光検出方法。
- 前記光源からの励起光の照射を停止したのち、前記受光器による光検出を行うことを特徴とする、請求項7に記載の光検出方法。
Priority Applications (1)
| Application Number | Priority Date | Filing Date | Title |
|---|---|---|---|
| JP2002301288A JP3846397B2 (ja) | 2002-10-16 | 2002-10-16 | 共焦点光学系を備えたバイオチップ |
Applications Claiming Priority (1)
| Application Number | Priority Date | Filing Date | Title |
|---|---|---|---|
| JP2002301288A JP3846397B2 (ja) | 2002-10-16 | 2002-10-16 | 共焦点光学系を備えたバイオチップ |
Publications (2)
| Publication Number | Publication Date |
|---|---|
| JP2004138420A JP2004138420A (ja) | 2004-05-13 |
| JP3846397B2 true JP3846397B2 (ja) | 2006-11-15 |
Family
ID=32449670
Family Applications (1)
| Application Number | Title | Priority Date | Filing Date |
|---|---|---|---|
| JP2002301288A Expired - Fee Related JP3846397B2 (ja) | 2002-10-16 | 2002-10-16 | 共焦点光学系を備えたバイオチップ |
Country Status (1)
| Country | Link |
|---|---|
| JP (1) | JP3846397B2 (ja) |
Families Citing this family (12)
| Publication number | Priority date | Publication date | Assignee | Title |
|---|---|---|---|---|
| JP4581498B2 (ja) * | 2004-06-15 | 2010-11-17 | カシオ計算機株式会社 | 生体高分子分析チップ |
| JP4500612B2 (ja) | 2004-07-09 | 2010-07-14 | 横河電機株式会社 | バイオチップ読取装置 |
| JP2006058044A (ja) * | 2004-08-18 | 2006-03-02 | Yokogawa Electric Corp | バイオチップ用カートリッジおよびバイオチップ読取装置 |
| US7760274B2 (en) | 2005-12-08 | 2010-07-20 | Electronics And Telecommunications Research Institute | Programmable mask for fabricating biomolecule array or polymer array, apparatus for fabricating biomolecule array or polymer array including the programmable mask, and method of fabricating biomolecule array or polymer array using the programmable mask |
| EP1963824A2 (en) * | 2005-12-15 | 2008-09-03 | Koninklijke Philips Electronics N.V. | Device for analyzing samples |
| JP4782593B2 (ja) | 2006-03-13 | 2011-09-28 | 株式会社日立製作所 | 光検出装置 |
| KR100958720B1 (ko) | 2007-12-17 | 2010-05-18 | 한국전자통신연구원 | 유비쿼터스 바이오 칩 판독 시스템, 이에 적용되는 바이오칩 및 그 제조 방법 |
| EP2291643B1 (en) * | 2008-06-24 | 2016-11-23 | Koninklijke Philips N.V. | Microarray characterization system and method |
| JP5609611B2 (ja) * | 2010-03-11 | 2014-10-22 | 株式会社リコー | 分光特性取得装置、画像評価装置、及び画像形成装置 |
| CN102608032A (zh) * | 2012-04-10 | 2012-07-25 | 无锡国盛精密模具有限公司 | 一种集成微透镜阵列装置 |
| CN109433282B (zh) * | 2018-11-27 | 2024-02-13 | 茂莱(南京)仪器有限公司 | 一种台阶式生物芯片以及用于检测该生物芯片的基因测序装置 |
| CN116087159A (zh) * | 2021-11-08 | 2023-05-09 | 深圳市云际生物技术有限公司 | 一种免疫荧光分析仪 |
-
2002
- 2002-10-16 JP JP2002301288A patent/JP3846397B2/ja not_active Expired - Fee Related
Also Published As
| Publication number | Publication date |
|---|---|
| JP2004138420A (ja) | 2004-05-13 |
Similar Documents
| Publication | Publication Date | Title |
|---|---|---|
| JP5816083B2 (ja) | マイクロアレイ評価システム及び方法 | |
| EP1055925B1 (en) | Biochip reader | |
| EP2745094B1 (en) | Optical biosensor with a plurality of sensor regions | |
| US6921908B2 (en) | Methods for fluorescence detection that minimizes undesirable background fluorescence | |
| KR100590548B1 (ko) | 광검출 장치 | |
| US20160187333A1 (en) | Planar waveguide based cartridges and associated methods for detecting target analyte | |
| JP3846397B2 (ja) | 共焦点光学系を備えたバイオチップ | |
| US20100136709A1 (en) | Receptacle and method for the detection of fluorescence | |
| US6714297B1 (en) | Light detecting optical device | |
| JP3747890B2 (ja) | 光学部品ならびに当該光学部品を用いた光検出装置、光検出方法および分析方法 | |
| JP5497088B2 (ja) | 光学ユニット、蛍光検出装置、および、蛍光検出方法 | |
| CN101868752A (zh) | 用于利用线束照射样本的光学照射装置 | |
| US11366060B2 (en) | Apparatus for detecting fluorescent light emitted from a sample, a biosensor system, and a detector for detecting supercritical angle fluorescent light | |
| US12000785B2 (en) | Apparatus and method for detecting photoluminescent light emitted from a sample | |
| JP6738070B2 (ja) | 光学的検出装置及び光学的検出方法 | |
| CN101939635A (zh) | 基于倏逝照明和荧光的分子诊断系统 | |
| JP2001074657A (ja) | 光計測方法および装置 | |
| CA2685574A1 (en) | Receptacle and method for the detection of fluorescence | |
| HK40037086A (en) | Device for use in the detection of binding affinities | |
| AU2003205102A1 (en) | Methods for fluorescence detection that minimizes undesirable background fluorescence |
Legal Events
| Date | Code | Title | Description |
|---|---|---|---|
| A621 | Written request for application examination |
Free format text: JAPANESE INTERMEDIATE CODE: A621 Effective date: 20041102 |
|
| A977 | Report on retrieval |
Free format text: JAPANESE INTERMEDIATE CODE: A971007 Effective date: 20060605 |
|
| TRDD | Decision of grant or rejection written | ||
| A01 | Written decision to grant a patent or to grant a registration (utility model) |
Free format text: JAPANESE INTERMEDIATE CODE: A01 Effective date: 20060801 |
|
| A61 | First payment of annual fees (during grant procedure) |
Free format text: JAPANESE INTERMEDIATE CODE: A61 Effective date: 20060814 |
|
| R150 | Certificate of patent or registration of utility model |
Free format text: JAPANESE INTERMEDIATE CODE: R150 |
|
| FPAY | Renewal fee payment (event date is renewal date of database) |
Free format text: PAYMENT UNTIL: 20090901 Year of fee payment: 3 |
|
| FPAY | Renewal fee payment (event date is renewal date of database) |
Free format text: PAYMENT UNTIL: 20100901 Year of fee payment: 4 |
|
| FPAY | Renewal fee payment (event date is renewal date of database) |
Free format text: PAYMENT UNTIL: 20100901 Year of fee payment: 4 |
|
| FPAY | Renewal fee payment (event date is renewal date of database) |
Free format text: PAYMENT UNTIL: 20110901 Year of fee payment: 5 |
|
| FPAY | Renewal fee payment (event date is renewal date of database) |
Free format text: PAYMENT UNTIL: 20110901 Year of fee payment: 5 |
|
| FPAY | Renewal fee payment (event date is renewal date of database) |
Free format text: PAYMENT UNTIL: 20120901 Year of fee payment: 6 |
|
| LAPS | Cancellation because of no payment of annual fees |