JP3774792B2 - 窓ガラス安定具用植毛部 - Google Patents
窓ガラス安定具用植毛部 Download PDFInfo
- Publication number
- JP3774792B2 JP3774792B2 JP09448494A JP9448494A JP3774792B2 JP 3774792 B2 JP3774792 B2 JP 3774792B2 JP 09448494 A JP09448494 A JP 09448494A JP 9448494 A JP9448494 A JP 9448494A JP 3774792 B2 JP3774792 B2 JP 3774792B2
- Authority
- JP
- Japan
- Prior art keywords
- window glass
- flocked
- pile
- fibers
- stabilizer
- Prior art date
- Legal status (The legal status is an assumption and is not a legal conclusion. Google has not performed a legal analysis and makes no representation as to the accuracy of the status listed.)
- Expired - Lifetime
Links
- 239000005357 flat glass Substances 0.000 title claims description 51
- 239000003381 stabilizer Substances 0.000 title claims description 47
- 239000000835 fiber Substances 0.000 claims description 68
- -1 polyethylene Polymers 0.000 claims description 27
- 229920000573 polyethylene Polymers 0.000 claims description 17
- 239000004698 Polyethylene Substances 0.000 claims description 16
- 229920001577 copolymer Polymers 0.000 claims description 16
- 229910052731 fluorine Inorganic materials 0.000 claims description 13
- 239000011737 fluorine Substances 0.000 claims description 13
- YCKRFDGAMUMZLT-UHFFFAOYSA-N Fluorine atom Chemical compound [F] YCKRFDGAMUMZLT-UHFFFAOYSA-N 0.000 claims description 12
- 239000000463 material Substances 0.000 claims description 10
- 229920000840 ethylene tetrafluoroethylene copolymer Polymers 0.000 claims description 2
- 238000000034 method Methods 0.000 description 21
- 239000004744 fabric Substances 0.000 description 16
- 238000009941 weaving Methods 0.000 description 12
- 239000000853 adhesive Substances 0.000 description 10
- 230000001070 adhesive effect Effects 0.000 description 9
- 239000011521 glass Substances 0.000 description 9
- 230000002159 abnormal effect Effects 0.000 description 8
- 238000009940 knitting Methods 0.000 description 8
- 239000000758 substrate Substances 0.000 description 8
- 125000001153 fluoro group Chemical group F* 0.000 description 6
- 230000003014 reinforcing effect Effects 0.000 description 6
- 230000000052 comparative effect Effects 0.000 description 5
- 239000000178 monomer Substances 0.000 description 5
- 229920002994 synthetic fiber Polymers 0.000 description 5
- 239000012209 synthetic fiber Substances 0.000 description 5
- VGGSQFUCUMXWEO-UHFFFAOYSA-N Ethene Chemical compound C=C VGGSQFUCUMXWEO-UHFFFAOYSA-N 0.000 description 4
- 239000005977 Ethylene Substances 0.000 description 4
- 238000004140 cleaning Methods 0.000 description 4
- 239000011247 coating layer Substances 0.000 description 4
- 230000000694 effects Effects 0.000 description 4
- BFKJFAAPBSQJPD-UHFFFAOYSA-N tetrafluoroethene Chemical group FC(F)=C(F)F BFKJFAAPBSQJPD-UHFFFAOYSA-N 0.000 description 4
- 239000004743 Polypropylene Substances 0.000 description 3
- 238000011156 evaluation Methods 0.000 description 3
- 244000144992 flock Species 0.000 description 3
- 238000002156 mixing Methods 0.000 description 3
- 239000000203 mixture Substances 0.000 description 3
- 229920000728 polyester Polymers 0.000 description 3
- 229920001155 polypropylene Polymers 0.000 description 3
- 229920001343 polytetrafluoroethylene Polymers 0.000 description 3
- 239000004810 polytetrafluoroethylene Substances 0.000 description 3
- 229920005989 resin Polymers 0.000 description 3
- 239000011347 resin Substances 0.000 description 3
- 239000005060 rubber Substances 0.000 description 3
- 238000007789 sealing Methods 0.000 description 3
- XLYOFNOQVPJJNP-UHFFFAOYSA-N water Substances O XLYOFNOQVPJJNP-UHFFFAOYSA-N 0.000 description 3
- CERQOIWHTDAKMF-UHFFFAOYSA-N Methacrylic acid Chemical compound CC(=C)C(O)=O CERQOIWHTDAKMF-UHFFFAOYSA-N 0.000 description 2
- 239000004952 Polyamide Substances 0.000 description 2
- XTXRWKRVRITETP-UHFFFAOYSA-N Vinyl acetate Chemical compound CC(=O)OC=C XTXRWKRVRITETP-UHFFFAOYSA-N 0.000 description 2
- 238000005299 abrasion Methods 0.000 description 2
- 150000001336 alkenes Chemical class 0.000 description 2
- 230000015572 biosynthetic process Effects 0.000 description 2
- UUAGAQFQZIEFAH-UHFFFAOYSA-N chlorotrifluoroethylene Chemical group FC(F)=C(F)Cl UUAGAQFQZIEFAH-UHFFFAOYSA-N 0.000 description 2
- 238000000576 coating method Methods 0.000 description 2
- 238000005520 cutting process Methods 0.000 description 2
- 239000000428 dust Substances 0.000 description 2
- 238000004070 electrodeposition Methods 0.000 description 2
- 239000002657 fibrous material Substances 0.000 description 2
- 229920001519 homopolymer Polymers 0.000 description 2
- 150000002430 hydrocarbons Chemical group 0.000 description 2
- 238000004519 manufacturing process Methods 0.000 description 2
- JRZJOMJEPLMPRA-UHFFFAOYSA-N olefin Natural products CCCCCCCC=C JRZJOMJEPLMPRA-UHFFFAOYSA-N 0.000 description 2
- 229920002647 polyamide Polymers 0.000 description 2
- 229920005678 polyethylene based resin Polymers 0.000 description 2
- 238000002360 preparation method Methods 0.000 description 2
- 238000011084 recovery Methods 0.000 description 2
- 229920003002 synthetic resin Polymers 0.000 description 2
- 239000000057 synthetic resin Substances 0.000 description 2
- VXNZUUAINFGPBY-UHFFFAOYSA-N 1-Butene Chemical compound CCC=C VXNZUUAINFGPBY-UHFFFAOYSA-N 0.000 description 1
- 201000004384 Alopecia Diseases 0.000 description 1
- OKTJSMMVPCPJKN-UHFFFAOYSA-N Carbon Chemical group [C] OKTJSMMVPCPJKN-UHFFFAOYSA-N 0.000 description 1
- 239000004215 Carbon black (E152) Substances 0.000 description 1
- 229920001780 ECTFE Polymers 0.000 description 1
- 239000004705 High-molecular-weight polyethylene Substances 0.000 description 1
- 239000002033 PVDF binder Substances 0.000 description 1
- 239000004699 Ultra-high molecular weight polyethylene Substances 0.000 description 1
- NIXOWILDQLNWCW-UHFFFAOYSA-N acrylic acid group Chemical group C(C=C)(=O)O NIXOWILDQLNWCW-UHFFFAOYSA-N 0.000 description 1
- 125000001931 aliphatic group Chemical group 0.000 description 1
- 125000004429 atom Chemical group 0.000 description 1
- IAQRGUVFOMOMEM-UHFFFAOYSA-N butene Natural products CC=CC IAQRGUVFOMOMEM-UHFFFAOYSA-N 0.000 description 1
- 229910052799 carbon Inorganic materials 0.000 description 1
- 238000006243 chemical reaction Methods 0.000 description 1
- 239000011248 coating agent Substances 0.000 description 1
- 235000009508 confectionery Nutrition 0.000 description 1
- 238000009826 distribution Methods 0.000 description 1
- 238000003682 fluorination reaction Methods 0.000 description 1
- 150000002221 fluorine Chemical class 0.000 description 1
- 208000024963 hair loss Diseases 0.000 description 1
- 230000003676 hair loss Effects 0.000 description 1
- HCDGVLDPFQMKDK-UHFFFAOYSA-N hexafluoropropylene Chemical group FC(F)=C(F)C(F)(F)F HCDGVLDPFQMKDK-UHFFFAOYSA-N 0.000 description 1
- 229930195733 hydrocarbon Natural products 0.000 description 1
- 230000001788 irregular Effects 0.000 description 1
- 238000002955 isolation Methods 0.000 description 1
- 239000004973 liquid crystal related substance Substances 0.000 description 1
- 238000002074 melt spinning Methods 0.000 description 1
- 229920001778 nylon Polymers 0.000 description 1
- 229920005548 perfluoropolymer Polymers 0.000 description 1
- 230000002093 peripheral effect Effects 0.000 description 1
- 230000000704 physical effect Effects 0.000 description 1
- 239000002985 plastic film Substances 0.000 description 1
- 229920000058 polyacrylate Polymers 0.000 description 1
- 229920013716 polyethylene resin Polymers 0.000 description 1
- 229920000139 polyethylene terephthalate Polymers 0.000 description 1
- 239000005020 polyethylene terephthalate Substances 0.000 description 1
- 229920000642 polymer Polymers 0.000 description 1
- 229920000098 polyolefin Polymers 0.000 description 1
- 229920002981 polyvinylidene fluoride Polymers 0.000 description 1
- 238000003825 pressing Methods 0.000 description 1
- 230000002265 prevention Effects 0.000 description 1
- QQONPFPTGQHPMA-UHFFFAOYSA-N propylene Natural products CC=C QQONPFPTGQHPMA-UHFFFAOYSA-N 0.000 description 1
- 125000004805 propylene group Chemical group [H]C([H])([H])C([H])([*:1])C([H])([H])[*:2] 0.000 description 1
- 230000002787 reinforcement Effects 0.000 description 1
- 239000000126 substance Substances 0.000 description 1
- 238000004381 surface treatment Methods 0.000 description 1
- 238000010301 surface-oxidation reaction Methods 0.000 description 1
- 238000010998 test method Methods 0.000 description 1
- 230000001052 transient effect Effects 0.000 description 1
- 238000002054 transplantation Methods 0.000 description 1
- 229920000785 ultra high molecular weight polyethylene Polymers 0.000 description 1
Images
Classifications
-
- B—PERFORMING OPERATIONS; TRANSPORTING
- B60—VEHICLES IN GENERAL
- B60J—WINDOWS, WINDSCREENS, NON-FIXED ROOFS, DOORS, OR SIMILAR DEVICES FOR VEHICLES; REMOVABLE EXTERNAL PROTECTIVE COVERINGS SPECIALLY ADAPTED FOR VEHICLES
- B60J10/00—Sealing arrangements
- B60J10/70—Sealing arrangements specially adapted for windows or windscreens
- B60J10/74—Sealing arrangements specially adapted for windows or windscreens for sliding window panes, e.g. sash guides
- B60J10/75—Sealing arrangements specially adapted for windows or windscreens for sliding window panes, e.g. sash guides for sealing the lower part of the panes
Landscapes
- Engineering & Computer Science (AREA)
- Mechanical Engineering (AREA)
- Window Of Vehicle (AREA)
Description
【産業上の利用分野】
本発明は、自動車などの窓ガラス安定具用植毛部に関し、詳しくは耐摩耗性及び滑り性を改良し、且つ窓ガラスの開閉時等における不快な擦れ音発生のない植毛部に関する。
【0002】
【従来の技術】
例えば、サッシュレスドア型の自動車では、一般に走行時やドアの開閉時の窓ガラスの振動防止対策として、ドア本体内に窓ガラス安定具を配設して窓ガラスの振れを抑えている(図1参照)。この窓ガラス安定具は、ウエザーストリップがドアと窓ガラスのシールを主な目的とするのに対し、窓ガラスの振動防止を最大の目的とするもので、植毛部を窓ガラスに部分的に当接させたものである。
【0003】
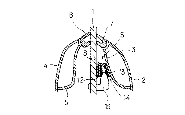
前記につき図面で説明すると、次の通りである。図1は、フロントドアの全体を概略的断面図で示している。ここで、(1)は窓ガラスで、基本的にはこれをドアアウタパネル(4)とドアインナパネル(2)で支持する構造になっている。(3)と(5)は、各々該パネル(2)、(4)の補強用パネルである。そして、該パネルの開口部位置に、シール用ゴムで構成されるウエザーストリップを内外に(6)と(7)の如く窓ガラス(1)が摺動可能な程度に当接するように固設してある。
【0004】
また、(S)は窓ガラス安定具で、例えばコの字形の基体(8)に植毛部材(9)を固着して形成され、この安定具(S)を補強パネル(3)で支持している。このとき植毛部材(9)は、該ガラスに対し所定の押圧がかかるようになっており、この様にして窓ガラスの振動を防止している。
【0005】
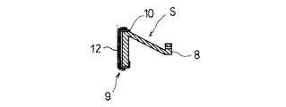
なお、該安定具(S)は、該ガラスの内面に対して配置されているが、外面に、或いは外内両面に配設される場合もある。そして、配設数はドアの大きさによって複数個になる場合もある。ここで図2は、図1に例示された安定具(S)を斜視図で示し、(10)は植毛部が配設されている基布を示す。図3は、植毛部材(9)の一例を示す断面図であり、本例における植毛部材(9)は基布(10)に植毛部(12)が付設されてなるもので、その裏面には脱毛を防止するために接着剤、合成樹脂等によるコーティング層(11)が設けられたものである。
【0006】
上記のような窓ガラス安定具に使用される植毛部材は、防振を主たる目的とするが、窓ガラスの開閉時において、特に耐摩擦性、滑り性、不快な擦れ音の防止、さらには粉塵の噛み込みによる損傷の防止などの機能も同時に備える必要がある。
【0007】
従って、これら種々の要因も勘案して窓ガラス安定具が種々検討されている。例えば、特公昭61−19446号公報では、窓ガラスと摺接する面の略中心部にラウンド部を設け、該ラウンド部にフッ素繊維の直毛を、その周辺にはカール状のナイロン系繊維を植毛した窓ガラス安定具が提案されている。
【0008】
また、該安定具の形状の面から、例えば実開昭56−132111号公報には、植毛が該ガラスと接触する面の中央部を打ち抜いた窓ガラス安定具が提案されている。さらには、実開昭63−176816号公報には、フッ素系合成樹脂による小突起物、ポッチ状突起物又は縦長のストライプ状突起物を形成し、この面を窓ガラスに当接するようにした窓ガラス安定具も提案されている。
【0009】
【発明が解決しようとする課題】
前記の各公報は、各々先行技術に対して改良された技術ではあるが、上記の複数の要求事項をすべて高度に満足するものはなく、一層の改良が望まれている。
【0010】
特に、より高度な耐摩耗性、滑り性、さらには窓ガラスの開閉時に、窓ガラスに付着する水分が窓ガラスの開閉などによって蒸発、乾燥する過程で起こる不快音の解消要求に対しては従来のものは十分とは言い難い。
【0011】
そこで本発明者らは、この様な問題の解決手段について鋭意検討した結果、ついに本発明を完成するに至った。
【0012】
すなわち、上記の問題は次の手段によって容易に達成される。
【0013】
【課題を解決するための手段】
本発明は、粘度平均分子量で70万〜600万のポリエチレン系繊維を含んでなる窓ガラス安定具用植毛部を提供せんとするものであり、また、本発明は、粘度平均分子量で70万〜600万のポリエチレン系繊維を断面積率で99〜50%、フッ素系繊維を断面積率で1〜50%含んでなる窓ガラス安定具用植毛部を提供せんとする点にある。
【0014】
以下、本発明を詳細に説明する。
【0015】
本発明において、窓ガラス安定具(以下単に安定具という)は、特に防振機能を持ち、自動車等のドアに使用されるものである。この安定具は、ウエザーストリップのようにシール機能を有するものとは異なり、その材質、形状、構造、配設する数及び位置は特に限定されず、種々の態様が可能である。しかしながら、一般的にはこの様な安定具はその植毛部が窓ガラスの一部と当接すれば十分であり、その配設場所も通常ウエザーストリップよりも内側(下側)である。かかる安定具は窓ガラスの防振効果が発現される範囲で設けられていればよく、配設される数も、特に限定されるものではないが、通常1個から数個である。
【0016】
植毛部には、粘度平均分子量(以下単に分子量と呼ぶ)70万〜600万、好ましくは100〜250万のポリエチレン系繊維を用いる。このようなポリエチレン系繊維は素材として分子量70万〜600万程度の高分子量、超高分子量ポリエチレン系樹脂を含むものである。この際、分子量は一般に知られている粘度法により求めたものである。ポリエチレン系繊維の分子量が70万〜600万の範囲にあると、耐摩耗性がポリプロピレン、ポリエステル等の他の素材よりも優れ、且つ押圧による衝撃にも強く、植毛部が容易には倒れないため好ましい。
【0017】
植毛部の素材であるポリエチレン系樹脂は、エチレンの重合体であるが、これと若干の他のオレフィン単量体等のモノマーが共重合されたものであってもよい。エチレンと共重合し得る他のモノマーとしては、プロピレン、ブテン、酢酸ビニル、(メタ)アクリル酸、(メタ)アクリル酸エステル、テトラフルオロエチレン、クロロトリフルオロエチレン等が挙げられ、これらを1種又は2種以上用いて共重合体とすることができる。この様な共重合体としては、例えば、エチレン−プロピレン共重合体、エチレン−ブテン共重合体、エチレン−テトラフルオロエチレン共重合体、エチレン−クロロトリフルオロエチレン共重合体等が好ましいものとして挙げられる。
【0018】
しかしながら、該共重合体中のオレフィン単量体含量は、30モル%程度以下、好ましくは10モル%程度以下、より好ましくは5モル%程度以下である。この様なポリエチレンを主鎖とする共重合体の場合、エチレン部分の分子量が70万以上である。
【0019】
上記ポリエチレン系繊維は更に「他の合成繊維」(異種繊維)を混合して植毛することもできる。この場合の混合量は、本発明の本質を変えない程度に制限され、他の合成繊維の割合は、断面積率で1〜50%程度である。好ましい「他の合成繊維」としては、フッ素系繊維、ポリアミド系繊維、ポリエステル系繊維、液晶繊維、本発明に係る特定のポリエチレン系樹脂以外のポリオレフィン系繊維(例えばポリプロピレン系繊維)などが例示され、該フッ素系繊維の混合量は、断面積率で1〜50%、好ましくは5〜30%である。
【0020】
なお、ここで断面積率とは、単位面積(1cm2)当たりの植毛部の全断面積に対する異種繊維の断面積の比率を%で示したものである。
【0021】
本発明において、フッ素系繊維と混合された繊維を用いた植毛部は、ポリエチレン系繊維単独の植毛部に比較して、耐久性のバロメーターとなる弾性回復率が更に改良されるので好ましい。このフッ素系繊維は一般に知られているフッ素含有の脂肪族系ポリマーにより得られる繊維である。該フッ素系繊維としては、オレフィンの炭化水素の半分以上の水素原子がフッ素原子で置換された単量体のホモポリマー又は共重合体であり、例えば、炭素に結合する原子がすべてフッ素原子であるパーフルオロ重合体の1種であるポリテトラフルオロエチレン(PTFE)、テトラフルオロエチレンとパーフルオロアルキルビニルエーテルの共重合体(PFA)、テトラフルオロエチレンとヘキサフルオロプロピレンの共重合体(FEP)、フッ素化炭化水素の1種であるポリビニリデンフルオライド(PUDF)、テトラフルオロエチレンとエチレンとの共重合体、クロロトリフルオロエチレンとエチレンとの共重合体等を例示できる。
【0022】
就中、パーフルオロ体は、部分フルオロ体よりも好ましく、さらにはホモポリマーよりも共重合系のフルオロ体が好ましい。
【0023】
なお、このフッ素系繊維がパーフルオロ体と部分フルオロ体とによる繊維の混合であったり、また、前記したパーフルオロ体や部分フルオロ体は物性の異なる繊維の混合物であってもよい。
【0024】
前記した混合された繊維を植毛する場合の各繊維における形状(断面)、太さ、糸条の形態等についても、前記ポリエチレン系繊維の場合と同じで、特に制限はされないが、特にフッ素系繊維の場合、太さはより太い方が好ましく、後記するような方法により円形断面積に換算した場合における1本の直径が約100〜200μm程度を例示できる。
【0025】
本発明で使用する繊維は、基本的には前記した特定のポリエチレン系樹脂を溶融紡糸して得られるもので、特に限定されないが、例えば、モノフィラメント、マルチフィラメント、細かくカッティングされたチョップド繊維などが挙げられる。他の方法によって得られる繊維状物も本発明の繊維に包含される。
【0026】
これら繊維或いは繊維状物の形状、長さ、太さについては特に制限されない。例えば、形状については、円形、中空、異形の断面形状を例示でき、その1本の太さは円形断面積に換算したときの直径が約5〜150μm程度、好ましくは20〜120μm程度、長さについては後述のパイル編・織では長尺フィラメントを用い、静電植毛では0.3〜1.5mm程度のチョップド繊維を用いるのが好ましい。なお、前記円形断面積については異形断面、中空断面等を有する繊維はすべて空間を除き円形に換算したときの直径を示すもので、円形の場合は換算を要しないものである。
【0027】
植毛がフィラメントで行われる場合には、一般には糸条形態、すなわちマルチフィラメントが用いられる。このマルチフィラメント中の単糸(フィラメント)の数は、特に制限されないが、後記するパイル織による植毛形成の際の織り特性等を考慮すると、約10〜500本程度である。この範囲は、フィラメント自身の太さに依存するもので、フィラメントが太い場合には、その本数を少なくして織り易くするとよい。
【0028】
なお、前記のフィラメントの太さを例えば20〜120μmとして、これを100本そろえて糸とした場合の太さをデニールで換算すると、本発明にかかるポリエチレン糸繊維の場合、約400〜15000デニールに相当する。
糸条としては、例えば無撚または加撚の単糸、無撚の揃い糸、2体以上の単糸に撚をかけた撚糸を挙げることができるが、これらに限定されない。ここで、撚のかけ方としては、S撚、Z撚、共撚、甘撚、強撚、もろ撚、ちりめん撚又はこれらの混合撚等を例示することができる。また、芯糸にフィラメント糸をコイル状に巻き付けたカバードヤーンも例示でき、就中引揃い糸、撚糸又はカバードヤーンは好ましく、さらには撚糸がより好ましいものとして例示される。なお、ここで糸条として紡績糸も含まれる。なお、こうした引揃い糸、撚糸又はカバードヤーン等はモノフィラメントで構成されていてもよく、モノとマルチが混合した構成であってもよい。
【0029】
また、前記糸条におけるフィラメントは、同一の繊径を有するものから形成されてもよいが、異径のフィラメントを適当な割合で混合して前記糸条としてもよい。
【0030】
また、分子量の異なるポリエチレン系繊維のフィラメントを前記糸条としてもよく、更に他の合成繊維(異種繊維)を混合して植毛することもできる。
【0031】
次に、植毛部及び基布から構成される植毛部材の作製方法について説明する。先ず植毛部は、先端がカットされたパイル(カットパイル)が直立して植毛されているものが好ましいが、カットされたパイルであることや、全ての繊維が直立であることは条件ではなく、本発明の効果を阻害しない範囲内であれば、植毛部材の一部又は全部がカットされていないパイル及び/又は傾斜した状態での植毛であってもよい。また、植毛の先端がループ状のパイルであってもよく、ループ状パイルとカットパイルの混合であってもよい。
【0032】
植毛部は、大別して、次に例示する2つの方法により通常作成される。1つの方法は、安定具を構成する基体の一面に直接繊維を植毛する直接法であり、他の1つは別途作成された植毛部材を該基体に固着する間接法である。ここで、直接法は、例えば基体面に接着剤を付着しておき、短繊維状、パイル状などのチョップド繊維を電着植毛する方法が代表例として挙げられる。このように直接法のときは、植毛部と植毛部材が同じものを意味することもある。また、プラスチックシート、ゴム板等に電着植毛し、それを基体面に固着してもよい。
【0033】
一方、間接法は前記の如くパイル織やパイル編によって植毛する方法を代表例として挙げることができる。すなわち、その方法としては図3に示すように基布(10)を構成する繊維と、植毛部(12)を構成する繊維とを後者がパイル組織となるようにパイル織もしくはパイル編し、パイルをカットしていわゆるカットパイルによる植毛部を作成するものである。パイル編・織はシングルパイルでもダブルパイルでもよく、また必要に応じてパイル面と反対面を適宜樹脂、接着剤等によるコーティング層(11)を形成してセットし、植毛部の脱落を一層確実に防止するようにしてもよい。前記した基布(10)を構成する繊維については、特に制限はないが、ポリエステル、ポリアミド、ポリプロピレン、アクリル系重合体等の合成繊維の他に天然繊維、化学繊維等の各種繊維が使用可能である。また、前記したコーティング層を形成する樹脂、接着剤としては、特に制限はないが、アクリル系、酢酸ビニル系のもの等を例示でき、耐熱性を有するものがより好ましい。以上はカットパイル構造についてであるが、シングルパイル編織物をカットしない、いわゆるループ状のパイル構造の植毛部も本発明に包含される。
【0034】
この様に、パイル編・織については前記の如くダブルパイル編・織機で二重織し、2つにカットしてカットパイルを得るダブルフェイスカットパイルでもよいし、シングルパイルの編・織機で得られたループ(輪奈状)のパイルでもよい。また、部分的にパイル長に高低のあるハイローパイル(長短パイル)とすることも可能である。
【0035】
以上の各種方法によって得られた植毛部は、フィラメントの太さ、糸条の太さ、作製方法などによって植毛の分布状態、すなわち植毛(パイル)密度も異なる。しかしながら、本発明はなんらの制限を受けるものではないが、植毛密度についてはその粗密にある程度効果上の差を見る場合があり、植毛は、例えば単位面積(1cm2)当たり単糸に換算して約300〜10000本程度であるのが好ましい。また、植毛長は、一般には約3〜10mm程度である。しかしながら、前記した電着植毛法で植毛部を形成する場合は、植毛長は0.3〜1.5mm程度を例示できる。
【0036】
前記の如く、製織又は編成によって得られた植毛部材は、基布からの脱毛とパイル補強のために仕上がった時点で接着剤でバックコートするのが好ましい。接着剤、コーティング方法は特に制限されないが、ポリエチレン繊維自身の接着性はよくないので、特に制限はないが、接着剤の選定とともに接着性の向上のための、表面酸化処理、プライマーの塗布などの一般の表面処理を行うのが好ましい。
【0037】
かくして得られた植毛部材を本発明にかかる安定具にするためには、各種基体(8)の形状と大きさに合わせて所定の寸法にカットし、該基体(8)に固着する必要がある。この際、基体の形成、寸法、材質等及び固着方法については、特に制限されないが、該固着方法としては、必要な基体の一面に接着剤(耐熱性の高いものが好ましい)で接着する方法や、物理的に締着、螺着する方法などが例示される。
【0038】
なお、固着に際して、該基体と植毛部材との間に適当な緩衝材、例えばゴム、スポンジ、フェルト等を介在させてもよい。
【0039】
なお、安定具の上部位置に、安定具の幅よりも大きめに清掃部を設け、これを安定具と一体化してもよい。この清掃部は窓ガラスの開閉の際に、窓ガラスに付着した粉塵などの異物を清掃除去し、安定具への異物の噛み込みをなくすよう完全を期すためのものである。この清掃部にも本発明のポリエチレン系繊維を含む植毛部を併用することもできるが、この場合、一般には植毛長は安定具のそれよりも長く、繊径は小さく、パイル密度はより密であるのが好ましい。
【0040】
更に、本発明にかかる繊維を図6に示すように窓ガラスに付設されたストッパー受け(14)における内周面に植毛して植毛部を形成することも可能である。一般に、自動車の窓ガラスの下部にはストッパー(15)が付設されており、このストッパー(15)は例えばインナー部の補強用パネル(3)に設けられたストッパー受け(14)と摺接・咬合することによって、窓ガラスの上方への移動がストップするようになっている。従って、ストッパー受け(14)はストッパー(15)をはさみ込む構成であり、その中にストッパー(15)が入り込むことによって、窓ガラスの上方への移動はストップし、全開時における窓ガラスの振動を防止するのである。このストッパー受け(14)の構造は適宜でよいが、例えば図6にその構造が示される。この様なストッパー受け(14)のストッパーと摺接する部分に本発明の繊維を用い、基布(10)等を介して、又は介さずに植毛部(12)を形成することも可能である。この際、ストッパー受け(14)を本発明に係る安定具と一体的に設けることも可能であり、この様な安定具を作製するに際し、そのストッパー受け(14)のストッパーと摺接する部分に、本発明に係る繊維を用い、図6に示すように植毛部(13)を形成してもよい。この様な構成とすることで、本発明に係る繊維は一層その用途が広がる。なお、この様なストッパー受けも本発明の窓ガラス安定具の一種である。
【0041】
【実施例】
次に実施例と比較例とによって本発明を更に詳述するが、これらが本発明の技術的範囲を制限するものではないことは言うまでもない。
【0042】
実施例1
ここでは、ダブルパイル織機によって二重織し、中心部から2つにカットしてなるダブルフェースカットパイルを植毛部材とし、これを安定具の基体に固着して各種評価に供した。そのために先ず植毛部及び植毛部を保持する基布を次の通りに作製した。
【0043】
〔基布設計〕
縦糸30番手−2本、横糸40番手−2本のスパンポリエチレンテレフタレート繊維を使用し、打ち込み本数44本/インチ、縦55本/インチにて基布の作製準備をした。
【0044】
〔植毛部の設計〕
先ず、分子量約100万の高分子量ポリエチレンから紡糸された、分子量が約100万で、且つ円形断面を有しその繊径が38μである10dの単糸を用い、500d/50fのマルチフィラメントを作製した。このマルチフィラメント2本を用い、それぞれ120回/mでS撚をかけ、この2本のマルチフィラメントをS撚の状態で合糸し、次いで120回/mでZ撚をかけ、1本の撚糸を得た。
こうして得た撚糸を使用し、打ち込み本数縦9本/cm、横8本/cmにて植毛部を作製する準備をした。
【0045】
上記設計により、二重パイル織機を用いて、カット後のパイル長が5.3mm、基布巾40mm、植毛巾15mmになるようにダブルパイル織物を作製し、二重織物の中央部をカットして2枚のカットパイル織物を得た。しかる後、パイルが脱毛しないようにアクリル−スチレン系の接着剤にてパイル面の反対面にバックコーティングを施した。なお、パイル密度は単糸換算で7200本/cm2であった。
【0046】
こうして得られたカットパイル織物を所定の形状にカットして植毛部材を得、その窓ガラスに対する滑り性、異音(不快音)及び摩耗について評価した。
【0047】
なお、ここで滑り性はASTM・D1897に記載の試験法に準じて1kg荷重下にセミウエット環境での動摩擦係数(μd)を測定した。ここでのセミウエットとは、ガラス摺動面上を噴霧器により均一に水をかけた濡れ状態(ウエット状態)から同面上の水が蒸発・乾燥する状態(ドライ状態)までの過渡的状態を指す。
【0048】
また、異音は図4と図5に示す形状の安定具(植毛接触面積10×25mm)を、自動車のフロントドアのドアインナパネルの補強用パネルに固定して、植毛部分を窓ガラスに当接して、次の条件でテストをした。
【0049】
すなわち、該当接は20kgfの押圧をかけた状態で行い、窓ガラスの開閉の速度は、全閉・全開を1サイクルとして9秒/1サイクルとした。また、試験開始は乾燥状態(ドライ)から入り、3サイクルした時点の全閉状態で噴霧器を用いて全面に均一に水をかけて濡らし、ウエット状態(ウエット)にし、以後この状態から開閉を続行した。ウエット状態からの開閉で、徐々に該ガラス面の水分は蒸発し、再び最初の乾燥状態に戻るが、このウエットからドライにガラスの表面が変化する過程(セミウエット)での異音発生の有無を官能的に観察した。
【0050】
更に、摩耗については、前記異音テストで用いた安定具の基体に植毛部材を固着し、平面状態に置かれた窓ガラス板面上から、押圧10kgfで当接しつつ該ガラス板の長さ450mmを往復6秒を要して摺動せしめ、この往復回数で摺動面の植毛状態をチェックした。なお、植毛状態については摺動による植毛部の摩耗及び植毛部の変化を視覚により判断した。
【0051】
実施例2
実施例1で得たものと同一のマルチフィラメント(500d/50f)の1本を120回/mでS撚を行った。一方、PFAを4mmφの口金から溶融紡糸して、円形断面で繊径180μmのPFAモノフィラメントを得て、これを120回/mでS撚した。この2つのS撚糸をS撚の状態で合糸し、120回/mでZ撚を行って植毛部に用いる混合繊維糸を得た。
【0052】
前記混合繊維糸を使って、実施例1と同様に二重パイル織機にてカット後のパイル長5.3mmになるように中心部をカットし、2枚のパイル植毛部材を得、脱毛しないように、実施例1と同様に接着剤でバックコートを施した。
【0053】
なお、PFAの混合率は断面積率で約5%であった。
【0054】
得られたパイル植毛部材を所定形状にカットし、実施例1と同様の条件にて滑り性、異音、摩耗について評価した。
【0055】
比較例1
繊径47μmで33.3dのPFAフィラメント36本を準備し、1200d/36fのマルチフィラメント2本を得た。この2本のマルチフィラメントを実施例1と同様にして撚をかけ、1本の撚糸を得た。
【0056】
このパイル糸を使用して実施例1と同様にパイル織し、PFA繊維のみからなるパイル植毛部材を作製した。
【0057】
得られたパイル植毛部材を用いて、実施例1と同様にして滑り性、異音、摩耗について評価した。
【0058】
比較例2
PTFEによる繊径29μm、13.3dのフィラメント90本を準備し、1200d/90fのマルチフィラメントを2本使用する以外は実施例1と同様にして植毛部材を得、滑り性、異音、摩耗について評価した。
【0059】
実施例1および2、比較例1及び2の評価結果を表1にまとめた。
【0060】
【表1】
【0061】
A*:毛先が部分的にフィルム状に変化した。
【0062】
B*:植毛部がつぶれ、フィルム状となった。
【0063】
なお、表1中:
○は、全く異音無し;
△は、かすかに異音が発生するが、不快ではない;及び
×は、異音が発生し不快に感じることを各々示す。
【0064】
上記表1に示されるように、本発明の植毛部材は、比較例のものに比べて滑り性、異音及び摩擦の総合評価が極めて優れていることは、容易に理解できる。
【0065】
【発明の効果】
前記から明らかなように、本発明の植毛部は、極めて優れた滑り性を有しており、このことは窓ガラスの開閉がガラスの表面状態に影響されず、軽快に行えることを意味する。従って、ドライバーにとって極めて便利であり、低動力化も可能である。また、窓ガラスの開閉に際し、どのような環境下においても一切の不快音が聞かれず、従って快適なドライブを楽しむことができる。さらに、摩耗特性に優れており、10kgfという強力な押圧下での窓ガラスの開閉に対しても植毛部の損傷が全くなく、弾性回復性、すなわち耐久性にも優れている等、様々な効果をも奏するものである。
【0066】
しかも、本発明の植毛部はいかなる振動に対しても窓ガラスに微動も見られず、完全に防振できる。
【0067】
なお、本発明の植毛部は主として自動車の窓ガラス安定具用として使用されるが、摺動用植毛部材として他用途、例えば複写機関係のクリーニングブラシ、自動ドアの防振材、人工スキー状の滑走面(グランド材)にも利用可能である。
【図面の簡単な説明】
【図1】自動車におけるフロントドアの概略断面図である。
【図2】本発明に係る安定具(S)を示す斜視図である。
【図3】植毛部材の断面図である。
【図4】本発明の植毛部材の他の実施態様である。
【図5】本発明の安定具を側部から見たときの断面図である。
【図6】自動車におけるフロントドアの他の実施態様を示す概略断面図である。
【符号の説明】
1 窓ガラス
2 ドアインナパネル
3 補強用パネル(イン)
4 ドアアウタパネル
5 補強用パネル(アウト)
6 ウエザーストリップ(アウト)
7 ウエザーストリップ(イン)
8 基体
9 植毛部材
10 安定具
11 コーティング層
12 植毛部
13 ストッパー受けの植毛部
14 ストッパー受け
15 ストッパー
S 安定具
Claims (5)
- 粘度平均分子量で70万〜600万のポリエチレン系繊維を含んでなる窓ガラス安定具用植毛部(12)であって、該ポリエチレン系繊維を断面積率で99〜50%、フッ素系繊維を断面積率で1〜50%含んでなる窓ガラス安定具用植毛部(12)。
- 前記ポリエチレン系繊維の粘度平均分子量が100万〜250万である請求項1に記載の窓ガラス安定具用植毛部(12)。
- フッ素系繊維がパーフルオロ体からなる請求項1又は2に記載の窓ガラス安定具用植毛部(12)。
- フッ素系繊維がテトラフルオロエチレン−パーフルオロアルキルビニルエーテル共重合体、エチレン−テトラフルオロエチレン共重合体、テトラフルオロエチレン−ヘキサフルオロプロピレン共重合体から選ばれた少なくとも1種の共重合体である請求項1又は2に記載の窓ガラス安定具用植毛部(12)。
- 繊維がフィラメントからなる引揃い糸、撚糸及びカバードヤーンからなる群から選ばれる少なくとも1種である請求項1〜4のいずれかに記載の窓ガラス安定具用植毛部(12)。
Priority Applications (1)
| Application Number | Priority Date | Filing Date | Title |
|---|---|---|---|
| JP09448494A JP3774792B2 (ja) | 1994-05-06 | 1994-05-06 | 窓ガラス安定具用植毛部 |
Applications Claiming Priority (1)
| Application Number | Priority Date | Filing Date | Title |
|---|---|---|---|
| JP09448494A JP3774792B2 (ja) | 1994-05-06 | 1994-05-06 | 窓ガラス安定具用植毛部 |
Publications (2)
| Publication Number | Publication Date |
|---|---|
| JPH07300018A JPH07300018A (ja) | 1995-11-14 |
| JP3774792B2 true JP3774792B2 (ja) | 2006-05-17 |
Family
ID=14111563
Family Applications (1)
| Application Number | Title | Priority Date | Filing Date |
|---|---|---|---|
| JP09448494A Expired - Lifetime JP3774792B2 (ja) | 1994-05-06 | 1994-05-06 | 窓ガラス安定具用植毛部 |
Country Status (1)
| Country | Link |
|---|---|
| JP (1) | JP3774792B2 (ja) |
-
1994
- 1994-05-06 JP JP09448494A patent/JP3774792B2/ja not_active Expired - Lifetime
Also Published As
| Publication number | Publication date |
|---|---|
| JPH07300018A (ja) | 1995-11-14 |
Similar Documents
| Publication | Publication Date | Title |
|---|---|---|
| US5885686A (en) | Bicomponent elastomeric netting | |
| CA1145624A (en) | Adhesive tapes | |
| JPH0471522A (ja) | 波うちを防止したレンタル用マット | |
| JP2006526078A (ja) | 人工芝グラウンドカバーのためのヤーン、そのようなヤーンを含む人工芝グラウンドカバー及び競技用フィールド、及びそのようなヤーンを製造する方法 | |
| GB2069843A (en) | Elastomeric sheet materials for heart valve and other prosthetic implants | |
| JP3011602B2 (ja) | 寸法安定性に優れたダストコントロール用マット及びその製造法 | |
| US12492751B2 (en) | Drum sealing gasket for washing and drying machine | |
| McNally et al. | Cotton quality study: V: Resistance to abrasion | |
| US5948499A (en) | Flocked member for window stabilizer | |
| JP3774792B2 (ja) | 窓ガラス安定具用植毛部 | |
| US5189840A (en) | Device for holding slidable member | |
| CN210792347U (zh) | 一种弹性复合无纺布 | |
| JP3035692B2 (ja) | 摺動部材の抑え具 | |
| JP2002248047A (ja) | 生分解性カーペット | |
| JPH0313350B2 (ja) | ||
| JPH11335955A (ja) | 不織布 | |
| JP2008150724A (ja) | 布帛 | |
| JP3868596B2 (ja) | 人工芝生 | |
| KR100867752B1 (ko) | 터프티드 브러쉬매트 | |
| JP2532182Y2 (ja) | 靴拭マット | |
| JP3159653B2 (ja) | 高摩擦性繊維及び高摩擦性布帛 | |
| JPS599893Y2 (ja) | 帆布 | |
| US20250388069A1 (en) | Slip tape for automobile weather strips | |
| JPH05222661A (ja) | 摺動部材の抑え具を製造する方法 | |
| JP2009203558A (ja) | 布帛 |
Legal Events
| Date | Code | Title | Description |
|---|---|---|---|
| A521 | Written amendment |
Free format text: JAPANESE INTERMEDIATE CODE: A523 Effective date: 20051220 |
|
| A61 | First payment of annual fees (during grant procedure) |
Free format text: JAPANESE INTERMEDIATE CODE: A61 Effective date: 20060206 |
|
| R150 | Certificate of patent or registration of utility model |
Free format text: JAPANESE INTERMEDIATE CODE: R150 |
|
| FPAY | Renewal fee payment (event date is renewal date of database) |
Free format text: PAYMENT UNTIL: 20090303 Year of fee payment: 3 |
|
| FPAY | Renewal fee payment (event date is renewal date of database) |
Free format text: PAYMENT UNTIL: 20100303 Year of fee payment: 4 |
|
| FPAY | Renewal fee payment (event date is renewal date of database) |
Free format text: PAYMENT UNTIL: 20110303 Year of fee payment: 5 |
|
| FPAY | Renewal fee payment (event date is renewal date of database) |
Free format text: PAYMENT UNTIL: 20120303 Year of fee payment: 6 |
|
| FPAY | Renewal fee payment (event date is renewal date of database) |
Free format text: PAYMENT UNTIL: 20120303 Year of fee payment: 6 |
|
| FPAY | Renewal fee payment (event date is renewal date of database) |
Free format text: PAYMENT UNTIL: 20130303 Year of fee payment: 7 |
|
| FPAY | Renewal fee payment (event date is renewal date of database) |
Free format text: PAYMENT UNTIL: 20130303 Year of fee payment: 7 |
