JP3772693B2 - 車両用乗員拘束装置 - Google Patents

車両用乗員拘束装置 Download PDF

Info

Publication number
JP3772693B2
JP3772693B2 JP2001159327A JP2001159327A JP3772693B2 JP 3772693 B2 JP3772693 B2 JP 3772693B2 JP 2001159327 A JP2001159327 A JP 2001159327A JP 2001159327 A JP2001159327 A JP 2001159327A JP 3772693 B2 JP3772693 B2 JP 3772693B2
Authority
JP
Japan
Prior art keywords
movement amount
rear direction
right direction
occupant
restraint device
Prior art date
Legal status (The legal status is an assumption and is not a legal conclusion. Google has not performed a legal analysis and makes no representation as to the accuracy of the status listed.)
Expired - Fee Related
Application number
JP2001159327A
Other languages
English (en)
Other versions
JP2002347568A (ja
Inventor
雅明 小林
浩行 宮坂
Current Assignee (The listed assignees may be inaccurate. Google has not performed a legal analysis and makes no representation or warranty as to the accuracy of the list.)
Nissan Motor Co Ltd
Original Assignee
Nissan Motor Co Ltd
Priority date (The priority date is an assumption and is not a legal conclusion. Google has not performed a legal analysis and makes no representation as to the accuracy of the date listed.)
Filing date
Publication date
Application filed by Nissan Motor Co Ltd filed Critical Nissan Motor Co Ltd
Priority to JP2001159327A priority Critical patent/JP3772693B2/ja
Priority to EP02009702A priority patent/EP1262375B1/en
Priority to DE60211416T priority patent/DE60211416T2/de
Priority to US10/155,123 priority patent/US6811182B2/en
Publication of JP2002347568A publication Critical patent/JP2002347568A/ja
Application granted granted Critical
Publication of JP3772693B2 publication Critical patent/JP3772693B2/ja
Anticipated expiration legal-status Critical
Expired - Fee Related legal-status Critical Current

Links

Images

Classifications

    • BPERFORMING OPERATIONS; TRANSPORTING
    • B60VEHICLES IN GENERAL
    • B60RVEHICLES, VEHICLE FITTINGS, OR VEHICLE PARTS, NOT OTHERWISE PROVIDED FOR
    • B60R21/00Arrangements or fittings on vehicles for protecting or preventing injuries to occupants or pedestrians in case of accidents or other traffic risks
    • B60R21/01Electrical circuits for triggering passive safety arrangements, e.g. airbags, safety belt tighteners, in case of vehicle accidents or impending vehicle accidents
    • B60R21/013Electrical circuits for triggering passive safety arrangements, e.g. airbags, safety belt tighteners, in case of vehicle accidents or impending vehicle accidents including means for detecting collisions, impending collisions or roll-over
    • B60R21/0132Electrical circuits for triggering passive safety arrangements, e.g. airbags, safety belt tighteners, in case of vehicle accidents or impending vehicle accidents including means for detecting collisions, impending collisions or roll-over responsive to vehicle motion parameters, e.g. to vehicle longitudinal or transversal deceleration or speed value
    • BPERFORMING OPERATIONS; TRANSPORTING
    • B60VEHICLES IN GENERAL
    • B60RVEHICLES, VEHICLE FITTINGS, OR VEHICLE PARTS, NOT OTHERWISE PROVIDED FOR
    • B60R21/00Arrangements or fittings on vehicles for protecting or preventing injuries to occupants or pedestrians in case of accidents or other traffic risks
    • B60R2021/0002Type of accident
    • B60R2021/0004Frontal collision
    • BPERFORMING OPERATIONS; TRANSPORTING
    • B60VEHICLES IN GENERAL
    • B60RVEHICLES, VEHICLE FITTINGS, OR VEHICLE PARTS, NOT OTHERWISE PROVIDED FOR
    • B60R21/00Arrangements or fittings on vehicles for protecting or preventing injuries to occupants or pedestrians in case of accidents or other traffic risks
    • B60R2021/0002Type of accident
    • B60R2021/0006Lateral collision
    • BPERFORMING OPERATIONS; TRANSPORTING
    • B60VEHICLES IN GENERAL
    • B60RVEHICLES, VEHICLE FITTINGS, OR VEHICLE PARTS, NOT OTHERWISE PROVIDED FOR
    • B60R21/00Arrangements or fittings on vehicles for protecting or preventing injuries to occupants or pedestrians in case of accidents or other traffic risks
    • B60R21/01Electrical circuits for triggering passive safety arrangements, e.g. airbags, safety belt tighteners, in case of vehicle accidents or impending vehicle accidents
    • B60R2021/01034Controlling a plurality of restraint devices
    • BPERFORMING OPERATIONS; TRANSPORTING
    • B60VEHICLES IN GENERAL
    • B60RVEHICLES, VEHICLE FITTINGS, OR VEHICLE PARTS, NOT OTHERWISE PROVIDED FOR
    • B60R21/00Arrangements or fittings on vehicles for protecting or preventing injuries to occupants or pedestrians in case of accidents or other traffic risks
    • B60R21/01Electrical circuits for triggering passive safety arrangements, e.g. airbags, safety belt tighteners, in case of vehicle accidents or impending vehicle accidents
    • B60R21/013Electrical circuits for triggering passive safety arrangements, e.g. airbags, safety belt tighteners, in case of vehicle accidents or impending vehicle accidents including means for detecting collisions, impending collisions or roll-over
    • B60R2021/01315Electrical circuits for triggering passive safety arrangements, e.g. airbags, safety belt tighteners, in case of vehicle accidents or impending vehicle accidents including means for detecting collisions, impending collisions or roll-over monitoring occupant displacement

Landscapes

  • Engineering & Computer Science (AREA)
  • Mechanical Engineering (AREA)
  • Air Bags (AREA)
  • Automotive Seat Belt Assembly (AREA)

Description

【0001】
【発明の属する技術分野】
本発明は、車両用乗員拘束装置に係り、特に推定した乗員の挙動に応じて前後方向及び左右方向に乗員を拘束する車両用乗員拘束装置に関する。
【0002】
【従来の技術】
従来より車両衝突時に乗員を保護するために、シートベルト、エアバッグ、ニーパッド等の乗員拘束装置が用いられている。一般に乗用車用のシートベルトは、乗員身体の中心線に対して非対称に装着されるため、衝突時に乗員身体のねじれを生じる。この乗員身体のねじれを抑制し、衝撃吸収性能を最大限に高める技術として、特開平5−39000号公報記載の技術が知られている。この従来技術は、乗員測定センサにより乗員の体格や挙動を把握し、エアバッグ、シートベルト、ニーパッド等を調整制御し、衝突時の衝撃吸収効果を高めるものである。
【0003】
【発明が解決しようとする課題】
しかしながら、前記従来例によれば、乗員測定センサで検出した乗員の変位に応じて各拘束装置を作動させるため、乗員の移動を確実に拘束するためには、必ずしも乗員移動に対する拘束装置作動に十分な応答性が得られないケースが発生する可能性がある。
【0004】
たとえば、図15に示したような斜め前面衝突の場合、衝突してからエンジンコンパートメントが衝撃エネルギーを吸収して潰れる間は、左右方向の移動量は小さく、車体に発生する左右方向の加速度も小さい。しかしエンジンコンパートメントが潰れ終わると車両の回転や車両左右方向の衝撃力により左右方向の加速度が大きくなり、乗員に左右方向の力が作用する。この時点でシートベルトはロードリミッタが機能しているため、左右方向の拘束力は小さく、しかも、通常の側面衝突時ほど大きな車体左右方向加速度ではないため、サイドエアバッグ等の左右方向の拘束装置も作動しない可能性がある。また乗員の挙動に応じて作動したとしても、エアバッグ等が展開に時間を要するため、その効果が十分に発揮できない可能性もある。
【0005】
本発明は、上記従来技術の問題点に鑑みてなされたもので、その目的は、従来の車両用乗員拘束装置では、前後方向拘束装置または左右方向拘束装置の一方の拘束装置しか作動しない衝突時にも、乗員の前後方向移動量及び左右方向移動量を推定し、この推定結果に応じて他方の拘束装置も最適なタイミングで作動させることにより、乗員移動及び車体変形に伴う乗員と部品との干渉を回避し、もし干渉した場合にも衝撃吸収能力を最大限に発揮させることができる車両用乗員拘束装置を提供することである。
【0006】
【課題を解決するための手段】
請求項1記載の発明は、上記目的を達成するため、車両の衝突を検出する衝突検出手段と、乗員を前後方向に拘束する前後方向拘束手段と、乗員を左右方向に拘束する左右方向拘束手段と、前記衝突検出手段からの信号により、前記前後方向拘束手段及び前記左右方向拘束手段を作動させるタイミングを制御するタイミング制御手段と、乗員の前後方向移動量と左右方向移動量とをそれぞれ推定する移動量推定手段と、を備えた車両用乗員拘束装置であって、前記タイミング制御手段は、前記推定された前後方向移動量及び左右方向移動量に基づいて、前記前後方向拘束手段を作動させてから前記左右方向拘束手段を作動させるまでの作動遅延時間を設定し、該作動遅延時間は、前記前後方向移動量に比例し、かつ前記左右方向移動量に反比例するように設定されることを要旨とする。
【0007】
請求項2記載の発明は、上記目的を達成するため、車両の衝突を検出する衝突検出手段と、乗員を前後方向に拘束する前後方向拘束手段と、乗員を左右方向に拘束する左右方向拘束手段と、前記衝突検出手段からの信号により、前記前後方向拘束手段及び前記左右方向拘束手段を作動させるタイミングを制御するタイミング制御手段と、乗員の前後方向移動量と左右方向移動量とをそれぞれ推定する移動量推定手段と、を備えた車両用乗員拘束装置であって、前記タイミング制御手段は、前記推定された前後方向移動量及び左右方向移動量に基づいて、前記左右方向拘束手段を作動させてから前記前後方向拘束手段を作動させるまでの作動遅延時間を設定し、該作動遅延時間は、前記左右方向移動量に比例し、かつ前記前後方向移動量に反比例するように設定されることを要旨とする。
【0008】
請求項3記載の発明は、上記目的を達成するため、請求項1または請求項2記載の車両用乗員拘束装置において、前記推定される前後方向移動量及び左右方向移動量は、少なくとも大小2つの設定域を有し、小さい設定域は、車両前後方向に略平行な前面衝突または車両左右方向に略平行な側面衝突で発生する推定移動量以下の値とすることを要旨とする。
【0009】
請求項4記載の発明は、上記目的を達成するため、請求項1ないし請求項3のいずれか1項記載の車両用乗員拘束装置において、前記移動量推定手段は、車体にかかる車両前後方向加速度と車体にかかる車両左右方向加速度とに基づいて、乗員の前後方向移動量と左右方向移動量とをそれぞれ推定することを要旨とする。
【0010】
請求項5記載の発明は、上記目的を達成するため、請求項1ないし請求項3のいずれか1項記載の車両用乗員拘束装置において、前記移動量推定手段は、シートベルトにかかる張力に基づいて乗員の前後方向移動量と左右方向移動量とをそれぞれ推定することを要旨とする。
【0011】
請求項6記載の発明は、上記目的を達成するため、請求項1ないし請求項3のいずれか1項記載の車両用乗員拘束装置において、前記移動量推定手段は、エアバッグの内圧に基づいて乗員の前後方向移動量と左右方向移動量とをそれぞれ推定することを要旨とする。
【0012】
請求項7記載の発明は、上記目的を達成するため、請求項1ないし請求項6のいずれか1項記載の車両用乗員拘束装置において、前記タイミング制御手段は、前記左右方向拘束手段の作動遅延時間を乗員の前後移動量に線形に反比例させ、前記前後方向拘束手段の作動遅延時間を乗員の左右移動量に線形に反比例させるように設定することを要旨とする。
【0013】
請求項8記載の発明は、上記目的を達成するため、請求項1ないし請求項6のいずれか1項記載の車両用乗員拘束装置において、前記タイミング制御手段は、前記左右方向拘束手段の作動遅延時間を前記推定された前後方向移動量に幾何級数により反比例させ、前記前後方向拘束手段の作動遅延時間を前記推定された左右方向移動量に幾何級数により反比例させるように設定することを要旨とする。
【0014】
請求項9記載の発明は、上記目的を達成するため、請求項1ないし請求項6のいずれか1項記載の車両用乗員拘束装置において、前記タイミング制御手段は、前記左右方向拘束手段の作動遅延時間を前記推定された前後方向移動量に対し段階的に設定することを要旨とする。
【0015】
請求項10記載の発明は、上記目的を達成するため、請求項1ないし請求項6のいずれか1項記載の車両用乗員拘束装置において、前記タイミング制御手段は、前記前後方向拘束手段の作動遅延時間を前記推定された左右方向移動量に対し段階的に設定することを要旨とする。
【0016】
請求項11記載の発明は、上記目的を達成するため、請求項9または請求項10記載の車両用乗員拘束装置において、前記タイミング制御手段は、前記前後方向拘束手段または左右方向拘束手段の作動遅延時間を前記推定された前後方向移動量と左右方向移動量とのマトリクスにより設定することを要旨とする。
【0017】
請求項12記載の発明は、上記目的を達成するため、請求項1ないし請求項11のいずれか1項記載の車両用乗員拘束装置において、前記移動量推定手段は、前記推定された前後方向移動量または左右方向移動量を少なくとも乗員の体格または位置または姿勢のいずれかにより補正することを要旨とする。
【0018】
【発明の効果】
請求項1記載の発明によれば、車両の衝突を検出する衝突検出手段と、乗員を前後方向に拘束する前後方向拘束手段と、乗員を左右方向に拘束する左右方向拘束手段と、前記衝突検出手段からの信号により、前記前後方向拘束手段及び前記左右方向拘束手段を作動させるタイミングを制御するタイミング制御手段と、乗員の前後方向移動量と左右方向移動量とをそれぞれ推定する移動量推定手段と、を備えた車両用乗員拘束装置であって、前記タイミング制御手段は、前記推定された前後方向移動量及び左右方向移動量に基づいて、前記前後方向拘束手段を作動させてから前記左右方向拘束手段を作動させるまでの作動遅延時間を設定し、該作動遅延時間は、前記前後方向移動量に比例し、前記左右方向移動量に反比例するよう設定したので、車両の衝突方向を検知するとともに、乗員の前後、左右方向の移動量を推定し、たとえ従来の単純な前面衝突や単純な側面衝突で一方の拘束手段が作動し他方の拘束手段が作動しないような乗員移動量であっても、その推定移動量に対し前後方向拘束手段と左右方向拘束手段を適切なタイミングで作動させることにより、乗員移動および車体変形に伴う乗員と部品との干渉を最小にし、干渉した場合その衝撃吸収を最大にすることができるという効果がある。
【0019】
請求項2記載の発明によれば、車両の衝突を検出する衝突検出手段と、乗員を前後方向に拘束する前後方向拘束手段と、乗員を左右方向に拘束する左右方向拘束手段と、前記衝突検出手段からの信号により、前記前後方向拘束手段及び前記左右方向拘束手段を作動させるタイミングを制御するタイミング制御手段と、乗員の前後方向移動量と左右方向移動量とをそれぞれ推定する移動量推定手段と、を備えた車両用乗員拘束装置であって、前記タイミング制御手段は、前記推定された前後方向移動量及び左右方向移動量に基づいて、前記左右方向拘束手段を作動させてから前記前後方向拘束手段を作動させるまでの作動遅延時間を設定したので、車両の衝突方向を検知するとともに、乗員の前後、左右方向の移動量を推定し、たとえ従来の単純な前面衝突や単純な側面衝突で一方の拘束手段が作動し他方の拘束手段が作動しないような乗員移動量であっても、その推定移動量に対し前後方向拘束手段と左右方向拘束手段を適切なタイミングで作動させることにより、乗員移動および車体変形に伴う乗員と部品との干渉を最小にし、干渉した場合その衝撃吸収を最大にすることができるという効果がある。
【0020】
請求項3記載の発明によれば、請求項1または請求項2記載の発明の効果に加えて、前記推定される前後方向移動量及び左右方向移動量は、少なくとも大小2つの設定域を有し、小さい設定域は、車両前後方向に略平行な前面衝突または車両左右方向に略平行な側面衝突で発生する推定移動量以下の値とするようにしたので、従来左右方向拘束手段が作動しなかった単純前面衝突、または従来前後方向拘束手段が作動しなかった単純側面衝突においても、乗員の左右方向移動量及び前後左右移動量を推定して、左右方向拘束装置または前後方向拘束装置を作動させて、車体の衝突変形後の二次的な加速度による乗員と部品との干渉を効果的に回避または衝撃吸収を最大限に発揮することができるという効果がある。
【0021】
請求項4記載の発明によれば、請求項1ないし請求項3記載の発明の効果に加えて、前記移動量推定手段は、車体にかかる車両前後方向加速度と車体にかかる車両左右方向加速度とに基づいて、乗員の前後方向移動量と左右方向移動量とをそれぞれ推定するので、前方からの衝突に対しても、側方からの衝突に対しても乗員の前後及び左右方向の移動量を推定することができるという効果がある。
【0022】
請求項5記載の発明によれば、請求項1ないし請求項3記載の発明の効果に加えて、前記移動量推定手段は、シートベルトにかかる張力に基づいて乗員の前後方向移動量と左右方向移動量とをそれぞれ推定するので、拘束手段の作動状況を把握することができ、より直接的に乗員の前後方向、左右方向の移動量の時間変化を推定することができるという効果がある。
【0023】
請求項6記載の発明によれば、請求項1ないし請求項3記載の発明の効果に加えて、前記移動量推定手段は、エアバッグの内圧に基づいて乗員の前後方向移動量と左右方向移動量とをそれぞれ推定するので、拘束手段の作動状況を把握することができ、より直接的に乗員の前後方向、左右方向の移動量の時間変化を推定することができるという効果がある。
【0024】
請求項7記載の発明によれば、請求項1ないし請求項6記載の発明の効果に加えて、前記タイミング制御手段は、前記左右方向拘束手段の作動遅延時間を乗員の前後移動量に線形に反比例させ、前記前後方向拘束手段の作動遅延時間を乗員の左右移動量に線形に反比例させるように設定するので、より詳細な拘束装置の作動遅延時間設定が可能となるという効果がある。
【0025】
請求項8記載の発明によれば、請求項1ないし請求項6記載の発明の効果に加えて、前記タイミング制御手段は、前記左右方向拘束手段の作動遅延時間を前記推定された前後方向移動量に幾何級数により反比例させ、前記前後方向拘束手段の作動遅延時間を前記推定された左右方向移動量に幾何級数により反比例させるように設定するので、より詳細な拘束装置の作動遅延時間設定ができるという効果がある。
【0026】
請求項9記載の発明によれば、請求項1ないし請求項6記載の発明の効果に加えて、前記タイミング制御手段は、前記左右方向拘束手段の作動遅延時間を前記推定された前後方向移動量に対し段階的に設定するようにしたので、拘束装置の作動遅延時間設定を容易にすることができるという効果がある。
【0027】
請求項10記載の発明によれば、請求項1ないし請求項6記載の発明の効果に加えて、前記タイミング制御手段は、前記前後方向拘束手段の作動遅延時間を前記推定された左右方向移動量に対し段階的に設定するようにしたので、拘束装置の作動遅延時間設定を容易にすることができるという効果がある。
【0028】
請求項11記載の発明によれば、請求項9または請求項10記載の発明の効果に加えて、前記タイミング制御手段は、前記前後方向拘束手段または左右方向拘束手段の作動遅延時間を前記推定された前後方向移動量と左右方向移動量とのマトリクスにより設定するようにしたので、拘束装置の作動遅延時間設定を容易にすることができるという効果がある。
【0029】
請求項12記載の発明によれば、請求項1ないし請求項11記載の発明の効果に加えて、前記移動量推定手段は、前記推定された前後方向移動量または左右方向移動量を少なくとも乗員の体格または位置または姿勢のいずれかにより補正するようにしたので、より正確な乗員の移動量を推定することができ、これに基づいてより適切な拘束装置の作動遅延時間を設定することができるという効果がある。
【0030】
【発明の実施の形態】
以下、図面を参照して、本発明に係る車両用乗員拘束装置の実施の形態を詳細に説明する。
【0031】
〔第1実施形態〕
図2は、本発明に係る車両用乗員拘束装置を乗用車に適用した場合の全体構成を示す平面図であり、運転者に対応する拘束装置のみを示している。同図においてコントロールユニット1は、衝突検知及び前後左右の加速度を検出する加速度センサーユニット2(衝突検出手段)からの信号を受けて車両用乗員拘束装置の作動を制御する。加速度センサーユニット2には衝突を検知するとともに、車体前後方向及び車体左右方向のそれぞれの加速度を計測するための加速度センサーが搭載されている。ここで、前面衝突検知用センサをフロントサンドメンバ先端に搭載してもよく、また側面衝突検知用センサをセンターピラー下端に搭載しても良い。
【0032】
シートベルトプリテンショナ3は、衝突初期にシートベルトのたるみを除去するようシートベルトを巻き込み、乗員7を拘束する拘束装置であり、ロードリミッタ機能も併せ持っている。前面衝突用エアバッグ4は、前面衝突時に乗員7とステアリング等車体部品との干渉による衝撃を吸収するための前後方向拘束装置である。
【0033】
側面衝突用エアバッグ5は、側面衝突時に乗員7とピラー等車体部品との干渉による衝撃を吸収するための左右方向拘束装置である。バックルプリテンショナ6は、シートベルトに張力をあたえるべく、シートベルトのバックルを客室後方へ引き込む拘束装置である。
【0034】
上記シートベルトプリテンショナ3,前面衝突用エアバッグ4,側面衝突用エアバッグ5,及びバックルプリテンショナ6は、コントロールユニット1からの信号によりその作動タイミングが制御されるよう構成されている。
【0035】
図1は、本発明に係る車両用乗員拘束装置の第1実施形態の構成を示すブロック図である。図1において、車両用乗員拘束装置は、車両の衝突を検出する衝突検出手段である加速度センサーユニット2と、乗員を前後方向に拘束する前後方向拘束手段である前後方向拘束装置10と、乗員を左右方向に拘束する左右方向拘束手段である左右方向拘束装置11と、加速度センサーユニット2からの信号により、前後方向拘束装置10及び左右方向拘束装置11を作動させるタイミングを制御するタイミング制御手段であるタイミング制御部13と、乗員の前後方向移動量と左右方向移動量とをそれぞれ推定する移動量推定手段である移動量推定部12と、を備え、タイミング制御部13は、推定された前後方向移動量及び左右方向移動量に基づいて、前後方向拘束装置10(または左右方向拘束装置11)を作動させてから、左右方向拘束装置11(または前後方向拘束装置10)を作動させるまでの作動遅延時間を演算し、該作動遅延時間は、前後方向移動量(または左右方向移動量)に比例し、かつ左右方向移動量(前後方向移動量)に反比例するように設定される(請求項1、請求項2)。
【0036】
ここで、移動量推定部12とタイミング制御部13とは、コントロールユニット1としてまとめて実装されている。また乗員を前後方向に拘束する前後方向拘束装置10は、前面衝突用エアバッグ4及びシートベルトプリテンショナ3であり、左右方向に拘束する左右方向拘束装置11は、側面衝突用エアバッグ5及びバックルプリテンショナ6である。
【0037】
次に、図3のフローチャート及び図4、図5のタイムチャートを参照して、第1実施形態の動作について説明する。図4(a)は、第1実施形態における前面衝突時のタイムチャートであり、図4(b)は、第1実施形態における側面衝突時のタイムチャートである。図6は、斜め前面衝突時における前後方向の加速度(前後G)及び左右方向の加速度(左右G)の時間変化と図3のフローチャートの各ステップS1〜S9の対応を示すタイムチャートである。
【0038】
図3において、はじめに、加速度センサーユニット2が検出した車両の前後方向及び左右方向の加速度をコントロールユニット1が読み込む(ステップS1)。次いで、前後方向の加速度が所定値を超えるか否かにより前面衝突したか否かを判定する(ステップS2)。前後方向の加速度が所定値を超えていれば、前面衝突と判定しステップS4へ進む。前後方向の加速度が所定値を超えていなければ、次いで、左右方向の加速度が所定値を超えるか否かにより側面衝突したか否かを判定する(ステップS3)。左右方向の加速度が所定値を超えていれば、側面衝突と判定しステップS10へ進む。左右方向の加速度が所定値を超えていなければ、衝突はないとして、ステップS1へ戻る。
【0039】
ステップS2で前面衝突と判定したとき、前後方向拘束装置10である前面衝突用エアバッグ4及びシートベルトプリテンショナ3を作動させる(ステップS4)。この間の車両および乗員の挙動は、図15(b)に示すように、車両エンジンコンパートメントが潰れながら、減速する。このとき乗員は、車両に対し相対的に前方移動を開始するが、その移動は前後方向拘束装置の作動により拘束される。
【0040】
次いで、乗員の前後方向及び左右方向移動量を推定し(ステップS5)、これら推定した前後方向移動量及び左右方向移動量に基づいて、乗員の左右方向拘束が必要か否かを判定する(ステップS6)。左右方向拘束が必要でなければ、以上で処理を終了する。左右方向拘束が必要であれば、左右方向拘束装置の作動遅延時間Td1を演算し(ステップS7)、作動遅延時間Td1が経過するまで待つ(ステップS8)。作動遅延時間Td1となると左右方向拘束装置11である側面衝突用エアバッグ5及びバックルプリテンショナ6を作動させる(ステップS9)。
【0041】
ステップS3で側面衝突と判定したとき、左右方向拘束装置11である側面衝突用エアバッグ5、及びシートベルトプリテンショナ3を作動させ(ステップS10)、乗員の前後方向及び左右方向移動量を推定する(ステップS11)。次いで、これら推定した前後方向移動量及び左右方向移動量に基づいて、乗員の前後方向拘束が必要か否かを判定する(ステップS12)。前後方向拘束が必要でなければ、以上で処理を終了する。前後方向拘束が必要であれば、前後方向拘束装置の作動遅延時間Td2を演算し(ステップS13)、作動遅延時間Td2が経過するまで待つ(ステップS14)。作動遅延時間Td2となると前後方向拘束装置10である前面衝突用エアバッグ4、及びバックルプリテンショナ6を作動させる(ステップS15)。
【0042】
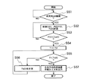
次に、前面衝突時の前後方向拘束装置作動後に行うステップS6の左右方向の拘束が必要かどうかの判断から、ステップS9の左右方向拘束装置の作動までの詳細例を図5の詳細フローチャートに示す。尚、以下の説明では、作動遅延時間Td1と作動遅延時間Td2とを特に区別せずに作動遅延時間Tdと表記する。
【0043】
図5において、前後方向拘束装置の作動後のステップS31で、車体前後方向加速度(以下、前後Gと略す)、左右方向加速度(以下、左右Gと略す)、衝突後又は前後方向拘束装置10の作動後の経過時間Ts(t)が計測される。続くステップS32では、前後Gおよび左右Gに基づいて乗員の前後方向移動量と左右方向移動量を推定し、これら推定移動量により左右方向拘束装置11の作動遅延時間Tdが演算される(請求項4)。
【0044】
ここで作動遅延時間Tdは、左右方向移動量の推測から決定されるものであり、前後Gが大きいほど大きく、左右Gが大きいほど小さく定義され、*を乗算記号として、例えば、次に示す式(1)により演算されるものとする。
【0045】
【数1】
Td(t)=f(前後G(t))*前後G(t)/左右G(t) …(1)
ここで、前後Gの増加に対して単調増加する関数f(前後G(t))は、たとえば、図7(a)に示すような前後Gの線形関係により定義される関数fとしてもよいし(請求項7)、あるいは、図7(b)に示すように、関数fを前後Gの幾何級数で定義し、この関数fを用いて式(1)により作動遅延時間Tdを演算してもよい。
【0046】
また、作動遅延時間Tdは、次に示す式(2)により演算することもできる。
【0047】
【数2】
Td(t)=f(左右G(t))*前後G(t) …(2)
ここで、左右Gの増加に対して単調減少(停留も含む)する関数f(左右G(t))は、図8(a)に示すよう関数fを左右Gの幾何級数に反比例する関数で定義したり(請求項8)、図8(b)に示すよう関数fを左右Gの階段状の関数で定義し(請求項9)、それに前後Gを積算することにより作動遅延時間Tdを求めてもよい。
【0048】
さらに、図16に示すように前後G、左右Gをそれぞれの段階にわけ、その2次元マトリックスの組み合わせで作動遅延時間Tdを定義するようにしてもよい(請求項11)。
【0049】
いずれにせよ、これらの定義により車両左右方向に略平行な単純側面衝突で左右方向拘束装置が作動する場合に発生する左右Gより小さい左右Gでも、前後Gの状態によっては左右方向拘束装置が作動するように定義される。すなわち、従来の左右方向拘束装置が作動しない10G程度の左右Gでも、前面衝突時の前後方向拘束装置作動後に、左右方向拘束装置を作動させることが可能である(請求項3)。
【0050】
このようにして演算された左右方向拘束装置の作動遅延時間Tdと、衝突開始時刻を基準とした現在の時刻、すなわち衝突発生からの経過時間Ts(t)を加算することによりステップS33で左右方向拘束装置が作動すべき時刻T(t)が決定される。続くステップS34〜S36で前回のタイムステップ、すなわちt−△t時に求められたT(t−△t)と比較され小さいほうをT(t)とする。
【0051】
ステップS37では、ステップ36で求められた作動時刻T(t)と現在の時刻Ts(t)の大小が比較され、作動時刻T(t)の方が大きければ、ステップS31からを繰り返し、作動時刻T(t)の方が小さければ、ステップS38で左右方向拘束装置作動トリガを出力する。このトリガをうけた左右方向拘束装置11すなわち側面衝突用エアバッグ5および、バックルプリテンショナ6は、図3のステップS9で左右方向拘束装置を作動させ一連の作動を終了する。
【0052】
一方、図3のステップS3で側面衝突と判断した場合、ステップS10に進み、左右方向拘束装置11すなわち側面衝突用エアバッグ5を作動させ、またシートベルトプリテンショナ3を作動させる。次いで乗員の前後方向及び左右方向移動量を推定し(ステップS11)、これら推定した前後方向移動量及び左右方向移動量に基づいて、乗員の前後方向拘束が必要か否かを判定する(ステップS12)。
【0053】
ステップS12における前後方向拘束が必要か否かの判断のフローは、前面衝突時のステップS6の判断と同様である。ただし、側面衝突時に左右方向拘束装置11を作動させた後の前後方向拘束装置10の作動遅延時間Td2は、前後Gが大きいほど小さく、左右Gが大きいほど大きく定義される。
【0054】
この作動遅延時間Td2の演算に用いられる式は、前後衝突時の式(1)、式(2)に代えて、次に示す式(3)、式(4)を用いる。
【0055】
【数3】
Td2(t)=f(左右G(t))*左右G(t)/前後G(t) …(3)
ここで、左右Gの増加に対して単調増加する関数f(左右G(t))は、たとえば、左右Gの線形関係により定義される関数fとしてもよいし(請求項7)、あるいは、関数fを左右Gの幾何級数で定義し、この関数fを用いて式(3)により作動遅延時間Td2を演算してもよい。
【0056】
また、作動遅延時間Td2は、次に示す式(4)により演算することもできる。
【0057】
【数4】
Td2(t)=f(前後G(t))*左右G(t) …(4)
これらの式(3)、(4)の説明は、図7、図8の「前後」を「左右」と読み替え、「左右」を「前後」と読み替えて、参照することができる。
【0058】
こうして、側面衝突時に、従来の前後方向拘束装置が作動する限界の前後Gより小さい前後Gでも、左右Gの状態によっては前後方向拘束装置が作動するように定義される(請求項3)。
【0059】
すなわち、従来の前後方向拘束装置が作動しない10G程度の前後Gでも、側面衝突時に左右方向拘束装置を作動させた後に前後方向拘束装置を作動させることが可能である。続くステップS15で前後方向拘束装置10すなわち前面衝突用エアバッグ4を作動させ、またバックルプリテンショナ6を作動させて一連の作動を終了する。
【0060】
以上のように前後方向拘束装置の作動後に車体にかかる前後加速度及び左右加速度から乗員の移動量を推定し、左右方向拘束装置の作動の必要性を判断すること、あるいは、左右方向拘束装置の作動後に車体にかかる前後加速度及び左右加速度から乗員の移動量を推定し、前後方向拘束装置の作動の必要性を判断することにより、従来の斜め衝突のような前後方向拘束装置または左右方向拘束装置のいずれか一方しか作動しない、または作動遅れが発生する可能性があるような状況でも乗員の移動を確実に拘束するために十分な拘束装置作動の応答性が得ることが可能となる。
【0061】
〔第2実施形態〕
次に、本発明の第2実施形態を図面を参照して説明する。
第2実施形態は、前面衝突の場合に作用を特化した場合である。第2実施形態の構成は、第1実施形態に対してシートベルトにかかる張力を検出するシートベルト張力計8、図示していないシート座面圧力計10、シート位置検出装置11を付加したものであり、シートベルト張力計8は衝突後のシートベルト張力を計測し、コントロールユニット1にその計測値を送るよう構成されている。
【0062】
動作フローは第1実施形態と同様である。ただし、図3のステップS6の左右方向拘束の必要性の判定、及びステップS7の左右方向拘束装置の作動遅延時間Tdの演算には、図9,10、11に示すようシートベルト張力が使用される(請求項5)。
【0063】
図9は、第2実施形態の動作を説明するタイムチャートであり、図10は第2実施形態の要部の動作を説明するフローチャートである。また図11は、シートベルト張力F(t)と、所定のシートベルト張力閾値Cf(t)とを示すタイムチャートである。
【0064】
図10において、まず、ステップS41でシートベルトプリテンショナ3の作動が確認された後、ステップS42で、シートベルト張力F(t)、前後方向拘束装置の作動後の経過時間Ts(t)が計測される。続くステップS43では、あらかじめ設定されているシートベルト張力閾値Cf(t)とシートベルト張力F(t)が比較される。
【0065】
シートベルト張力閾値Cf(t)は、図17に示すよう前後G、乗員の体格、シート位置、乗車姿勢により補正される(請求項12)。ただし、シート位置補正係数S1(d)はシート位置が可動範囲の中央の場合を0とし、それより前方の場合、シート位置補正係数S1(d)は−の値で前方ほど小さい値をとるよう、後方の場合+の値で後方ほど大きい値となるよう定義される。また乗車姿勢補正係数S2(a)は、乗車姿勢として、シートバック角度を計測使用しており、シートバック角度20°の場合を0とし、それより角度が小さい場合、乗車姿勢補正係数S2(a)は−の値で前方ほど小さい値をとるよう、角度が20°より大きい場合は乗車姿勢補正係数S2(a)は+の値で角度が大きいほど大きい値となるよう定義される。
【0066】
シートベルト張力計8が検出するシートベルト張力F(t)は、そのピーク値が大きいほど、また張力持続時間が長いほど、乗員の左右方向移動量が小さい。従って、シートベルト張力と張力持続時間により乗員の左右方向移動量を演算することができる(請求項5)。
【0067】
これにより、図11に示す単純側面衝突時に発生するシートベルト張力よりも大きく、持続時間も大きい範囲、すなわち、単純側面衝突で発生する乗員左右方向移動量より小さい場合でも、左右方向拘束装置作動の必要性の判定されることになる。ステップS42〜S43は、シートベルト張力F(t)がシートベルト張力閾値Cf(t)より小さくなるまで繰り返される。F(t)の方がCf(t)より小さい場合は、続くステップS44で左右方向拘束装置の作動遅延時間Tdと、現在の時刻、すなわち衝突発生からの経過時間Ts(t)を加算することにより、左右方向拘束装置の作動時刻Tが決定される。ここで左右方向拘束装置の作動遅延時間Tdは一定値とする。
【0068】
ステップS45では、ステップS44で求められた作動時刻Tと現在の時刻Ts(t)の大小が比較され、作動時刻Tの方が大きければ、引き続きステップS46で現在の時刻Ts(t)を計測、ステップS45を繰り返し、作動時刻Tの方が現在の時刻Ts(t)より小さい場合、ステップS46で左右方向拘束装置作動トリガを出力する。このトリガをうけた左右方向拘束装置11すなわち側面衝突用エアバッグ5及びバックルプリテンショナ6は、図3ステップS9で左右方向拘束装置を作動させ一連の作動を終了する。
【0069】
以上のように第2実施形態では、第1実施形態と同様の効果が得られるのに加え、シートベルト張力から前面衝突後の乗員の左右方向移動量および移動開始をより正確に推定することが可能となる。
【0070】
〔第3実施形態〕
次に、本発明の第3実施形態を図面を参照して説明する。
第3実施形態は、前面衝突の場合に作用を特化した場合である。第3実施形態の構成は、第1実施形態に前面衝突用エアバッグ内圧計9、図示していないシート座面圧力計10、シート位置検出装置11を付加したものであり、前面衝突用エアバッグ内圧計9は衝突後の前面衝突用エアバッグ4の内圧を計測し、コントロールユニット1にその計測値を送るよう構成されている。
【0071】
動作フローは第1実施形態と同様である。ただし、図3のステップS6の左右方向拘束の必要性の判定、ないしステップS7の左右方向拘束装置の作動遅延時間Tdの演算には、図12,13、14に示すように前面衝突用エアバッグ内圧が使用される(請求項6)。
【0072】
図12は、第3実施形態の動作を説明するタイムチャートである。図13は、第3実施形態の要部の動作を説明するフローチャートである。図14は、前面衝突用エアバッグ内圧P(t)と、所定の前面衝突用エアバッグ内圧閾値Cp(t)とを説明するタイムチャートである。
【0073】
図13において、ステップS51で前面衝突用エアバッグ4の作動が確認された後、ステップS52で、前面衝突用エアバッグ内圧P(t)、前後方向拘束装置の作動後の経過時間Ts(t)が計測される。続くステップS53では、あらかじめ設定されている前面衝突用エアバッグ内圧閾値Cp(t)と前面衝突用エアバッグ内圧P(t)が比較される。
【0074】
前面衝突用エアバッグ内圧閾値Cp(t)は、図17に示すよう前後G、乗員の体格、乗車位置、乗車姿勢により補正される(請求項12)。ここで、エアバッグ内圧はそのピーク値が大きいほど、また内圧持続時間が長いほど、乗員の左右方向移動量が小さい。したがって、図14に示す単純側面衝突時に発生するエアバッグ内圧よりも大きく、持続時間も大きい範囲、すなわち、単純側面衝突で発生する乗員左右方向移動量より小さい場合でも、左右方向拘束の必要性が判定されることになる。ステップS52〜S53は、P(t)がCp(t)より小さくなるまで繰り返される。
【0075】
P(t)の方がCp(t)より小さい場合は、続くステップS54でTdと現在の時刻、すなわち衝突発生からの経過時間Ts(t)を加算することにより左右方向拘束装置の作動時刻Tが決定される。ここで左右方向拘束装置の作動遅延時間Tdは一定値とする。ステップS55では、ステップS54で求められた作動時刻Tと現在の時刻Ts(t)の大小が比較され、作動時刻Tの方が大きければ、引き続きステップS56で現在の時刻Ts(t)を計測、ステップS55を繰り返し、作動時刻Tの方が現在の時刻Ts(t)より小さい場合、ステップS56で左右方向拘束装置の作動トリガを出力する。このトリガをうけた左右方向拘束装置11すなわち側面衝突用エアバッグ5及びバックルプリテンショナ6は、図3のステップS9で左右方向拘束装置を作動させ一連の作動を終了する。
【0076】
以上のように第3実施形態では、第1実施形態と同様の効果が得られるのに加え、前面衝突用エアバッグ内圧から前面衝突後の乗員の左右方向移動量および移動開始をより正確に推定することが可能となる。
【図面の簡単な説明】
【図1】本発明に係る車両用乗員拘束装置の第1実施形態の構成を示すブロック図である。
【図2】本発明に係る車両用乗員拘束装置の全体構成を示す平面図である。
【図3】第1実施形態の動作を説明するフローチャートである。
【図4】(a)第1実施形態における前面衝突時のタイムチャート、(b)第1実施形態における側面衝突時のタイムチャートである。
【図5】第1実施形態の前後方向(左右方向)拘束装置作動後の左右方向(前後方向)拘束装置の作動遅延時間を決定するフローチャートである。
【図6】斜め前面衝突時の車体加速度発生例を示すタイムチャートである。
【図7】第1実施形態における作動遅延時間の定義説明図である。
【図8】第1実施形態における作動遅延時間の定義説明図である。
【図9】第2実施形態の動作を説明するタイムチャートである。
【図10】第2実施形態における前後方向拘束装置作動後の左右方向拘束装置の作動遅延時間を決定するフローチャートである。
【図11】第2実施形態におけるシートベルト張力閾値の説明図である。
【図12】第3実施形態の動作を説明するタイムチャートである。
【図13】第3実施形態における前後方向拘束装置作動後の左右方向拘束装置の作動遅延時間を決定するフローチャートである。
【図14】第3実施形態における前面衝突用エアバッグ内圧閾値の説明図である。
【図15】実施形態作動時の車両および乗員の挙動を説明する図である。
【図16】第1実施形態における作動遅延時間の定義説明図である。
【図17】第2,3実施形態における閾値補正方法の説明図である。
【符号の説明】
1 コントロールユニット
2 加速度センサユニット
3 シートベルトプリテンショナ
4 前面衝突用エアバッグ
5 側面衝突用エアバッグ
6 バックルプリテンショナ
10 前後方向拘束装置
11 左右方向拘束装置
12 移動量推定部
13 タイミング制御部

Claims (12)

  1. 車両の衝突を検出する衝突検出手段と、
    乗員を前後方向に拘束する前後方向拘束手段と、
    乗員を左右方向に拘束する左右方向拘束手段と、
    前記衝突検出手段からの信号により、前記前後方向拘束手段及び前記左右方向拘束手段を作動させるタイミングを制御するタイミング制御手段と、
    乗員の前後方向移動量と左右方向移動量とをそれぞれ推定する移動量推定手段と、
    を備えた車両用乗員拘束装置であって、
    前記タイミング制御手段は、
    前記推定された前後方向移動量及び左右方向移動量に基づいて、
    前記前後方向拘束手段を作動させてから前記左右方向拘束手段を作動させるまでの作動遅延時間を設定し、
    該作動遅延時間は、
    前記前後方向移動量に比例し、かつ前記左右方向移動量に反比例するように設定されることを特徴とする車両用乗員拘束装置。
  2. 車両の衝突を検出する衝突検出手段と、
    乗員を前後方向に拘束する前後方向拘束手段と、
    乗員を左右方向に拘束する左右方向拘束手段と、
    前記衝突検出手段からの信号により、前記前後方向拘束手段及び前記左右方向拘束手段を作動させるタイミングを制御するタイミング制御手段と、
    乗員の前後方向移動量と左右方向移動量とをそれぞれ推定する移動量推定手段と、
    を備えた車両用乗員拘束装置であって、
    前記タイミング制御手段は、
    前記推定された前後方向移動量及び左右方向移動量に基づいて、
    前記左右方向拘束手段を作動させてから前記前後方向拘束手段を作動させるまでの作動遅延時間を設定し、
    該作動遅延時間は、
    前記左右方向移動量に比例し、かつ前記前後方向移動量に反比例するように設定されることを特徴とする車両用乗員拘束装置。
  3. 前記推定される前後方向移動量及び左右方向移動量は、少なくとも大小2つの設定域を有し、
    小さい設定域は、
    車両前後方向に略平行な前面衝突または
    車両左右方向に略平行な側面衝突で発生する
    推定移動量以下の値とすること
    を特徴とする請求項1または請求項2記載の車両用乗員拘束装置。
  4. 前記移動量推定手段は、
    車体にかかる車両前後方向加速度と
    車体にかかる車両左右方向加速度とに基づいて
    乗員の前後方向移動量と左右方向移動量とをそれぞれ推定すること
    を特徴とする請求項1ないし請求項3のいずれか1項記載の車両用乗員拘束装置。
  5. 前記移動量推定手段は、
    シートベルトにかかる張力に基づいて
    乗員の前後方向移動量と左右方向移動量とをそれぞれ推定すること
    を特徴とする請求項1ないし請求項3のいずれか1項記載の車両用乗員拘束装置。
  6. 前記移動量推定手段は、
    エアバッグの内圧に基づいて
    乗員の前後方向移動量と左右方向移動量とをそれぞれ推定すること
    を特徴とする請求項1ないし請求項3のいずれか1項記載の車両用乗員拘束装置。
  7. 前記タイミング制御手段は、
    前記左右方向拘束手段の作動遅延時間を乗員の前後移動量に線形に反比例させ、
    前記前後方向拘束手段の作動遅延時間を乗員の左右移動量に線形に反比例させるように設定すること
    を特徴とする請求項1ないし請求項6のいずれか1項記載の車両用乗員拘束装置。
  8. 前記タイミング制御手段は、
    前記左右方向拘束手段の作動遅延時間を前記推定された前後方向移動量に幾何級数により反比例させるように設定するか、
    あるいは、前記前後方向拘束手段の作動遅延時間を前記推定された左右方向移動量に幾何級数により反比例させるように設定すること
    を特徴とする請求項1ないし請求項6のいずれか1項記載の車両用乗員拘束装置。
  9. 前記タイミング制御手段は、
    前記左右方向拘束手段の作動遅延時間を
    前記推定された前後方向移動量に対し段階的に設定すること
    を特徴とする請求項1ないし請求項6のいずれか1項記載の車両用乗員拘束装置。
  10. 前記タイミング制御手段は、
    前記前後方向拘束手段の作動遅延時間を
    前記推定された左右方向移動量に対し段階的に設定すること
    を特徴とする請求項1ないし請求項6のいずれか1項記載の車両用乗員拘束装置。
  11. 前記タイミング制御手段は、
    前記前後方向拘束手段または左右方向拘束手段の作動遅延時間を
    前記推定された前後方向移動量と左右方向移動量とのマトリクスにより設定することを特徴とする請求項9または請求項10記載の車両用乗員拘束装置。
  12. 前記移動量推定手段は、
    前記推定された前後方向移動量または左右方向移動量を
    少なくとも乗員の体格または位置または姿勢のいずれかにより補正することを特徴とする請求項1ないし請求項11のいずれか1項記載の車両用乗員拘束装置。
JP2001159327A 2001-05-28 2001-05-28 車両用乗員拘束装置 Expired - Fee Related JP3772693B2 (ja)

Priority Applications (4)

Application Number Priority Date Filing Date Title
JP2001159327A JP3772693B2 (ja) 2001-05-28 2001-05-28 車両用乗員拘束装置
EP02009702A EP1262375B1 (en) 2001-05-28 2002-04-29 Vehicle occupant restraint system and method
DE60211416T DE60211416T2 (de) 2001-05-28 2002-04-29 Fahrzeuginsassen- Rückhaltesystem und Verfahren
US10/155,123 US6811182B2 (en) 2001-05-28 2002-05-28 Vehicle occupant restraint system and method

Applications Claiming Priority (1)

Application Number Priority Date Filing Date Title
JP2001159327A JP3772693B2 (ja) 2001-05-28 2001-05-28 車両用乗員拘束装置

Publications (2)

Publication Number Publication Date
JP2002347568A JP2002347568A (ja) 2002-12-04
JP3772693B2 true JP3772693B2 (ja) 2006-05-10

Family

ID=19002928

Family Applications (1)

Application Number Title Priority Date Filing Date
JP2001159327A Expired - Fee Related JP3772693B2 (ja) 2001-05-28 2001-05-28 車両用乗員拘束装置

Country Status (4)

Country Link
US (1) US6811182B2 (ja)
EP (1) EP1262375B1 (ja)
JP (1) JP3772693B2 (ja)
DE (1) DE60211416T2 (ja)

Families Citing this family (31)

* Cited by examiner, † Cited by third party
Publication number Priority date Publication date Assignee Title
JP4062137B2 (ja) * 2003-03-17 2008-03-19 タカタ株式会社 エアバッグ及びエアバッグ装置
DE20312596U1 (de) * 2003-08-14 2003-12-24 Trw Automotive Safety Systems Gmbh Fahrzeuginsassen-Rückhaltesystem
US20050156411A1 (en) * 2004-01-20 2005-07-21 Trw Vehicle Safety Systems Inc. Method and apparatus for helping to protect an occupant of a vehicle
DE102004038167B4 (de) * 2004-08-06 2013-03-07 Daimler Ag Kraftfahrzeug mit einem präventiv wirkenden Schutzsystem
US20080111406A1 (en) * 2004-08-12 2008-05-15 Keith Friedman Vehicle safety system with deployable lateral restraints
US7320478B2 (en) * 2004-10-18 2008-01-22 Ford Global Technologies Llc Smart airbag for vehicular applications
WO2006050740A1 (de) * 2004-11-10 2006-05-18 Daimlerchrysler Ag Kraftfahrzeug mit einer insassenrückhalteeinrichtung
DE102006010779A1 (de) * 2005-03-09 2006-10-19 Denso Corp., Kariya Informationsverarbeitungssystem, bei dem einen aktuellen Zeitpunkt beschreibende Information von einem Computer zu einem anderen Übetragen wird, um bei der Berechnung eines Verzögerungsbetrags der Datenübertragung zwischen den Computern verwendet zu werden
US7840325B2 (en) * 2005-06-30 2010-11-23 Trw Automotive U.S. Llc Method and apparatus for controlling a front actuatable restraining device using side satellite safing sensors
US20070007066A1 (en) * 2005-07-08 2007-01-11 Siemens Vdo Automotive Corporation Peak load detection determination for deploying load limiting restraint devices
JP4752739B2 (ja) * 2006-11-27 2011-08-17 トヨタ自動車株式会社 乗員拘束装置の制御方法およびその装置
US8861367B2 (en) * 2006-12-13 2014-10-14 Tropos Networks, Inc. Deletion of routes of routing tables of a wireless mesh network
DE102008005159B4 (de) * 2008-01-18 2018-02-15 Robert Bosch Gmbh Verfahren und Steuergerät zur Ansteuerung von Personenschutzmittel für ein Fahrzeug
JP5164586B2 (ja) * 2008-01-25 2013-03-21 本田技研工業株式会社 車両のシートベルト装置
JP5192257B2 (ja) * 2008-02-15 2013-05-08 株式会社東海理化電機製作所 シートベルト装置
DE102008045586B4 (de) * 2008-09-03 2017-09-14 Audi Ag Kollisions-und/oder Personenschutzsystem für ein Kraftfahrzeug und Verfahren dazu
JP4720910B2 (ja) * 2009-01-05 2011-07-13 株式会社デンソー 車両用乗員保護装置
JP5286180B2 (ja) * 2009-07-22 2013-09-11 株式会社ケーヒン 乗員保護制御装置
JP5060542B2 (ja) * 2009-12-15 2012-10-31 本田技研工業株式会社 乗員保護装置
JP5618961B2 (ja) * 2011-10-11 2014-11-05 本田技研工業株式会社 車両用の乗員保護装置
JP2015112911A (ja) * 2013-12-09 2015-06-22 株式会社デンソー 電子機器
DE102014201172A1 (de) * 2014-01-23 2015-07-23 Robert Bosch Gmbh Verfahren zur Unfallvermeidung oder Unfallfolgenverminderung
US9067555B1 (en) 2014-06-11 2015-06-30 Ford Global Technologies, Llc Side impact vehicle restraint deployment
EP3018010B1 (en) * 2014-11-06 2018-01-10 Volvo Car Corporation Method for controlling a time of activation of a reversible restraint system in a vehicle
JP6568807B2 (ja) * 2015-03-03 2019-08-28 オートリブ ディベロップメント エービー 乗員保護装置及びプログラム
JP6265181B2 (ja) * 2015-08-06 2018-01-24 トヨタ自動車株式会社 車両用エアバッグ制御システム
JP7135723B2 (ja) * 2018-10-29 2022-09-13 トヨタ自動車株式会社 車両用シートベルトの制御装置
JP7298262B2 (ja) * 2019-04-16 2023-06-27 マツダ株式会社 エアバッグ展開方法及びエアバッグシステム
JP7298263B2 (ja) * 2019-04-16 2023-06-27 マツダ株式会社 エアバッグ展開方法及びエアバッグシステム
JP7230659B2 (ja) * 2019-04-16 2023-03-01 マツダ株式会社 エアバッグ展開方法及びエアバッグシステム
DE102023209069A1 (de) * 2023-09-19 2025-03-20 Continental Automotive Technologies GmbH Verfahren und Vorrichtung zur Ansteuerung einer Insassenrückhalteeinrichtung eines Fahrzeugs

Family Cites Families (15)

* Cited by examiner, † Cited by third party
Publication number Priority date Publication date Assignee Title
DE2745620A1 (de) * 1977-10-11 1979-04-12 Daimler Benz Ag Luftsack-system zum schutz der insassen eines kraftfahrzeuges bei unfaellen
US5071160A (en) * 1989-10-02 1991-12-10 Automotive Systems Laboratory, Inc. Passenger out-of-position sensor
JP2605922B2 (ja) * 1990-04-18 1997-04-30 日産自動車株式会社 車両用安全装置
US5202831A (en) * 1991-07-09 1993-04-13 Trw Vehicle Safety Systems Inc. Method and apparatus for controlling an occupant restraint system using real time vector analysis
JP2687771B2 (ja) 1991-08-06 1997-12-08 日産自動車株式会社 車両用乗員拘束装置
US5446661A (en) * 1993-04-15 1995-08-29 Automotive Systems Laboratory, Inc. Adjustable crash discrimination system with occupant position detection
US5400487A (en) * 1994-01-14 1995-03-28 Automotive Systems Laboratory, Inc. Variable inflation system for vehicle safety restraint
US5758899A (en) * 1995-06-15 1998-06-02 Trw Inc. Method and apparatus for providing a safing function for side impact crash sensing systems
US5746444A (en) * 1996-09-27 1998-05-05 Trw Inc. Method and apparatus for single point sensing of front and side impact crash conditions
US5785347A (en) * 1996-10-21 1998-07-28 Siemens Automotive Corporation Occupant sensing and crash behavior system
US5863067A (en) * 1996-12-05 1999-01-26 Trw Vehicle Safety Systems Inc. Vehicle occupant protection apparatus
US5986221A (en) * 1996-12-19 1999-11-16 Automotive Systems Laboratory, Inc. Membrane seat weight sensor
US6186539B1 (en) * 1998-07-01 2001-02-13 Trw Inc. Method and apparatus for controlling an actuatable restraint device using crash severity indexing and crush zone sensor
US6036225A (en) * 1998-07-01 2000-03-14 Trw Inc. Method and apparatus for controlling an actuatable restraint device using crash severity indexing
BR0007409A (pt) * 1999-01-07 2001-10-16 Siemens Automotive Corp Lp Sistema e método de discriminação de evento de acionamento de airbag

Also Published As

Publication number Publication date
US6811182B2 (en) 2004-11-02
EP1262375A3 (en) 2004-06-16
US20020175507A1 (en) 2002-11-28
DE60211416D1 (de) 2006-06-22
EP1262375A2 (en) 2002-12-04
DE60211416T2 (de) 2006-09-21
JP2002347568A (ja) 2002-12-04
EP1262375B1 (en) 2006-05-17

Similar Documents

Publication Publication Date Title
JP3772693B2 (ja) 車両用乗員拘束装置
US20010054816A1 (en) Method and safety restraint device for restraining an occupant on a vehicle seat
US9499116B2 (en) Occupant protection device and program
US20070273139A1 (en) Device for Ascertaining an Occupant Position in a Vehicle
JPH042545A (ja) 車両用安全装置
JPH05193439A (ja) 実時間ベクトル解析を用いた乗員拘束システムの制御方法及び装置
US10173622B2 (en) Vehicle occupant protection apparatus
JP3346472B2 (ja) 乗員保護装置の起動制御装置
EP1637405A1 (en) Object struck discrimination system and protection system
US20120296526A1 (en) Control unit for setting a device for the adaptive reduction of crash energy for a vehicle, device for the adaptive reduction of crash energy for a vehicle and method for setting a device for the adaptive reduction of crash energy for a vehicle
CN108032856A (zh) 一种主被动集成的多级预紧式安全带控制系统及其方法
JP5092678B2 (ja) 車両用乗員保護装置
KR20150062531A (ko) 자동차의 승객 보호장치
JP6568807B2 (ja) 乗員保護装置及びプログラム
US7350860B2 (en) Headrest apparatus
EP3699035B1 (en) Vehicle occupant protection device
JP4062219B2 (ja) 乗員保護装置
CN118928289A (zh) 一种零重力座椅碰撞乘员保护控制系统及方法
JP6718266B2 (ja) 車両の乗員保護装置
JP2002096707A (ja) 衝突形態判定装置、及び、乗員保護装置の起動制御装置
US8478488B2 (en) Impact event countermeasure control method and system for automotive vehicle
JP4003631B2 (ja) 車両の乗員保護装置
JPH11129860A (ja) エアバッグ制御装置
JP6555162B2 (ja) 乗員保護装置
CN121268740A (zh) 安全气囊点爆控制方法、装置、存储介质、控制器及车辆

Legal Events

Date Code Title Description
A977 Report on retrieval

Free format text: JAPANESE INTERMEDIATE CODE: A971007

Effective date: 20050330

A131 Notification of reasons for refusal

Free format text: JAPANESE INTERMEDIATE CODE: A131

Effective date: 20050823

A521 Written amendment

Free format text: JAPANESE INTERMEDIATE CODE: A523

Effective date: 20050928

TRDD Decision of grant or rejection written
A01 Written decision to grant a patent or to grant a registration (utility model)

Free format text: JAPANESE INTERMEDIATE CODE: A01

Effective date: 20060124

A61 First payment of annual fees (during grant procedure)

Free format text: JAPANESE INTERMEDIATE CODE: A61

Effective date: 20060206

R150 Certificate of patent or registration of utility model

Free format text: JAPANESE INTERMEDIATE CODE: R150

FPAY Renewal fee payment (event date is renewal date of database)

Free format text: PAYMENT UNTIL: 20090224

Year of fee payment: 3

FPAY Renewal fee payment (event date is renewal date of database)

Free format text: PAYMENT UNTIL: 20100224

Year of fee payment: 4

FPAY Renewal fee payment (event date is renewal date of database)

Free format text: PAYMENT UNTIL: 20100224

Year of fee payment: 4

FPAY Renewal fee payment (event date is renewal date of database)

Free format text: PAYMENT UNTIL: 20110224

Year of fee payment: 5

FPAY Renewal fee payment (event date is renewal date of database)

Free format text: PAYMENT UNTIL: 20120224

Year of fee payment: 6

LAPS Cancellation because of no payment of annual fees