JP3728186B2 - 冷蔵ショーケース - Google Patents

冷蔵ショーケース Download PDF

Info

Publication number
JP3728186B2
JP3728186B2 JP2000196339A JP2000196339A JP3728186B2 JP 3728186 B2 JP3728186 B2 JP 3728186B2 JP 2000196339 A JP2000196339 A JP 2000196339A JP 2000196339 A JP2000196339 A JP 2000196339A JP 3728186 B2 JP3728186 B2 JP 3728186B2
Authority
JP
Japan
Prior art keywords
cabinet
mounting plate
fan motor
interior
cooler
Prior art date
Legal status (The legal status is an assumption and is not a legal conclusion. Google has not performed a legal analysis and makes no representation as to the accuracy of the status listed.)
Expired - Fee Related
Application number
JP2000196339A
Other languages
English (en)
Other versions
JP2002013861A (ja
Inventor
優 広沢
富夫 陶山
孝俊 鳥畑
Current Assignee (The listed assignees may be inaccurate. Google has not performed a legal analysis and makes no representation or warranty as to the accuracy of the list.)
Hoshizaki Electric Co Ltd
Original Assignee
Hoshizaki Electric Co Ltd
Priority date (The priority date is an assumption and is not a legal conclusion. Google has not performed a legal analysis and makes no representation as to the accuracy of the date listed.)
Filing date
Publication date
Application filed by Hoshizaki Electric Co Ltd filed Critical Hoshizaki Electric Co Ltd
Priority to JP2000196339A priority Critical patent/JP3728186B2/ja
Publication of JP2002013861A publication Critical patent/JP2002013861A/ja
Application granted granted Critical
Publication of JP3728186B2 publication Critical patent/JP3728186B2/ja
Anticipated expiration legal-status Critical
Expired - Fee Related legal-status Critical Current

Links

Images

Landscapes

  • Devices That Are Associated With Refrigeration Equipment (AREA)
  • Cold Air Circulating Systems And Constructional Details In Refrigerators (AREA)

Description

【0001】
【発明の属する技術分野】
この発明は、冷蔵ショーケースに係り、特に庫内に取り付けられている冷却用ファンモータの取付板の構造に関する。
【0002】
【従来の技術】
従来の冷蔵ショーケースにおいては、庫内に配置された冷却器による冷気を自然対流させることにより庫内の冷却を行っていた。そのため、庫内温度が不均一になることがあり、さらにその結果、冷却能力不足等の問題を生じることがあった。
そこで、庫内にファンモータを取り付けて庫内の空気を強制的に循環させる冷蔵ショーケースが用いられるようになった。
【0003】
【発明が解決しようとする課題】
しかしながら、ファンモータを取り付けただけでは、ファンモータにより形成される空気の流れが乱流となって庫内をうまく循環しないことが多く、庫内温度を均一にすることができないという問題があった。
特に、ファンモータの吹き出し口付近に商品が置かれた場合には、さらに乱流が著しくなり、庫内の冷却効率が低下する。
また、商品がファンモータの取付部に接触すると、ファンモータが破損する怖れがあった。
この発明はこのような問題点を解消するためになされたもので、庫内温度の均一化と冷却効率の向上を図ると共に商品の接触によるファンモータの破損を防止することができる冷蔵ショーケースを提供することを目的とする。
【0004】
【課題を解決するための手段】
この発明に係る冷蔵ショーケースは、少なくとも庫内背面側に設けられた冷却器と庫内に設けられた冷気循環用のファンモータとを有する冷蔵ショーケースにおいて、ファンモータを覆うと共に前面に形成された吹き出し口を有し且つファンモータを庫内に取り付けるための取付板と、取付板の前面に対して斜めに且つ吹き出し口の前部にまで延びるように配置されると共にファンモータにより取付板の吹き出し口から吹き出された空気を冷却器に向けるためのガイド板とを備えたものである。
また、取付板が、側面に形成された冷気循環用の通孔及び上下面に形成された通風路のうち少なくとも一方を有することが好ましい。
【0005】
【発明の実施の形態】
以下、この発明の実施の形態を添付図面に基づいて説明する。
図1はこの発明の実施の形態に係る冷蔵ショーケースの内部を示す平面断面図である。前面が開放された箱形状の本体1は断熱体から形成されており、本体1の前面に左右一対のスライド扉2が開閉自在に取り付けられている。本体1の左外側部には機械室3が画成され、機械室3内に圧縮機4及びコントロールボックス5の他、図示しない凝縮器、冷凍機部品、蛍光灯安定器等が設けられている。
【0006】
本体1とスライド扉2で構成される庫内の前面中央部には上下方向に中央枠6が固定され、この中央枠6にショーケース効果を出すための蛍光灯7が上下方向に設けられている。庫内の背面側には機械室3の圧縮機及び凝縮器等に接続されて冷却ユニットを構成する冷却器8が取り付けられると共に冷却器8の直下に冷却器8からの除霜水を受ける除霜水受け板9が配設されている。また、庫内の左側面奥側には庫内の冷気を強制的に循環させるためのファンモータが取付板10を介して取り付けられている。
【0007】
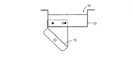
図2〜4に示されるように、取付板10は、ファンモータを覆うような箱形状を有し、その前面に多数の開口部からなる吹き出し口11が形成されている。また、庫内に取り付けられたときに庫内の前面を臨む取付板10の左側面には、冷気循環用の多数の通孔からなる吸い込み口12が形成されている。さらに、取付板10の上下面は、この取付板10が取り付けられる庫内壁面との間に隙間が形成されるような形状及び大きさを有しており、ファンモータの運転時にはこの隙間が通風路14として作用する。
取付板10の左端部には、取付板10の前面に対して斜め、例えば45度の角度で張り出すように、ファンモータからの送風を冷却器8に向けるためのガイド板13が一体に取り付けられている。図3に明確に示されるように、ガイド板13は、取付板10の前面に形成された吹き出し口11のほぼ中央部にまで延びている。
【0008】
次に、この実施の形態に係る冷蔵ショーケースの作用について説明する。まず、コントロールボックス5の前面に設けられたスイッチ類を操作することにより、冷却ユニットが起動されると共に蛍光灯7が点灯され、さらに取付板10に取り付けられた冷気循環用のファンモータが駆動される。冷却ユニットの起動により、庫内の背面側に取り付けられた冷却器8はコントロールボックス5の庫内温度設定スイッチで設定された所定の温度に冷却される。
【0009】
ここで、冷気循環用のファンモータが駆動されているため、図1に矢印で示すように、庫内の前面側の空気が取付板10の左側面に形成された吸い込み口12及び取付板10の上下面に形成された通風路14から吸い込まれ、取付板10の前面に形成された吹き出し口11から吹き出される。このとき、取付板10の左端部に取付板10の前面に対して斜めに張り出すようにガイド板13が取り付けられているので、ファンモータにより吹き出し口11から吹き出された空気は庫内背面側の冷却器8に向かうように案内され、冷却器8で冷却されつつ庫内の右側へ進み、本体1の右側面に沿って庫内の前面側に至り、再び取付板10の吸い込み口12から吸い込まれる。このようにして庫内の空気が冷却器8で冷却されながら庫内を循環する。その結果、庫内温度が均一化になると共に冷却効率の向上が図られる。
【0010】
また、庫内の前面を臨む取付板10の左端部から吹き出し口11のほぼ中央部にまで延びるように斜めにガイド板13が取り付けられているので、吹き出し口11の直前に商品が置かれることが防止され、吹き出しスペースを常時確保して冷気の循環を円滑に行うことが可能となった。このため、商品がよく冷えるようになる。
さらに、ガイド板13の存在により、商品がファンモータの取付部に直接接触することが防止され、ファンモータが破損する怖れがなくなった。また、商品の出し入れ時に庫内に差し入れた手がファンモータの取付部に直接接触することも防止されるので、安心して出し入れ作業を行うことができるようになった。
【0011】
なお、上記の実施の形態においては、庫内の左側面奥側に取付板10を介してファンモータを取り付けたが、これに限るものではなく、庫内の右側面、背面、天井面等、冷却器や機械室の位置に合わせて適宜箇所に取り付けることができる。
また、取付板10にガイド板13を一体に取り付けたが、ガイド板13は庫内の壁面に直接取り付けることもできる。
取付板10の左側面に冷気循環用の多数の通孔からなる吸い込み口12が形成されていたが、庫内の冷気の流れに合わせて吸い込み口12を取付板10の右側面に形成したり、両側面に形成することもできる。さらに、場合によっては、取付板10に側面の吸い込み口12と上下面の通風路14とのいずれか一方のみを形成してもよい。
【0012】
【発明の効果】
以上説明したように、この発明の冷蔵ショーケースは、ファンモータを覆うと共に前面に形成された吹き出し口を有し且つファンモータを庫内に取り付けるための取付板と、取付板の前面に対して斜めに且つ吹き出し口の前部にまで延びるように配置されると共にファンモータにより取付板の吹き出し口から吹き出された空気を冷却器に向けるためのガイド板とを備えているので、庫内温度の均一化と冷却効率の向上を図ると共に商品の接触によるファンモータの破損を防止することが可能となった。
【図面の簡単な説明】
【図1】 この発明の実施の形態に係る冷蔵ショーケースの内部を示す平面断面図である。
【図2】 実施の形態で用いられた取付板を示す斜視図である。
【図3】 実施の形態で用いられた取付板を示す正面図である。
【図4】 実施の形態で用いられた取付板を示す平面図である。
【図5】 実施の形態で用いられた取付板を示す左側面図である。
【符号の説明】
1 本体、2 スライド扉、3 機械室、4 圧縮機、5 コントロールボックス、6 中央枠、7 蛍光灯、8 冷却器、9 除霜水受け板、10 取付板、11 吹き出し口、12 吸い込み口、13 ガイド板、14 通風路。

Claims (2)

  1. 少なくとも庫内背面側に設けられた冷却器と庫内に設けられた冷気循環用のファンモータとを有する冷蔵ショーケースにおいて、
    ファンモータを覆うと共に前面に形成された吹き出し口を有し且つファンモータを庫内に取り付けるための取付板と、
    前記取付板の前面に対して斜めに且つ吹き出し口の前部にまで延びるように配置されると共にファンモータにより前記取付板の吹き出し口から吹き出された空気を冷却器に向けるためのガイド板と
    を備えたことを特徴とする冷蔵ショーケース。
  2. 前記取付板は、側面に形成された冷気循環用の通孔及び上下面に形成された通風路のうち少なくとも一方を有する請求項1に記載の冷蔵ショーケース。
JP2000196339A 2000-06-29 2000-06-29 冷蔵ショーケース Expired - Fee Related JP3728186B2 (ja)

Priority Applications (1)

Application Number Priority Date Filing Date Title
JP2000196339A JP3728186B2 (ja) 2000-06-29 2000-06-29 冷蔵ショーケース

Applications Claiming Priority (1)

Application Number Priority Date Filing Date Title
JP2000196339A JP3728186B2 (ja) 2000-06-29 2000-06-29 冷蔵ショーケース

Publications (2)

Publication Number Publication Date
JP2002013861A JP2002013861A (ja) 2002-01-18
JP3728186B2 true JP3728186B2 (ja) 2005-12-21

Family

ID=18694850

Family Applications (1)

Application Number Title Priority Date Filing Date
JP2000196339A Expired - Fee Related JP3728186B2 (ja) 2000-06-29 2000-06-29 冷蔵ショーケース

Country Status (1)

Country Link
JP (1) JP3728186B2 (ja)

Also Published As

Publication number Publication date
JP2002013861A (ja) 2002-01-18

Similar Documents

Publication Publication Date Title
KR101390448B1 (ko) 냉장고
KR0171523B1 (ko) 냉장고의 냉기 단속 장치
US20030041616A1 (en) Cooling air circulating device in refrigerator
JP2017141975A (ja) 冷蔵庫
JP2000088438A (ja) 冷却貯蔵庫
KR102377630B1 (ko) 냉장고
JP3728186B2 (ja) 冷蔵ショーケース
JP3553633B2 (ja) 冷蔵庫
KR100487317B1 (ko) 직냉식 냉장고
JP2517488B2 (ja) 冷却貯蔵庫
JPH0230708Y2 (ja)
KR20030042735A (ko) 냉장고
JP2000180016A (ja) 冷蔵庫
KR100441011B1 (ko) 냉장고
KR200292006Y1 (ko) 냉장고
JP2614558B2 (ja) 冷却貯蔵庫
KR20060078134A (ko) 냉장고
JPH0755321A (ja) 冷凍冷蔵庫
JPH07225076A (ja) 冷蔵庫等の機械室構造
JP2001349656A (ja) 冷蔵庫
JPH0961037A (ja) 冷却貯蔵庫
KR0116573Y1 (ko) 냉장고의 냉동실에 있는 앤기흡입닥트구조
KR20080029483A (ko) 냉장고
KR20060081806A (ko) 냉장고
JP2003284629A (ja) 冷蔵庫

Legal Events

Date Code Title Description
A977 Report on retrieval

Free format text: JAPANESE INTERMEDIATE CODE: A971007

Effective date: 20050613

A131 Notification of reasons for refusal

Free format text: JAPANESE INTERMEDIATE CODE: A131

Effective date: 20050705

A521 Written amendment

Free format text: JAPANESE INTERMEDIATE CODE: A523

Effective date: 20050831

TRDD Decision of grant or rejection written
A01 Written decision to grant a patent or to grant a registration (utility model)

Free format text: JAPANESE INTERMEDIATE CODE: A01

Effective date: 20050920

A61 First payment of annual fees (during grant procedure)

Free format text: JAPANESE INTERMEDIATE CODE: A61

Effective date: 20050930

R150 Certificate of patent or registration of utility model

Free format text: JAPANESE INTERMEDIATE CODE: R150

LAPS Cancellation because of no payment of annual fees