JP3727552B2 - パーフルオロ化合物ガスの分離回収装置 - Google Patents

パーフルオロ化合物ガスの分離回収装置 Download PDF

Info

Publication number
JP3727552B2
JP3727552B2 JP2001165873A JP2001165873A JP3727552B2 JP 3727552 B2 JP3727552 B2 JP 3727552B2 JP 2001165873 A JP2001165873 A JP 2001165873A JP 2001165873 A JP2001165873 A JP 2001165873A JP 3727552 B2 JP3727552 B2 JP 3727552B2
Authority
JP
Japan
Prior art keywords
gas
membrane
permeate
separation means
membrane separation
Prior art date
Legal status (The legal status is an assumption and is not a legal conclusion. Google has not performed a legal analysis and makes no representation as to the accuracy of the status listed.)
Expired - Lifetime
Application number
JP2001165873A
Other languages
English (en)
Other versions
JP2002363114A (ja
Inventor
昭彦 新田
克人 枝澤
岳史 真鍋
浩三 大矢
修次 永野
賢一 八高
秀樹 安藤
正敏 後藤
隆章 記村
隆 上村
康司 中坊
章 関屋
賢治 原谷
Current Assignee (The listed assignees may be inaccurate. Google has not performed a legal analysis and makes no representation or warranty as to the accuracy of the list.)
National Institute of Advanced Industrial Science and Technology AIST
Research Institute of Innovative Technology for the Earth RITE
Original Assignee
National Institute of Advanced Industrial Science and Technology AIST
Research Institute of Innovative Technology for the Earth RITE
Priority date (The priority date is an assumption and is not a legal conclusion. Google has not performed a legal analysis and makes no representation as to the accuracy of the date listed.)
Filing date
Publication date
Application filed by National Institute of Advanced Industrial Science and Technology AIST, Research Institute of Innovative Technology for the Earth RITE filed Critical National Institute of Advanced Industrial Science and Technology AIST
Priority to JP2001165873A priority Critical patent/JP3727552B2/ja
Publication of JP2002363114A publication Critical patent/JP2002363114A/ja
Application granted granted Critical
Publication of JP3727552B2 publication Critical patent/JP3727552B2/ja
Anticipated expiration legal-status Critical
Expired - Lifetime legal-status Critical Current

Links

Images

Classifications

    • YGENERAL TAGGING OF NEW TECHNOLOGICAL DEVELOPMENTS; GENERAL TAGGING OF CROSS-SECTIONAL TECHNOLOGIES SPANNING OVER SEVERAL SECTIONS OF THE IPC; TECHNICAL SUBJECTS COVERED BY FORMER USPC CROSS-REFERENCE ART COLLECTIONS [XRACs] AND DIGESTS
    • Y02TECHNOLOGIES OR APPLICATIONS FOR MITIGATION OR ADAPTATION AGAINST CLIMATE CHANGE
    • Y02PCLIMATE CHANGE MITIGATION TECHNOLOGIES IN THE PRODUCTION OR PROCESSING OF GOODS
    • Y02P20/00Technologies relating to chemical industry
    • Y02P20/151Reduction of greenhouse gas [GHG] emissions, e.g. CO2
    • Y02P20/155Perfluorocarbons [PFC]; Hydrofluorocarbons [HFC]; Hydrochlorofluorocarbons [HCFC]; Chlorofluorocarbons [CFC]

Landscapes

  • Separation Using Semi-Permeable Membranes (AREA)
  • Organic Low-Molecular-Weight Compounds And Preparation Thereof (AREA)

Description

【0001】
【発明の属する技術分野】
本発明は、半導体製造などにおいて用いられるCF4、C26、C38、C410、SF6、NF3などのパーフルオロ化合物ガスを分離回収する装置に関する。
【0002】
【従来の技術】
半導体製造などにおいては、エッチング、洗浄等の工程に、CF4、C26、C38、C410、SF6、NF3などのパーフルオロ化合物ガスが用いられている。
パーフルオロ化合物ガスは、地球環境に対し有害なガス(例えば温室効果ガス)となり得ることが指摘されている。
このため、半導体製造工程などから排出されるガス混合物からパーフルオロ化合物ガスを分離回収し、再利用することが行われている。
パーフルオロ化合物ガスを分離回収する装置としては、膜分離、吸着分離、蒸留分離によりパーフルオロ化合物ガスを分離できるものがあり、特に、分離性能に優れた膜分離を採用した分離回収装置が多く用いられている。
【0003】
【発明が解決しようとする課題】
しかしながら、上記従来の分離回収装置では、パーフルオロ化合物ガスの回収率が不十分となる問題があった。また分離条件などを調節することにより回収率の向上を図ると、回収ガス中のパーフルオロ化合物ガス濃度が低くなり、回収ガスの再利用が容易でなくなることがあった。
特に、ガス混合物中のパーフルオロ化合物ガス濃度が低い(例えば500mg/l以下)場合に、パーフルオロ化合物ガスの回収率、または回収ガス中のパーフルオロ化合物ガス濃度が低くなることがあった。
本発明は、上記事情に鑑みてなされたもので、パーフルオロ化合物ガスを効率よく分離回収することができ、しかもパーフルオロ化合物ガス濃度が高い回収物を得ることができる分離回収装置を提供することを目的とする。
【0004】
【課題を解決するための手段】
本発明のパーフルオロ化合物ガスの分離回収装置は、パーフルオロ化合物ガスを含むガス混合物中のパーフルオロ化合物ガスを非透過成分として分離する第1膜分離手段と、この第1膜分離手段を経た非透過ガス中のパーフルオロ化合物ガスを非透過成分として分離する第2膜分離手段と、第1膜分離手段からの透過ガス中のパーフルオロ化合物ガスを非透過成分として分離する透過ガス膜分離手段と、この透過ガス膜分離手段からの非透過ガスを第1膜分離手段の上流側に送る非透過ガス返送経路と、第2膜分離手段からの透過ガスを第1膜分離手段の上流側に送る透過ガス返送経路を備えていることを特徴とする。
また、第2膜分離手段の後段に第3膜分離手段を設けてもよく、この第3膜分離手段からの透過ガスを第1膜分離手段の上流側に送るようにしてもよい。
透過ガス膜分離手段は、前記透過ガスを膜分離するにあたって、この透過ガスを分離膜の外部側から内部側へ透過させる外圧式構造とするのが好ましい。
透過ガス膜分離手段は、分離膜内部を減圧することによって、分離膜外部側から内部側へのガス透過を促すことができるように構成されていることが好ましい。
透過ガス膜分離手段は、分離膜が中空糸状に形成されていることが好ましい
【0005】
【発明の実施の形態】
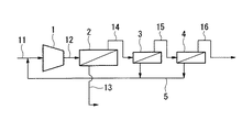
図1は、本発明のパーフルオロ化合物ガス(以下、PFCガスという)の分離回収装置の一実施形態を示すものである。
図1において、符号1は、PFCガスを含むガス混合物を昇圧させる昇圧機、符号2は、昇圧されたガス混合物中のPFCガスを非透過成分として分離する第1膜分離手段、符号3は、第1膜分離手段2を経た非透過ガス中のPFCガスを非透過成分として分離する第2膜分離手段、符号4は、第2膜分離手段3を経た非透過ガス中のPFCガスを非透過成分として分離する第3膜分離手段、符号5は、第2および第3膜分離手段3、4からの透過ガスを第1膜分離手段2の上流側に送る透過ガス返送経路、符号6は、第1膜分離手段2からの透過ガス中のPFCガスを非透過成分として分離する透過ガス膜分離手段、符号7は、透過ガス膜分離手段6からの非透過ガスを第1膜分離手段2の上流側に送る非透過ガス返送経路を示す。
【0006】
第1〜第3膜分離手段2〜4は、中空糸状、管状、スパイラル状などの分離膜を備えた構成とすることができる。
膜分離手段2〜4には、膜分離にあたって、ガスを分離膜の外部側から内部側へ透過させる外圧式構造を採用してもよいし、ガスを分離膜の内部側から外部側へ透過させる内圧式構造を採用してもよい。
【0007】
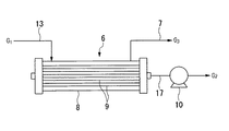
透過ガス膜分離手段6は、中空糸状、管状、スパイラル状などの分離膜を備えた構成とすることができる。なかでも特に、中空糸状の分離膜を用いると、膜面積を大きくできるため好ましい。
【0008】
透過ガス膜分離手段6には、第1膜分離手段2からの透過ガスを膜分離するにあたって、この透過ガスを分離膜の外部側から内部側へ透過させる外圧式構造を採用するのが好ましい。
図2は、外圧式構造の透過ガス膜分離手段6の一例を示すもので、ここに示す透過ガス膜分離手段6は、外容器8内に中空糸状分離膜9が設けられ、これら外容器8と分離膜9との間に導入された導入ガスG1の一部を分離膜9内部に透過させ、透過ガスG2を得ることができる構造とされている。なお符号G3は非透過ガスを示す。
透過ガス膜分離手段6は、分離膜9内部を減圧ポンプ10によって減圧することによって、分離膜9内外の圧力差により外部側から内部側へのガス透過を促すことができる構成とするのが好ましい。
なお、透過ガス膜分離手段6としては、外圧式構造に限らず、上記透過ガスを分離膜の内部側から外部側へ透過させる内圧式構造を採用することもできる。
【0009】
膜分離手段2〜4、6に用いられる分離膜としては、有機高分子材料(ポリスルフォン系、ポリイミド系、ポリオレフィン系、セルロース系、ポリビニルアルコール系等)からなるものを用いることができる。
また分離膜としては、上記有機高分子材料膜を、熱処理により炭素化して得られた炭素膜を用いることもできる。
炭素膜としては、例えば上記有機高分子材料からなる膜を、不活性ガス(窒素等)雰囲気下において500〜900℃で熱処理し、少なくとも一部を炭素化したものを用いることができる。
【0010】
次に、図1に示す分離回収装置1を用いた場合を例として、本発明の分離回収方法の一実施形態を説明する。
本実施形態の分離回収方法の対象となるガス混合物としては、半導体製造工程などからの排出されたPFCガス含有ガスを例示できる。
例えば、PFCガス(CF4、C26、C38、C410、SF6、NF3など)と他成分ガス(不活性ガス、二酸化炭素、空気など)とを含むものを例示できる。不活性ガスとしては窒素、アルゴンを例示できる。
【0011】
このガス混合物を、経路11を通して昇圧機1に導入し、ここで昇圧した後、経路12を通して第1膜分離手段2に導入する。
第1膜分離手段2においては、ガス混合物中の他成分ガス(窒素ガス等)の大部分が分離膜を透過し、透過ガスとして経路13に導出される。
一方、ガス混合物中のPFCガスの多くの部分は分離膜を透過せず、PFCガスが濃縮された非透過ガス(非透過成分)として経路14を通して第2膜分離手段3に送られる。
この際、PFCガスの多くの部分は第2膜分離手段3に送られるものの、PFCガスの一部は、分離膜を透過し、上記他成分ガスとともに透過ガスとして経路13に導出される。
【0012】
第2膜分離手段3では、経路14からの非透過ガス中のPFCガスがさらに濃縮され、非透過ガス(非透過成分)として経路15を通して第3膜分離手段4に送られる。
第2膜分離手段3の透過ガスは、透過ガス返送経路5によって、経路11を経て再び昇圧機1に導入される。これによって透過ガス中の残留PFCガスは再び膜分離手段2〜4に供給される。
【0013】
第3膜分離手段4では、経路15からの非透過ガス中のPFCガスがさらに濃縮され、非透過ガス(非透過成分)として経路16を通して回収される(以下、分離回収ガスという)。
第3膜分離手段4の透過ガスは、透過ガス返送経路5によって、経路11を経て再び昇圧機1に導入される。これによって透過ガス中の残留PFCガスは再び膜分離手段2〜4に供給される。
【0014】
上述のように、第1膜分離手段2において、ガス混合物中のPFCガスの一部は、分離膜を透過し、上記他成分ガスとともに透過ガスとして経路13に導出される。
この透過ガスは、経路13を通して導入ガスG1として透過ガス膜分離手段6に導入される。
【0015】
図2に示すように、透過ガス膜分離手段6では、減圧ポンプ10によって分離膜9内部を減圧する。
これによって、導入ガスG1中の他成分ガスは、分離膜9内外の圧力差により透過ガスG2として経路17を通して系外に導出される。
導入ガスG1中のPFCガスは、非透過ガス返送経路7を通して非透過ガスG3(非透過成分)として導出され、経路11を経て再び昇圧機1に導入され、再び膜分離手段2〜4に供給される。
【0016】
本実施形態の分離回収装置では、第1膜分離手段2からの透過ガス中のPFCガスを分離する透過ガス膜分離手段6と、透過ガス膜分離手段6からの非透過ガスを第1膜分離手段2の上流側に送る非透過ガス返送経路7とを備えているので、第1膜分離手段2を透過したPFCガスを、透過ガス膜分離手段6によって回収し、再び膜分離手段2〜4に供給することができる。
このため、ガス混合物中のPFCガス濃度が低い場合でも、PFCガスの回収率を高めることができる。
また透過ガス膜分離手段6において、PFCガスを、それ以外のガス(不活性ガスなど)から分離することができるため、ガス混合物中のPFCガス濃度が低い場合でも、分離回収ガス中のPFCガス濃度を高めることができる。このため、分離回収ガスの再利用が容易となる。
【0017】
また一般に、複数の膜分離手段を直列に配列した分離回収装置では、供給するガスに高い圧力をかけて分離膜内外の圧力差を大きくすることで、ガスを分離膜の内側から外側に透過させ、非透過ガス中のPFCガスを高圧条件で濃縮する。この供給ガスと透過ガスとの圧力差が大きいほど高いガス透過量が得られる。
本実施形態では、透過ガス膜分離手段6として、外圧式構造のものを用いることによって、透過ガス膜分離手段6における圧力損失を小さくすることができるため、分離膜9内部を減圧することにより膜分離を行うことが容易となる。
このため、導入ガスG1の圧力を高めることなく、透過ガス膜分離手段6において良好な膜分離が可能となる。
従って、第1膜分離手段2における膜分離に悪影響が及ぶのを防ぎ、第1膜分離手段2において高効率でPFCガスの分離を行うことができる。
これに対し、透過ガス膜分離手段6に内圧式構造のものを用いる場合には、圧力損失が大きくなりやすいため、効率よく膜分離を行うには、導入ガスG1の圧力を高めることが必要となる。
このため、第1膜分離手段2においてPFCガスの分離効率が低下しやすくなる。これは、上述のような分離に必要な、第1膜分離手段2における分離膜内外の十分な圧力差を設定するのが難しくなるためである。
【0018】
【実施例】
以下、具体例を示して本発明の分離回収方法を説明する。
(実施例)
図1および図2に示す分離回収装置を用いて以下の分離回収試験を行った。
膜分離手段2〜4としては内圧式構造のものを用い、透過ガス膜分離手段6としては外圧式構造のものを用いた。
本実施形態では、ガス混合物として窒素とCF4の混合物を使用した。ガス混合物中のCF4濃度は500mg/lとした。ガス混合物の供給流量は30L/minとした。
このガス混合物を、昇圧機1で0.99MPaまで昇圧した後、第1膜分離手段2に導入し、非透過ガスを第2膜分離手段3に導入し、第2膜分離手段3からの非透過ガスを第3膜分離手段4に導入し、第3膜分離手段4からの非透過ガスを経路16を通して回収した(分離回収ガス)。
膜分離手段3、4からの透過ガスは、透過ガス返送経路5を通して昇圧機1に返送した。
膜分離手段2〜4における膜分離時の温度条件は60℃とした。
第1膜分離手段2から透過ガス(導入ガスG1)を透過ガス膜分離手段6に導入し、透過ガスG2を経路17を通して系外に排出し、非透過ガスG3を非透過ガス返送経路7を通して昇圧機1に返送した。
膜分離手段2〜4における圧力条件を変化させた時の分離回収ガスのCF4濃度と回収率との関係を図3に示す。
【0019】
(比較例)
図4に示すように、透過ガス膜分離手段6と非透過ガス返送経路7とを備えていないこと以外は図1に示す装置と同様の構成の分離回収装置を用いて実施例と同様の分離回収試験を行った。
この試験では、第1膜分離手段2から透過ガスを経路13を通してそのまま系外に排出した。
膜分離手段2〜4における圧力条件を変化させた時の分離回収ガスのCF4濃度と回収率との関係を図5に示す。
【0020】
に示すように、透過ガス膜分離手段6を設けない比較例では、分離回収ガスのCF濃度を高くするとCF回収率が低くなり、CF回収率を高くすると分離回収ガス中のCF濃度が低くなったことがわかる。
これに対し、実施例では、図3に示すように、高濃度のCFを高効率で回収できたことがわかる。
【0021】
【発明の効果】
以上説明したように、本発明の分離回収装置では、第1膜分離手段からの透過ガス中のパーフルオロ化合物ガスを分離する透過ガス膜分離手段と、この膜分離手段からの非透過ガスを第1膜分離手段の上流側に送る非透過ガス返送経路とを備えているので、第1膜分離手段を透過したパーフルオロ化合物ガスを、透過ガス膜分離手段によって回収し、再び第1および第2膜分離手段に供給することができる。
このため、パーフルオロ化合物ガスの回収率を高めることができる。
また透過ガス膜分離手段において、パーフルオロ化合物ガスを、それ以外のガスから分離することができるため、回収ガス中のパーフルオロ化合物ガス濃度を高めることができる。このため、回収ガスの再利用が容易となる。
【図面の簡単な説明】
【図1】 本発明のパーフルオロ化合物ガスの分離回収装置の一実施形態を示す構成図である。
【図2】 図1に示す分離回収装置の透過ガス膜分離手段の構造図である。
【図3】 試験結果を示すグラフである。
【図4】 分離回収装置の一例を示す構成図である。
【図5】 試験結果を示すグラフである。
【符号の説明】
1・・・分離回収装置、2・・・第1膜分離手段、3・・・第2膜分離手段、5・・・透過ガス返送経路、6・・・透過ガス膜分離手段、7・・・非透過ガス返送経路、9・・・分離膜

Claims (5)

  1. パーフルオロ化合物ガスを含むガス混合物中のパーフルオロ化合物ガスを非透過成分として分離する第1膜分離手段と、
    この第1膜分離手段を経た非透過ガス中のパーフルオロ化合物ガスを非透過成分として分離する第2膜分離手段と、
    第1膜分離手段からの透過ガス中のパーフルオロ化合物ガスを非透過成分として分離する透過ガス膜分離手段と、
    この透過ガス膜分離手段からの非透過ガスを第1膜分離手段の上流側に送る非透過ガス返送経路と、
    第2膜分離手段からの透過ガスを、第1膜分離手段の上流側に送る透過ガス返送経路を備えていることを特徴とするパーフルオロ化合物ガスの分離回収装置。
  2. パーフルオロ化合物ガスを含むガス混合物中のパーフルオロ化合物ガスを非透過成分として分離する第1膜分離手段と、
    この第1膜分離手段を経た非透過ガス中のパーフルオロ化合物ガスを非透過成分として分離する第2膜分離手段と、
    この第2膜分離手段を経た非透過ガス中のパーフルオロ化合物ガスを非透過成分として分離する第3膜分離手段と、
    第1膜分離手段からの透過ガス中のパーフルオロ化合物ガスを非透過成分として分離する透過ガス膜分離手段と、
    この透過ガス膜分離手段からの非透過ガスを第1膜分離手段の上流側に送る非透過ガス返送経路と、
    第2膜分離手段および第3膜分離手段からの透過ガスを、第1膜分離手段の上流側に送る透過ガス返送経路を備えていることを特徴とするパーフルオロ化合物ガスの分離回収装置。
  3. 透過ガス膜分離手段は、前記透過ガスを膜分離するにあたって、この透過ガスを分離膜の外部側から内部側へ透過させる外圧式構造とされていることを特徴とする請求項1または2記載のパーフルオロ化合物ガスの分離回収装置。
  4. 透過ガス膜分離手段は、分離膜内部を減圧することによって、分離膜外部側から内部側へのガス透過を促すことができるように構成されていることを特徴とする請求項3記載のパーフルオロ化合物ガスの分離回収装置。
  5. 透過ガス膜分離手段は、分離膜が中空糸状に形成されていることを特徴とする請求項1〜4のうちいずれか1項記載のパーフルオロ化合物ガスの分離回収装置。
JP2001165873A 2001-05-31 2001-05-31 パーフルオロ化合物ガスの分離回収装置 Expired - Lifetime JP3727552B2 (ja)

Priority Applications (1)

Application Number Priority Date Filing Date Title
JP2001165873A JP3727552B2 (ja) 2001-05-31 2001-05-31 パーフルオロ化合物ガスの分離回収装置

Applications Claiming Priority (1)

Application Number Priority Date Filing Date Title
JP2001165873A JP3727552B2 (ja) 2001-05-31 2001-05-31 パーフルオロ化合物ガスの分離回収装置

Publications (2)

Publication Number Publication Date
JP2002363114A JP2002363114A (ja) 2002-12-18
JP3727552B2 true JP3727552B2 (ja) 2005-12-14

Family

ID=19008492

Family Applications (1)

Application Number Title Priority Date Filing Date
JP2001165873A Expired - Lifetime JP3727552B2 (ja) 2001-05-31 2001-05-31 パーフルオロ化合物ガスの分離回収装置

Country Status (1)

Country Link
JP (1) JP3727552B2 (ja)

Cited By (1)

* Cited by examiner, † Cited by third party
Publication number Priority date Publication date Assignee Title
KR101420767B1 (ko) * 2012-09-14 2014-07-17 한국화학연구원 분리막을 이용한 불화가스 농축 및 회수장치, 및 이를 이용한 불화가스 농축 및 회수방법

Families Citing this family (6)

* Cited by examiner, † Cited by third party
Publication number Priority date Publication date Assignee Title
JP5000111B2 (ja) * 2005-08-24 2012-08-15 昭和電工株式会社 ペンタフルオロエタンの製造方法
EP2797676A1 (de) * 2011-12-27 2014-11-05 Evonik Fibres GmbH Verfahren zur trennung von gasen
KR101514801B1 (ko) * 2013-06-25 2015-04-24 (주)파인텍 과불화화합물의 분리 및 재활용시스템
CA2917972C (en) * 2013-07-12 2019-10-22 Arkema Inc. Method of separating organofluorine compounds using membrane
JP6462323B2 (ja) 2014-11-12 2019-01-30 三菱重工業株式会社 ガス中のco2分離装置及びその膜分離方法
CN208406547U (zh) * 2018-01-09 2019-01-22 丁五行 混合气体的分离装置

Cited By (1)

* Cited by examiner, † Cited by third party
Publication number Priority date Publication date Assignee Title
KR101420767B1 (ko) * 2012-09-14 2014-07-17 한국화학연구원 분리막을 이용한 불화가스 농축 및 회수장치, 및 이를 이용한 불화가스 농축 및 회수방법

Also Published As

Publication number Publication date
JP2002363114A (ja) 2002-12-18

Similar Documents

Publication Publication Date Title
JP2872521B2 (ja) 二段階膜分離乾燥方法及び装置
JPH05192530A (ja) 向上したガスの膜分離方法
US5069686A (en) Process for reducing emissions from industrial sterilizers
KR101985551B1 (ko) 가스의 분리 방법
JPH035309A (ja) 乾燥高純度窒素生成のための改良方法及び装置
EP0778068A1 (en) Process for the dehydration of a gas
US11033856B2 (en) Multi-stage membrane systems with polymeric and microporous zeolitic inorganic membranes for gas separations
CN102858431B (zh) 气体分离装置的运转方法
JP2019520198A5 (ja)
CN1713949A (zh) 膜分离方法
EP0641244A1 (en) Treatment of acid gas using hybrid membrane separation systems
JP3727552B2 (ja) パーフルオロ化合物ガスの分離回収装置
US8357228B2 (en) Gas purification method
WO1996015843A1 (en) Very high purity nitrogen by membrane separation
US20120210870A1 (en) Method and device for separating gaseous mixtures by means of permeation
JP2011230036A (ja) 気体分離装置の運転方法
JP2765671B2 (ja) 酸素富化気体の製造法
JPH0768103A (ja) 膜脱気方法
JP2898741B2 (ja) 有機蒸気含有排ガスの処理方法
US6755893B2 (en) Method for high-pressure gas separation
JP4998929B2 (ja) ガス精製方法
KR20250049287A (ko) 이산화탄소 함유 가스 혼합물로부터 이산화탄소를 제거하기 위한 방법 및 시스템
US10427996B2 (en) Fermentation hydrocarbon gas products separation via membrane
JP2000072419A (ja) 希ガスの回収方法
JP2002363113A (ja) パーフルオロ化合物ガスの分離回収方法および装置

Legal Events

Date Code Title Description
A711 Notification of change in applicant

Free format text: JAPANESE INTERMEDIATE CODE: A712

Effective date: 20041029

A977 Report on retrieval

Free format text: JAPANESE INTERMEDIATE CODE: A971007

Effective date: 20050303

A131 Notification of reasons for refusal

Free format text: JAPANESE INTERMEDIATE CODE: A131

Effective date: 20050315

A521 Written amendment

Free format text: JAPANESE INTERMEDIATE CODE: A523

Effective date: 20050511

TRDD Decision of grant or rejection written
A01 Written decision to grant a patent or to grant a registration (utility model)

Free format text: JAPANESE INTERMEDIATE CODE: A01

Effective date: 20050830

A61 First payment of annual fees (during grant procedure)

Free format text: JAPANESE INTERMEDIATE CODE: A61

Effective date: 20050928

R150 Certificate of patent or registration of utility model

Ref document number: 3727552

Country of ref document: JP

Free format text: JAPANESE INTERMEDIATE CODE: R150

Free format text: JAPANESE INTERMEDIATE CODE: R150

S111 Request for change of ownership or part of ownership

Free format text: JAPANESE INTERMEDIATE CODE: R313117

R360 Written notification for declining of transfer of rights

Free format text: JAPANESE INTERMEDIATE CODE: R360

R370 Written measure of declining of transfer procedure

Free format text: JAPANESE INTERMEDIATE CODE: R370

R350 Written notification of registration of transfer

Free format text: JAPANESE INTERMEDIATE CODE: R350

S531 Written request for registration of change of domicile

Free format text: JAPANESE INTERMEDIATE CODE: R313532

R350 Written notification of registration of transfer

Free format text: JAPANESE INTERMEDIATE CODE: R350

FPAY Renewal fee payment (event date is renewal date of database)

Free format text: PAYMENT UNTIL: 20081007

Year of fee payment: 3

FPAY Renewal fee payment (event date is renewal date of database)

Free format text: PAYMENT UNTIL: 20141007

Year of fee payment: 9

R250 Receipt of annual fees

Free format text: JAPANESE INTERMEDIATE CODE: R250

FPAY Renewal fee payment (event date is renewal date of database)

Free format text: PAYMENT UNTIL: 20141007

Year of fee payment: 9

S533 Written request for registration of change of name

Free format text: JAPANESE INTERMEDIATE CODE: R313533

FPAY Renewal fee payment (event date is renewal date of database)

Free format text: PAYMENT UNTIL: 20141007

Year of fee payment: 9

R350 Written notification of registration of transfer

Free format text: JAPANESE INTERMEDIATE CODE: R350

R250 Receipt of annual fees

Free format text: JAPANESE INTERMEDIATE CODE: R250

S533 Written request for registration of change of name

Free format text: JAPANESE INTERMEDIATE CODE: R313533

R350 Written notification of registration of transfer

Free format text: JAPANESE INTERMEDIATE CODE: R350

R250 Receipt of annual fees

Free format text: JAPANESE INTERMEDIATE CODE: R250

S111 Request for change of ownership or part of ownership

Free format text: JAPANESE INTERMEDIATE CODE: R313115

R350 Written notification of registration of transfer

Free format text: JAPANESE INTERMEDIATE CODE: R350

R250 Receipt of annual fees

Free format text: JAPANESE INTERMEDIATE CODE: R250

R250 Receipt of annual fees

Free format text: JAPANESE INTERMEDIATE CODE: R250

R250 Receipt of annual fees

Free format text: JAPANESE INTERMEDIATE CODE: R250

R250 Receipt of annual fees

Free format text: JAPANESE INTERMEDIATE CODE: R250

S533 Written request for registration of change of name

Free format text: JAPANESE INTERMEDIATE CODE: R313533

R350 Written notification of registration of transfer

Free format text: JAPANESE INTERMEDIATE CODE: R350

R250 Receipt of annual fees

Free format text: JAPANESE INTERMEDIATE CODE: R250

S111 Request for change of ownership or part of ownership

Free format text: JAPANESE INTERMEDIATE CODE: R313115

R350 Written notification of registration of transfer

Free format text: JAPANESE INTERMEDIATE CODE: R350

EXPY Cancellation because of completion of term