JP3716552B2 - プリントメディアカートリッジ - Google Patents

プリントメディアカートリッジ Download PDF

Info

Publication number
JP3716552B2
JP3716552B2 JP13543897A JP13543897A JP3716552B2 JP 3716552 B2 JP3716552 B2 JP 3716552B2 JP 13543897 A JP13543897 A JP 13543897A JP 13543897 A JP13543897 A JP 13543897A JP 3716552 B2 JP3716552 B2 JP 3716552B2
Authority
JP
Japan
Prior art keywords
portions
pair
leaf spring
spool
bearing portion
Prior art date
Legal status (The legal status is an assumption and is not a legal conclusion. Google has not performed a legal analysis and makes no representation as to the accuracy of the status listed.)
Expired - Fee Related
Application number
JP13543897A
Other languages
English (en)
Other versions
JPH10337923A (ja
Inventor
真一 近藤
Current Assignee (The listed assignees may be inaccurate. Google has not performed a legal analysis and makes no representation or warranty as to the accuracy of the list.)
Sony Corp
Original Assignee
Sony Corp
Priority date (The priority date is an assumption and is not a legal conclusion. Google has not performed a legal analysis and makes no representation as to the accuracy of the date listed.)
Filing date
Publication date
Application filed by Sony Corp filed Critical Sony Corp
Priority to JP13543897A priority Critical patent/JP3716552B2/ja
Publication of JPH10337923A publication Critical patent/JPH10337923A/ja
Application granted granted Critical
Publication of JP3716552B2 publication Critical patent/JP3716552B2/ja
Anticipated expiration legal-status Critical
Expired - Fee Related legal-status Critical Current

Links

Images

Landscapes

  • Impression-Transfer Materials And Handling Thereof (AREA)

Description

【0001】
【発明の属する技術分野】
本発明は、ビデオ映像等の記録画像をハードコピー、いわゆるカラーなどの写真として印画するためのプリンタ装置に使用されるプリントメディアカートリッジに関し、特にプリントメディアを巻装するスプールと、このスプールの空転を防止するために備えられる弾性部材の組み付け構造に係るものである。
【0002】
【従来の技術】
例えば、昇華型転写方式カラープリンタ用のプリントメディアカートリッジには、イエロー、マゼンタ、シアン等の着色部からなる着色領域が連続したプリントメディア(インクリボン)を、供給側スプールと巻き取り側スプールとに架け渡される状態で巻装したものが使用されている。
【0003】
従来のこの種のプリントメディアカートリッジの一例を図1〜図5を参照して説明する。
図において1はプリントメディアカートリッジを全体として示し、2はそのカートリッジ本体で、このカートリッジ本体2は何れも合成樹脂製のロアーシェル10とアッパーシェル20とを超音波溶着等で合体固着して構成される。
【0004】
図2で明らかな如くロアーシェル10は、前後に相対向する前側部11と後側部12の左右両側に半円筒状の一対の収納部13と14を一体に形成してなり、その中央部にはプリンタのヘッドやプラテン等が挿入される開口部15が形成されている。
【0005】
またこのロアーシェル10の前側部11においては、上記収納部13,14に対応して一対の円弧状の半孔部16a,16bが形成されていると共に、この半孔部16a,16bの下方において前側部11の内面側には一対の係合突起17a,17bが突設されている。
さらにこのロアーシェル10の後側部12の内面側には、上記収納部13,14に対応して一対の円筒状の軸受け部18a,18bが突設されている。
【0006】
一方アッパーシェル20は、前後に相対向する前側部21と後側部22の左右両側に下方へ円弧状に湾曲した一対の収納部23と24を一体に形成してなり、その中央部にはプリンタのヘッドやプラテン等が挿入される開口部25が形成されている。
【0007】
またこのアッパーシェル20の前側部21においては、上記収納部23,24に対応して一対の円弧状の半孔部26a,26bが形成されていると共に、この半孔部26a,26bの上方において前側部21の内面側には一対の係合突起27a,27bが突設されている。
【0008】
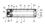
そして、これらのロアーシェル10とアッパーシェル11とを合体して構成されるカートリッジ本体2の内部には、両シェル10と20の収納部13,14と23,24との間において合成樹脂製の一対のスプール即ち供給側スプール30と巻き取り側スプール40とが回転自在に収納されている。
【0009】
各スプール30,40には、円筒状の胴部31,41にプリントメディアとしてのインクリボン50が架け渡される状態で巻装されている。このインクリボン50には、イエロー(Y)、マゼンタ(M)、シアン(C)の着色部からなる着色領域が連続して設けられており、このインクリボン50が両スプール30と40の間において上記開口部15,25から外部に露出され、ここの部分でプリントが行なわれる。
【0010】
各スプール30,40の一端側には、胴部31,41より径の大きい大径円筒部32,42が一体に形成されており、この大径円筒部32,42は両シェル10と20の前側部の半孔部16a,16bと26a,26bとで形成される軸受け孔部に回転自在に支持されると共に、この軸受け孔部から前面に表出される。この大径円筒部32,42の内周面には、プリンタの回転駆動軸と係合する係合突子32a,42aが設けられている。
【0011】
さらにこの大径円筒部32,42の周面には環円板状のフランジ部33,43が一体に形成されており、このフランジ部33,43の外面側には、両シェル10と20の係合突起17aと27a、17bと27bに対し係脱自在な係合溝33a,43aが放射状に複数形成されている。
【0012】
各スプール30,40の他端側は、環円板状のフランジ部34,44と中径軸部35、45と小径軸部36,46とで三段形状に形成されており、先端の小径軸部36,46がロアーシェル10の後側部12の軸受け部18a,18bに挿入されて回転自在に支持される。
【0013】
そして、各スプール30,40の中径軸部35,45と軸受け部18a,18bとの間には、弾性部材として圧縮コイルバネ60,60が小径軸部36,46に装着される状態で介挿されており、この圧縮コイルバネ60,60の弾性偏倚力によって各スプール30,40は両シェル10と20の前側部11と21側に向って軸方向に押圧されてフランジ部33,43が前側部11と21の内面側に圧接され、かつ、フランジ部33,43の係合溝33a,43aが係合突起17aと27a、17bと27bに係合し、これにより各スプール30,40の不要な回転即ち空転が防止されてインクリボン50の弛みが阻止される。
【0014】
尚、プリントメディアカートリッジ1をプリンタに装填した状態では、プリンタの回転駆動軸が各スプール30,40の大径円筒部32,42に挿入されることで各スプール30、40が圧縮コイルバネ60,60の弾性偏倚力に抗して押し込まれ、これによって各スプール30,40はフランジ部33,43が両シェル10と20の前側部11と21の内面側から離れて回転可能な状態となる。
【0015】
さらに供給側スプール30の中径軸部35にはコードリング70が嵌合されて取り付けられている。このコードリング70の外周面の半部はギヤ部71となっており、残りの半部にはインクリボン50に関する情報(インクリボンの種類、サイズ、感度など)をバーコード形式で印刷したコードラベル72が貼着されている。このコードリング70に対応して両シェル10と20の後部には切り欠き部19と29が形成されており、ここからコードリング70の一部が外部に露出されるようになっている。
【0016】
【発明が解決しようとする課題】
以上の如く構成される従来のプリントメディアカートリッジは、組み立て工程での作業性が悪いという欠点があった。
即ち、従来のプリントメディアカートリッジにおいて、巻き取り側スプール40をロアーシェル10に組み付けるときの作業工程を図5に示してあり(供給側スプール30の場合も同様である)、この作業では先ず図5(A)に示すようにスプール40の小径軸部46に圧縮コイルバネ60を装着し、その状態で同図(B)から(C)に示す如く小径軸部46をロアーシェル10の軸受け部18bに挿入してスプール40をロアーシェル10に組み付けるが、ここで従来はスプール40の小径軸部46を円筒形状の軸受け部18bに挿入するためにスプール40を傾けた状態で組み込まなければならず、このとき圧縮コイルバネ60が小径軸部46から脱落するおそれもあるので、作業が非常に難しく、即ち作業性が悪かった。
【0017】
本発明はこのような問題点に鑑みてなされたもので、組み立て作業性のよいプリントメディアカートリッジを提供することを目的とする。
【0018】
【課題を解決するための手段】
上記の目的を達成するために本発明は、ロアーシェルとアッパーシェルとを合体して構成されるカートリッジ本体の内部にプリントメディアを巻装するスプールが回転自在に収納され、このスプールは、その片側の端部の軸部が上記ロアーシェルの内面側に設けられた軸受け部に回転自在に支持されると共に、上記軸受け部との間に介挿される弾性部材によって軸方向に押圧されることで空転が防止される構造を有してなるプリントメディアカートリッジにおいて、上記軸受け部を、上方側が開放した略半円筒状に形成すると共に、上記弾性部材を、上記ロアーシェルの上方から組み付け可能な板ばねにより形成したものである。そして上記板バネは、略逆U字形の側面形状を有し、基部側に設けられた一対の脚部で上記軸受け部を挟むように組み付けられる構造であり、この板バネの一対の脚部の内側には、上記スプールに向かう方向に折り曲げられる一対の突片部が形成され、ここで一対の突片部の先端部間の間隔が、上記軸受け部の横幅寸法よりも狭く形成されていることを特徴とするものである。
【0019】
上記構造としたことにより本発明のプリントメディアカートリッジでは、その組み立て作業工程において板バネ及びスプールをロアーシェルの上方から落とし込むようにして組み付けることができるので、組み立て作業性が良好となる。
そして特にこの構成において板バネは、略逆U字形の側面形状を有し、基部側に設けられた一対の脚部で軸受け部を挟むように組み付けられる構造であり、この板バネの一対の脚部の内側には、スプールに向かう方向に折り曲げられる一対の突片部が形成され、ここで一対の突片部の先端部間の間隔が、軸受け部の横幅寸法よりも狭く形成されていることにより、板バネを軸受け部に組み付けた状態では、板バネは一対の突片部の弾性によって軸受け部に対し確実に係止固定されて脱落が防止される。
【0020】
【発明の実施の形態】
以下、図面を参照しながら本発明の実施の形態について詳細に説明する。
本発明の代表的な実施形態である第1の実施形態例を図6〜図14に示す。
図において1はプリントメディアカートリッジを全体として示し、2はそのカートリッジ本体2で、このカートリッジ本体2は何れも合成樹脂製のロアーシェル10とアッパーシェル20とを超音波溶着等で合体固着して構成される。
【0021】
図6で明らかな如くロアーシェル10は、前後に相対向する前側部11と後側部12の左右両側に半円筒状の一対の収納部13と14を一体に形成してなり、その中央部にはプリンタのヘッドやプラテン等が挿入される開口部15が形成されている。
【0022】
またこのロアーシェル10の前側部11においては、上記収納部13、14に対応して一対の円弧状の半孔部16a,16bが形成されていると共に、この半孔部16a,16bの下方において前側部11の内面側には一対の係合突起17a,17bが突設されている。
さらにこのロアーシェル10の後側部12の内面側には、上記収納部13,14に対応して一対の軸受け部18a,18bが突設されている。ここで特に本例においては、この軸受け部18a,18bを、上方側が開放した半円筒形状に形成してある。
【0023】
一方アッパーシェル20は、前後に相対向する前側部21と後側部22の左右両側に下方へ円弧状に湾曲した一対の収納部23と24を一体に形成してなり、その中央部にはプリンタのヘッドやプラテン等が挿入される開口部25が形成されている。
【0024】
またこのアッパーシェル20の前側部21においては、上記収納部23,24に対応して一対の円弧状の半孔部26a,26bが形成されていると共に、この半孔部26a,26bの上方において前側部21の内面側には一対の係合突起27a,27bが突設されている。
さらに本例では、このアッパーシェル20の後部の内面側に、ロアーシェル10の軸受け部18a,18bに対応してこの軸受け部18a,18bまで延びる突柱28a,28bが突設されている。
【0025】
そして、これらのロアーシェル10とアッパーシェル11とを合体して構成されるカートリッジ本体2の内部には、両シェル10と20の収納部13,14と23,24との間において合成樹脂製の一対のスプール即ち供給側スプール30と巻き取り側スプール40とが回転自在に収納されている。
【0026】
各スプール30,40には、円筒状の胴部31,41にプリントメディアとしてのインクリボン50が架け渡される状態で巻装されている。このインクリボン50には、イエロー(Y)、マゼンタ(M)、シアン(C)の着色部からなる着色領域が連続して設けられており、このインクリボン50が両スプール30と40の間において上記開口部15,25から外部に露出され、ここの部分でプリントが行なわれる。
【0027】
各スプール30,40の一端側には、胴部31,41より径の大きい大径円筒部32,42が一体に形成されており、この大径円筒部32、42は両シェル10と20の前側部の半孔部16a,16bと26a,26bとで形成される軸受け孔部に回転自在に支持されると共に、この軸受け孔部から前面に表出される。この大径円筒部32,42の内周面には、プリンタの回転駆動軸と係合する係合突子32a,42aが設けられている。
【0028】
さらにこの大径円筒部32,42の周面には環円板状のフランジ部33,43が一体に形成されており、このフランジ部33,43の外面側には、両シェル10と20の係合突起17aと27a、17bと27bに対し係脱自在な係合溝33a,43aが放射状に複数形成されている。
【0029】
各スプール30,40の他端側は、環円板状のフランジ部34,44と中径軸部35,45と小径軸部36,46とで三段形状に形成されており、先端の小径軸部36,46がロアーシェル10の後側部12の軸受け部18a,18bに挿入されて回転自在に支持される。
【0030】
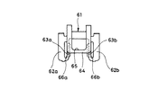
そして、各スプール30,40の中径軸部35,45と軸受け部18a,18bとの間には、弾性部材として金属製の板バネ61,61が介挿されている。
この板バネ61は、図10に示すように略逆U字形の側面形状を有し、その基部側には二股状に分かれた左右一対の脚部62aと62bが設けられており、この一対の脚部62aと62bで軸受け部18a,18bを挟むようにロアーシェル10の上方から組み付けられる構造となっている。
【0031】
さらにこの一対の脚部62aと62bの内側には一対の突片部63aと63bが切り起こし状に形成されている。この一対の突片部63aと63bは、軸受け部18a,18bに対する板バネ61の組み付け方向と略直交する折り曲げ線でスプールに向かう方向に傾斜状に折り曲げられた突片であり、その先端部間の間隔aが軸受け部18a,18bの横幅寸法bよりも若干狭くなるように形成されている。
【0032】
このため、軸受け部18a,18bに対し板バネ61を組み付けた状態では一対の突片部63a,63bが外側に向かって押し広げられるように弾性変形し、その弾性によって突片部63aと63bの先端部分の内側が軸受け部18a,18bの側面に食い込むように係止される状態となり、これによって板バネ61は軸受け部18a,18bに対し確実に固定される。
【0033】
またこの板バネ61の先端側64は各スプール30,40の中径軸部35,45の径よりも大きい幅に形成され、そこには各スプール30,40の小径軸部36,46より僅かに幅広で、かつ中径軸部35,45よりは狭い幅の孔部65が形成されており、この孔部65に小径軸部36,46が挿通されると共に、中径軸部35,45と小径軸部36,46の間の段面が掛止されるようになっている。
【0034】
そしてこの板バネ61,61の弾性偏倚力によって各スプール30,40は両シェル10と20の前側部11と21側に向って軸方向に押圧されてフランジ部33,43が前側部11と21の内面側に圧接され、かつ、フランジ部33,43の係合溝33a,43aが係合突起17aと27a、17bと27bに係合し、これにより各スプール30,40の不要な回転即ち空転が防止されてインクリボン50の弛みが阻止される。
【0035】
尚、プリントメディアカートリッジ1をプリンタに装填した状態では、プリンタの回転駆動軸が各スプール30,40の大径円筒部32,42に挿入されることで各スプール30,40が板バネ61,61の弾性偏倚力に抗して押し込まれ、これによって各スプール30,40はフランジ部33,43が両シェル10と20の前側部11と21の内面側から離れて回転可能な状態となる。
【0036】
さらに供給側スプール30の中径軸部35にはコードリング70が嵌合されて取り付けられている。このコードリング70の外周面の半部はギヤ部71となっており、残りの半部にはインクリボン50に関する情報(インクリボンの種類、サイズ、感度など)をバーコード形式で印刷したコードラベル72が貼着されている。このコードリング70に対応して両シェル10と20の後部には切り欠き部19と29が形成されており、ここからコードリング70の一部が外部に露出されるようになっている。
【0037】
以上の如く構成される本例のプリントメディアカートリッジにおいて、巻き取り側スプール40をロアーシェル10に組み付けるときの作業工程を図12及び図13を参照して説明する(供給側スプール30の場合も同様である)。
【0038】
この作業では先ず図12及び図13の(A)に示すように、板バネ61をロアーシェル10の上方から後側部12の内面側に沿わせて落とし込むように軸受け部18bに組み付ける。
このとき板バネ61は、前述した如く一対の脚部62aと62bで軸受け部18bを挟む状態に組み付けられ、ここで一対の突片部63aと63bの先端部間の間隔aが軸受け部18bの横幅寸法bより若干狭く形成されているため、突片部63aと63bの弾性によって軸受け部18bに対し確実に固定することができる。
【0039】
このように板バネ61を軸受け部18bに固定した後、同図(B)から(C)に示すようにスプール40を真上から落とし込むようにしてロアーシェル10に組み付ける。
このスプール40の組み付けにおいては、スプール40の小径軸部46を上方から板バネ61の孔部65に挿通し、中径軸部45と小径軸部46の間の段面が孔部65に掛止される状態となることで板バネ61の先端側64が弾性変形して撓み、これによってスプール40に対し空転を防止するための弾性偏倚力が付与される状態となる。
【0040】
そしてこのスプール40の組み付けにおいては、最終的に小径軸部46を軸受け部18bに挿入して回転自在に支持させるものであるが、ここで軸受け部18bは上方側が開放した略半円筒状に形成されていることにより、小径軸部46を上方から落とし込むようにして挿入することができる。
【0041】
このように本例では、板バネ61及び巻き取り側スプール40(供給側スプール30も)を上方から落とし込むようにしてロアーシェル10に組み付けることができるので、その組み付け作業が簡単に行なえ、即ち作業性が非常に良い。
【0042】
さらに本例では、板バネ61を軸受け部18a,18bに組み付けるときに、板バネ61が正規の位置からずれた位置に組み付けられた場合でも、板バネ61は軸受け部18a,18bから脱落することがなく、スプール30,40を組み付けることによって正規の位置に装着される。
【0043】
即ち、例えば図14(A)に示すように、板バネ61が軸受け部18b上でロアーシェル10の後側部12の内面側から離れた中途半端な装着位置に組み付けられた場合にも、板バネ61は前述した如く一対の突片部63aと63bが軸受け部18bの側面に係止されることで確実に固定される。ここで特に板バネ61は、一対の突片部63aと63bがスプールに向かう方向に折り曲げられていることにより、軸受け部18b上を後側部12に近接する方向には移動できるが、後側部12から離れる方向即ち軸受け部18bから脱落する方向には移動できない。従って、この図14(A)に示す状態でロアーシェル10に振動等が加わっても、板バネ61が軸受け部18bから脱落することはない。
【0044】
そしてこの状態から、同図(B)に示す如くロアーシェル10に上方からスプール40を組み付けると、このスプール40の中径軸部45と小径軸部46の間の段面が板バネ61を押圧し、その力によって板バネ61は軸受け部18b上を後側部12に近接する方向に移動され、スプール40が完全にロアーシェル10に組み付けられた状態では、図12(C)に示すように板バネ61は後側部12の内面側に沿う正規の位置に装着される。
【0045】
そして以上の如くして板バネ61及び各スプール30,40が組み付けられたロアーシェル10にアッパーシェル20を被せるように合体させることによりプリントメディアカートリッジ1の組み立てが完了し、この状態では図7及び図8に示す如くアッパーシェル20の突柱28a,28bにより各スプール30,40の小径軸部36,46が軸受け部18a,18b内でガタつかないように位置規制される状態で回転自在に支持される。
【0046】
また、供給側スプール30には中径軸部35にコードリング70が嵌合状態で取り付けられるが、このコードリング70は図9に示す如く供給側スプール30のフランジ部34と板バネ61の先端側64との間で位置規制される状態となるため、供給側スプール30から外れることはない。
【0047】
図15〜図17は本発明の第2の実施形態例を示している。
これは、前述した第1の実施形態例における板バネ61の一対の突片部63aと63bの形状の変形例である。
【0048】
即ち、本例における板バネ61の一対の突片部63aと63bは、軸受け部18bに対する板バネ61の組み付け方向と略平行な折り曲げ線でスプールに向かう方向に傾斜状に折り曲げられた突片であり、その先端部間の間隔aが軸受け部18bの横幅寸法よりも若干狭くなるように形成されている。
【0049】
このため、軸受け部18bに対し板バネ61を組み付けた状態では一対の突片部63aと63bが外側に向かって押し広げられるように弾性変形し、その弾性によって突片部63aと63bの先端部分が軸受け部18bの側面に線接触状に食い込むように係止される状態となり、これによって板バネ61は軸受け部18bに対し確実に固定される。
【0050】
そしてこの第2の実施形態例の板バネ61は、第1の実施形態例の板バネ61と同様の作用効果を有する。
即ち、例えば図17(A)に示すように、板バネ61が軸受け部18b上でロアーシェル10の後側部12の内面側から離れた中途半端な装着位置に組み付けられた場合にも、板バネ61は前述した如く一対の突片部63aと63bが軸受け部18bの側面に係止されることで確実に固定される。ここで特に板バネ61は、一対の突片部63aと63bがスプールに向かう方向に折り曲げられていることにより、軸受け部18b上を後側部12に近接する方向には移動できるが、後側部12から離れる方向即ち軸受け部18bから脱落する方向には移動できない。従って、この図17(A)に示す状態でロアーシェル10に振動等が加わっても、板バネ61が軸受け部18bから脱落することはない。
【0051】
そしてこの状態から、同図(B)に示す如くロアーシェル10に上方からスプール40を組み付けると、このスプール40の中径軸部45と小径軸部46の間の段面が板バネ61を押圧し、その力によって板バネ61は軸受け部18b上を後側部12に近接する方向に移動して正規の位置に装着される。
【0052】
また特に本例の板バネ61は、一対の突片部63aと63bの先端部分が軸受け部18bの側面に線接触状に係止される構造のため、軸受け部18bに対しより安定した状態で組み付けられる効果がある。
【0053】
図18及び図19は本発明の第3の実施形態例を示している。
本例では、板バネ61における一対の突片部63aと63bの外側近傍の脚部62aと62bの部分に、スリット66aと66bを設けてある。このスリット66aと66bは、一対の突片部63aと63bに沿って、この突片部63aと63bよりも長く形成されている。
【0054】
このように一対の突片部63aと63bの外側近傍にスリット66aと66bが設けられた板バネ61は、軸受け部18bに組み付けるとき、一対の突片部63aと63bが弾性変形する際に、スリット66aと66bがあることでこの突片部63aと63bが容易に弾性変形する。
【0055】
従って、板バネ61を軸受け部18bに組み付ける際には、その組み付けのためにかけられる力のうち、一対の突片部63aと63bが軸受け部18bを削ったり、板バネ61に不測の変形を生じさせたりする不要な力を逃がすことができるので、板バネ61を無理なくスムーズに装着できる。
【0056】
図20及び図21は本発明の第4の実施形態例である。
本例においては、板バネ61が組み付けられる軸受け部18bに、板バネ61が正規の位置で収まる切り欠き状の凹部18cを設けてある。この凹部18cは軸受け部18bの根元部分の上端に設けられているもので、ロアーシェルの後側部12の内面側に向かって低く傾斜するように切り欠いた形状に形成されている。
【0057】
そして軸受け部18bに板バネ61を組み付ける際には、この凹部18cに収まるように板バネ61を組み付けることにより、板バネ61は確実に正規の位置に装着される。
また、例えば図21(A)に示すように板バネ61が正規の位置からずれた位置に組み付けられた場合でも、板バネ61が凹部18c上にあれば、同図(B)に示す如くロアーシェル10にスプール40を組み付けるときにスプール40の中径軸部45と小径軸部46の間の段面が板バネ61を押圧し、その力によって板バネ61は軸受け部18b上を凹部18cの傾斜に沿って案内されるように移動して正規の位置に装着される。
【0058】
図22〜図24は本発明の第5の実施形態例である。
本例では、板バネ61の先端側64におけるスプールとの接触部分に、球面形状の突起部67aと67bを形成してある。この突起部67aと67bは、プレスによる打ち出し加工によって簡単に形成することができる。
【0059】
本例の板バネ61によれば、図24に示す如く球面状の突起部67aと67bの先端がスプール40の中径軸部45と小径軸部46の間の段面に点接触状に摺接する状態となり、即ち板バネ61とスプール40の接触面積が小さくなるので、スプール40の回転抵抗が低減し、よりスムーズな回転が可能となる。さらに、板バネ61の孔部65のエッジ部がスプール40の中径軸部45と小径軸部46の間の段面に接触しないので、この部分からの樹脂の削れ粉の発生が抑えられる。
また、スプール40を組み付けるときの板バネ61の抵抗も低く抑えられるので、組み立て作業性が一段と良好になる。
【0060】
以上、本発明によるプリントメディアカートリッジの実施の形態の数例について説明したが、本発明はこれらの実施形態に限定されることなく、他にも種々の実施形態を採り得るものであることは言うまでもない。
【0061】
【発明の効果】
以上の説明で明らかな如く本発明のプリントメディアカートリッジは、その組み立て作業工程において、板バネ及びスプールをロアーシェルの上方から落とし込むようにして組み付けることができるので、組み立て作業性が著しく良好となり、その結果として生産効率を一段と向上させることができる。
【0062】
また本発明のプリントメディアカートリッジにおける板バネは、略逆U字形の側面形状を有し、基部側に設けられた一対の脚部で軸受け部を挟む構造となっているため、簡単に組み付けることができる。
【0063】
そして本発明では、一対の脚部の内側に、スプールに向かう方向に折り曲げられる一対の突片部が形成され、この一対の突片部の先端部間の間隔が軸受け部の横幅寸法よりも狭く形成されていることにより、板バネが正規の位置からずれた位置に組み付けられた場合でも、板バネは軸受け部から脱落することがなく、スプールを組み付けることによって確実に正規の位置に装着される。
【0064】
また本発明においては、板バネの一対の突片部の外側にスリットを設けたことにより、板バネを無理なくスムーズに装着することができる。
【図面の簡単な説明】
【図1】プリントメディアカートリッジの斜視図である。
【図2】従来例を示すプリントメディアカートリッジの分解斜視図である。
【図3】同、供給側スプールの収納部の縦断側面図である。
【図4】同、巻き取り側スプールの収納部の縦断側面図である。
【図5】従来例のプリントメディアカートリッジにおけるスプールの組み付けを説明する縦断側面図である。
【図6】本発明の第1の実施形態を示すプリントメディアカートリッジの分解斜視図である。
【図7】同、供給側スプールの収納部の縦断側面図である。
【図8】同、巻き取り側スプールの収納部の縦断側面図である。
【図9】同、供給側スプールの収納部の要部の平面図である。
【図10】同、軸受け部の正面図である。
【図11】板バネの説明図で、(A)は正面図、(B)は側面図、(C)は平面図である。
【図12】同、板バネ及びスプールの組み付けを説明する縦断側面図である。
【図13】同、板バネ及びスプールの組み付けを説明する要部の斜視図である。
【図14】同、板バネが正規の位置からずれた位置に組み付けられた場合の説明図である。
【図15】本発明の第2の実施形態を示す板バネの説明図である。
【図16】同、斜視図である。
【図17】同、板バネが正規の位置からずれた位置に組み付けられた場合の説明図である。
【図18】本発明の第3の実施形態を示す板バネの正面図である。
【図19】同、斜視図である。
【図20】本発明の第4の実施形態を示す要部の斜視図である。
【図21】同、板バネが正規の位置からずれた位置に組み付けられた場合の説明図である。
【図22】本発明の第5の実施形態を示す板バネの説明図である。
【図23】同、斜視図である。
【図24】同、板バネ及びスプールが組み付けられた状態の平面図である。
【符号の説明】
1‥‥‥プリントメディアカートリッジ、2‥‥‥カートリッジ本体、10‥‥‥ロアーシェル、18a,18b‥‥‥軸受け部、18c‥‥‥凹部、20‥‥‥アッパーシェル、30‥‥‥供給側スプール、36‥‥‥小径軸部、40‥‥‥巻き取り側スプール、46‥‥‥小径軸部、50‥‥‥インクリボン(プリントメディア)、61‥‥‥板バネ、62a,62b‥‥‥脚部、63a,63b‥‥‥突片部、66a,66b‥‥‥スリット

Claims (4)

  1. ロアーシェルとアッパーシェルを合体して構成されるカートリッジ本体の内部にプリントメディアを巻装するスプールが回転自在に収納され、このスプールは、その片側の端部の軸部が上記ロアーシェルの内面側に設けられた軸受け部に回転自在に支持されると共に、上記軸受け部との間に介挿される弾性部材によって軸方向に押圧されることで空転が防止される構造を有してなるプリントメディアカートリッジにおいて、
    上記軸受け部を、上方側が開放した略半円筒状に形成すると共に、上記弾性部材を、上記ロアーシェルの上方から組み付け可能な板バネにより形成し、
    上記板バネは、略逆U字形の側面形状を有し、基部側に設けられた一対の脚部で上記軸受け部を挟むように組み付けられる構造であり、
    上記板バネの一対の脚部の内側には、上記スプールに向かう方向に折り曲げられる一対の突片部が形成され、この一対の突片部の先端部間の間隔は、上記軸受け部の横幅寸法よりも狭く形成されていることを特徴とするプリントメディアカートリッジ。
  2. 上記一対の突片部は、上記軸受け部に対する上記板バネの組み付け方向と略直交する折り曲げ線で折り曲げられる突片であることを特徴とする請求項1に記載のプリントメディアカートリッジ。
  3. 上記一対の突片部は、上記軸受け部に対する上記板バネの組み付け方向と略平行な折り曲げ線で折り曲げられる突片であることを特徴とする請求項1に記載のプリントメディアカートリッジ。
  4. 上記板バネの一対の突片部の外側に、この突片部に沿うスリットを設けたことを特徴とする請求項1に記載のプリントメディアカートリッジ。
JP13543897A 1997-04-09 1997-05-26 プリントメディアカートリッジ Expired - Fee Related JP3716552B2 (ja)

Priority Applications (1)

Application Number Priority Date Filing Date Title
JP13543897A JP3716552B2 (ja) 1997-04-09 1997-05-26 プリントメディアカートリッジ

Applications Claiming Priority (3)

Application Number Priority Date Filing Date Title
JP9-90862 1997-04-09
JP9086297 1997-04-09
JP13543897A JP3716552B2 (ja) 1997-04-09 1997-05-26 プリントメディアカートリッジ

Publications (2)

Publication Number Publication Date
JPH10337923A JPH10337923A (ja) 1998-12-22
JP3716552B2 true JP3716552B2 (ja) 2005-11-16

Family

ID=26432273

Family Applications (1)

Application Number Title Priority Date Filing Date
JP13543897A Expired - Fee Related JP3716552B2 (ja) 1997-04-09 1997-05-26 プリントメディアカートリッジ

Country Status (1)

Country Link
JP (1) JP3716552B2 (ja)

Families Citing this family (2)

* Cited by examiner, † Cited by third party
Publication number Priority date Publication date Assignee Title
US6910656B2 (en) 2003-02-20 2005-06-28 Eastman Kodak Company Ink ribbon cartridge with leaf spring and method of assembling the same
JP4589188B2 (ja) * 2005-07-20 2010-12-01 大日本印刷株式会社 シート体と熱転写シート用カセットとの組合せ体

Also Published As

Publication number Publication date
JPH10337923A (ja) 1998-12-22

Similar Documents

Publication Publication Date Title
EP0661166B1 (en) Ink ribbon cartridge
USRE40202E1 (en) Ink ribbon cassette for thermal transfer printer
JP2000515824A (ja) 熱転写印刷染料リボン用カセットケース
US5439303A (en) Split-spline hub and latch mechanism
JPS5876290A (ja) プリンタ用のリボンカ−トリツジ
US5865545A (en) Ink ribbon cartridge for printer
EP1769934B1 (en) Ink ribbon cartridge
JP3716552B2 (ja) プリントメディアカートリッジ
JP2001088990A (ja) 印刷紙巻取り装置
JPH10329379A (ja) プリントメディアカートリッジ
JP3321919B2 (ja) リボンカートリッジ
JPH0436283Y2 (ja)
JP2011110872A (ja) 熱転写型プリンタ
JPH08276630A (ja) インクリボンカセット
JP2007245605A (ja) インクシートカートリッジ
JP7418123B2 (ja) インクリボンカセットおよびプリンタ
US20070274760A1 (en) Cartridge case
JP2024033158A (ja) テープカートリッジ
JPH05155122A (ja) インクリボンカセット
JPH08282044A (ja) インクリボンカセット
JP2024047408A (ja) テープカートリッジ、テープロールおよびテープカートリッジセット
JP3277582B2 (ja) リボンカートリッジ
JP2024047409A (ja) テープカートリッジ、テープロールおよびテープカートリッジセット
JPH0711989Y2 (ja) スプロケット機構
JPH0734690Y2 (ja) プリンタ

Legal Events

Date Code Title Description
A621 Written request for application examination

Free format text: JAPANESE INTERMEDIATE CODE: A621

Effective date: 20031216

A977 Report on retrieval

Free format text: JAPANESE INTERMEDIATE CODE: A971007

Effective date: 20041201

A131 Notification of reasons for refusal

Free format text: JAPANESE INTERMEDIATE CODE: A131

Effective date: 20050517

A521 Written amendment

Free format text: JAPANESE INTERMEDIATE CODE: A523

Effective date: 20050719

TRDD Decision of grant or rejection written
A01 Written decision to grant a patent or to grant a registration (utility model)

Free format text: JAPANESE INTERMEDIATE CODE: A01

Effective date: 20050809

A61 First payment of annual fees (during grant procedure)

Free format text: JAPANESE INTERMEDIATE CODE: A61

Effective date: 20050822

FPAY Renewal fee payment (event date is renewal date of database)

Free format text: PAYMENT UNTIL: 20080909

Year of fee payment: 3

FPAY Renewal fee payment (event date is renewal date of database)

Free format text: PAYMENT UNTIL: 20090909

Year of fee payment: 4

FPAY Renewal fee payment (event date is renewal date of database)

Free format text: PAYMENT UNTIL: 20090909

Year of fee payment: 4

FPAY Renewal fee payment (event date is renewal date of database)

Free format text: PAYMENT UNTIL: 20100909

Year of fee payment: 5

FPAY Renewal fee payment (event date is renewal date of database)

Free format text: PAYMENT UNTIL: 20110909

Year of fee payment: 6

FPAY Renewal fee payment (event date is renewal date of database)

Free format text: PAYMENT UNTIL: 20110909

Year of fee payment: 6

FPAY Renewal fee payment (event date is renewal date of database)

Free format text: PAYMENT UNTIL: 20120909

Year of fee payment: 7

LAPS Cancellation because of no payment of annual fees