JP3686876B2 - 内視鏡装置と内視鏡用フード部材 - Google Patents
内視鏡装置と内視鏡用フード部材 Download PDFInfo
- Publication number
- JP3686876B2 JP3686876B2 JP2002081777A JP2002081777A JP3686876B2 JP 3686876 B2 JP3686876 B2 JP 3686876B2 JP 2002081777 A JP2002081777 A JP 2002081777A JP 2002081777 A JP2002081777 A JP 2002081777A JP 3686876 B2 JP3686876 B2 JP 3686876B2
- Authority
- JP
- Japan
- Prior art keywords
- endoscope
- hood
- wire
- distal end
- visual field
- Prior art date
- Legal status (The legal status is an assumption and is not a legal conclusion. Google has not performed a legal analysis and makes no representation as to the accuracy of the status listed.)
- Expired - Fee Related
Links
- 238000003780 insertion Methods 0.000 claims description 59
- 230000037431 insertion Effects 0.000 claims description 59
- 230000000007 visual effect Effects 0.000 claims description 18
- 210000000078 claw Anatomy 0.000 description 21
- 230000007246 mechanism Effects 0.000 description 17
- 238000005452 bending Methods 0.000 description 9
- 230000002093 peripheral effect Effects 0.000 description 9
- 238000004140 cleaning Methods 0.000 description 8
- 230000000694 effects Effects 0.000 description 6
- 238000007689 inspection Methods 0.000 description 4
- 239000000853 adhesive Substances 0.000 description 3
- 230000001070 adhesive effect Effects 0.000 description 3
- 230000000249 desinfective effect Effects 0.000 description 3
- 238000010586 diagram Methods 0.000 description 3
- 238000004659 sterilization and disinfection Methods 0.000 description 3
- 238000001784 detoxification Methods 0.000 description 2
- 230000004048 modification Effects 0.000 description 2
- 238000012986 modification Methods 0.000 description 2
- 230000003287 optical effect Effects 0.000 description 2
- 230000008901 benefit Effects 0.000 description 1
- 239000003086 colorant Substances 0.000 description 1
- 238000001839 endoscopy Methods 0.000 description 1
- 239000000463 material Substances 0.000 description 1
- 238000000034 method Methods 0.000 description 1
- NJPPVKZQTLUDBO-UHFFFAOYSA-N novaluron Chemical compound C1=C(Cl)C(OC(F)(F)C(OC(F)(F)F)F)=CC=C1NC(=O)NC(=O)C1=C(F)C=CC=C1F NJPPVKZQTLUDBO-UHFFFAOYSA-N 0.000 description 1
- 230000009467 reduction Effects 0.000 description 1
- 230000009466 transformation Effects 0.000 description 1
- 239000012780 transparent material Substances 0.000 description 1
- 238000005406 washing Methods 0.000 description 1
Images
Landscapes
- Endoscopes (AREA)
Description
【発明の属する技術分野】
本発明は体腔内に挿入される挿入部の先端部にフード等の移動部材が配設された内視鏡装置と内視鏡用フード部材に関する。
【0002】
【従来の技術】
一般に、内視鏡として体腔内に挿入される挿入部の先端部に固定式のフードを取付け、このフードによって挿入部の先端面と体壁面との間の距離を一定に保った状態で、内視鏡観察や、処置を行なう構成のものがある。
【0003】
【発明が解決しようとする課題】
しかしながら、挿入部の先端部に固定式のフードを取付けた内視鏡では挿入部の先端面からフードを必要量突出させた状態で取付けた場合に内視鏡の観察画面内にフードの一部が入って視野の一部が遮られるおそれがある。
【0004】
また、電子内視鏡で観察像を表示するモニター画面が丸でなく、矩形に近い形状の場合、フードが単純な丸型だと、画面の対角方向は対辺方向よりも、フードによって遮られる量が大きくなる問題点があった。
【0005】
本発明は上記事情に着目してなされたもので、その目的は、視野内に入るまでフードを突出させたものにおいて、より広い範囲の視野を確保出来る内視鏡装置と内視鏡用フード部材を提供することにある。
【0006】
【課題を解決するための手段】
請求項1の発明は、体腔内に挿入される挿入部の先端を構成する内視鏡先端部と、観察像を矩形状の観察画面として表示手段に表示するための所定の視野範囲を備え、前記内視鏡先端部に設けられた対物レンズと、前記視野範囲内に突出するとともに前記観察画面の対辺方向に相当する部分と対角方向に相当する部分とで形状を変化させた前縁部を備え、前記内視鏡先端部に設けられたフード部と、を具備することを特徴とする内視鏡装置である。
【0007】
請求項2の発明は、体腔内に挿入される挿入部の先端を構成する内視鏡先端部と、観察像を矩形状の観察画面として表示手段に表示するための所定の視野範囲を備え、前記内視鏡先端部に設けられた対物レンズと、前記内視鏡先端部に対して前後方向に進退可能に設けられ、前方に移動されたときに前記視野範囲内に突出するとともに、前記観察画面の対辺方向に相当する部分と対角方向に相当する部分とで形状を変化させた前縁部を備えたフード部と、を具備することを特徴とする内視鏡装置である。
【0008】
請求項3の発明は、観察像を矩形状の観察画面として表示手段に表示するための所定の視野範囲を備えた対物レンズを有する内視鏡先端部に対して着脱可能であるとともに、前記内視鏡先端部の所定位置に固定された時に、前記視野範囲内に突出するとともに前記観察画面の対辺方向に相当する部分と対角方向に相当する部分とで形状を変化させた前縁部を備えたことを特徴とする内視鏡用フード部材である。
【0009】
請求項4の発明は、観察像を矩形状の観察画面として表示手段に表示するための所定の視野範囲を備えた対物レンズを有する内視鏡先端部に対して進退可能に着脱されるとともに、前記内視鏡先端部の所定位置に移動された時に、前記視野範囲内に突出するとともに前記観察画面の対辺方向に相当する部分と対角方向に相当する部分とで形状を変化させた前縁部を備えたことを特徴とする内視鏡用フード部材である。
【0010】
【発明の実施の形態】
以下、本発明の第1の実施の形態を図1(A),(B)および図2(A),(B)を参照して説明する。図1(A)は内視鏡1の要部の概略構成を示すものである。この内視鏡1には体腔内に挿入される挿入部2の基端部に手元側の操作部3が連結されている。
【0011】
また、挿入部2には細長い軟性部(可撓管部)4が設けられている。さらに、挿入部2の先端部に配設された先端硬質部5と軟性部4との間には例えば上下方向および左右方向に湾曲可能な湾曲部6が配設されている。
【0012】
また、手元側の操作部3には湾曲部6の湾曲操作用の図示しない湾曲操作ノブが設けられているとともに、ユニバーサルコード7の基端部が連結されている。そして、このユニバーサルコード7の先端部に固定されたコネクタが図示しない光源装置に着脱可能に連結されるようになっている。
【0013】
また、挿入部2の先端硬質部5には略円筒状のフード(移動部材)8が設けられている。このフード8は先端硬質部5の外周面に沿って挿入部2の軸心方向に移動可能に支持されている。なお、フード8は透明材料で形成されている。もちろん、不透明な材料でフード8を形成してもよい。
【0014】
さらに、フード8の内周面には図1(B)に示すように接続ピン9が取付けられている。この接続ピン9にはフード8の操作ワイヤ10の先端部が取付けられている。このワイヤ10は挿入部2内に配設されたワイヤ管路11内に挿通されている。このワイヤ管路11の先端部は先端硬質部5に取付けられている。
【0015】
また、この操作部3には大径な把持部12とこの把持部12と軟性部4との間に配設された小径部13とが設けられている。そして、ワイヤ管路11の基端部側は湾曲部6および軟性部4の中を通り、操作部3の小径部13内に延設されている。
【0016】
さらに、操作部3の小径部13の外周面にはワイヤ管路11の基端部側のワイヤ開口部11aが配設されている。そして、操作ワイヤ10の基端部側はワイヤ管路11内を通して操作部3側に延出され、ワイヤ管路11のワイヤ開口部11aから操作部3の小径部13の外に取出されている。
【0017】
また、操作部3の把持部12にはフード8を遠隔的に操作するフード操作機構14が装着されている。このフード操作機構14には把持部12の外周面に支軸15を中心に回動自在に支持された操作レバー16と、把持部12の内部に配設されたワイヤ操作機構17とが設けられている。
【0018】
ここで、操作レバー16の基端部には把持部12内に挿入された回動部材18の基端部が一体的に取付けられている。この回動部材18の先端部にはリンクアーム19の一端部が回動軸20を中心に回動自在に連結されている。
【0019】
また、ワイヤ操作機構17には操作部3のケーシングの内壁面に形成されたガイド溝21内に挿入部2の軸心方向のみに移動自在に装着された連結部材22が設けられている。この連結部材22の基端部にはリンクアーム19の他端部が回動軸23を中心に回動自在に連結されている。
【0020】
さらに、連結部材22の先端部には操作部3の把持部12の外側に配置されたワイヤ着脱部24が設けられている。ここで、操作部3の把持部12の先端部には連結部材22を挿入部2の軸心方向に移動自在に挿通させる挿通口25が形成されている。そして、連結部材22はワイヤ着脱部24が小径部13の外面側に配置された状態で、挿通口25を通して水密的に前後にスライドできるようになっている。
【0021】
また、ワイヤ着脱部24にはワイヤ管路11のワイヤ開口部11aから操作部3の小径部13の外に取出された操作ワイヤ10の延出端部が挿入されるワイヤ受部26と、このワイヤ受部26内に挿入される操作ワイヤ10の挿入方向と略直交する方向に形成されたねじ穴内に螺着された固定ねじ27とが設けられている。
【0022】
そして、ワイヤ受部26内に操作ワイヤ10が挿入された状態で固定ねじ27を締め付けることにより、ワイヤ受部26内に操作ワイヤ10が挿入された状態で操作ワイヤ10をワイヤ着脱部24に強固に係止されるようになっている。ここで、固定ねじ27の締め付けを緩めることにより、ワイヤ着脱部24への操作ワイヤ10の係止が解除され、操作ワイヤ10をワイヤ受部26内から引き抜くことができるようになっている。
【0023】
さらに、操作部3の把持部12には操作レバー16の前後の回動範囲を規制する第1のストッパ28および第2のストッパ29がそれぞれ設けられている。そして、操作レバー16の回動操作時にはこの操作レバー16とともに回動部材18が回動し、この回動部材18の動作に連動してリンクアーム19を介して連結部材22がガイド溝21に沿って挿入部2の軸心方向のみに進退駆動されて操作ワイヤ10が挿入部2の軸心方向に進退駆動されるようになっている。
【0024】
ここで、操作レバー16が前方向に回動され、図1(A)に示すように操作レバー16が第1のストッパ28に当接された状態で、フード8は最も後ろ側に位置されるようになっている。また、操作レバー16が後方向に回動され、操作レバー16が第2のストッパ29に当接された状態で、図1(B)に示すようにフード8は最も前方に突出されるようになっている。このとき、フード8は挿入部2の前方側に突出された突出位置で保持され、先端硬質部5の先端面を体腔内の壁面から離間させた状態に保つようになっている。なお、図1(B)中で、Xはフード8の移動距離を示すものである。
【0025】
また、図1(B)に示すようにフード8が最も前方の突出位置に突出された状態では、内視鏡1の対物レンズ30の視野の中にフード8の前端部分が入るようになっている。このとき、図2(A)に示すように内視鏡1のモニタの観察画面31にはフード8の前縁部32が表示され、内視鏡の観察画像におけるその前縁部32より更に外側の部分はフード8により遮られるようになっている。
【0026】
さらに、図1(A)に示すようにフード8が最も後ろ側に位置された状態では、内視鏡1の対物レンズ30の視野の中にフード8が入らないようになっている。このとき、図2(B)に示すように内視鏡1のモニタの観察画面31にはフード8の前縁部32が表示されない状態で保持され、内視鏡の観察画像33がフード8により遮られることが防止されている。なお、操作レバー16の上には湾曲部6を遠隔的に湾曲操作する図示しない湾曲操作ノブが支軸15を中心に回転操作できるように設けられている。
【0027】
次に、上記構成の作用について説明する。本実施の形態の内視鏡1の使用時には操作部3の操作レバー16を前後方向に回動操作することで連結部材22を挿入部2の軸心方向に沿って前後に進退操作することができ、この連結部材22に接続したワイヤ10を介してフード8を進退操作することができる。ここで、フード8を使わないときには操作レバー16を前方向に回動させることにより、図1(A)に示すようにフード8を最も後方に位置させる。この場合には、内視鏡1の対物レンズ30の視野がフード8によって全く妨げられない状態で内視鏡1の挿入や、内視鏡観察や、処置具による処置等の作業を行なうことができる。
【0028】
また、レバー16を後方向に回動操作することで図1(B)に示すようにフード8を前方に突出させることができる。そのため、この場合にはフード8の先端部を生体壁に当接させることにより、内視鏡検査中に生体壁と内視鏡1の対物レンズ30との間に一定の距離を保って観察処置を行なうことができる。
【0029】
このように必要なときにだけフード8を前に出し、フード8が必要でないときは内視鏡1の対物レンズ30の視野の妨げにならないようにフード8を後ろ側にとどめておくことができる。
【0030】
また、固定ねじ27を緩めることにより、ワイヤ10の手元側端部を連結部材22のワイヤ着脱部24から外すことができる。これにより、ワイヤ10及びフード8のユニットを内視鏡1から取外すことができるので、従来に比べてフード8と先端硬質部5との間やワイヤ管路11の内部の洗浄消毒作業が容易になり、その作業時間を短縮することができる。
【0031】
なお、形や、形状や、サイズの異なる複数種類のフード8を予め準備し、これらの複数のフード8のうちから必要に応じて好適な種類のフード8を同じ内視鏡1に対して選択的に着脱する構成にしてもよい。
【0032】
また、フード8とワイヤ10とのユニットをディスポーザブル的に使用してもよい。この場合には内視鏡1の使用後のフード8とワイヤ10とのユニットの洗浄・消毒の手間も省ける。
【0033】
そこで、上記構成のものにあっては次の効果を奏する。すなわち、フード8の操作ワイヤ10の基端部とワイヤ操作機構17の連結部材22との間のワイヤ連結部にワイヤ着脱部24を設け、このワイヤ着脱部24にワイヤ10を着脱可能に連結したので、内視鏡検査後、ワイヤ着脱部24でワイヤ10の連結を外すことにより、挿入部2の先端硬質部5からフード8を外した状態で能率良く内視鏡1全体を洗浄消毒できる。そのため、従来に比べて内視鏡1の先端硬質部5及びワイヤ管路11内の洗浄消毒がしやすくなる。
【0034】
また、ワイヤ10と連結部材22との着脱部分であるワイヤ着脱部24は操作部3の把持部12より前方に配置されているので、使用者が操作部3を把持する際にワイヤ着脱部24が邪魔になるおそれがない。
【0035】
さらに、フード8の操作レバー16は把持部12の後端部位置に配置されているので、操作部3を把持する際にこのレバー16が邪魔にはならず、また使用者が操作部3を把持した指で簡単にレバー16を操作することができる。
【0036】
また、仮に連結部材22のワイヤ着脱部24が図1(A)の把持部12の一部に配置されていたとしても、把持部12を把持した手が当たらない位置にワイヤ着脱部24が配置されていればよい。例えば、図1(A)の状態であれば、把持する使用者の手の平は紙面裏側に配置されるので、この場合には図1(A)の回動軸23が配置されている部分の付近に連結部材22のワイヤ着脱部24を配置することにより、把持部12を把持した使用者の手の平が連結部材22のワイヤ着脱部24に当たるおそれがない。さらに、この場合には把持部12を把持した使用者の手の指もワイヤ着脱部24にかからない位置なので、邪魔にならない。このように、把持部12上ではあっても把持部12における手の平との接触面とは反対側の面に連結部材22のワイヤ着脱部24を配置してもよい。
【0037】
なお、内視鏡の観察画像33は略矩形形状をしているので、図1(B)に示すようにフード8が最も前方の突出位置に突出され、内視鏡1の対物レンズ30の視野の中にフード8の前端部分が挿入された状態でフード8の前縁部32によって内視鏡1の観察画像が遮られる量は内視鏡1の観察画像の対辺方向では比較的少ないが、対角方向では遮られる量が多くなる。
【0038】
そこで、フード8の先端側を略矩形形状にしてその対辺方向と対角方向の長さを内視鏡1のモニタの観察画面31に合わせることにより、フード8の突出量が同じ場合でも図2(B)に示すようにフード8の前縁部32によって対辺方向と対角方向との遮られる量をほぼ同じ量に調整することが出来る。
【0039】
また、図3は第1の実施の形態の内視鏡1のフード8の変形例を示すものである。これは、フード8の先端部に山谷を設けて、内視鏡1のモニタの観察画面31における対辺方向にあたる部分を山部34とし、対角方向にあたる部分を谷部35としたものである。この場合には、フード8の最大突出量は、図1(B)と同じであっても、内視鏡1のモニタの観察画面31で見たときに図2(B)のように対角方向により広く視野を確保する事が出来る。
【0040】
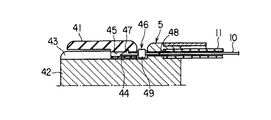
また、図4は本発明の第2の実施の形態を示すものである。これは、第1の実施の形態の内視鏡1の先端硬質部5に略円筒状の軟性フード41を設けたものである。
【0041】
ここで、内視鏡1の先端硬質部5の本体42には先端部外周面にフード41の移動方向に延設された直線状のガイド溝43が形成されている。そして、軟性フード41の基端部内周面にはこのガイド溝43に挿入される内方突出部44が突設されている。さらに、軟性フード41の内方突出部44にはガイド溝43と同方向に延設された貫通孔45が穿設されている。
【0042】
また、軟性フード41の操作ワイヤ10の先端部はワイヤ着脱部を構成する爪部材46の基端部に取付けられている。この爪部材46の先端部側には係止爪47が形成されている。そして、この爪部材46の先端部側は軟性フード41の貫通孔45の中に挿入され、この爪部材46の先端部側の係止爪47が貫通孔45の内壁面に引っ掛かった状態で係脱可能に係止されている。そのため、軟性フード41は爪部材46に対して着脱自在に連結されている。ここで、爪部材46を貫通孔45の中に押し込むことにより、小さな力で軟性フード41に爪部材46を取付けることが可能である。
【0043】
また、軟性フード41と爪部材46との連結時には軟性フード41の貫通孔45に挿入された爪部材46の係止爪47が貫通孔45の内壁面にくい込んでいるので、ある程度強い力をかけて爪部材46を手元側に引っ張ることによって軟性フード41と爪部材46との間の係合を解除して爪部材46を軟性フード41の貫通孔45の外に取外すことができる。
【0044】
また、爪部材46の基端部には先端硬質部本体42に形成された操作ワイヤ10のガイド孔48および軟性フード41の貫通孔45よりも大径なストッパ49が形成されている。そして、このストッパ49によって爪部材46全体が先端硬質部本体42のガイド孔48および軟性フード41の貫通孔45に挿入されることが防止されている。
【0045】
なお、内視鏡1の操作部3側では第1の実施の形態で説明した操作レバー16の操作によって操作ワイヤ10を介して軟性フード41の遠隔操作が可能になっているが、操作部3ではワイヤ10の手元側端部が必ずしも第1の実施の形態のように着脱可能な構成になっている必要は無い。
【0046】
そこで、本実施の形態では次の効果を奏する。すなわち、本実施の形態では内視鏡1の先端硬質部5に軟性フード41を設け、この軟性フード41の貫通孔45に操作ワイヤ10の先端の爪部材46を挿入することにより、軟性フード41に操作ワイヤ10側の爪部材46を着脱可能に連結するようにしたので、内視鏡検査後、爪部材46を軟性フード41の貫通孔45の外に取外すことにより、挿入部2の先端硬質部5からフード41を外した状態で能率良く内視鏡1全体を洗浄消毒できる。そのため、本実施の形態でも第1の実施の形態と同様に従来に比べて内視鏡1の先端硬質部5の洗浄消毒がしやすくなる。
【0047】
また、本実施の形態では特に、操作ワイヤ10は内視鏡1から外す必要がない。そのため、先端硬質部5にフード41を着脱するためにワイヤ管路11の中にワイヤ10を出し入れする面倒な作業を省略することができるので、先端硬質部5へのフード41の着脱作業が容易になる。そして、フード41を内視鏡1の先端硬質部5に取付ける場合にもワイヤ10をワイヤ管路11の中に挿入する作業を省略できるので、フード41の取付け作業が容易になる。
【0048】
さらに、異なるフード41を使う場合でもワイヤ10は共通で使うことができるので、複数のフード41を選択的に使用する際に各フード41毎に専用の操作ワイヤ10を使用する場合に比べてコスト低下が図れる。
【0049】
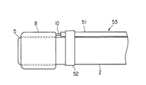
また、色や、形や、大きさ等が事なる様々な種類の複数の軟性フード41を予め準備し、その中から必要に応じて好適な軟性フード41を選択的に同じ爪部材46に対して着脱自在に取付ける構成にしてもよい。
【0050】
また、第1の実施の形態と同様に操作ワイヤ10を内視鏡1に対して着脱自在にしてもよい。この場合には第1の実施の形態と同様にワイヤ管路11の中が洗浄しやすくなる。
【0051】
また、図5および図6は本発明の第3の実施の形態を示すものである。これは、内視鏡1の挿入部2とは別体の外付けのワイヤ管路51を設け、このワイヤ管路51の先端側を内視鏡1の挿入部2の先端側外周面に固定バンド52によって着脱自在に固定するとともに、第1実施の形態のフード8の操作ワイヤ10をこのワイヤ管路51内に挿通させる構成にしたものである。この場合、ワイヤ管路51は操作ワイヤ10及びフード8とともにユニット化されて操作ワイヤユニット53が形成されている。
【0052】
さらに、ワイヤ管路51の手元端部にはリング状の固定用部材54が取付けられている。この固定用部材54の外周面には溝部55が形成されている。この場合、内視鏡1の操作部3にはワイヤ管路51の固定ピン56が突設されている。そして、ワイヤ管路51の固定用部材54の溝部55がこの固定ピン56に嵌め込まれるようになっている。
【0053】
また、ワイヤ管路51の手元側端部からは操作ワイヤ10の手元側端部が延出されている。この操作ワイヤ10の延出端部にはラック57が取付けられている。この場合、フード8の操作レバー16の基端部にはこのラック57に噛合するピニオン58と、このピニオン58と並設される切欠部59とが形成されている。
【0054】
さらに、内視鏡1の操作部3には支軸15に対して操作レバー16の先端部側とは反対側に受け台60が配設されている。また、ワイヤ管路51の固定用部材54を操作部3の固定ピン56に固定した状態では操作部3上の受け台60とレバー16の下の切欠部59との間にラック57が配置されるようになっている。
【0055】
そして、操作レバー16の回動操作時にはこの操作レバー16の回動動作がピニオン58とラック38との噛合部を介して操作ワイヤ10の進退動作に変換され、この操作ワイヤ10がフード8の移動方向に進退駆動されるようになっている。
【0056】
そこで、本実施の形態では次の効果を奏する。すなわち、本実施の形態ではフード8と、操作ワイヤ10と、ワイヤ管路51とを一体的にユニット化した操作ワイヤユニット53を設け、この操作ワイヤユニット53の先端部を固定バンド52によって内視鏡1の挿入部2の先端側外周面に着脱自在に固定するとともに、ワイヤ管路51の基端部の固定用部材54を操作部3の固定ピン56に着脱可能に連結するようにしたので、内視鏡検査後、操作ワイヤユニット53を内視鏡1の挿入部2から取外すことにより、挿入部2の先端硬質部5からフード8を外した状態で能率良く内視鏡1全体を洗浄消毒できる。そのため、本実施の形態でも第1の実施の形態と同様に従来に比べて内視鏡1の先端硬質部5の洗浄消毒がしやすくなる。
【0057】
また、本実施の形態では特に、フード8の使用が不要となる検査の場合には、フード8と、操作ワイヤ10と、ワイヤ管路51とからなる操作ワイヤユニット53を内視鏡1の挿入部2に装着しない状態で使用することができる。従って、この場合には内視鏡1の挿入部2が細径のままで内視鏡検査が行える利点がある。
【0058】
そして、フード8を使用する検査の場合に限って、フード8及びワイヤ10及びワイヤ管路51の操作ワイヤユニット53の先端部を固定バンド52によって内視鏡1の挿入部2の先端部に固定し、操作部3側では固定ピン56に対して固定用部材54を位置決め固定した状態にセットする。このとき、レバー16を操作していない場合には、ラック57とピニオン58とが噛み合っていないので、操作ワイヤユニット53の基端部の着脱作業は容易である。
【0059】
また、操作ワイヤユニット53が内視鏡1の挿入部2にセットされた状態でレバー16を操作すると、ピニオン58がラック57と噛み合い、ラック57を前後方向に進退操作することができ、先端のフード8を進退操作できる。この場合、ワイヤ管路51の手元側が操作部3の固定ピン54によって位置決めされているので、ワイヤ10が前後方向に移動してもワイヤ管路11は移動することは無く、良好な機能を確保できる。
【0060】
なお、フード8と、操作ワイヤ10と、ワイヤ管路51とからなる操作ワイヤユニット53をディスポーザブル的に使用してもよい。この場合には内視鏡1の使用後のフード8と、操作ワイヤ10と、ワイヤ管路51とからなる操作ワイヤユニット53の洗浄・消毒の手間も省ける。
【0061】
また、図7および図8は本発明の第4の実施の形態を示すものである。これは、カバー式内視鏡71に本発明を適用したものである。すなわち、本実施の形態
のカバー式内視鏡71には体腔内に挿入される挿入部72の周囲を覆う挿入部カバー73が取付けられている。
【0062】
この挿入部カバー73には図7に示すように内視鏡71の先端硬質部74を覆う先端カバー75と、内視鏡71の湾曲部76および図示しない軟性部を覆う外皮チューブ77と、図8に示すように内視鏡71の手元側の操作部78を覆う手元口体部79とが設けられている。
【0063】
また、挿入部カバー73の先端カバー75には略円筒状のフード80が挿入部72の軸心方向に移動可能に設けられている。このフード80には操作ワイヤ81の先端部が取付けられている。この操作ワイヤ81が挿通されるワイヤ管路82の先端部は先端カバー75の後端部に取付けられている。
【0064】
また、挿入部カバー73の手元口体部79は内視鏡71の手元側の操作部78に対して固定されている。さらに、この手元口体部79にはワイヤ管路82の後端部が固定されている。そして、ワイヤ管路82の手元側端部から延出された操作ワイヤ81の手元側端部は第3の実施の形態と同様な構成によって内視鏡71の操作部78に着脱可能に固定されている。
【0065】
なお、内視鏡71の操作部78は操作部カバー83によって覆われている。また、挿入部カバー73の外皮77の手元側には図8に示すように細径部84が形成されている。そして、内視鏡71の挿入部72を把持した際にこの細径部84の部分によって外皮77ごしに挿入部72を把持し易くなっている。
【0066】
さらに、挿入部カバー73の外皮77の細径部84の裏面側に熱によって粘着質になる粘着部を設けてもよい。この場合には、外皮77の細径部84の裏面側の粘着部に熱をかけることによって、挿入部カバー73の中の挿入部72と外皮77及びワイヤ管路82(及び図示しない処置具挿通チャンネル等)をまとめて粘着することができ、挿入部72を更に把持し易くすることができる。
【0067】
そこで、本実施の形態では内視鏡検査前にカバー式内視鏡71に対して新しい挿入部カバー73をかぶせることによって、このカバー式内視鏡71は洗浄消毒が不要となる。さらに、挿入部カバー73にはフード80、操作ワイヤ81、ワイヤ管路82が設けられているので、内視鏡検査後に内視鏡71から取外した挿入部カバー73を捨てればフード80、ワイヤ81、ワイヤ管路82の部分の洗浄消毒も不要である。
【0068】
したがって、本実施の形態ではフード80とその進退操作機構の構成要素であるワイヤ81、ワイヤ管路82がディスポーザブル的に使用される挿入部カバー73に取付けられているので、カバー式内視鏡71側は洗浄消毒が全く不要である。
【0069】
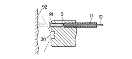
また、図9は本発明の第5の実施の形態を示すものである。本実施の形態では第1の実施の形態のように先端硬質部5を覆うフード8に代えて細い棒状の当接部材91を内視鏡1の先端硬質部5に進退自在に設けたものである。この当接部材91を進退操作させる機構は第1の実施の形態のフード操作機構14と同様である。すなわち、この当接部材91の基端部に第1の実施の形態のフード操作機構14の操作ワイヤ10の先端部が固定されている。
【0070】
そして、本実施の形態ではこの当接部材91を図9中に点線で示すように先端硬質部5の前方に突出させて生体壁92に当接させることにより、生体壁92と内視鏡1の先端硬質部5の対物レンズ30との間を一定の距離に保つことができる。また、当接部材91が最も前方の突出位置に保持されている場合には図9に示すように対物レンズ30の視野内にこの当接部材91が入るが、この当接部材91が最も後方位置に移動された状態では対物レンズ30の視野の範囲外に配置されるようになっている。
【0071】
そこで、本実施の形態では通常は当接部材91を最も後方に位置させて対物レンズ30の視野の中に当接部材91が入らない状態で使用され、必要なときにだけ当接部材91を前方に突出させて生体壁92との間を一定の距離に保つことができる。さらに、本実施の形態の当接部材91は細い棒状部材なので、先端硬質部5の全体を覆う略円筒状のフード8を使用する場合に比べて先端硬質部5を細径化することができる。
【0072】
なお、本発明は上記実施の形態に限定されるものではなく、本発明の要旨を逸脱しない範囲で種々変形実施できることは勿論である。
【0073】
次に、本出願の他の特徴的な技術事項を下記の通り付記する。
【0074】
記
(付記項1) 観察光学系を有し体腔内に挿入される挿入先端部と体腔壁とを所望の間隔に保つように進退自在に前記挿入先端部に設けられた移動部材と、この移動部材に先端が連結され手元側端部を前記挿入部の手元側に設けられた操作部に導かれるワイヤと、前記ワイヤの手元側端部を連結して前記ワイヤと移動部材を進退させる前記操作部に設けられた進退操作機構とを有する内視鏡において、前記移動部材と前記ワイヤまたは前記ワイヤと前記進退操作機構との連結部の少なくとも一方を前記ワイヤと着脱自在にしたことを特徴とする内視鏡。
【0075】
(付記項1の従来技術) 内視鏡先端部に配設された観察光学系と体腔壁との間を所望の距離に保って観察するために内視鏡先端部にフードを設けた内視鏡がある。
【0076】
(付記項1の解決課題) このようなフードによって内視鏡の視野の一部が遮られることがあった。そこで、このような不具合を防止するために、フードを内視鏡挿入軸方向に移動可能にしたものがあった。この移動可能なフードは、フードと手元側の操作部をワイヤでつなぎ、ワイヤを管路の中に挿通するものであり、フードとワイヤの着脱ができない。内視鏡は、一症例毎に洗浄消毒するものであり、フードとワイヤとその管路を有する内視鏡の洗浄消毒は、非常に困難であった。
【0077】
そこで、フードとワイヤ、ワイヤと操作部を着脱自在に連結するように構成すれば、これらの連結を解いて内視鏡の洗浄消毒が行えるのでその作業が容易になる。
【0078】
(付記項1の目的) 上記のような洗浄性の良い内視鏡を提供するものである。
【0079】
(付記項2) 挿入部と操作部を有し、挿入部先端に先端面より突出して進退自在の移動部材を設け、移動部材にワイヤの先端を接続し、操作部にワイヤ及び移動部材を進退させる進退操作機構を設け、ワイヤ手元端を進退操作機構の一部に接続した内視鏡において、移動部材とワイヤの接続部又はワイヤと進退操作機構の接続部の少なくとも一方を着脱自在にしたことを特徴とする内視鏡。
【0080】
(付記項2の目的) 先端に設けたフードを手元側で進退操作可能な内視鏡の洗滌消毒性を向上する内視鏡を提供することにある。
【0081】
(付記項2の課題を解決するための手段) フードとワイヤの接続部またはワイヤと進退操作部との接続部を着脱自在にしたことによって、検査後にはフードをスコープから外すことが出来るので、スコープの洗滌消毒性を向上出来る。
【0082】
(付記項2の効果) 内視鏡先端に設けた移動部材を手元側で進退操作可能な内視鏡において、洗滌消毒性を向上することが出来る。
【0083】
(付記項3) 上記付記項2において、移動部材とワイヤの接続部を着脱自在にしたことを特徴とする内視鏡。
【0084】
(付記項4) 上記付記項3において、同一のワイヤに異なる移動部材を着脱自在にしたことを特徴とする内視鏡。
【0085】
(付記項5) 上記付記項2において、ワイヤと進退操作機構の接続部を着脱自在にしたことを特徴とする内視鏡。
【0086】
(付記項6) 上記付記項5において、接続部は操作部の把持部以外としたことを特徴とする内視鏡。
【0087】
(付記項7) 上記付記項5において、接続部は操作部把持部の手の平接触面と対になる面に設けたことを特徴とする内視鏡。
【0088】
(付記項8) 上記付記項5において、同一の内視鏡に異なる移動部材を着脱自在にしたことを特徴とする内視鏡。
【0089】
(付記項9) 上記付記項5において、接続部の固定手段はビスによることを特徴とする内視鏡。
【0090】
(付記項10) 上記付記項5において、接続部の固定手段はラック・ピニオン方式によることを特徴とする内視鏡。
【0091】
(付記項11) 上記付記項10において、レバー操作時以外は非固定で、レバー操作時のみ固定状態になるようにしたことを特徴とする内視鏡。
【0092】
(付記項12) 上記付記項5において、内視鏡と別体の移動部材、ワイヤ、ワイヤ管路を内視鏡に着脱自在としたことを特徴とする内視鏡。
【0093】
(付記項13) 上記付記項12において、ワイヤ管路の手元側を内視鏡に位置決め固定可能にしたことを特徴とする内視鏡。
【0094】
(付記項14) 上記付記項2において、内視鏡に着脱自在の内視鏡カバーに移動部材、ワイヤ、ワイヤ管路を設け、ワイヤ手元端を内視鏡操作部に着脱自在にした。
【0095】
(付記項15) 上記付記項2において、移動部材が最も後方にある時は視野外であり、最も先端にある時は視野内になる。
【0096】
(付記項16) 観察像を略矩形の画面で表示する内視鏡において、内視鏡の先端に設けたフードの開口形状を前記画面形状に合わせたことを特徴とする内視鏡。
【0097】
(付記項16の従来技術) 体壁と一定の距離を保って、観察処置するのにフードを付けることが周知の技術であった。
【0098】
(付記項16の解決課題) この様に必要な距離を保って観察処置するときフード先端が観察視野の中に入ることがあった。電子内視鏡で観察像を表示するモニター画面が丸でなく、矩形に近い形状の場合、フードが単純な丸型だと、画面の対角方向は対辺方向よりも、フードによって遮られる量が大きくなる問題点があった。
【0099】
(付記項16の目的) 視野内に入るまでフードを突出させたものにおいて、より広い範囲の視野を確保出来る内視鏡を提供することである。
【0100】
(付記項16の課題を解決するための手段) フードの先端部において画面の対角方向にあたる部分の形状を対辺方向にあたる部分とは変化させたことにより画面の対角方向のフードに遮られる部分が少なくなるようにした。
【0101】
(付記項16の効果) 内視鏡先端に付けたフードが観察視野内に入るものにおいてより広い範囲の視野を確保することが出来る。
【0102】
(付記項17) 上記付記項16において、フード開口形状を略矩形とし、画面の対辺方向、対角方向とフードの対辺方向、対角方向を一致させて固定可能にしたことを特徴とする内視鏡。
【0103】
(付記項18) 上記付記項16において、フード先端に軸方向の山谷を設け、画面の対辺方向にあたる部分を谷部、画面の対角方向に当たる部分を山部にしたことを特徴とする内視鏡。
【0104】
【発明の効果】
本発明によれば内視鏡先端に付けたフードが観察視野内に入るものにおいてより広い範囲の視野を確保することが出来る。
【図面の簡単な説明】
【図1】 (A)は本発明の第1の実施の形態における内視鏡の概略構成図、(B)は第1の実施の形態の内視鏡のフードの突出動作を説明するための説明図。
【図2】 (A)は第1の実施の形態の内視鏡のフードが最大後退位置に移動された際のモニタの観察画面を示す平面図、(B)は第1の実施の形態の内視鏡のフードが最大突出位置に移動された際にフードによって視野の一部が遮られた状態のモニタの観察画面を示す平面図。
【図3】 第1の実施の形態の変形例におけるフードの先端部形状を示す側面図。
【図4】 本発明の第2の実施の形態を示す要部の縦断面図。
【図5】 本発明の第3の実施の形態の内視鏡の先端部を示す側面図。
【図6】 第3の実施の形態のワイヤ操作機構の概略構成図。
【図7】 本発明の第4の実施の形態を示す要部の縦断面図。
【図8】 第4の実施の形態の内視鏡の手元側の操作部周辺部位を示す側面図。
【図9】 本発明の第5の実施の形態を示す要部の縦断面図。
【符号の説明】
2 挿入部
3 操作部
8、80 フード(移動部材)
10 操作ワイヤ
11 湾曲操作ワイヤ
17 ワイヤ操作機構
24 ワイヤ着脱部
41 軟性フード(移動部材)
46 爪部材(ワイヤ着脱部)
91 当接部材(移動部材)
Claims (4)
- 体腔内に挿入される挿入部の先端を構成する内視鏡先端部と、
観察像を矩形状の観察画面として表示手段に表示するための所定の視野範囲を備え、前記内視鏡先端部に設けられた対物レンズと、
前記視野範囲内に突出するとともに前記観察画面の対辺方向に相当する部分と対角方向に相当する部分とで形状を変化させた前縁部を備え、前記内視鏡先端部に設けられたフード部と、
を具備することを特徴とする内視鏡装置。 - 体腔内に挿入される挿入部の先端を構成する内視鏡先端部と、
観察像を矩形状の観察画面として表示手段に表示するための所定の視野範囲を備え、前記内視鏡先端部に設けられた対物レンズと、
前記内視鏡先端部に対して前後方向に進退可能に設けられ、前方に移動されたときに前記視野範囲内に突出するとともに、前記観察画面の対辺方向に相当する部分と対角方向に相当する部分とで形状を変化させた前縁部を備えたフード部と、
を具備することを特徴とする内視鏡装置。 - 観察像を矩形状の観察画面として表示手段に表示するための所定の視野範囲を備えた対物レンズを有する内視鏡先端部に対して着脱可能であるとともに、前記内視鏡先端部の所定位置に固定された時に、前記視野範囲内に突出するとともに前記観察画面の対辺方向に相当する部分と対角方向に相当する部分とで形状を変化させた前縁部を備えたことを特徴とする内視鏡用フード部材。
- 観察像を矩形状の観察画面として表示手段に表示するための所定の視野範囲を備えた対物レンズを有する内視鏡先端部に対して進退可能に着脱されるとともに、前記内視鏡先端部の所定位置に移動された時に、前記視野範囲内に突出するとともに前記観察画面の対辺方向に相当する部分と対角方向に相当する部分とで形状を変化させた前縁部を備えたことを特徴とする内視鏡用フード部材。
Priority Applications (1)
| Application Number | Priority Date | Filing Date | Title |
|---|---|---|---|
| JP2002081777A JP3686876B2 (ja) | 2002-03-22 | 2002-03-22 | 内視鏡装置と内視鏡用フード部材 |
Applications Claiming Priority (1)
| Application Number | Priority Date | Filing Date | Title |
|---|---|---|---|
| JP2002081777A JP3686876B2 (ja) | 2002-03-22 | 2002-03-22 | 内視鏡装置と内視鏡用フード部材 |
Related Parent Applications (1)
| Application Number | Title | Priority Date | Filing Date |
|---|---|---|---|
| JP02410596A Division JP3709234B2 (ja) | 1996-02-09 | 1996-02-09 | 内視鏡と内視鏡用移動部材 |
Publications (2)
| Publication Number | Publication Date |
|---|---|
| JP2002301011A JP2002301011A (ja) | 2002-10-15 |
| JP3686876B2 true JP3686876B2 (ja) | 2005-08-24 |
Family
ID=19193361
Family Applications (1)
| Application Number | Title | Priority Date | Filing Date |
|---|---|---|---|
| JP2002081777A Expired - Fee Related JP3686876B2 (ja) | 2002-03-22 | 2002-03-22 | 内視鏡装置と内視鏡用フード部材 |
Country Status (1)
| Country | Link |
|---|---|
| JP (1) | JP3686876B2 (ja) |
Cited By (1)
| Publication number | Priority date | Publication date | Assignee | Title |
|---|---|---|---|---|
| WO2015115773A1 (ko) * | 2014-01-28 | 2015-08-06 | 가톨릭대학교 산학협력단 | 내시경 |
Families Citing this family (6)
| Publication number | Priority date | Publication date | Assignee | Title |
|---|---|---|---|---|
| US20080262295A1 (en) * | 2007-03-22 | 2008-10-23 | Amar Kendale | Methods and devices for viewing anatomic structure |
| WO2013021710A1 (ja) | 2011-08-09 | 2013-02-14 | オリンパスメディカルシステムズ株式会社 | 内視鏡補助具及び内視鏡 |
| JP5722188B2 (ja) * | 2011-10-17 | 2015-05-20 | オリンパスメディカルシステムズ株式会社 | 内視鏡システム |
| JP5840061B2 (ja) * | 2012-04-06 | 2016-01-06 | オリンパス株式会社 | 内視鏡 |
| JP6780134B2 (ja) * | 2017-12-12 | 2020-11-04 | オリンパス株式会社 | 内視鏡、先端カバーおよび内視鏡システム |
| WO2024045868A1 (zh) * | 2022-08-30 | 2024-03-07 | 微创优通医疗科技(上海)有限公司 | 可视装置 |
-
2002
- 2002-03-22 JP JP2002081777A patent/JP3686876B2/ja not_active Expired - Fee Related
Cited By (2)
| Publication number | Priority date | Publication date | Assignee | Title |
|---|---|---|---|---|
| WO2015115773A1 (ko) * | 2014-01-28 | 2015-08-06 | 가톨릭대학교 산학협력단 | 내시경 |
| US10743745B2 (en) | 2014-01-28 | 2020-08-18 | The Catholic University Of Korea Industry-Academic Cooperation Foundation | Endoscope |
Also Published As
| Publication number | Publication date |
|---|---|
| JP2002301011A (ja) | 2002-10-15 |
Similar Documents
| Publication | Publication Date | Title |
|---|---|---|
| US5695491A (en) | Endoscopic accessory and containment system | |
| JP3939158B2 (ja) | 内視鏡装置 | |
| US20090105536A1 (en) | Endoscope treatment system | |
| JP2007520287A (ja) | フレキシブルプローブを備えた内視鏡 | |
| KR20070100702A (ko) | 내시경용의 개선된 수술 도구 | |
| KR20070110830A (ko) | 보호용 슬리브를 가진 내시경 | |
| CN101106934A (zh) | 内窥镜用处置器械 | |
| JP3709234B2 (ja) | 内視鏡と内視鏡用移動部材 | |
| JP3686876B2 (ja) | 内視鏡装置と内視鏡用フード部材 | |
| JP4772450B2 (ja) | 内視鏡 | |
| JP3207991B2 (ja) | 内視鏡カバー方式の内視鏡装置 | |
| JP2000342516A (ja) | 処置用内視鏡及び処置具 | |
| JPH0747052A (ja) | 内視鏡カバー方式内視鏡 | |
| JPH07184830A (ja) | 内視鏡カバー方式の内視鏡装置 | |
| JP3414430B2 (ja) | チャンネル付内視鏡カバー | |
| JPH06319677A (ja) | カバー式内視鏡 | |
| CN113950276A (zh) | 立起台附件及内窥镜 | |
| JP4242173B2 (ja) | 内視鏡の挿入部先端構造 | |
| JPH06261857A (ja) | チャンネル付き内視鏡カバーの挿入部カバー部 | |
| JP3927652B2 (ja) | 親子式内視鏡装置 | |
| JP3402646B2 (ja) | 内視鏡カバー方式の内視鏡 | |
| JPH08206058A (ja) | カバー式内視鏡 | |
| JPH07116107A (ja) | カバー方式の内視鏡 | |
| JP2005323877A (ja) | 医療器具の挿入装置とその方法 | |
| JPH06261856A (ja) | 内視鏡カバー方式の内視鏡 |
Legal Events
| Date | Code | Title | Description |
|---|---|---|---|
| A131 | Notification of reasons for refusal |
Free format text: JAPANESE INTERMEDIATE CODE: A131 Effective date: 20050215 |
|
| A521 | Written amendment |
Free format text: JAPANESE INTERMEDIATE CODE: A523 Effective date: 20050415 |
|
| TRDD | Decision of grant or rejection written | ||
| A01 | Written decision to grant a patent or to grant a registration (utility model) |
Free format text: JAPANESE INTERMEDIATE CODE: A01 Effective date: 20050531 |
|
| A61 | First payment of annual fees (during grant procedure) |
Free format text: JAPANESE INTERMEDIATE CODE: A61 Effective date: 20050606 |
|
| FPAY | Renewal fee payment (event date is renewal date of database) |
Free format text: PAYMENT UNTIL: 20080610 Year of fee payment: 3 |
|
| FPAY | Renewal fee payment (event date is renewal date of database) |
Free format text: PAYMENT UNTIL: 20090610 Year of fee payment: 4 |
|
| FPAY | Renewal fee payment (event date is renewal date of database) |
Free format text: PAYMENT UNTIL: 20090610 Year of fee payment: 4 |
|
| FPAY | Renewal fee payment (event date is renewal date of database) |
Free format text: PAYMENT UNTIL: 20100610 Year of fee payment: 5 |
|
| FPAY | Renewal fee payment (event date is renewal date of database) |
Free format text: PAYMENT UNTIL: 20110610 Year of fee payment: 6 |
|
| FPAY | Renewal fee payment (event date is renewal date of database) |
Free format text: PAYMENT UNTIL: 20120610 Year of fee payment: 7 |
|
| LAPS | Cancellation because of no payment of annual fees |