JP3673479B2 - ボルテージレギュレータ - Google Patents

ボルテージレギュレータ Download PDF

Info

Publication number
JP3673479B2
JP3673479B2 JP2001060175A JP2001060175A JP3673479B2 JP 3673479 B2 JP3673479 B2 JP 3673479B2 JP 2001060175 A JP2001060175 A JP 2001060175A JP 2001060175 A JP2001060175 A JP 2001060175A JP 3673479 B2 JP3673479 B2 JP 3673479B2
Authority
JP
Japan
Prior art keywords
voltage
current
mirror circuit
mos transistor
current mirror
Prior art date
Legal status (The legal status is an assumption and is not a legal conclusion. Google has not performed a legal analysis and makes no representation as to the accuracy of the status listed.)
Expired - Lifetime
Application number
JP2001060175A
Other languages
English (en)
Other versions
JP2002258954A (ja
Inventor
英樹 上里
宏治 吉井
Current Assignee (The listed assignees may be inaccurate. Google has not performed a legal analysis and makes no representation or warranty as to the accuracy of the list.)
Ricoh Co Ltd
Original Assignee
Ricoh Co Ltd
Priority date (The priority date is an assumption and is not a legal conclusion. Google has not performed a legal analysis and makes no representation as to the accuracy of the date listed.)
Filing date
Publication date
Application filed by Ricoh Co Ltd filed Critical Ricoh Co Ltd
Priority to JP2001060175A priority Critical patent/JP3673479B2/ja
Publication of JP2002258954A publication Critical patent/JP2002258954A/ja
Application granted granted Critical
Publication of JP3673479B2 publication Critical patent/JP3673479B2/ja
Anticipated expiration legal-status Critical
Expired - Lifetime legal-status Critical Current

Links

Images

Landscapes

  • Continuous-Control Power Sources That Use Transistors (AREA)
  • Amplifiers (AREA)
  • Control Of Electrical Variables (AREA)

Description

【0001】
【発明の属する技術分野】
本発明は、ボルテージレギュレータに関し、特に低電圧動作及び低消費電流が要求される携帯機器等に使用されるボルテージレギュレータに関する。
【0002】
【従来の技術】
図3は、従来のボルテージレギュレータの回路例を示した図である。図3のボルテージレギュレータ100では、基準電圧発生回路101からの基準電圧VREFと、出力電圧VOUTの検出を行う検出回路104の抵抗102及び103で出力電圧VOUTが分圧された分圧電圧VFBは、差動増幅段105で電圧比較され、該比較結果に応じて出力段106をなすPチャネル型MOSトランジスタ(以下、PMOSトランジスタと呼ぶ)107の制御を行って一定の出力電圧VOUTが出力される。差動増幅段105は、カレントミラー回路を形成するPチャネル型MOSトランジスタ111,112と、差動対をなすNチャネル型MOSトランジスタ(以下、NMOSトランジスタと呼ぶ)113,114と、定電流源115とで構成されている。
【0003】
一方、図4は、従来のボルテージレギュレータの他の回路例を示した図であり、図4のボルテージレギュレータ100aは、図3の差動増幅段105と出力段106との間に、PMOSトランジスタ116及び定電流源117で構成された増幅段120を追加した3段の増幅段を備えるレギュレータであり、出力電圧VOUTの高速な制御を行うことができる。
【0004】
【発明が解決しようとする課題】
しかし、図3のボルテージレギュレータ100では、出力電圧VOUTが印加される負荷RLの抵抗値が小さい場合、PMOSトランジスタ107のゲート電圧が、差動増幅段105によって、ゲート−ソース間電圧Vgsを確保するために低い値に制御される。
【0005】
この場合、NMOSトランジスタ113における、しきい値をVthとすると共にドレイン−ソース間電圧をVdsとすると、定電流源115の両端に必要な電圧とNMOSトランジスタ113における(VREF−Vth+Vds)を加えた電圧よりも、PMOSトランジスタ107のゲート電圧を低くすることができなかった。このため、電源電圧VDDが低下したとき等、PMOSトランジスタ107に十分なゲート−ソース間電圧Vgsが確保することができなくなると、出力電圧VOUTは低下していく。すなわち、低電源電圧での正常な動作ができないという問題があった。
【0006】
これに対して、図4のボルテージレギュレータの場合、出力段106におけるPMOSトランジスタ107のゲート電圧は、ほぼ電源電圧VDDから接地電圧GNDまで制御できる。しかし、差動増幅段105、増幅段120及び出力段106の3段の増幅段を備えているため、特に低消費電流で動作させる場合、位相設計が難しくなることから、定電流源115及び117の各電流を合わせると、数十μA以上の電流が必要になり、低消費電流のボルテージレギュレータが必要な場合には消費電流が大きいという問題があった。
【0007】
本発明は、上記のような問題を解決するためになされたものであり、低消費電流で、かつ低電源電圧動作が可能であるボルテージレギュレータを得ることを目的とする。
【0008】
【課題を解決するための手段】
この発明に係るボルテージレギュレータは、あらかじめ設定された基準電圧を基に所定の電圧を生成して出力端子から出力するボルテージレギュレータにおいて、出力端子からの出力電圧の検出を行い、該検出した出力電圧に応じた電圧を生成して出力する検出回路部と、該検出回路部の出力電圧と上記基準電圧との差動増幅を行う1対のMOSトランジスタからなる差動対と、該差動対に対して所定のバイアス電流の供給を行う定電流源と、一方の出力端に接続された差動対における基準電圧が入力されるMOSトランジスタに対して負荷をなすと共に該MOSトランジスタに流れる電流に応じた電流を他方の出力端から出力する第1カレントミラー回路部と、一方の出力端に接続された差動対における検出回路部からの出力電圧が入力されるMOSトランジスタに対して負荷をなすと共に該MOSトランジスタに流れる電流に応じた電流を他方の出力端から出力する第2カレントミラー回路部と、第1カレントミラー回路部及び第2カレントミラー回路部の各他方の出力端に接続された第3カレントミラー回路部と、第2カレントミラー回路部と該第3カレントミラー回路部との接続部の電圧を接地電圧から電源電圧近傍まで制御可能であり、該接続部の電圧に応じた電流を上記出力端子から出力するMOSトランジスタを有する出力回路部とを備え、上記第1カレントミラー回路部は、差動対の負荷をなす第1MOSトランジスタと、該第1MOSトランジスタに流れる電流に応じた電流を他方の出力端から出力する第2MOSトランジスタとで構成され、上記第2カレントミラー回路部は、差動対の負荷をなす第3MOSトランジスタと、該第3MOSトランジスタに流れる電流に応じた電流を他方の出力端から出力する第4MOSトランジスタとで構成され、更に、第3カレントミラー回路部は、第1カレントミラー回路部の上記他方の出力端に接続された第5MOSトランジスタと、第2カレントミラー回路部の上記他方の出力端に接続された第6MOSトランジスタとで構成され、上記第1MOSトランジスタに対する上記第2MOSトランジスタのサイズの割合と、上記第3MOSトランジスタに対する上記第4MOSトランジスタのサイズの割合との比が、上記第5MOSトランジスタと上記第6MOSトランジスタのサイズ比に等しいものである。
【0009】
具体的には、上記第3カレントミラー回路部は、第1カレントミラー回路部の他方の出力端から流れる電流に応じた電流を第2カレントミラー回路部の他方の出力端に流すように動作する。
【0011】
【発明の実施の形態】
次に、図面に示す実施の形態に基づいて、本発明を詳細に説明する。
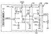
図1は、本発明の実施の形態におけるボルテージレギュレータの構成例を示したブロック図である。
図1において、ボルテージレギュレータ1は、所定の基準電圧VREFを生成して出力する基準電圧発生回路2と、出力電圧VOUTの検出を行い該検出した出力電圧VOUTに応じた電圧VFBを生成して出力する検出回路3と、基準電圧VREFと該検出回路3からの出力電圧VFBとの差動増幅を行う1対のトランジスタで構成された差動対4とを備えている。
【0012】
また、ボルテージレギュレータ1は、電源電圧VDDと差動対4の一方のトランジスタとの間に一方の出力端が接続された第1カレントミラー回路5と、電源電圧VDDと差動対4の他方のトランジスタとの間に一方の出力端が接続された第2カレントミラー回路6と、差動対4と接地との間に接続された定電流源7とを備えている。更に、ボルテージレギュレータ1は、第1カレントミラー回路5の他方の出力端及び第2カレントミラー回路6の他方の出力端が接続された第3カレントミラー回路8と、第2カレントミラー回路6と第3カレントミラー回路8との接続部の電圧に応じた電流を負荷RLに出力する出力回路9とを備えている。
【0013】
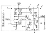
図2は、図1で示したボルテージレギュレータ1をCMOSで形成した場合を例にして示した回路図である。
図2において、検出回路3は、出力電圧VOUTと接地との間に接続された抵抗R1とR2との直列回路で構成されており、差動対4は、一対のNチャネル型MOSトランジスタ(以下、NMOSトランジスタと呼ぶ)QN1及びQN2で構成されている。検出回路3は、出力電圧VOUTを抵抗R1とR2で分圧して分圧電圧VFBを生成し出力する。NMOSトランジスタQN1のゲートには基準電圧VREFが、NMOSトランジスタQN2のゲートには分圧電圧VFBがそれぞれ入力されている。NMOSトランジスタQN1及びQN2の各ソースは接続され、該接続部は定電流源7を介して接地されている。
【0014】
また、第1カレントミラー回路5は、Pチャネル型MOSトランジスタ(以下、PMOSトランジスタと呼ぶ)QP1及びQP2で形成されている。PMOSトランジスタQP1のゲート及びドレイン並びにPMOSトランジスタQP2のゲートは接続され、PMOSトランジスタQP1及びQP2の各ソースはそれぞれ電源電圧VDDに接続されている。更に、PMOSトランジスタQP1のドレインは、差動対4をなすNMOSトランジスタQN1のドレインに接続され、PMOSトランジスタQP2のドレインは、第3カレントミラー回路8に接続されている。
【0015】
同様に、第2カレントミラー回路6は、PMOSトランジスタQP3及びQP4で形成されている。PMOSトランジスタQP3のゲート及びドレイン並びにPMOSトランジスタQP4のゲートは接続され、PMOSトランジスタQP3及びQP4の各ソースはそれぞれ電源電圧VDDに接続されている。更に、PMOSトランジスタQP3のドレインは、差動対4をなすNMOSトランジスタQN2のドレインに接続され、PMOSトランジスタQP4のドレインは、第3カレントミラー回路8に接続されている。
【0016】
第3カレントミラー回路8は、カレントミラー回路を形成する同一特性のNMOSトランジスタQN3及びQN4で構成されている。NMOSトランジスタQN3のゲート及びドレイン並びにNMOSトランジスタQN4のゲートは接続され、NMOSトランジスタQN3及びQN4の各ソースはそれぞれ接地されている。更に、NMOSトランジスタQN3のドレインは、第1カレントミラー回路5を形成するPMOSトランジスタQP2のドレインに接続され、NMOSトランジスタQN4のドレインは、第2カレントミラー回路6を形成するPMOSトランジスタQP4のドレインに接続されている。
【0017】
NMOSトランジスタQN4とPMOSトランジスタQP4との接続部は、出力回路9をなすPMOSトランジスタQP5のゲートに接続されている。出力回路9のPMOSトランジスタQP5において、ソースは電源電圧VDDに接続され、ドレインは検出回路3の抵抗R1に接続され、該接続部から出力電圧VOUTが出力される。該出力電圧VOUTは、負荷抵抗RLに印加される。
【0018】
ここで、差動対4において、基準電圧VREFと分圧電圧VFBが釣り合っている状態から、何らかの原因で出力電圧VOUTが低下した場合の各部の動作について説明する。出力電圧VOUTが低下すると分圧電圧VFBは低下し、NMOSトランジスタQN2のドレイン電流は、NMOSトランジスタQN1のドレイン電流よりも低下する。このため、PMOSトランジスタQP2のゲート電圧は低下すると共に、PMOSトランジスタQP4のゲート電圧は上昇し、NMOSトランジスタQN4において、ゲート−ソース電圧Vgsは上昇するがドレイン電流は低下することからドレイン−ソース電圧Vdsは低下する。従って、出力回路9のPMOSトランジスタQP5のゲート電圧は低下してPMOSトランジスタQP5の電流駆動能力が大きくなることにより、出力電圧VOUTを上昇させることができる。
【0019】
次に、差動対4において、基準電圧VREFと分圧電圧VFBが釣り合っている状態から、何らかの原因で出力電圧VOUTが上昇した場合の各部の動作について説明する。出力電圧VOUTが上昇すると分圧電圧VFBは上昇し、NMOSトランジスタQN2のドレイン電流は、NMOSトランジスタQN1のドレイン電流よりも増加する。このため、PMOSトランジスタQP2のゲート電圧は上昇すると共に、PMOSトランジスタQP4のゲート電圧は低下し、NMOSトランジスタQN4において、ゲート−ソース電圧Vgsは低下するがドレイン電流は増加することからドレイン−ソース電圧Vdsは上昇する。従って、出力回路9のPMOSトランジスタQP5のゲート電圧は上昇してPMOSトランジスタQP5の電流駆動能力が小さくなることにより、出力電圧VOUTを低下させることができる。
【0020】
一方、差動対4において、基準電圧VREFと分圧電圧VFBが釣り合っている状態の各部の動作について説明する。基準電圧VREFと分圧電圧VFBが釣り合っている場合、NMOSトランジスタQN1,QN2の各ドレイン電流及びPMOSトランジスタQP1,QP3の各ドレイン電流はそれぞれ等しくなる。従って、PMOSトランジスタQP1とカレントミラー回路を形成するPMOSトランジスタQP2のドレイン電流は、PMOSトランジスタQP1とQP2とのサイズ比に応じた値となる。同様に、PMOSトランジスタQP3とカレントミラー回路を形成するPMOSトランジスタQP4のドレイン電流は、PMOSトランジスタQP3とQP4とのサイズ比に応じた値となる。
【0021】
PMOSトランジスタQP1〜QP4は、同じサイズのトランジスタを使用するが、例えば消費電流を低下させたい場合は、PMOSトランジスタQP1とQP2のサイズ比及びPMOSトランジスタQP3とQP4とのサイズ比を共に小さくして調整する。また、例えば出力電圧VOUTの変動に対する動作速度を速くしたい場合は、PMOSトランジスタQP1とQP2のサイズ比及びPMOSトランジスタQP3とQP4とのサイズ比を共に大きくして調整する。なお、サイズ比とは、MOSトランジスタのゲート幅の比又はゲート長の比を示している。
【0022】
また、PMOSトランジスタQP1のサイズP1に対するPMOSトランジスタQP2のサイズP2の割合と、PMOSトランジスタQP3のサイズP3に対するPMOSトランジスタQP4のサイズP4の割合との比は、NMOSトランジスタQN3のサイズN3とNMOSトランジスタQN4のサイズN4との比に等しくなるように各MOSトランジスタを形成するとよい。すなわち、下記(1)式が成り立つように各MOSトランジスタを形成するとよい。
(P2/P1):(P4/P3)=N3:N4………………(1)
【0023】
このような構成にすることによって、出力回路9のPMOSトランジスタQP5のゲート電圧をほぼ電源電圧VDDから接地電圧まで制御することができ、より低い電源電圧VDDまでレギュレーション動作を行うことができる。例えば、定電流源7の両端に0.2V、差動対4をなすNMOSトランジスタQN1,QN2の各しきい値を0.3V、基準電圧VREFを0.6Vとすると、図3で示した従来のボルテージレギュレータよりも0.5V以上の低電圧化を行うことができる。また、PMOSトランジスタQP1とQP2、及びPMOSトランジスタQP3とQP4は、それぞれカレントミラー回路を構成し増幅段ではないことから、図3で示した従来のボルテージレギュレータと同様、2段の増幅段を備えたレギュレータであるため、消費電流を例えば数十μAから数uAに抑えて、位相設計をすることが可能となる。
【0024】
【発明の効果】
上記の説明から明らかなように、本発明のボルテージレギュレータによれば、出力端子からの出力電圧に応じた電圧を生成して出力する検出回路部と、該検出回路部の出力電圧と所定の基準電圧との差動増幅を行う差動対と、該差動対に対して所定のバイアス電流の供給を行う定電流源と、一方の出力端に接続された差動対の基準電圧が入力されるMOSトランジスタの負荷をなすと共に該MOSトランジスタに流れる電流に応じた電流を他方の出力端から出力する第1カレントミラー回路部と、一方の出力端に接続された差動対の検出回路部の出力電圧が入力されるMOSトランジスタの負荷をなすと共に該MOSトランジスタに流れる電流に応じた電流を他方の出力端から出力する第2カレントミラー回路部と、第1カレントミラー回路部及び第2カレントミラー回路部の各他方の出力端に接続された第3カレントミラー回路部と、第2カレントミラー回路部と該第3カレントミラー回路部との接続部の電圧を接地電圧から電源電圧近傍まで制御可能であり、該接続部の電圧に応じた電流を上記出力端子から出力するMOSトランジスタを有する出力回路部とを備えるようにした。このことから、低消費電流動作時における位相設計を容易にすることができるため消費電流の低減を図ることができると共に、低電源電圧での正常な動作を行うことができる。 また、第1MOSトランジスタに対する第2MOSトランジスタのサイズの割合と、第3MOSトランジスタに対する第4MOSトランジスタのサイズの割合との比は、第5MOSトランジスタと第6MOSトランジスタとのサイズ比に等しくなるようにした。このことから、低電源電圧時においても、出力電圧を所定の電圧で一定にすることができる。
【0025】
具体的には、第3カレントミラー回路部が、第1カレントミラー回路部の他方の出力端から流れる電流に応じた電流を第2カレントミラー回路部の他方の出力端に流すようにした。このことから、2段の増幅段を備えた構成にすることができ、消費電流を抑えて位相設計を容易に行うことができる。
【図面の簡単な説明】
【図1】 本発明の実施の形態におけるボルテージレギュレータの構成例を示したブロック図である。
【図2】 図1のボルテージレギュレータをCMOSで形成した場合を例にして示した回路図である。
【図3】 従来のボルテージレギュレータの回路例を示した図である。
【図4】 従来のボルテージレギュレータの他の回路例を示した図である。
【符号の説明】
1 ボルテージレギュレータ
2 基準電圧発生回路
3 検出回路
4 差動対
5 第1カレントミラー回路
6 第2カレントミラー回路
7 定電流源
8 第3カレントミラー回路
9 出力回路
RL 負荷

Claims (2)

  1. あらかじめ設定された基準電圧を基に所定の電圧を生成して出力端子から出力するボルテージレギュレータにおいて、
    上記出力端子からの出力電圧の検出を行い、該検出した出力電圧に応じた電圧を生成して出力する検出回路部と、
    該検出回路部の出力電圧と上記基準電圧との差動増幅を行う1対のMOSトランジスタからなる差動対と、
    該差動対に対して所定のバイアス電流の供給を行う定電流源と、
    一方の出力端に接続された上記差動対における基準電圧が入力されるMOSトランジスタに対して負荷をなすと共に、該MOSトランジスタに流れる電流に応じた電流を他方の出力端から出力する第1カレントミラー回路部と、
    一方の出力端に接続された上記差動対における上記検出回路部からの出力電圧が入力されるMOSトランジスタに対して負荷をなすと共に、該MOSトランジスタに流れる電流に応じた電流を他方の出力端から出力する第2カレントミラー回路部と、
    上記第1カレントミラー回路部及び第2カレントミラー回路部の各他方の出力端に接続された第3カレントミラー回路部と、
    上記第2カレントミラー回路部と該第3カレントミラー回路部との接続部の電圧を接地電圧から電源電圧未満まで制御可能であり、該接続部の電圧に応じた電流を上記出力端子から出力するMOSトランジスタを有する出力回路部と、
    を備え
    上記第1カレントミラー回路部は、差動対の負荷をなす第1MOSトランジスタと、該第1MOSトランジスタに流れる電流に応じた電流を他方の出力端から出力する第2MOSトランジスタとで構成され、上記第2カレントミラー回路部は、差動対の負荷をなす第3MOSトランジスタと、該第3MOSトランジスタに流れる電流に応じた電流を他方の出力端から出力する第4MOSトランジスタとで構成され、更に、第3カレントミラー回路部は、第1カレントミラー回路部の上記他方の出力端に接続された第5MOSトランジスタと、第2カレントミラー回路部の上記他方の出力端に接続された第6MOSトランジスタとで構成され、上記第1MOSトランジスタに対する上記第2MOSトランジスタのサイズの割合と、上記第3MOSトランジスタに対する上記第4MOSトランジスタのサイズの割合との比が、上記第5MOSトランジスタと上記第6MOSトランジスタのサイズ比に等しいことを特徴とするボルテージレギュレータ。
  2. 上記第3カレントミラー回路部は、第1カレントミラー回路部の上記他方の出力端から流れる電流に応じた電流を第2カレントミラー回路部の上記他方の出力端に流すように動作することを特徴とする請求項1記載のボルテージレギュレータ。
JP2001060175A 2001-03-05 2001-03-05 ボルテージレギュレータ Expired - Lifetime JP3673479B2 (ja)

Priority Applications (1)

Application Number Priority Date Filing Date Title
JP2001060175A JP3673479B2 (ja) 2001-03-05 2001-03-05 ボルテージレギュレータ

Applications Claiming Priority (1)

Application Number Priority Date Filing Date Title
JP2001060175A JP3673479B2 (ja) 2001-03-05 2001-03-05 ボルテージレギュレータ

Publications (2)

Publication Number Publication Date
JP2002258954A JP2002258954A (ja) 2002-09-13
JP3673479B2 true JP3673479B2 (ja) 2005-07-20

Family

ID=18919631

Family Applications (1)

Application Number Title Priority Date Filing Date
JP2001060175A Expired - Lifetime JP3673479B2 (ja) 2001-03-05 2001-03-05 ボルテージレギュレータ

Country Status (1)

Country Link
JP (1) JP3673479B2 (ja)

Families Citing this family (7)

* Cited by examiner, † Cited by third party
Publication number Priority date Publication date Assignee Title
JP3610556B1 (ja) 2003-10-21 2005-01-12 ローム株式会社 定電圧電源装置
JP4552569B2 (ja) * 2004-09-13 2010-09-29 ソニー株式会社 定電圧電源回路
JP4616067B2 (ja) * 2005-04-28 2011-01-19 株式会社リコー 定電圧電源回路
JP2006318327A (ja) 2005-05-16 2006-11-24 Fuji Electric Device Technology Co Ltd 差動増幅回路およびシリーズレギュレータ
KR100834592B1 (ko) * 2006-12-27 2008-06-05 재단법인서울대학교산학협력재단 과전압 및 역전압 보호 기능을 갖춘 저감압 레귤레이터회로 및 그 방법
JP5008472B2 (ja) * 2007-06-21 2012-08-22 セイコーインスツル株式会社 ボルテージレギュレータ
JP4965375B2 (ja) * 2007-07-31 2012-07-04 株式会社リコー 演算増幅回路、その演算増幅回路を使用した定電圧回路及びその定電圧回路を使用した機器

Also Published As

Publication number Publication date
JP2002258954A (ja) 2002-09-13

Similar Documents

Publication Publication Date Title
JP5008472B2 (ja) ボルテージレギュレータ
US7764123B2 (en) Rail to rail buffer amplifier
US7609106B2 (en) Constant current circuit
JP4722502B2 (ja) バンドギャップ回路
KR101739290B1 (ko) 차동 증폭 회로 및 시리즈 레귤레이터
US7714645B2 (en) Offset cancellation of a single-ended operational amplifier
JP2000293248A (ja) フィードバック制御低電圧電流シンク/ソース
JPH04229315A (ja) 基準発生器
JP4834347B2 (ja) 定電流回路
JP2008015925A (ja) 基準電圧発生回路
JP3673479B2 (ja) ボルテージレギュレータ
US7589578B2 (en) Level shift circuit and semiconductor device
US10503197B2 (en) Current generation circuit
JP3643043B2 (ja) ボルテージレギュレータ及びそのボルテージレギュレータを有する携帯電話機器
JP4259941B2 (ja) 基準電圧発生回路
US7330056B1 (en) Low power CMOS LVDS driver
JP2002074967A (ja) 降圧電源回路
JP2011118865A (ja) 過電流保護回路及び定電圧電源回路
JP3024645B1 (ja) 定電圧発生回路
JP2005130020A (ja) アナログレベルシフタ
JP6837894B2 (ja) 降圧回路及び半導体集積回路
JP2011049945A (ja) プッシュプル増幅回路およびこれを用いた演算増幅回路
US7961037B2 (en) Intermediate potential generation circuit
JP2007004581A (ja) レギュレータ回路
JP3423634B2 (ja) 定電流回路

Legal Events

Date Code Title Description
A621 Written request for application examination

Free format text: JAPANESE INTERMEDIATE CODE: A621

Effective date: 20040517

A871 Explanation of circumstances concerning accelerated examination

Free format text: JAPANESE INTERMEDIATE CODE: A871

Effective date: 20040930

A975 Report on accelerated examination

Free format text: JAPANESE INTERMEDIATE CODE: A971005

Effective date: 20041018

A131 Notification of reasons for refusal

Free format text: JAPANESE INTERMEDIATE CODE: A131

Effective date: 20041102

A521 Written amendment

Free format text: JAPANESE INTERMEDIATE CODE: A523

Effective date: 20041228

A131 Notification of reasons for refusal

Free format text: JAPANESE INTERMEDIATE CODE: A131

Effective date: 20050201

A521 Written amendment

Free format text: JAPANESE INTERMEDIATE CODE: A523

Effective date: 20050401

TRDD Decision of grant or rejection written
A01 Written decision to grant a patent or to grant a registration (utility model)

Free format text: JAPANESE INTERMEDIATE CODE: A01

Effective date: 20050419

A61 First payment of annual fees (during grant procedure)

Free format text: JAPANESE INTERMEDIATE CODE: A61

Effective date: 20050422

R150 Certificate of patent or registration of utility model

Ref document number: 3673479

Country of ref document: JP

Free format text: JAPANESE INTERMEDIATE CODE: R150

Free format text: JAPANESE INTERMEDIATE CODE: R150

FPAY Renewal fee payment (event date is renewal date of database)

Free format text: PAYMENT UNTIL: 20080428

Year of fee payment: 3

FPAY Renewal fee payment (event date is renewal date of database)

Free format text: PAYMENT UNTIL: 20090428

Year of fee payment: 4

FPAY Renewal fee payment (event date is renewal date of database)

Free format text: PAYMENT UNTIL: 20100428

Year of fee payment: 5

FPAY Renewal fee payment (event date is renewal date of database)

Free format text: PAYMENT UNTIL: 20100428

Year of fee payment: 5

FPAY Renewal fee payment (event date is renewal date of database)

Free format text: PAYMENT UNTIL: 20110428

Year of fee payment: 6

FPAY Renewal fee payment (event date is renewal date of database)

Free format text: PAYMENT UNTIL: 20120428

Year of fee payment: 7

FPAY Renewal fee payment (event date is renewal date of database)

Free format text: PAYMENT UNTIL: 20130428

Year of fee payment: 8

FPAY Renewal fee payment (event date is renewal date of database)

Free format text: PAYMENT UNTIL: 20140428

Year of fee payment: 9

S111 Request for change of ownership or part of ownership

Free format text: JAPANESE INTERMEDIATE CODE: R313111

R350 Written notification of registration of transfer

Free format text: JAPANESE INTERMEDIATE CODE: R350

R250 Receipt of annual fees

Free format text: JAPANESE INTERMEDIATE CODE: R250

R250 Receipt of annual fees

Free format text: JAPANESE INTERMEDIATE CODE: R250

R250 Receipt of annual fees

Free format text: JAPANESE INTERMEDIATE CODE: R250

R250 Receipt of annual fees

Free format text: JAPANESE INTERMEDIATE CODE: R250

R250 Receipt of annual fees

Free format text: JAPANESE INTERMEDIATE CODE: R250

R250 Receipt of annual fees

Free format text: JAPANESE INTERMEDIATE CODE: R250

EXPY Cancellation because of completion of term