JP3655431B2 - 用紙後処理装置および画像形成装置 - Google Patents

用紙後処理装置および画像形成装置 Download PDF

Info

Publication number
JP3655431B2
JP3655431B2 JP15112797A JP15112797A JP3655431B2 JP 3655431 B2 JP3655431 B2 JP 3655431B2 JP 15112797 A JP15112797 A JP 15112797A JP 15112797 A JP15112797 A JP 15112797A JP 3655431 B2 JP3655431 B2 JP 3655431B2
Authority
JP
Japan
Prior art keywords
paper
rear end
fence
end fence
binding
Prior art date
Legal status (The legal status is an assumption and is not a legal conclusion. Google has not performed a legal analysis and makes no representation as to the accuracy of the status listed.)
Expired - Lifetime
Application number
JP15112797A
Other languages
English (en)
Other versions
JPH10338412A (ja
Inventor
政博 田村
幸孝 中里
健次 山田
淳一 飯田
明人 安藤
良彦 中山
Current Assignee (The listed assignees may be inaccurate. Google has not performed a legal analysis and makes no representation or warranty as to the accuracy of the list.)
Ricoh Co Ltd
Original Assignee
Ricoh Co Ltd
Priority date (The priority date is an assumption and is not a legal conclusion. Google has not performed a legal analysis and makes no representation as to the accuracy of the date listed.)
Filing date
Publication date
Application filed by Ricoh Co Ltd filed Critical Ricoh Co Ltd
Priority to JP15112797A priority Critical patent/JP3655431B2/ja
Publication of JPH10338412A publication Critical patent/JPH10338412A/ja
Application granted granted Critical
Publication of JP3655431B2 publication Critical patent/JP3655431B2/ja
Anticipated expiration legal-status Critical
Expired - Lifetime legal-status Critical Current

Links

Images

Landscapes

  • Paper Feeding For Electrophotography (AREA)
  • Folding Of Thin Sheet-Like Materials, Special Discharging Devices, And Others (AREA)

Description

【0001】
【発明の属する技術分野】
本発明は、複写機、プリンタ、ファクシミリなどの画像形成装置の排紙部に連結される用紙後処理装置およびその用紙後処理装置を備えた画像形成装置に関する。
【0002】
【従来の技術】
画像形成装置から排出される用紙を受け入れるステープルトレイと、ステープルトレイに排出された用紙の端部を受けて揃える後端フェンスと、後端フェンスによって揃えられた用紙端部にステープル綴じするステープル手段とを備えた用紙後処理装置が提案されている。このような用紙後処理装置において、綴じモードとしては、手前綴じ、奥綴じ、両綴じに加え、奥斜め綴じモードがある。
【0003】
【発明が解決しようとする課題】
ステープルトレイに収容された用紙の後端を規制し、揃えるために後端フェンスを設ける型式の用紙後処理装置において、奥斜め綴じモード機能を持たせようとすると、後端フェンスに其なりの工夫を施す必要がある。即ち、手前綴じ、奥綴じ、両綴じ対応のみの後端フェンスでは、奥斜め綴じを実行することができない。
また、綴じモードの如何に係わらず、綴じ精度を向上させなくてはならないという基本的な課題がある。
【0004】
本発明の課題は、奥斜め綴じを実現すると共に、綴じ精度不良を回避することができる用紙後処理装置および画像形成装置を提供することである。
【0005】
【課題を解決するための手段】
上記課題は、搬送されてくる用紙を収納してスタックするステープルトレイと、前記ステープルトレイにスタックされた用紙端部を受けて揃える後端フェンスと、前記後端フェンスによって揃えられた用紙端部にステープル綴じするステープル手段とを備えた用紙後処理装置において、前記後端フェンスを前記ステープルトレイの下端方向に沿って手前側と奥側に複数個配設するとともに、当該後端フェンスを前記下端方向に沿って移動可能とし、前記後端フェンスには、前記ステープル手段に対して用紙を露出させるための切り欠き窓と、用紙端部を受けて揃えるストッパ部を設け、前記奥側の後端フェンスの切り欠き窓から、前記ステープル手段による奥斜め綴じを行なえるようにし、前記後端フェンスの外側端部側のストッパ部のホームポジション位置を、前記ステープルトレイにスタックされる用紙のうち、縦送りB4サイズ用紙端面と、縦送りA4サイズ用紙端面との間に設定した第1の手段により解決される。
上記課題は、第1の手段の用紙後処理装置を備えた第2の手段により解決される
【0006】
【発明の実施の形態】
以下、本発明の実施の形態を図面に基づいて説明する。
図1は本発明の実施の形態に係る用紙後処理装置全体の構成図、図2はジョガーフェンスと戻しローラの駆動機構を示す斜視図、図3は後端フェンス部近傍の拡大構成図、図4はステープル装置を中心とした斜視図、図5は綴じ後の用紙束を放出ベルトにより放出する様子を示す透視斜視図、図6は本発明の実施の形態に係る用紙後処理装置の電装系のブロック図である。
図1において、複写機からの用紙排出搬送路入口に、排紙センサ36、入口ローラ1、及び分岐爪8が設けられ、この分岐爪8により、排紙トレイ12方向へ行く用紙と、ステープル装置(ステープルユニット)11方向へ行く用紙とが分けられる。
排紙トレイ12方向の搬送路には、複数の上搬送ローラ2、排紙センサ38、排出ローラ3、用紙を一方に寄せる寄せローラ7、積載用紙により上下する紙面レバー13、積載用紙高さを検出する紙面センサ33などが配置され、ステープル装置11方向の搬送路には、複数の下搬送ローラ4、排紙センサ37、紙送りローラ(ブラシローラ)6等が配置されている。
下搬送ローラ4は、後述する搬送モータ54により駆動され、排紙トレイ12は、後述する上下モータ51、シフトモータ52により適宜上下左右に移動される。
ステープル装置11は、ステープルトレイ21の下側に設けられ、ステープルトレイ21には、用紙の整合を行うためのジョガーフェンス9、及び戻しローラ5、ジョガーフェンス9の背後位置に綴じた用紙束を排出するための放出ベルト10がそれぞれ配置されている。39は放出ベルトホームセンサである。
【0007】
このジョガーフェンス9は、図2に示すように、ジョガーモータ26によりジョガーベルト49を介して用紙の幅方向に駆動され、戻しローラ5は、戻しソレノイド30により用紙面に接離するような振り子運動されるように構成されている。
また、ブラシローラ6は、ブラシローラベルト47により図3の矢印方向に回転するようになっている。ジョガーフェンス9の下側には、図3に示すように、用紙後端に突き当てるための後端フェンス19が設けられている。
また、ステープル装置11は、図4に示すように、ステープラ移動モータ27によりステープルベルト50を介して駆動され、横移動する。22はステープラホームセンサである。後端フェンス19は、手前側19−1と奥側19−2の2個所に設けてある。
ところで、排紙センサ37は、用紙後端を検知して即、戻しソレノイド30にオン命令を出して戻しローラ5を作動させても、そのタイミングで戻しローラ5が用紙の後端に打ち当て可能になるような位置に配置されている。
【0008】
また、図5に示すように、ステープル装置11により綴じられた用紙束の後端は、放出ベルト10に設けられた放出爪10aに係止され、放出モータ57により駆動される放出ベルト10の回転により排紙トレイ12に排出されるようになっている。
【0009】
ここで、本発明の実施の形態に係る用紙後処理装置の電装系について図6を参照して説明する。
図6に示すように、用紙後処理装置内の各スイッチ、及び各センサからの信号が、I/Oインタフェース60を介してCPU70へ入力される。CPU70は、入力された信号に応じて、上下モータ51、シフトモータ52、分岐ソレノイド53、戻しソレノイド30、搬送モータ54、排紙モータ55、ステープルモータ56、放出モータ57、ステープラ移動モータ27、ジョガーモータ26を駆動する。搬送モータ54のパルス信号は、CPU70に入力されてカウントされ、このカウントに応じて戻しソレノイド30が制御される。用紙整合制御手段は、CPU70及びCPU70を動かす種々のオペレーションプログラムによって構成される。
【0010】
次に、前記実施の形態において、まずステープルを行わないノンステープルモードが選択された場合の動作について説明する。
コピー済みの用紙が、入口ローラ1により受け入れられ、上搬送ローラ2で送られ、排出ローラ3により排紙トレイ12上に排出される。そして、寄せローラ7により用紙の縦方向の整合が行われ、排紙トレイ12にスタックされる。
このとき、寄せローラ7は、排紙センサ38が用紙後端を検知すると減速され、スタック性を向上させる。また、順次コピー済みの用紙が排出されていくと、紙面レバー13が上昇し(時計回り方向に揺動し)、これを紙面センサ33が検出し、上下モータ51の駆動により、排紙トレイ12は下げられ、常に適切な高さに保たれる。
また、ソート及びスタックモード時には、装置本体のコントロールパネルなどから出される仕切信号により、排紙トレイ12をシフトモータ52により左右にシフトさせ、ジョブ終了まで仕分けを行う。また、ジョブ終了時には、排紙トレイ12を30ミリメートル程度下降する。
【0011】
次に、ステープルモードが選択された場合について説明する。
ステープルモードが選択されると、図2に示すように、ジョガーフェンス9は、ホームポジションより移動し、用紙幅より片側7ミリメートル離れた位置で待機する。用紙が下搬送ローラ4(搬送モータ54で駆動される)によって搬送され、用紙後端が排紙センサ37を通過すると、ジョガーフェンス9が待機位置から5ミリメートル内側にジョギング(矢印方向の往復運動)を行う。
また、排紙センサ37は、用紙後端通過時点にそれを検知し、その信号をCPU70に入力し、CPU70では、この信号の受信時点から搬送モータ54からの発信パルスをカウントし、所定パルス発信後に戻しソレノイド30をオンさせる。
戻しローラ5は、戻しソレノイド30のオン、オフにより振り子運動をし、オン時には用紙を叩いて下方向に戻し、後端フェンス19に突き当てて用紙の縦揃えを行う。ステープルトレイ21に収納されている用紙が入口センサ36(あるいは排紙センサ37)を通過する度にその信号がCPU70に入力されて、用紙の枚数がカウントされる。
この戻しソレノイド30がオフして所定時間経過後、ジョガーフェンス9は、ジョガーモータ26によって2ミリメートル内側に移動して一旦停止し、用紙の横揃えが終了する。ジョガーフェンス9は、その後7ミリメートル戻り、次の用紙を待つ。この動作を最終頁まで行う。最終頁では、再び7ミリメートルのジョギングを行い、用紙束の両端を押さえてステープル動作に備える。
その後、所定時間後にステープル装置11が作動し、綴じ処理が行われる。このとき、複数綴じが指定されていれば、1個所の綴じ処理が終了した後、ステープル移動モータ27が駆動され、ステープル装置11が用紙後端に沿って適正位置まで移動され、2個所目の綴じ処理が行われる。
【0012】
綴じ処理が終了すると、放出モータ57が駆動され、放出ベルト10を駆動する。このとき、排紙モータ55も駆動され、放出爪10aにより持ち上げられた用紙束を受け取るべく回転し始める。このとき、ジョガーフェンス9は、サイズ及び枚数により動作が異なるように制御される。
例えば、綴じ枚数が設定枚数より少ない、あるいは設定サイズより小さい場合には、ジョガーフェンス9により用紙束を押さえながら、放出爪10aにより用紙束後端を引っ掛け搬送する。
そして、放出ベルトホームセンサ39より、所定パルス後にジョガーフェンス9を2ミリメートル退避させ、ジョガーフェンス9による用紙への拘束を解除する(この所定パルスは、放出爪10aが用紙束後端に衝突してから、ジョガーフェンス9の先端を抜ける間で設定されている)。
また、綴じ枚数が設定枚数より多い、あるいは設定サイズより大きい場合には、予めジョガーフェンス9を2ミリメートル退避させ、放出を行う。何れの場合も、用紙束がジョガーフェンス9を抜けきると、ジョガーフェンス9はさらに5ミリメートル移動して待機位置に復帰し、次の用紙に備える。また、用紙に対するジョガーフェンス9の距離により、拘束力を調節することも可能である。
以上の一連の動作をラストジョブまで繰り返し行う。
【0013】
図7は排紙トレイ上下機構を示す透視斜視図である。
排紙トレイ12は、図7に示すように、上下リフトベルト48により吊るされている。上下リフトベルト48は、ギヤ列及びタイミングベルトを介して上下モータ51により駆動され、上下モータ51の正転または逆転により上昇または下降する。
排紙トレイ12のホームポジション及び移動時の高さは、上下方向に回動可能な紙面レバー13と紙面センサ32,33により検出され、また、排紙トレイ12上が用紙で満杯になると、下限センサ34によりこれが検出される。さらに、排紙トレイ12の上昇時に、寄せローラ7が排紙トレイ12により押し上げられると、上限スイッチ31がオフになり、上下モータ51が回転を停止することにより、排紙トレイ12のオーバランによる破損を防止している。
【0014】
図8は手前綴じモード時のステープル装置と後端フェンスの位置を示す斜視図、図9は奥綴じモード時のステープル装置と後端フェンスの位置を示す斜視図、図10は奥斜め綴じモード時のステープル装置と後端フェンスの位置を示す斜視図である。
手前側の後端フェンス19−1と奥側の後端フェンス19−2には、それぞれストッパ部19aと、ステープル装置11に対して用紙後端部を露出してステープルに供するための切り欠き窓19b,19cが形成されている(切り欠き窓19b,19cのそれぞれの両端がストッパ部19aになっている)。
手前綴じモード時は、図8に示すように、ステープル装置11、手前側後端フェンス19−1は共に、用紙面に対して左端部に位置する。
また、奥綴じモード時は、図9に示すように、ステープル装置11は右端部に位置する。そして手前側後端フェンス19−1は中央寄りに移動し、奥側後端フェンス19−2は右端部(図8より右側の位置)に移動する。
また、奥斜め綴じモード時は、図10に示すように、図9と同じ位置にステープル装置11及び両後端フェンス19−1,19−2が置かれる。但し、ステープル装置11は斜めになる。
このように、ステープル装置11が約45度傾斜するためには、奥側の後端フェンス19−2の切り欠き窓19cがそのような形状になっていなければならない。即ち、斜めの後端フェンス19−2と干渉しない切り欠き窓19cの形状になっていなければならない。
【0015】
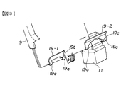
図11は奥側の後端フェンスの斜視図である。
図11に示すように、奥側の後端フェンス19−2は、用紙面に対して左右非対称となっており、ステープラ装置11が斜めになってもこれと干渉しない形状となっている。もちろん、奥側の後端フェンス19−2の切り欠き窓19cの形状は、手前側の後端フェンス19−1の切り欠き窓19bの形状とも異なっている。
ステープルトレイ21には、種々のサイズの用紙が収容され、それぞれ後端フェンス19−1,19−2にその後端が規制され、揃えられる。より具体的には、用紙は後端フェンス19−1,19−2のストッパ部19aに突き当てられる。
そこで、如何なるサイズの用紙でも最低2個所でストッパ部19aと当接するようにしておけば、図14に示すような斜め状態での綴じ、即ち、綴じ不良が発生することはない。
【0016】
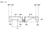
本実施の形態では、図12に示すように、ホームポジション状態の後端フェンス19−1,19−2において、それぞれ外側のストッパ部19a,19aは、A4T(A4縦送り)とB4T(B4縦送り)の用紙端面の略中央に位置している。
【0017】
この状態で両綴じを行う場合、図13のような位置にステープル装置11が移動待機し、その動作に合わせて手前側後端フェンス19−1も移動する。図12及び図13において後端フェンス19−1のストッパ部19aはいずれもA4Tには接触せず、B4Tの紙に対しては十分なストッパとして機能を発揮している。
つまり、用紙が後端フェンス19に積載される際、横レジストのばらつきによって紙端面が後端フェンス19−1から外れて斜めにスタックされないようになっている。そのような状態にするには、後端フェンス19−1のストッパ部19aはA4TとB4Tの紙端面の略中央部に装備していなければならない。
【0018】
このような前記実施の形態にあっては、画像形成装置から排出された用紙を収納してスタックするステープルトレイと、ステープルトレイにスタックされた用紙端部を受けて揃える後端フェンスと、後端フェンスによって揃えられた用紙端部にステープル綴じするステープル装置11とを備えた用紙後処理装置において、後端フェンスをステープルトレイの下端方向に沿って手前側と奥側に複数個配設し、手前側の後端フェンス19−1と奥側の後端フェンス19−2とは用紙の搬送方向中心に対して非対称に形成したため、綴じモードとして手前綴じ、奥綴じ、両綴じに加え、奥斜め綴じを実現すると共に、綴じ精度不良を回避することができる。
また、前記実施の形態にあっては、後端フェンスには、ステープル装置11に対して用紙を露出させるための切り欠き窓19cと、用紙端部を受けて揃えるストッパ部を設け、奥側の後端フェンス19−2の切り欠き窓19cから、ステープル装置11による奥斜め綴じを行なえるようにしたため、また、奥側の後端フェンス19−2に形成された切り欠き窓19cは、奥斜め綴じ状態のステープル装置11を受け入れる形状に形成したため、奥側後端フェンス19−2の切り欠き窓19cを、斜め状態のステープル装置11と干渉しない形状としたので、綴じモードとして手前綴じ、奥綴じ、両綴じに加え、奥斜め綴じを実現すると共に、綴じ精度不良を回避することができる。
【0019】
また、前記実施の形態にあっては、後端フェンスの外側端部側のストッパ部19aを、ステープルトレイにスタックされた大サイズ用紙端面と大サイズより小さいサイズ用紙端面の中央部付近に設定したため、また、大サイズ用紙は縦送りB4サイズ用紙であって、小さいサイズ用紙は縦送りA4サイズ用紙であるため、全ての綴じモードにおいて、搬送紙幅で例えばB4T以上の紙は3箇所の後端フェンスのストッパ部19aに、A4T以下の紙は2箇所の後端フェンスのストッパ部19aに積載され、また、後端フェンスのストッパ部19aを両サイズの端面の中央部付近に設定したので、紙の横レジストのバラツキにかかわらず確実にストッパ部19aにストックされ、ステープルトレイにおいて良好な揃え状態を確保し、綴じ精度不良等の問題を回避できて綴じ精度を向上させることができる。
【0020】
【発明の効果】
本発明によれば、後端フェンスの外側端部側のストッパ部のホームポジション位置を、ステープルトレイにスタックされる用紙のうち、縦送りB4サイズ用紙端面と、縦送りA4サイズ用紙端面との間に設定したので、搬送紙幅でB4サイズの紙は4箇所の後端フェンスのストッパ部に、A4サイズの紙は2箇所の後端フェンスのストッパ部に積載されて、紙の横レジストのバラツキにかかわらず確実にストッパ部にストックされ、ステープルトレイにおいて良好な揃え状態を確保し、綴じ精度不良等の問題を回避できて綴じ精度を向上させることができる。
【図面の簡単な説明】
【図1】本発明の実施の形態に係る用紙後処理装置全体の構成図である。
【図2】ジョガーフェンスと戻しローラの駆動機構を示す斜視図である。
【図3】後端フェンス部近傍の拡大構成図である。
【図4】ステープル装置を中心とした斜視図である。
【図5】綴じ後の用紙束を放出ベルトにより放出する様子を示す透視斜視図である。
【図6】本発明の実施の形態に係る用紙後処理装置の電装系のブロック図である。
【図7】排紙トレイ上下機構を示す透視斜視図である。
【図8】手前綴じモード時のステープル装置と後端フェンスの位置を示す斜視図である。
【図9】奥綴じモード時のステープル装置と後端フェンスの位置を示す斜視図である。
【図10】奥斜め綴じモード時のステープル装置と後端フェンスの位置を示す斜視図である。
【図11】奥側の後端フェンスの斜視図である。
【図12】ホームポジション状態のステープル装置と後端フェンスの正面図である。
【図13】手前を綴じる位置におけるステープル装置と後端フェンスの正面図である。
【図14】用紙が斜めで綴じられる様子を示す正面図である。
【符号の説明】
11 ステープル装置
19−1 手前側後端フェンス
19−2 奥側後端フェンス
19a ストッパ部
19b 切り欠き窓
19c 切り欠き窓

Claims (2)

  1. 搬送されてくる用紙を収納してスタックするステープルトレイと、前記ステープルトレイにスタックされた用紙端部を受けて揃える後端フェンスと、前記後端フェンスによって揃えられた用紙端部にステープル綴じするステープル手段とを備えた用紙後処理装置において、
    前記後端フェンスを前記ステープルトレイの下端方向に沿って手前側と奥側に複数個配設するとともに、当該後端フェンスを前記下端方向に沿って移動可能とし、
    前記後端フェンスには、前記ステープル手段に対して用紙を露出させるための切り欠き窓と、用紙端部を受けて揃えるストッパ部を設け、前記奥側の後端フェンスの切り欠き窓から、前記ステープル手段による奥斜め綴じを行なえるようにし、
    前記後端フェンスの外側端部側のストッパ部のホームポジション位置を、前記ステープルトレイにスタックされる用紙のうち、縦送りB4サイズ用紙端面と、縦送りA4サイズ用紙端面との間に設定したことを特徴とする用紙後処理装置。
  2. 請求項1に記載の用紙後処理装置を備えたことを特徴とする画像形成装置。
JP15112797A 1997-06-09 1997-06-09 用紙後処理装置および画像形成装置 Expired - Lifetime JP3655431B2 (ja)

Priority Applications (1)

Application Number Priority Date Filing Date Title
JP15112797A JP3655431B2 (ja) 1997-06-09 1997-06-09 用紙後処理装置および画像形成装置

Applications Claiming Priority (1)

Application Number Priority Date Filing Date Title
JP15112797A JP3655431B2 (ja) 1997-06-09 1997-06-09 用紙後処理装置および画像形成装置

Publications (2)

Publication Number Publication Date
JPH10338412A JPH10338412A (ja) 1998-12-22
JP3655431B2 true JP3655431B2 (ja) 2005-06-02

Family

ID=15511962

Family Applications (1)

Application Number Title Priority Date Filing Date
JP15112797A Expired - Lifetime JP3655431B2 (ja) 1997-06-09 1997-06-09 用紙後処理装置および画像形成装置

Country Status (1)

Country Link
JP (1) JP3655431B2 (ja)

Families Citing this family (1)

* Cited by examiner, † Cited by third party
Publication number Priority date Publication date Assignee Title
JP4823646B2 (ja) 2005-10-31 2011-11-24 京セラミタ株式会社 用紙後処理装置

Also Published As

Publication number Publication date
JPH10338412A (ja) 1998-12-22

Similar Documents

Publication Publication Date Title
JP3466376B2 (ja) 用紙後処理装置
JP4047520B2 (ja) 用紙処理装置および画像形成装置
JP3621565B2 (ja) シート整合装置および画像形成装置
JP3655478B2 (ja) 用紙後処理装置および画像形成装置
JPH11165935A (ja) 排紙トレイおよび用紙後処理装置
JP3655407B2 (ja) 用紙後処理装置
JP3399667B2 (ja) 用紙後処理装置
JP3655431B2 (ja) 用紙後処理装置および画像形成装置
JP3898367B2 (ja) 用紙後処理装置
JP3592869B2 (ja) 後処理装置
JP3655428B2 (ja) 用紙後処理装置および画像形成装置
JP3614274B2 (ja) 用紙後処理装置および画像形成装置
JP3732598B2 (ja) 後処理装置
JP3939876B2 (ja) 用紙処理装置
JPH11165938A (ja) 用紙積載装置
JP3217200B2 (ja) 用紙整合装置
JP3850590B2 (ja) 用紙排出装置および画像形成装置
JP3617926B2 (ja) 用紙後処理装置及び画像形成装置
JP4184639B2 (ja) 用紙処理装置
JP3585350B2 (ja) シート後処理装置
JP3441897B2 (ja) 用紙後処理装置
JP3619684B2 (ja) シート処理装置および画像形成装置
JPH1111774A (ja) シート積載装置
JPH11208971A (ja) 用紙後処理装置
JP4734099B2 (ja) シート処理装置及び画像形成装置

Legal Events

Date Code Title Description
A977 Report on retrieval

Free format text: JAPANESE INTERMEDIATE CODE: A971007

Effective date: 20040728

A131 Notification of reasons for refusal

Free format text: JAPANESE INTERMEDIATE CODE: A131

Effective date: 20040803

A521 Written amendment

Free format text: JAPANESE INTERMEDIATE CODE: A523

Effective date: 20041001

TRDD Decision of grant or rejection written
A01 Written decision to grant a patent or to grant a registration (utility model)

Free format text: JAPANESE INTERMEDIATE CODE: A01

Effective date: 20050222

A61 First payment of annual fees (during grant procedure)

Free format text: JAPANESE INTERMEDIATE CODE: A61

Effective date: 20050303

FPAY Renewal fee payment (event date is renewal date of database)

Free format text: PAYMENT UNTIL: 20090311

Year of fee payment: 4

FPAY Renewal fee payment (event date is renewal date of database)

Free format text: PAYMENT UNTIL: 20100311

Year of fee payment: 5

FPAY Renewal fee payment (event date is renewal date of database)

Free format text: PAYMENT UNTIL: 20110311

Year of fee payment: 6

FPAY Renewal fee payment (event date is renewal date of database)

Free format text: PAYMENT UNTIL: 20120311

Year of fee payment: 7

FPAY Renewal fee payment (event date is renewal date of database)

Free format text: PAYMENT UNTIL: 20130311

Year of fee payment: 8

FPAY Renewal fee payment (event date is renewal date of database)

Free format text: PAYMENT UNTIL: 20140311

Year of fee payment: 9

EXPY Cancellation because of completion of term