JP3625525B2 - フラットケーブルの端末部形成方法 - Google Patents

フラットケーブルの端末部形成方法 Download PDF

Info

Publication number
JP3625525B2
JP3625525B2 JP14317595A JP14317595A JP3625525B2 JP 3625525 B2 JP3625525 B2 JP 3625525B2 JP 14317595 A JP14317595 A JP 14317595A JP 14317595 A JP14317595 A JP 14317595A JP 3625525 B2 JP3625525 B2 JP 3625525B2
Authority
JP
Japan
Prior art keywords
conductor
flat cable
cut
longitudinal direction
exposed portion
Prior art date
Legal status (The legal status is an assumption and is not a legal conclusion. Google has not performed a legal analysis and makes no representation as to the accuracy of the status listed.)
Expired - Lifetime
Application number
JP14317595A
Other languages
English (en)
Other versions
JPH08339846A (ja
Inventor
昌宏 柴田
Current Assignee (The listed assignees may be inaccurate. Google has not performed a legal analysis and makes no representation or warranty as to the accuracy of the list.)
Furukawa Electric Co Ltd
Original Assignee
Furukawa Electric Co Ltd
Priority date (The priority date is an assumption and is not a legal conclusion. Google has not performed a legal analysis and makes no representation as to the accuracy of the date listed.)
Filing date
Publication date
Application filed by Furukawa Electric Co Ltd filed Critical Furukawa Electric Co Ltd
Priority to JP14317595A priority Critical patent/JP3625525B2/ja
Publication of JPH08339846A publication Critical patent/JPH08339846A/ja
Application granted granted Critical
Publication of JP3625525B2 publication Critical patent/JP3625525B2/ja
Anticipated expiration legal-status Critical
Expired - Lifetime legal-status Critical Current

Links

Images

Landscapes

  • Multi-Conductor Connections (AREA)
  • Coupling Device And Connection With Printed Circuit (AREA)

Description

【0001】
【産業上の利用分野】
本発明は、フラットケーブルの端末部形成方法に関するものである。
【0002】
【従来の技術】
従来、フラットケーブルの導体の端末部と撚り電線等の導体の端末部の接続は、互いに柔らかい素材の端末部であり、互いに直接接続するには不安定要素を多分に含んでいるため、次に例示するような比較的固い中継導電材を介して接続していた。
【0003】
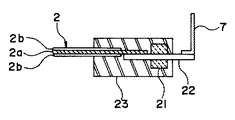
例えば、図3は、フラットケーブル2と撚り電線4とを中継導電材22を介して接続する場合であり、アルミや銅等の導電性の板で形成された中継導電材22の一端に、フラットケーブル2の端末部の絶縁被覆材2bを剥離加工して露出した導体2aを接続し、また中継導電材22の他端に、撚り電線4の絶縁被覆材4bを剥離加工して露出した導体4aを接続したものである。
フラットケーブル2の導体2aや撚り電線4の導体4aは通常複数であるので、中継導電材22も複数個並列に並べられて絶縁樹脂で形成された連結部材21によって、一体に固定されている。
【0004】
また、この接続箇所全体を不慮の外力等から保護するために樹脂ケースや樹脂モールド等の保護部材23で覆っている。
【0005】
図4は、図3に示した撚り電線4に代えて、L字型の端子7を使用した場合であり、L字型の端子7は、中継導電材22の他端に溶接や圧着等で接続されている。なお、図4において、図3と同一部分には同一符号を付して説明を省略する。
【0006】
【発明が解決しようとする課題】
しかしながら、上記のように中継導電材を使用してフラットケーブルと撚り電線等を接続すると、中継導電材という接続部品が必要となり、直接的な接続に比べて部品点数および接続に伴う加工工数が増えるため、部品費や加工費が嵩み、製品のコスト高につながるという問題があった。
【0007】
【発明の目的】
本発明は、かかる点に鑑みてなされたものであり、部品点数を削減し、より生産効率を向上させた安価なフラットケーブルの端末部形成方法を提供することを目的としている。
【0008】
【課題を解決するための手段】
請求項1に係る発明は、フラットケーブルの長手方向に導体露出部を設け、次に該導体露出部の導体に、導体露出部の長手方向のほぼ中央部でフラットケーブルを切断した際に該切断した導体露出部の導体にそれぞれ他の導体が接続されているように他の導体を接続し、しかる後、導体露出部の長手方向のほぼ中央部でフラットケーブルを切断することを特徴とするフラットケーブルの端末部形成方法である。
【0009】
また請求項2に係る発明は、フラットケーブルの長手方向に導体露出部を設け、次に該導体露出部の一面側に補強板を取付け、次に導体露出部の導体に、導体露出部の長手方向のほぼ中央部でフラットケーブルを切断した際に該切断した導体露出部の導体にそれぞれ他の導体が接続されているように他の導体を接続し、しかる後、導体露出部の長手方向のほぼ中央部でフラットケーブルを切断することを特徴とするフラットケーブルの端末部形成方法である。
【0010】
【作用】
請求項1のように、フラットケーブルの長手方向に導体露出部を設け、次に該導体露出部の導体に、導体露出部の長手方向のほぼ中央部でフラットケーブルを切断した際に該切断された導体露出部の導体にそれぞれ他の導体が接続されているように他の導体を接続すると、導体露出部の長手方向のほぼ中央部でフラットケーブルを切断した際には、2個のフラットケーブルの端末部を同時に得ることができる。
【0011】
また、請求項2のように、フラットケーブルの長手方向に導体露出部を設け、次に該導体露出部の一面側に補強板を取付けると、フラットケーブルの導体露出部の強度が向上するために該導体に直接他の導体を接続する作業が容易となる。また、前記導体露出部の導体に、導体露出部の長手方向のほぼ中央部でフラットケーブルを切断した際に該切断された導体露出部の導体にそれぞれ他の導体が接続されているように他の導体を接続すると、導体露出部の長手方向のほぼ中央部でフラットケーブルを切断した際には、2個のフラットケーブルの端末部を同時に得ることができる。
【0012】
【実施例】
以下に本発明を実施例により詳細に説明する。
(実施例1)
図1は本発明の一実施例を示すもので、(a)は縦断面図、(b)は(a)を切り離した状態の縦断面図である。
本発明のフラットケーブルの端末部形成方法においては、まず、フラットケーブル2の長手方向の所定位置において、絶縁被覆材2bを剥離して導体2aを露出し、導体露出部1を設ける。実施例いおいては、導体2aの両面の絶縁被覆材2bを剥離して導体露出部1を設けている。
【0013】
次に、該露出した導体2aの上面側に、撚り電線4を接続する。すなわち撚り電線4はその絶縁被覆材4bを剥離して導体4aを露出し、該露出した導体4aをフラットケーブル2の導体2aに半田等で接続することにより両者を接続する。実施例においては、撚り電線4は、2本使用されており、それぞれがフラットケーブル2の長手方向に沿って配置されている。該フラットケーブル2の長手方向に沿って配置された2本の撚り電線4はその導体4aがフラットケーブル2の導体2aの両側にそれぞれ接続されている。撚り電線4の導体4aをフラットケーブル2の導体2aに接続する位置は、導体露出部1の長手方向のほぼ中央部でフラットケーブルを切断した際に該切断した導体露出部1の導体にそれぞれ他の導体が接続されているような位置である。
【0014】
最後に、フラットケーブル2の導体露出部1の長手方向のほぼ中央部すなわち、A−A線部でフラットケーブル2を切断する。これによって、図1(b)に示すようなフラットケーブルの端末部を2個同時に得ることができる。
【0015】
なお、フラットケーブルの導体を露出する際には、一面側の絶縁被覆材のみを剥離し、他方側の絶縁被覆材は残しておいてもよい。このように構成すると、導体露出部の導体の強度を向上させることができるので、該位置に他の導体を接続する作業が容易になる。
また、A−A線部でフラットケーブル2を切断する際には、切断部分に沿え板(図示せず)を配置し、該沿え板と共にフラットケーブルを切断するようにすると、切断が容易となる。
更に、フラットケーブルの導体と撚り電線の導体とを接続する際には、撚り電線がフラットケーブル上を動かないように、撚り電線を接着材等でフラットケーブルに固定しておくことが好ましい。
更に、フラットケーブル2の導体2aに接続する他の導体は撚り電線でなく端子であってもよい。
更に、実施例においては、フラットケーブルの導体と撚り電線の導体の接続部を1箇所示してあるが、このような接続部は通常並列して複数箇所存在しているものである。
【0016】
(実施例2)
図2は本発明の他の実施例を示すもので、(a)平面図、(b)は側面図、(c)は端子を接続した状態の側面図である。
本発明においては、まず図2(a)(b)に示すように、フラットケーブル2の長手方向の所定位置において、絶縁被覆材2bを剥離して導体2aを露出し、導体露出部1を設ける。実施例においては片面側のみの絶縁被覆材2bを剥離して導体露出部1を設けてある。
【0017】
次に、該導体露出部1の一面側に補強板10を取付ける。この補強板10は導体露出部1の絶縁被覆材2bを剥離してない側の絶縁被覆材2b上に設けてある。
【0018】
次に導体2aにそれぞれL字型の端子7を接続する。L字型の端子7をフラットケーブル2の導体2aに接続する位置は、導体露出部1の長手方向のほぼ中央部でフラットケーブル2を切断した際、該切断した導体露出部1の導体にそれぞれL字型の端子が接続されるような位置である。
最後に、フラットケーブル2の導体露出部1の長手方向のほぼ中央部でフラットケーブル2を切断する。これによって、L字型の端子7が付いたフラットケーブルの端末部を2個の同時に得ることができる。
【0019】
なお、L字型の端子7を導体2aに接続する前に、図2(b)に示すように導体2aを所定長L切断しておいてもよい。このように導体2aを所定長L切断しておくと、導体露出部1の強度が若干落ちるが、補強板10があることから、L字型の端子7の接続に問題はなく、またフラットケーブル2の導体露出部1の長手方向のほぼ中央部でフラットケーブル2を切断した際に、フラットケーブル2の導体2aが端子7の端部から長く露出しなくなるという利点がある。
また、端子の形状はL字型に限られるものではなく、例えば雌型の端子であってもよい。
更に、端子に代えて撚り電線を使用してもよい。
更に、フラットケーブル2の絶縁被覆材2bは導体2aの両側を剥離してもよい。
更に、フラットケーブルを切断する際には、切断部分に沿え板を配置し、該沿え板と共にフラットケーブルを切断するようにしてもよい点は前記実施例を同様である。
【0020】
【発明の効果】
以上、説明した如く、請求項1の発明であるフラットケーブルの端末部形成方法によれば、従来必要であった中継導電材を介さずにフラットケーブルの導体端末と他の導体を容易に接続することができるため、部品点数が削減できるとともに、一度に2個の端末部を得ることができるから、生産効率が向上し、より安価なフラットケーブルの端末部を得ることができる。
また、請求項2の発明であるフラットケーブルの端末部形成方法によれば、前述した請求項1の発明の効果に加え、フラットケーブルの導体露出部の強度が向上するために該導体に直接他の導体を接続する作業が容易となる。
【図面の簡単な説明】
【図1】図1は本発明の一実施例を示すもので、(a)は縦断面図、(b)は(a)を切り離した状態の縦断面図である。
【図2】図2は本発明の他の実施例を示すもので、(a)は平面図、(b)は側面図、(c)は端子を接続した状態の側面図である。
【図3】従来の接続構造の一実施例を示す説明図である。
【図4】従来の接続構造の他の実施例を示す説明図である。
【符号の説明】
1 導体露出部
2 フラットケーブル
2a 導体
2b 絶縁被覆材
4a 他の導体
7 L字型の端子
10 補強板

Claims (2)

  1. フラットケーブルの長手方向に導体露出部を設け、次に該導体露出部の導体に、導体露出部の長手方向のほぼ中央部でフラットケーブルを切断した際に該切断した導体露出部の導体にそれぞれ他の導体が接続されているように他の導体を接続し、しかる後、導体露出部の長手方向のほぼ中央部でフラットケーブルを切断することを特徴とするフラットケーブルの端末部形成方法。
  2. フラットケーブルの長手方向に導体露出部を設け、次に該導体露出部の一面側に補強板を取付け、次に導体露出部の導体に、導体露出部の長手方向のほぼ中央部でフラットケーブルを切断した際に該切断した導体露出部の導体にそれぞれ他の導体が接続されているように他の導体を接続し、しかる後、導体露出部の長手方向のほぼ中央部でフラットケーブルを切断することを特徴とするフラットケーブルの端末部形成方法。
JP14317595A 1995-06-09 1995-06-09 フラットケーブルの端末部形成方法 Expired - Lifetime JP3625525B2 (ja)

Priority Applications (1)

Application Number Priority Date Filing Date Title
JP14317595A JP3625525B2 (ja) 1995-06-09 1995-06-09 フラットケーブルの端末部形成方法

Applications Claiming Priority (1)

Application Number Priority Date Filing Date Title
JP14317595A JP3625525B2 (ja) 1995-06-09 1995-06-09 フラットケーブルの端末部形成方法

Publications (2)

Publication Number Publication Date
JPH08339846A JPH08339846A (ja) 1996-12-24
JP3625525B2 true JP3625525B2 (ja) 2005-03-02

Family

ID=15332661

Family Applications (1)

Application Number Title Priority Date Filing Date
JP14317595A Expired - Lifetime JP3625525B2 (ja) 1995-06-09 1995-06-09 フラットケーブルの端末部形成方法

Country Status (1)

Country Link
JP (1) JP3625525B2 (ja)

Families Citing this family (1)

* Cited by examiner, † Cited by third party
Publication number Priority date Publication date Assignee Title
JP3803897B2 (ja) * 1998-05-06 2006-08-02 アルプス電気株式会社 回転コネクタの製造方法

Also Published As

Publication number Publication date
JPH08339846A (ja) 1996-12-24

Similar Documents

Publication Publication Date Title
EP0894347B1 (en) A shielded cable and connector assembly
US6083034A (en) Connecting structure for coaxial cable connector and method for connecting the same
JPH03236112A (ja) 平型多芯電線とその成形方法
JPH11250956A (ja) 被覆電線の接続構造
EP0614247B1 (en) Electric wire joining method
US4799899A (en) Connective structure for conductive wires and a method of manufacturing the same
JP3011041B2 (ja) 平型多心電線
JP3625525B2 (ja) フラットケーブルの端末部形成方法
JP3259219B2 (ja) 信号用ケーブル装置
JP2003045241A (ja) シールドフラット電線及びその製造方法
JPH0815099B2 (ja) 平形ケーブルの捻回接続法
JP3039281B2 (ja) シールド付きワイヤーハーネス
JPH034464A (ja) フラットケーブルコネクタ
JP2005317473A (ja) 圧接アース端子及びそれを用いたワイヤーハーネス
JP2000152465A (ja) 電線の接続構造
JP2012028111A (ja) 端子及び端子のコネクタ装着方法
JPH05190247A (ja) 絶縁電線の接続方法
JPH0737437A (ja) 圧接シールド線
JP3049472B2 (ja) ケーブル線路
JPH069063U (ja) 電気接続箱内導電体の接続構造
JPH01195608A (ja) シールド付フラットケーブル並びにシールド付フラットケーブル用フラットケーブル及びその製造方法
JPH0311764Y2 (ja)
JP2000323201A (ja) シールド線端末部の防水構造
JPH09115572A (ja) ワイヤーハーネス用分岐接続箱の配線構造
JPS5919346Y2 (ja) 端子金具と電線との分岐接続部

Legal Events

Date Code Title Description
A977 Report on retrieval

Free format text: JAPANESE INTERMEDIATE CODE: A971007

Effective date: 20040816

A131 Notification of reasons for refusal

Free format text: JAPANESE INTERMEDIATE CODE: A131

Effective date: 20040827

A521 Written amendment

Free format text: JAPANESE INTERMEDIATE CODE: A523

Effective date: 20041013

TRDD Decision of grant or rejection written
A01 Written decision to grant a patent or to grant a registration (utility model)

Free format text: JAPANESE INTERMEDIATE CODE: A01

Effective date: 20041116

A61 First payment of annual fees (during grant procedure)

Free format text: JAPANESE INTERMEDIATE CODE: A61

Effective date: 20041130

FPAY Renewal fee payment (event date is renewal date of database)

Free format text: PAYMENT UNTIL: 20071210

Year of fee payment: 3

FPAY Renewal fee payment (event date is renewal date of database)

Free format text: PAYMENT UNTIL: 20081210

Year of fee payment: 4

FPAY Renewal fee payment (event date is renewal date of database)

Free format text: PAYMENT UNTIL: 20081210

Year of fee payment: 4

FPAY Renewal fee payment (event date is renewal date of database)

Free format text: PAYMENT UNTIL: 20091210

Year of fee payment: 5

FPAY Renewal fee payment (event date is renewal date of database)

Free format text: PAYMENT UNTIL: 20101210

Year of fee payment: 6

FPAY Renewal fee payment (event date is renewal date of database)

Free format text: PAYMENT UNTIL: 20101210

Year of fee payment: 6

FPAY Renewal fee payment (event date is renewal date of database)

Free format text: PAYMENT UNTIL: 20111210

Year of fee payment: 7

FPAY Renewal fee payment (event date is renewal date of database)

Free format text: PAYMENT UNTIL: 20111210

Year of fee payment: 7

FPAY Renewal fee payment (event date is renewal date of database)

Free format text: PAYMENT UNTIL: 20121210

Year of fee payment: 8

FPAY Renewal fee payment (event date is renewal date of database)

Free format text: PAYMENT UNTIL: 20121210

Year of fee payment: 8

FPAY Renewal fee payment (event date is renewal date of database)

Free format text: PAYMENT UNTIL: 20131210

Year of fee payment: 9

EXPY Cancellation because of completion of term