JP3607067B2 - フレキシブルコンテナバッグ解袋装置 - Google Patents
フレキシブルコンテナバッグ解袋装置 Download PDFInfo
- Publication number
- JP3607067B2 JP3607067B2 JP02659498A JP2659498A JP3607067B2 JP 3607067 B2 JP3607067 B2 JP 3607067B2 JP 02659498 A JP02659498 A JP 02659498A JP 2659498 A JP2659498 A JP 2659498A JP 3607067 B2 JP3607067 B2 JP 3607067B2
- Authority
- JP
- Japan
- Prior art keywords
- cutting device
- bag
- cutter
- flexible container
- knife
- Prior art date
- Legal status (The legal status is an assumption and is not a legal conclusion. Google has not performed a legal analysis and makes no representation as to the accuracy of the status listed.)
- Expired - Fee Related
Links
- 239000000843 powder Substances 0.000 claims description 48
- 239000000428 dust Substances 0.000 claims description 30
- 238000005192 partition Methods 0.000 claims description 13
- 230000000630 rising effect Effects 0.000 claims description 7
- 230000002093 peripheral effect Effects 0.000 claims description 2
- 238000010586 diagram Methods 0.000 description 3
- 230000005484 gravity Effects 0.000 description 3
- 238000012423 maintenance Methods 0.000 description 3
- 238000000034 method Methods 0.000 description 3
- 230000000694 effects Effects 0.000 description 2
- 239000000463 material Substances 0.000 description 2
- 238000007599 discharging Methods 0.000 description 1
- 230000007613 environmental effect Effects 0.000 description 1
- 239000004744 fabric Substances 0.000 description 1
- 238000009434 installation Methods 0.000 description 1
- 239000002245 particle Substances 0.000 description 1
- 230000002265 prevention Effects 0.000 description 1
- 238000004062 sedimentation Methods 0.000 description 1
- 239000002689 soil Substances 0.000 description 1
- 238000006467 substitution reaction Methods 0.000 description 1
- 230000001629 suppression Effects 0.000 description 1
- 239000000725 suspension Substances 0.000 description 1
Images
Landscapes
- Control And Other Processes For Unpacking Of Materials (AREA)
Description
【0001】
【発明の属する技術分野】
本発明は、工業、農業、食品などの産業で扱われる粉体物のフレキシブルコンテナバッグ(「以下、フレコンバッグと称する」)を開封する際に発生する粉塵を動力なしで抑制することのできるフレキシブルコンテナバッグ解袋装置に関するものである。
【0002】
【従来の技術】
従来、この種のものにあっては、下記のようなものになっている。
1.粉体バッグなどを開袋する場合、従来はクレーンで吊荷状態のバッグを作業者がカッターで開封し、粉体を直接土間やホッパーに落下させていた。
2.上記の環境対策および省力化対策として、「フレキシブルコンテナバッグ開袋機」(特開平6−329135)があるが、
A.ケーシング内をブロワ吸引により負圧にして集塵する、
B.ケーシング内部に突針と傾斜ナイフを設け、粉体バッグを落下させてバッグを開封するよう構成されている。
【0003】
【発明が解決しようとする課題】
従来の技術で述べたものにあっては、下記のような問題点を有していた。
1.粉塵の舞い上がりによる作業環境の悪化、およびクレーンとカッターによる切断作業のため2名配置が必要であった。
2.「フレキシブルコンテナバッグ開袋機」の場合は、いずれも動力を用いるので、設備費およびランニングコストが高く、さらにメンテナンス費用がかかるなどの問題点がある。
本発明は、従来の技術の有するこのような問題点に鑑みなされたものであり、その目的とするところは、次のようなことのできるものを提供しようとするものである。
フレコンバッグなどから粉体をあける際に発生する粉塵を、動力を使わない方法で抑制する装置を提案するものである。
【0004】
【課題を解決するための手段】
上記目的を達成するために、本発明は下記のようになるものである。
1.粉体をホッパーにあける際の発塵メカニズムは、
A.粉体の落下過程で横風などに同伴される1次飛散、
B.落下粉体がホッパー内壁もしくはホッパー内堆積物表面に衝突した際に発生する2次飛散に大別される。
一般に、1次飛散は屋内であれば余り問題になることはないが、2次飛散は屋内外に関係なく発生するもので、1次飛散に比べて発生量も多いことから2次飛散をいかに抑制するかが粉体落下時における発塵防止のポイントである。
2次飛散としてホッパー外に粉塵が飛散するのは、落下粉体のホッパー内での体積置換とホッパー内堆積物表面への衝突反転流れに同伴する粉塵によるものである。
本発明は落下粉体を分配装置によりホッパー内壁側壁に導き、発生する粉塵上昇気流を中空フード内に安定して取込むことにより、粉体粒子は慣性によってガス流から離脱して、壁やバッフルに衝突して補捉される慣性および衝突集塵を利用する。
また、中空フードの上部で反転した粉塵気流は、流速分布も均一化され、粒子の自然沈降を利用した重力集塵も加わり除塵効率を高める。
2.切断(実施例1)
粉体が充填されたフレコンバッグをクレーンやホイストなどの適宜手段により吊下げ、ホッパー内にある先端高さを変えた複数のペン先状ナイフを十字に連続配置した中央刃物と外方刃物の上に下降させ、自重でフレコンバッグ底部を四方向に切断し粉体を排出する。
3.切断(実施例2)
粉体が充填されたフレコンバッグなどを中空フード上のバッグ受けに静置させる。
この時、バッグ受け下方に備えた複数のナイフがフレコンバッグの底面に突き刺さる。 その後、ナイフを水平移動させてフレコンバッグの底部を切り裂き粉体を排出する。
【0005】
より具体的には下記のようになるものである。
すなわち、請求項1記載の発明は、解袋装置ケーシング2と、中仕切りガイド板3と、粉体分配装置4と、第1種バッグ切断装置5から構成され、解袋装置ケーシング2は、ホッパー2Aと、このホッパーの上面に連設された中空フード2Bで構成され、中空フード2Bは縦筒状外壁2B1と、縦筒状外壁内の上辺に水平状態で連設された輪状の天板2B2と、天板2B2の内周に縦筒状外壁の高さ方向の略中央部に達するよう連設された縦筒状内壁2B3により当該縦筒状外壁内の上方部分に形成された空間部2B4から構成され、中仕切りガイド板3は、縦筒部3Aと縦筒部の下辺に連設されたガイド部3Bから構成され、縦筒部3Aを空間部2B4内に位置せしめることで、当該空間部2B4内に上端が連通している粉塵同伴の上昇気流の外方縦流路2B42と内方縦流路2B41が構成され、粉体分配装置4は、錐状に構成され、中空フード2Bの中央下部に位置して配設され、第1種バッグ切断装置5は、粉体分配装置4の側面における上方部分に上方に向け起立された中央刃物(5A)と、下方部分に上方に向け起立された外方刃物(5B)から構成され、これら中央刃物(5A)と外方刃物(5B)は、ペン先状ナイフの先端高さを変え平面十字に連続配置したフレキシブルコンテナバッグ解袋装置である。
【0006】
請求項2記載の発明は、請求項1記載の発明において、第1種バッグ切断装置5の中央刃物5Aが、ペン先状ナイフ5A1を粉体分配装置の頂点を中心として平面十字に連続配置して構成され、外方刃物5Bは、ペン先状ナイフ5B1が中央刃物5Aにおけるペン先状ナイフ5A1の外方辺に連設され、中央刃物5Aは外方刃物5Bより高く構成されていることを特徴とするものである。
請求項3記載の発明は、請求項1記載の発明において、第1種バッグ切断装置5に代えて、第2種バッグ切断装置6を備え、第2種バッグ切断装置6は、解袋装置ケーシング2の中空フード2B内に粉体分配装置4の上部に前後左右の梁体を平面十字に連結した梁6Aと、梁6Aの上面における中央に上方に向け起立された中央刃物6Bと、梁6Aの上面において中央刃物6Bに隣接して上方に向け起立された外方刃物6Cから構成され、これら中央刃物6Bと外方刃物6Cは、ペン先状ナイフの先端高さを変え平面十字に連続配置されていることを特徴とするものである。
請求項4記載の発明は、請求項3記載の発明において、第2種バッグ切断装置6の中央刃物6Bは、ペン先状ナイフ6B1を粉体分配装置の頂点を中心として平面十字に連続配置して構成され、外方刃物6Cは、ペン先状ナイフ6C1が中央刃物6Bにおけるペン先状ナイフ6B1の外方辺に連設され、中央刃物6Bは外方刃物6Cより高く構成されていることを特徴とするものである。
請求項5記載の発明は、請求項1記載の発明において、第1種バッグ切断装置5に代えて、第3種バッグ切断装置7を備え、第3種バッグ切断装置7は、解袋装置ケーシング2における中空フード2Bの上面にあって、フレコンバッグの底面中心付近から外周方向へ移動する複数のナイフからなることを特徴とするものである。
請求項6記載の発明は、請求項5記載の発明において、第3種バッグ切断装置7は、バッグ切断装置部7Aとバッグ受け7Bから構成され、バッグ切断装置部7Aは、解袋装置ケーシング2における中空フード2Bの上面に連設された上方縦筒部7A1と、上方縦筒部内に平面十字に掛架された前後左右のレール7A2と、前後左右のレールに沿って中心から外方に向け移動自在に嵌着された移動枠7A3と、移動枠の上面内方端に上方に向け植設されたナイフ7A4から構成され、バッグ受け7Bは、上方縦筒部7A1の内面における所定箇所にナイフ7A4の高さより少しく低い高さをもって内方に向け突設された平面方形の小板で構成されていることを特徴とするものである。
【0007】
【発明の実施の形態】
発明の実施の形態を実施例に基づき図面を参照して説明する。
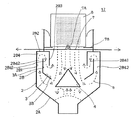
1は本発明のフレキシブルコンテナバッグ解袋装置(「以下、フレコンバッグ解袋装置と称する」)で、解袋装置ケーシング2と、中仕切りガイド板3と、粉体分配装置4と、第1種バッグ切断装置5から構成されている。
【0008】
11は他の実施例のフレコンバッグ解袋装置で、解袋装置ケーシング2と、中仕切りガイド板3と、粉体分配装置4と、第2種バッグ切断装置6から構成されている。
【0009】
12は他の実施例のフレコンバッグ解袋装置で、解袋装置ケーシング2と、中仕切りガイド板3と、粉体分配装置4と、第3種バッグ切断装置7から構成されている。
【0010】
解袋装置ケーシング2は、ホッパー2Aと、このホッパーの上面に連設された中空フード2Bで構成され、中空フード2Bは縦筒状外壁2B1と、縦筒状外壁内の上辺に水平状態で連設された輪状の天板2B2と、天板2B2の内周に縦筒状外壁の高さ方向の略中央部に達するよう連設された縦筒状内壁2B3により当該縦筒状外壁内の上方部分に形成された空間部2B4から構成されている。
【0011】
中仕切りガイド板3は、縦筒部3Aと縦筒部の下辺に連設されたガイド部3Bから構成され、縦筒部3Aを空間部2B4内に位置せしめることで、当該空間部2B4内に上端が連通している粉塵同伴の上昇気流の外方縦流路2B42と内方縦流路2B41が構成されている。
【0012】
粉体分配装置4は、錐状に構成され、中空フード2Bの中央下部に位置して配設されている。4Aは当該粉体分配装置をホッパー2Aに連結支持する連杆である。
【0013】
第1種バッグ切断装置5は、粉体分配装置4の側面における上方部分に上方に向け起立された中央刃物5Aと、下方部分に上方に向け起立された外方刃物5Bから構成され、中央刃物5Aは、ペン先状ナイフ5A1を粉体分配装置の頂点を中心として平面十字に連続配置して構成され、外方刃物5Bは、ペン先状ナイフ5B1が中央刃物5Aにおけるペン先状ナイフ5A1の外方辺に連設され、中央刃物5Aは外方刃物5Bより高く構成されている。
【0014】
第2種バッグ切断装置6は、解袋装置ケーシング2の中空フード2B内に粉体分配装置4の上部に前後左右の梁体を平面十字に連結した梁6Aと、梁6Aの上面における中央に上方に向け起立された中央刃物6Bと、梁6Aの上面において中央刃物6Bに隣接して上方に向け起立された外方刃物6Cから構成され、中央刃物6Bは、ペン先状ナイフ6B1を粉体分配装置の頂点を中心として平面十字に連続配置して構成され、外方刃物6Cは、ペン先状ナイフ6C1が中央刃物6Bにおけるペン先状ナイフ6B1の外方辺に連設され、中央刃物6Bは外方刃物6Cより高く構成されている。
【0015】
第3種バッグ切断装置7は、バッグ切断装置部7Aとバッグ受け7Bから構成されている。
バッグ切断装置部7Aは、解袋装置ケーシング2における中空フード2Bの上面に連設された上方縦筒部7A1と、上方縦筒部内に平面十字に掛架された前後左右のレール7A2と、前後左右のレールに沿って中心から外方に向け移動自在に嵌着された移動枠7A3と、移動枠の上面内方端に上方に向け植設されたナイフ7A4から構成されている。
バッグ受け7Bは、上方縦筒部7A1の内面における所定箇所にナイフ7A4の高さより少しく低い高さをもって内方に向け突設された平面方形の小板で構成されている。
なお、移動枠7A3の移動自在の構成は、下記の通りである。
上方縦筒部7A1の外周面に移動枠7A3の延長方向に延出されたフレーム7A5と、このフレーム上に配設された油圧シリンダ7A6を移動枠の外方端に連結して構成されている。
【0016】
【実施例】
1.フレコンバッグ8から排出された粉体は、粉体分配装置4の傾斜面に沿って落下し、ホッパー2Aに堆積する。
ここで、粉体分配装置4の役割は、落下粉体をホッパー全周に均一分配し、ホッパー2Aの内壁側面で発生する粉塵上昇気流9を安定させて上部の中空フード2B内に導くことである。
2.中空フード2Bは、粉塵上昇気流のバルクを取込む部屋で、粉塵が系外(大気)に直接飛散するのを抑制するものである。
中空フード2B内が中仕切りガイド板3によって、粉塵同伴の上昇気流の外方縦流路2B42と内方縦流路2B41に構成されているのは、中空フード2Bに取込まれた粉塵上昇気流から効果的に粉塵を除去するためである。
すなわち、中仕切りガイド板3と中空フード2Bの外側壁の間に導かれた粉塵気流は、中空フードの側壁や中仕切りガイド板に衝突したり、方向転換させられ、粉塵は慣性によって気流から離脱して除塵される。
また、中空フード内の上部で反転した粉塵気流は、流速分布が均一化して減速され、粉塵の重力集塵も加わり防塵性能が向上する。
【0017】
3.第1種バッグ切断装置5は、中央刃物5Aと外方刃物5Bから構成され、中央刃物5Aは、ペン先状ナイフ5A1を粉体分配装置の頂点を中心として平面十字に連続配置して構成し、外方刃物5Bは、ペン先状ナイフ5B1が中央刃物5Aにおけるペン先状ナイフ5A1の外方辺に連設され、中央刃物5Aを外方刃物5Bより高く構成したのは下記のためである。
A.ペン先状ナイフなのでフレコンバッグの底面が容易に切断できる。
すなわち、フレコンバッグの自由落下による動荷重あるいは自重により当該フレコンバッグの底面を瞬時に切断できる。
B.中央刃物5Aが外方刃物5Bより高いので、切断時の面圧を最大にできる。
C.外方刃物などを連続配置することで開袋範囲を大きくして粉体排出を容易にできる。
D.以上の結果、装置の小型化を図って据え付け占有面積を小さくでき、メンテナンスを容易にして切断、排出の所要時間を短くできる。
【0018】
第2種バッグ切断装置6は、上述した第1種バッグ切断装置5の作用と同様の作用を営むが、梁6Aの上面に直接中央刃物6Bと外方刃物6Cを支持するよう構成されているから、強度を向上させることができる。
【0019】
4.第3種バッグ切断装置7におけるバッグ切断装置部7Aは、解袋装置ケーシング2における中空フード2Bに設けた中心から外方に向け移動自在に嵌着された移動枠7A3と、移動枠の上面内方端に上方に向け植設されたナイフ7A4から構成されているので、フレコンバッグの底面中心部付近にナイフを突き刺し、水平移動させて当該フレコンバッグを切断することにより、粉体はホッパーに排出される。
A.移動する複数のナイフにより粉体の排出速度を高めると共に、フレコンバッグ内の粉体残量を最小にすることができる。
B.また、ナイフはネジ止めなどによりカートリッジタイプにすることで、刃の摩耗やバッグ材質対応の交換を容易にできる。
C.以上の結果、比較的硬い塊状物や密度の小さい粉体でも切断が可能である。
【0020】
5.図1を参照して、バッグ受け台部10について説明する。
A.中空フード2Bの上面に連設された上方縦筒部10Aと、上方縦筒部内にバッグ受け台10Bが、例えば電磁マグネット方式にて通電中は水平力を維持してフレコンバッグの重量を支えるよう配設されている。
この場合、バッグ受け台10Bは、中空フードの周方向に3個程度設置される。
B.粉体が充填されたフレコンバッグは、クレーンなどにより吊下げられ、バッグ受け台10B上に静止される。
C.クレーンの吊りワイヤーが、フレコンバッグの落下距離以上の長さに緩められる。 D.ON,OFFスイッチによりバッグ受け台10Bの電磁力が開放(OFF)され、フレコンバッグは重力落下により第1種バッグ切断装置5上に落下する。
E.クレーンが巻上げられ、フレコンバッグが第1種バッグ切断装置5上の一定距離に達したら、クレーンの巻上げ操作を一時停止してフレコンバッグ内の粉体をホッパー内に排出する。
F.以上はフレコンバッグの材質などが切断しづらいものの場合の対策例である。
例えば、フレコンバッグの底面が一重布タイプなどの切断が容易なものについては、クレーンの降下速度あるいはフレコンバッグの自重量のみで切断可能となる。
また、このような場合にはコレコンバッグを所定の位置に固定して、切断刃を上下させて切断することも可能である。
【0021】
【発明の効果】
本発明は、上述の通り構成されているので次に記載する効果を奏する。
フレコンバッグの開袋作業において、粉塵公害を発生することなくクリーンな作業環境が確保できる。
加えて、集塵ブロワなどの動力を使わないので装置の小型化が可能となり、設備の価格もランニングコストも非常に安価となる。
また、構造の簡単化でメンテナンスが容易で人手がかからず省力化も可能となる。
【図面の簡単な説明】
【図1】本発明のものの概念図である。
【図2】同上の1部を切欠いた略図的斜視図である。
【図3】他の実施例のものの概念図である。
【図4】同上の1部を切欠いた略図的斜視図である。
【図5】他の実施例のものの概念図である。
【図6】同上の1部を切欠いた略図的斜視図である。
【符号の説明】
1 フレキシブルコンテナバッグ解袋装置
2 解袋装置ケーシング
3 中仕切りガイド板
4 粉体分配装置
5 第1種バッグ切断装置
11 フレキシブルコンテナバッグ解袋装置
6 第2種バッグ切断装置
12 フレキシブルコンテナバッグ解袋装置
7 第3種バッグ切断装置
8 フレキシブルコンテナバッグ
9 粉塵上昇気流
【発明の属する技術分野】
本発明は、工業、農業、食品などの産業で扱われる粉体物のフレキシブルコンテナバッグ(「以下、フレコンバッグと称する」)を開封する際に発生する粉塵を動力なしで抑制することのできるフレキシブルコンテナバッグ解袋装置に関するものである。
【0002】
【従来の技術】
従来、この種のものにあっては、下記のようなものになっている。
1.粉体バッグなどを開袋する場合、従来はクレーンで吊荷状態のバッグを作業者がカッターで開封し、粉体を直接土間やホッパーに落下させていた。
2.上記の環境対策および省力化対策として、「フレキシブルコンテナバッグ開袋機」(特開平6−329135)があるが、
A.ケーシング内をブロワ吸引により負圧にして集塵する、
B.ケーシング内部に突針と傾斜ナイフを設け、粉体バッグを落下させてバッグを開封するよう構成されている。
【0003】
【発明が解決しようとする課題】
従来の技術で述べたものにあっては、下記のような問題点を有していた。
1.粉塵の舞い上がりによる作業環境の悪化、およびクレーンとカッターによる切断作業のため2名配置が必要であった。
2.「フレキシブルコンテナバッグ開袋機」の場合は、いずれも動力を用いるので、設備費およびランニングコストが高く、さらにメンテナンス費用がかかるなどの問題点がある。
本発明は、従来の技術の有するこのような問題点に鑑みなされたものであり、その目的とするところは、次のようなことのできるものを提供しようとするものである。
フレコンバッグなどから粉体をあける際に発生する粉塵を、動力を使わない方法で抑制する装置を提案するものである。
【0004】
【課題を解決するための手段】
上記目的を達成するために、本発明は下記のようになるものである。
1.粉体をホッパーにあける際の発塵メカニズムは、
A.粉体の落下過程で横風などに同伴される1次飛散、
B.落下粉体がホッパー内壁もしくはホッパー内堆積物表面に衝突した際に発生する2次飛散に大別される。
一般に、1次飛散は屋内であれば余り問題になることはないが、2次飛散は屋内外に関係なく発生するもので、1次飛散に比べて発生量も多いことから2次飛散をいかに抑制するかが粉体落下時における発塵防止のポイントである。
2次飛散としてホッパー外に粉塵が飛散するのは、落下粉体のホッパー内での体積置換とホッパー内堆積物表面への衝突反転流れに同伴する粉塵によるものである。
本発明は落下粉体を分配装置によりホッパー内壁側壁に導き、発生する粉塵上昇気流を中空フード内に安定して取込むことにより、粉体粒子は慣性によってガス流から離脱して、壁やバッフルに衝突して補捉される慣性および衝突集塵を利用する。
また、中空フードの上部で反転した粉塵気流は、流速分布も均一化され、粒子の自然沈降を利用した重力集塵も加わり除塵効率を高める。
2.切断(実施例1)
粉体が充填されたフレコンバッグをクレーンやホイストなどの適宜手段により吊下げ、ホッパー内にある先端高さを変えた複数のペン先状ナイフを十字に連続配置した中央刃物と外方刃物の上に下降させ、自重でフレコンバッグ底部を四方向に切断し粉体を排出する。
3.切断(実施例2)
粉体が充填されたフレコンバッグなどを中空フード上のバッグ受けに静置させる。
この時、バッグ受け下方に備えた複数のナイフがフレコンバッグの底面に突き刺さる。 その後、ナイフを水平移動させてフレコンバッグの底部を切り裂き粉体を排出する。
【0005】
より具体的には下記のようになるものである。
すなわち、請求項1記載の発明は、解袋装置ケーシング2と、中仕切りガイド板3と、粉体分配装置4と、第1種バッグ切断装置5から構成され、解袋装置ケーシング2は、ホッパー2Aと、このホッパーの上面に連設された中空フード2Bで構成され、中空フード2Bは縦筒状外壁2B1と、縦筒状外壁内の上辺に水平状態で連設された輪状の天板2B2と、天板2B2の内周に縦筒状外壁の高さ方向の略中央部に達するよう連設された縦筒状内壁2B3により当該縦筒状外壁内の上方部分に形成された空間部2B4から構成され、中仕切りガイド板3は、縦筒部3Aと縦筒部の下辺に連設されたガイド部3Bから構成され、縦筒部3Aを空間部2B4内に位置せしめることで、当該空間部2B4内に上端が連通している粉塵同伴の上昇気流の外方縦流路2B42と内方縦流路2B41が構成され、粉体分配装置4は、錐状に構成され、中空フード2Bの中央下部に位置して配設され、第1種バッグ切断装置5は、粉体分配装置4の側面における上方部分に上方に向け起立された中央刃物(5A)と、下方部分に上方に向け起立された外方刃物(5B)から構成され、これら中央刃物(5A)と外方刃物(5B)は、ペン先状ナイフの先端高さを変え平面十字に連続配置したフレキシブルコンテナバッグ解袋装置である。
【0006】
請求項2記載の発明は、請求項1記載の発明において、第1種バッグ切断装置5の中央刃物5Aが、ペン先状ナイフ5A1を粉体分配装置の頂点を中心として平面十字に連続配置して構成され、外方刃物5Bは、ペン先状ナイフ5B1が中央刃物5Aにおけるペン先状ナイフ5A1の外方辺に連設され、中央刃物5Aは外方刃物5Bより高く構成されていることを特徴とするものである。
請求項3記載の発明は、請求項1記載の発明において、第1種バッグ切断装置5に代えて、第2種バッグ切断装置6を備え、第2種バッグ切断装置6は、解袋装置ケーシング2の中空フード2B内に粉体分配装置4の上部に前後左右の梁体を平面十字に連結した梁6Aと、梁6Aの上面における中央に上方に向け起立された中央刃物6Bと、梁6Aの上面において中央刃物6Bに隣接して上方に向け起立された外方刃物6Cから構成され、これら中央刃物6Bと外方刃物6Cは、ペン先状ナイフの先端高さを変え平面十字に連続配置されていることを特徴とするものである。
請求項4記載の発明は、請求項3記載の発明において、第2種バッグ切断装置6の中央刃物6Bは、ペン先状ナイフ6B1を粉体分配装置の頂点を中心として平面十字に連続配置して構成され、外方刃物6Cは、ペン先状ナイフ6C1が中央刃物6Bにおけるペン先状ナイフ6B1の外方辺に連設され、中央刃物6Bは外方刃物6Cより高く構成されていることを特徴とするものである。
請求項5記載の発明は、請求項1記載の発明において、第1種バッグ切断装置5に代えて、第3種バッグ切断装置7を備え、第3種バッグ切断装置7は、解袋装置ケーシング2における中空フード2Bの上面にあって、フレコンバッグの底面中心付近から外周方向へ移動する複数のナイフからなることを特徴とするものである。
請求項6記載の発明は、請求項5記載の発明において、第3種バッグ切断装置7は、バッグ切断装置部7Aとバッグ受け7Bから構成され、バッグ切断装置部7Aは、解袋装置ケーシング2における中空フード2Bの上面に連設された上方縦筒部7A1と、上方縦筒部内に平面十字に掛架された前後左右のレール7A2と、前後左右のレールに沿って中心から外方に向け移動自在に嵌着された移動枠7A3と、移動枠の上面内方端に上方に向け植設されたナイフ7A4から構成され、バッグ受け7Bは、上方縦筒部7A1の内面における所定箇所にナイフ7A4の高さより少しく低い高さをもって内方に向け突設された平面方形の小板で構成されていることを特徴とするものである。
【0007】
【発明の実施の形態】
発明の実施の形態を実施例に基づき図面を参照して説明する。
1は本発明のフレキシブルコンテナバッグ解袋装置(「以下、フレコンバッグ解袋装置と称する」)で、解袋装置ケーシング2と、中仕切りガイド板3と、粉体分配装置4と、第1種バッグ切断装置5から構成されている。
【0008】
11は他の実施例のフレコンバッグ解袋装置で、解袋装置ケーシング2と、中仕切りガイド板3と、粉体分配装置4と、第2種バッグ切断装置6から構成されている。
【0009】
12は他の実施例のフレコンバッグ解袋装置で、解袋装置ケーシング2と、中仕切りガイド板3と、粉体分配装置4と、第3種バッグ切断装置7から構成されている。
【0010】
解袋装置ケーシング2は、ホッパー2Aと、このホッパーの上面に連設された中空フード2Bで構成され、中空フード2Bは縦筒状外壁2B1と、縦筒状外壁内の上辺に水平状態で連設された輪状の天板2B2と、天板2B2の内周に縦筒状外壁の高さ方向の略中央部に達するよう連設された縦筒状内壁2B3により当該縦筒状外壁内の上方部分に形成された空間部2B4から構成されている。
【0011】
中仕切りガイド板3は、縦筒部3Aと縦筒部の下辺に連設されたガイド部3Bから構成され、縦筒部3Aを空間部2B4内に位置せしめることで、当該空間部2B4内に上端が連通している粉塵同伴の上昇気流の外方縦流路2B42と内方縦流路2B41が構成されている。
【0012】
粉体分配装置4は、錐状に構成され、中空フード2Bの中央下部に位置して配設されている。4Aは当該粉体分配装置をホッパー2Aに連結支持する連杆である。
【0013】
第1種バッグ切断装置5は、粉体分配装置4の側面における上方部分に上方に向け起立された中央刃物5Aと、下方部分に上方に向け起立された外方刃物5Bから構成され、中央刃物5Aは、ペン先状ナイフ5A1を粉体分配装置の頂点を中心として平面十字に連続配置して構成され、外方刃物5Bは、ペン先状ナイフ5B1が中央刃物5Aにおけるペン先状ナイフ5A1の外方辺に連設され、中央刃物5Aは外方刃物5Bより高く構成されている。
【0014】
第2種バッグ切断装置6は、解袋装置ケーシング2の中空フード2B内に粉体分配装置4の上部に前後左右の梁体を平面十字に連結した梁6Aと、梁6Aの上面における中央に上方に向け起立された中央刃物6Bと、梁6Aの上面において中央刃物6Bに隣接して上方に向け起立された外方刃物6Cから構成され、中央刃物6Bは、ペン先状ナイフ6B1を粉体分配装置の頂点を中心として平面十字に連続配置して構成され、外方刃物6Cは、ペン先状ナイフ6C1が中央刃物6Bにおけるペン先状ナイフ6B1の外方辺に連設され、中央刃物6Bは外方刃物6Cより高く構成されている。
【0015】
第3種バッグ切断装置7は、バッグ切断装置部7Aとバッグ受け7Bから構成されている。
バッグ切断装置部7Aは、解袋装置ケーシング2における中空フード2Bの上面に連設された上方縦筒部7A1と、上方縦筒部内に平面十字に掛架された前後左右のレール7A2と、前後左右のレールに沿って中心から外方に向け移動自在に嵌着された移動枠7A3と、移動枠の上面内方端に上方に向け植設されたナイフ7A4から構成されている。
バッグ受け7Bは、上方縦筒部7A1の内面における所定箇所にナイフ7A4の高さより少しく低い高さをもって内方に向け突設された平面方形の小板で構成されている。
なお、移動枠7A3の移動自在の構成は、下記の通りである。
上方縦筒部7A1の外周面に移動枠7A3の延長方向に延出されたフレーム7A5と、このフレーム上に配設された油圧シリンダ7A6を移動枠の外方端に連結して構成されている。
【0016】
【実施例】
1.フレコンバッグ8から排出された粉体は、粉体分配装置4の傾斜面に沿って落下し、ホッパー2Aに堆積する。
ここで、粉体分配装置4の役割は、落下粉体をホッパー全周に均一分配し、ホッパー2Aの内壁側面で発生する粉塵上昇気流9を安定させて上部の中空フード2B内に導くことである。
2.中空フード2Bは、粉塵上昇気流のバルクを取込む部屋で、粉塵が系外(大気)に直接飛散するのを抑制するものである。
中空フード2B内が中仕切りガイド板3によって、粉塵同伴の上昇気流の外方縦流路2B42と内方縦流路2B41に構成されているのは、中空フード2Bに取込まれた粉塵上昇気流から効果的に粉塵を除去するためである。
すなわち、中仕切りガイド板3と中空フード2Bの外側壁の間に導かれた粉塵気流は、中空フードの側壁や中仕切りガイド板に衝突したり、方向転換させられ、粉塵は慣性によって気流から離脱して除塵される。
また、中空フード内の上部で反転した粉塵気流は、流速分布が均一化して減速され、粉塵の重力集塵も加わり防塵性能が向上する。
【0017】
3.第1種バッグ切断装置5は、中央刃物5Aと外方刃物5Bから構成され、中央刃物5Aは、ペン先状ナイフ5A1を粉体分配装置の頂点を中心として平面十字に連続配置して構成し、外方刃物5Bは、ペン先状ナイフ5B1が中央刃物5Aにおけるペン先状ナイフ5A1の外方辺に連設され、中央刃物5Aを外方刃物5Bより高く構成したのは下記のためである。
A.ペン先状ナイフなのでフレコンバッグの底面が容易に切断できる。
すなわち、フレコンバッグの自由落下による動荷重あるいは自重により当該フレコンバッグの底面を瞬時に切断できる。
B.中央刃物5Aが外方刃物5Bより高いので、切断時の面圧を最大にできる。
C.外方刃物などを連続配置することで開袋範囲を大きくして粉体排出を容易にできる。
D.以上の結果、装置の小型化を図って据え付け占有面積を小さくでき、メンテナンスを容易にして切断、排出の所要時間を短くできる。
【0018】
第2種バッグ切断装置6は、上述した第1種バッグ切断装置5の作用と同様の作用を営むが、梁6Aの上面に直接中央刃物6Bと外方刃物6Cを支持するよう構成されているから、強度を向上させることができる。
【0019】
4.第3種バッグ切断装置7におけるバッグ切断装置部7Aは、解袋装置ケーシング2における中空フード2Bに設けた中心から外方に向け移動自在に嵌着された移動枠7A3と、移動枠の上面内方端に上方に向け植設されたナイフ7A4から構成されているので、フレコンバッグの底面中心部付近にナイフを突き刺し、水平移動させて当該フレコンバッグを切断することにより、粉体はホッパーに排出される。
A.移動する複数のナイフにより粉体の排出速度を高めると共に、フレコンバッグ内の粉体残量を最小にすることができる。
B.また、ナイフはネジ止めなどによりカートリッジタイプにすることで、刃の摩耗やバッグ材質対応の交換を容易にできる。
C.以上の結果、比較的硬い塊状物や密度の小さい粉体でも切断が可能である。
【0020】
5.図1を参照して、バッグ受け台部10について説明する。
A.中空フード2Bの上面に連設された上方縦筒部10Aと、上方縦筒部内にバッグ受け台10Bが、例えば電磁マグネット方式にて通電中は水平力を維持してフレコンバッグの重量を支えるよう配設されている。
この場合、バッグ受け台10Bは、中空フードの周方向に3個程度設置される。
B.粉体が充填されたフレコンバッグは、クレーンなどにより吊下げられ、バッグ受け台10B上に静止される。
C.クレーンの吊りワイヤーが、フレコンバッグの落下距離以上の長さに緩められる。 D.ON,OFFスイッチによりバッグ受け台10Bの電磁力が開放(OFF)され、フレコンバッグは重力落下により第1種バッグ切断装置5上に落下する。
E.クレーンが巻上げられ、フレコンバッグが第1種バッグ切断装置5上の一定距離に達したら、クレーンの巻上げ操作を一時停止してフレコンバッグ内の粉体をホッパー内に排出する。
F.以上はフレコンバッグの材質などが切断しづらいものの場合の対策例である。
例えば、フレコンバッグの底面が一重布タイプなどの切断が容易なものについては、クレーンの降下速度あるいはフレコンバッグの自重量のみで切断可能となる。
また、このような場合にはコレコンバッグを所定の位置に固定して、切断刃を上下させて切断することも可能である。
【0021】
【発明の効果】
本発明は、上述の通り構成されているので次に記載する効果を奏する。
フレコンバッグの開袋作業において、粉塵公害を発生することなくクリーンな作業環境が確保できる。
加えて、集塵ブロワなどの動力を使わないので装置の小型化が可能となり、設備の価格もランニングコストも非常に安価となる。
また、構造の簡単化でメンテナンスが容易で人手がかからず省力化も可能となる。
【図面の簡単な説明】
【図1】本発明のものの概念図である。
【図2】同上の1部を切欠いた略図的斜視図である。
【図3】他の実施例のものの概念図である。
【図4】同上の1部を切欠いた略図的斜視図である。
【図5】他の実施例のものの概念図である。
【図6】同上の1部を切欠いた略図的斜視図である。
【符号の説明】
1 フレキシブルコンテナバッグ解袋装置
2 解袋装置ケーシング
3 中仕切りガイド板
4 粉体分配装置
5 第1種バッグ切断装置
11 フレキシブルコンテナバッグ解袋装置
6 第2種バッグ切断装置
12 フレキシブルコンテナバッグ解袋装置
7 第3種バッグ切断装置
8 フレキシブルコンテナバッグ
9 粉塵上昇気流
Claims (6)
- 解袋装置ケーシング(2)と、中仕切りガイド板(3)と、粉体分配装置(4)と、第1種バッグ切断装置(5)から構成され、
解袋装置ケーシング(2)は、ホッパー(2A)と、このホッパーの上面に連設された中空フード(2B)で構成され、
中空フード(2B)は縦筒状外壁(2B1)と、縦筒状外壁内の上辺に水平状態で連設された輪状の天板(2B2)と、天板(2B2)の内周に縦筒状外壁の高さ方向の略中央部に達するよう連設された縦筒状内壁(2B3)により当該縦筒状外壁内の上方部分に形成された空間部(2B4)から構成され、
中仕切りガイド板(3)は、縦筒部(3A)と縦筒部の下辺に連設されたガイド部(3B)から構成され、縦筒部(3A)を空間部(2B4)内に位置せしめることで、当該空間部(2B4)内に上端が連通している粉塵同伴の上昇気流の外方縦流路(2B42)と内方縦流路(2B41)が構成され、
粉体分配装置(4)は、錐状に構成され、中空フード(2B)の中央下部に位置して配設され、
第1種バッグ切断装置(5)は、粉体分配装置(4)の側面における上方部分に上方に向け起立された中央刃物(5A)と、下方部分に上方に向け起立された外方刃物(5B)から構成され、これら中央刃物(5A)と外方刃物(5B)は、ペン先状ナイフの先端高さを変え平面十字に連続配置したことを特徴とする
フレキシブルコンテナバッグ解袋装置。 - 前記第1種バッグ切断装置(5)の中央刃物(5A)は、ペン先状ナイフ(5A1)を粉体分配装置の頂点を中心として平面十字に連続配置して構成され、外方刃物(5B)は、ペン先状ナイフ(5B1)が中央刃物(5A)におけるペン先状ナイフ(5A1)の外方辺に連設され、中央刃物(5A)は外方刃物(5B)より高く構成されている
請求項1記載のフレキシブルコンテナバッグ解袋装置。 - 第1種バッグ切断装置(5)に代えて、第2種バッグ切断装置(6)を備え、
第2種バッグ切断装置(6)は、解袋装置ケーシング(2)の中空フード(2B)内に粉体分配装置(4)の上部に前後左右の梁体を平面十字に連結した梁(6A)と、梁(6A)の上面における中央に上方に向け起立された中央刃物(6B)と、梁(6A)の上面において中央刃物(6B)に隣接して上方に向け起立された外方刃物(6C)から構成され、これら中央刃物(6B)と外方刃物(6C)は、ペン先状ナイフの先端高さを変え平面十字に連続配置した
請求項1記載のフレキシブルコンテナバッグ解袋装置。 - 前記第2種バッグ切断装置(6)の中央刃物(6B)は、ペン先状ナイフ(6B1)を粉体分配装置の頂点を中心として平面十字に連続配置して構成され、外方刃物(6C)は、ペン先状ナイフ(6C1)が中央刃物(6B)におけるペン先状ナイフ(6B1)の外方辺に連設され、中央刃物(6B)は外方刃物(6C)より高く構成されている請求項3記載のフレキシブルコンテナバッグ解袋装置。
- 第1種バッグ切断装置(5)に代えて、第3種バッグ切断装置(7)を備え、
第3種バッグ切断装置(7)は、解袋装置ケーシング(2)における中空フード(2B)の上面にあって、フレキシブルコンテナバッグの底面中心付近から外周方向へ移動する複数のナイフからなる
請求項1記載のフレキシブルコンテナバッグ解袋装置。 - 前記第3種バッグ切断装置(7)は、バッグ切断装置部(7A)とバッグ受け(7B)から構成され、バッグ切断装置部(7A)は、解袋装置ケーシング(2)における中空フード(2B)の上面に連設された上方縦筒部(7A1)と、上方縦筒部内に平面十字に掛架された前後左右のレール(7A2)と、前後左右のレールに沿って中心から外方に向け移動自在に嵌着された移動枠(7A3)と、移動枠の上面内方端に上方に向け植設されたナイフ(7A4)から構成され、バッグ受け(7B)は、上方縦筒部(7A1)の内面における所定箇所にナイフ(7A4)の高さより少しく低い高さをもって内方に向け突設された平面方形の小板で構成されている
請求項5記載のフレキシブルコンテナバッグ解袋装置。
Priority Applications (1)
| Application Number | Priority Date | Filing Date | Title |
|---|---|---|---|
| JP02659498A JP3607067B2 (ja) | 1997-08-12 | 1998-01-23 | フレキシブルコンテナバッグ解袋装置 |
Applications Claiming Priority (3)
| Application Number | Priority Date | Filing Date | Title |
|---|---|---|---|
| JP9-231805 | 1997-08-12 | ||
| JP23180597 | 1997-08-12 | ||
| JP02659498A JP3607067B2 (ja) | 1997-08-12 | 1998-01-23 | フレキシブルコンテナバッグ解袋装置 |
Related Child Applications (1)
| Application Number | Title | Priority Date | Filing Date |
|---|---|---|---|
| JP2004208020A Division JP2004323115A (ja) | 1997-08-12 | 2004-07-15 | フレキシブルコンテナバッグ解袋装置 |
Publications (2)
| Publication Number | Publication Date |
|---|---|
| JPH11115920A JPH11115920A (ja) | 1999-04-27 |
| JP3607067B2 true JP3607067B2 (ja) | 2005-01-05 |
Family
ID=26364405
Family Applications (1)
| Application Number | Title | Priority Date | Filing Date |
|---|---|---|---|
| JP02659498A Expired - Fee Related JP3607067B2 (ja) | 1997-08-12 | 1998-01-23 | フレキシブルコンテナバッグ解袋装置 |
Country Status (1)
| Country | Link |
|---|---|
| JP (1) | JP3607067B2 (ja) |
Families Citing this family (12)
| Publication number | Priority date | Publication date | Assignee | Title |
|---|---|---|---|---|
| KR101445128B1 (ko) * | 2014-03-04 | 2014-11-04 | 원태연 | 비닐봉투 파괴수단을 구비하는 음식물 쓰레기통 |
| JP6310433B2 (ja) * | 2015-10-09 | 2018-04-11 | 環テックス株式会社 | 被収容物を収容したフレキシブルコンテナバッグの破袋装置 |
| CN109421974A (zh) * | 2017-09-04 | 2019-03-05 | 江苏邦琳纺织有限公司 | 一种纺织用粉状染料破包装置 |
| KR101989268B1 (ko) * | 2018-01-22 | 2019-06-13 | 현대제철 주식회사 | 전기로 보수재 투입장치 |
| CN111056176B (zh) * | 2019-12-31 | 2022-06-03 | 广东沫益清环保科技有限公司 | 一种餐厨垃圾分离垃圾桶 |
| CN114074779B (zh) * | 2020-08-21 | 2025-10-24 | 百特国际有限公司 | 用于处理废液袋的装置 |
| CN112660538A (zh) * | 2021-01-19 | 2021-04-16 | 南京鑫启电子商务有限公司 | 一种建筑工地辅助水泥降尘设备 |
| CN113023013A (zh) * | 2021-03-04 | 2021-06-25 | 中国计量大学上虞高等研究院有限公司 | 气动拍袋式自动拆包卸料装置及气动鼓拍袋机构 |
| CN113023007A (zh) * | 2021-03-04 | 2021-06-25 | 中国计量大学上虞高等研究院有限公司 | 气动拍袋式自动拆包上料装置 |
| CN114955141A (zh) * | 2022-05-17 | 2022-08-30 | 中国恩菲工程技术有限公司 | 破袋装置 |
| CN118004791A (zh) * | 2023-10-19 | 2024-05-10 | 福建龙亿粉体装备制造有限公司 | 无尘投料系统 |
| CN118343380B (zh) * | 2024-06-18 | 2024-08-06 | 四川张兵兵生物科技股份有限公司 | 一种速冻生牛脂启封装置及方法 |
-
1998
- 1998-01-23 JP JP02659498A patent/JP3607067B2/ja not_active Expired - Fee Related
Also Published As
| Publication number | Publication date |
|---|---|
| JPH11115920A (ja) | 1999-04-27 |
Similar Documents
| Publication | Publication Date | Title |
|---|---|---|
| JP3607067B2 (ja) | フレキシブルコンテナバッグ解袋装置 | |
| KR20210074570A (ko) | 비산먼지 저감기능이 구비된 분체 자동 개포장치 | |
| CN211028058U (zh) | 一种带有防尘装置的振动落砂机 | |
| US5802965A (en) | Bean sprout processing apparatus | |
| US4568029A (en) | Method and apparatus for unloading catalyst from a tubular reactor | |
| JP2004323115A (ja) | フレキシブルコンテナバッグ解袋装置 | |
| CN202123065U (zh) | 风旋除杂机 | |
| JP3247304B2 (ja) | 風力選別装置 | |
| CN215355087U (zh) | 一种振动式内盖消静电除尘装置 | |
| JP2012201366A (ja) | 活性炭受入ホッパ | |
| CN208323478U (zh) | 蔬菜深加工用切片装置 | |
| CN214871026U (zh) | 一种纸板吹风除屑设备 | |
| US4760968A (en) | Integrated dust containment system for rotary crusher/breakers and the like | |
| CN213564623U (zh) | 一种瓦楞纸板生产线用的清废装置 | |
| CN210497127U (zh) | 一种大容量超细粉分散分级装备 | |
| CN206631921U (zh) | 一种用于药材的立式风选装置 | |
| CN217436281U (zh) | 一种环保型粉体包装袋破包收尘一体化装置 | |
| JP2000079921A (ja) | フレキシブルコンテナーバッグ開袋装置 | |
| RU2075700C1 (ru) | Вентиляционное укрытие | |
| KR102470842B1 (ko) | 분진 제거장치 | |
| CN211989685U (zh) | 一种果蔬智能吹选上料装置 | |
| CN208343549U (zh) | 纸箱隔板切割及除尘装置 | |
| CN112354665A (zh) | 粉尘处理装置及包括该装置的环保型固体废物处理系统 | |
| CN212263514U (zh) | 米线制作过程中的大米粉碎装置 | |
| CN216756737U (zh) | 一种用于面粉加工机的防堵塞机构 |
Legal Events
| Date | Code | Title | Description |
|---|---|---|---|
| A131 | Notification of reasons for refusal |
Free format text: JAPANESE INTERMEDIATE CODE: A131 Effective date: 20040525 |
|
| A521 | Written amendment |
Free format text: JAPANESE INTERMEDIATE CODE: A523 Effective date: 20040715 |
|
| TRDD | Decision of grant or rejection written | ||
| A01 | Written decision to grant a patent or to grant a registration (utility model) |
Free format text: JAPANESE INTERMEDIATE CODE: A01 Effective date: 20040914 |
|
| A61 | First payment of annual fees (during grant procedure) |
Free format text: JAPANESE INTERMEDIATE CODE: A61 Effective date: 20041006 |
|
| R150 | Certificate of patent or registration of utility model |
Free format text: JAPANESE INTERMEDIATE CODE: R150 |
|
| LAPS | Cancellation because of no payment of annual fees |