JP3586397B2 - 化粧用ブラシ - Google Patents
化粧用ブラシ Download PDFInfo
- Publication number
- JP3586397B2 JP3586397B2 JP29683999A JP29683999A JP3586397B2 JP 3586397 B2 JP3586397 B2 JP 3586397B2 JP 29683999 A JP29683999 A JP 29683999A JP 29683999 A JP29683999 A JP 29683999A JP 3586397 B2 JP3586397 B2 JP 3586397B2
- Authority
- JP
- Japan
- Prior art keywords
- brush
- hole
- elongated hole
- operating body
- brush body
- Prior art date
- Legal status (The legal status is an assumption and is not a legal conclusion. Google has not performed a legal analysis and makes no representation as to the accuracy of the status listed.)
- Expired - Lifetime
Links
- 230000001105 regulatory effect Effects 0.000 claims description 39
- 239000002537 cosmetic Substances 0.000 claims description 12
- 230000037431 insertion Effects 0.000 claims description 12
- 238000003780 insertion Methods 0.000 claims description 12
- 239000000843 powder Substances 0.000 description 4
- 238000005452 bending Methods 0.000 description 1
- 210000000078 claw Anatomy 0.000 description 1
- 230000000694 effects Effects 0.000 description 1
Images
Landscapes
- Brushes (AREA)
Description
【発明の属する技術分野】
本発明は、パウダーブラシ等の化粧用ブラシに関するものである。
【0002】
【従来の技術】
パウダーブラシ等の化粧用ブラシには、図12〜図15に示すように、収納筒体1に、先端側にブラシ毛2を有するブラシ本体3を収納し、収納筒体1の長手方向に長孔4を設け、長孔4の両端側に、前係止孔部5と後係止孔部6とを設けている。ブラシ本体3は、先端側のブラシ毛2を束状に保持するブラシ保持具7を有し、ブラシ保持具7に一対の摺動脚部8が基端側に突出され、一方の摺動脚部8に操作体9が突設され、この摺動脚部8は、図14に示すように内方に弾性変形可能に構成されている。操作体9は、ブラシ本体3に長孔4から収納筒体1の外方に突出した操作頭部10と、長孔4内をその長手方向に沿って移動可能となるように長孔4に挿通される挿通部12と、長孔4内を移動不能となるように前係止孔部5又は後係止孔部6に係合する係合部13とを有している。
【0003】
そして、操作体9を突設した一方の摺動脚部8を弾性変形可能に構成することにより、該一方の摺動脚部8によって操作体9を外方突出方向に付勢する付勢手段を構成し、操作体9の挿通部12を長孔4に挿通させた状態で操作体9を長孔4に沿って移動操作することにより、ブラシ毛2が収納筒体1内に収まる収納位置とブラシ毛2が収納筒体1の先端から突出する使用位置とに、ブラシ本体3が移動するように構成し、ブラシ本体27が使用位置に移動したとき、前記付勢手段の付勢により、係合部13が前係止孔部5に係合してブラシ本体3を収納筒体1に対して移動不能に係止すると共に、ブラシ本体3が収納位置に移動したとき、前記付勢手段の付勢により、係合部13が後係止孔部6に係合してブラシ本体3を収納筒体1に対して移動不能に係止するようにしたものがある。
【0004】
【発明が解決しようとする課題】
しかし、従来の場合、一方の摺動脚部8の弾性力により、操作体9が十分に外方突出するように付勢できるようにするため、摺動脚部8をある程度長く形成して、摺動脚部8の弾性屈曲部15から基端側に十分離れた位置に操作体9を突出する必要があり、従って、操作体9の移動量を十分確保するために摺動脚部8を比較的長く形成しており、このためブラシ本体3乃至収納筒体1が長くなって、化粧用ブラシ全体が長くなり、化粧用ブラシをコンパクトに形成することができなくなるという問題があった。
【0005】
本発明は上記問題点に鑑み、ブラシ本体を収納筒体に対して収納位置と使用位置に位置決め固定することができると同時に、化粧用ブラシをコンパクトに形成することができるようにしたものである。
【0006】
【課題を解決するための手段】
この技術的課題を解決するための本発明の技術的手段は、収納筒体21に、先端側にブラシ毛28を有するブラシ本体27が収納され、収納筒体21の長手方向に長孔24が設けられ、長孔24の両端側に、前係止孔部31と後係止孔部32とが設けられ、ブラシ本体27に操作体33が長孔24から外方突出するように設けられ、長孔24内をその長手方向に沿って移動可能となるように長孔24に挿通される挿通部50と、長孔24内を移動不能となるように前係止孔部31又は後係止孔部32に係合する係合部51とが、操作体33に設けられ、操作体33を外方突出方向に付勢する付勢手段が設けられ、挿通部50を長孔24に挿通させた状態で操作体33を長孔24に沿って移動操作することにより、ブラシ毛28が収納筒体21内に収まる収納位置Aとブラシ毛28が収納筒体21の先端から突出する使用位置Bとに、ブラシ本体27が移動するように構成され、ブラシ本体27が使用位置Bに移動したとき、前記付勢手段の付勢により、係合部51が前係止孔部31に係合してブラシ本体27を収納筒体21に対して移動不能に係止すると共に、ブラシ本体27が収納位置Aに移動したとき、前記付勢手段の付勢により、係合部51が後係止孔部32に係合してブラシ本体27を収納筒体21に対して移動不能に係止するようにした化粧用ブラシにおいて、
前記付勢手段がバネ49により構成され、ブラシ本体27に、操作体33の外方突出方向に収納凹部47とバネ収納部48とが設けられ、収納凹部47に操作体33が外方突出方向に移動自在に収納保持され、バネ収納部48に、操作体33を外方突出する方向に付勢するように前記バネ49が収納され、
収納筒体21とブラシ本体27との間に、前記長孔24からブラシ本体27のブラシ毛28が外方突出しないように規制する規制部材55が設けられている点にある。
【0007】
本発明の他の技術的手段は、前記ブラシ本体27は、前記先端側のブラシ毛28を束状に保持するブラシ保持具29を有し、ブラシ保持具29に、前記収納凹部47とバネ収納部48とが、前記操作体33の外方突出方向に一列状に形成されている点にある。
【0008】
本発明の他の技術的手段は、前記規制部材55は、ブラシ毛28が長孔24から突出しないように規制する規制位置Cと、操作体33の移動操作を妨げないように退避する退避位置Dとに移動自在とされ、ブラシ本体27のブラシ毛28が長孔24側に位置するとき、規制部材55が規制位置Cに位置すると共に、ブラシ本体27のブラシ毛28が長孔24の前方に位置するとき、規制部材55が退避位置Dに位置するように、規制部材55が操作体33の移動操作に連動せしめられている点にある。
【0009】
【発明の実施の形態】
以下、本発明の実施の形態を図面に基いて説明する。
図1〜図7は化粧用ブラシの一例として顔に白粉を付けるためのパウダーブラシを示している。同図において、21は収納筒体で、長方形の筒状に形成された胴部22と、基端に設けられた閉塞壁25とを有し、収納筒体21の先端に先端開口部23が設けられ、基端は閉塞されている。収納筒体21の胴部22に長孔24が長手方向に形成されている。長孔24の両端側に、前係止孔部31と後係止孔部32とが設けられている。
【0010】
27はブラシ本体で、先端側に束ねられた多数のブラシ毛28を有すると共に、該先端側のブラシ毛28を束状に保持するブラシ保持具29を有している。ブラシ本体27はブラシ毛28が先端開口部23から出退するように収納筒体21内に長手方向移動自在に収納されている。
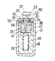
ブラシ本体27に、操作体33が長孔24から外方突出するように設けられている。この操作体33は、特に図7、図1、図2に示すように、操作部材34とブロック状の支持部材35とを有し、操作部材34は操作頭部37と一対の取付脚部38とを有している。支持部材35には、上端開放状の取付溝41が設けられと共に、取付溝41を挟んで半割円柱状の一対の凸状部42が設けられている。操作部材34の一対の支持脚部38を、支持部材35の取付溝41に挿入し、取付脚部38先端の係合爪43を、支持部材35の取付溝41の開口縁部に係合して抜け止めすることにより、操作部材34が支持部材35に装着されている。
【0011】
前記ブラシ本体27のブラシ保持具29基端部に、操作体33の外方突出方向に収納凹部47とバネ収納部48とが設けられている。この収納凹部47とバネ保持部48とは、操作体33の突出方向に一列状に形成されている。収納凹部47に支持部材35が摺動自在に嵌合されて、操作体33が収納凹部47に外方突出方向に移動自在に収納保持されている。バネ収納部48に、操作体33を外方突出する方向に付勢するコイルバネ49が収納されている。
そして、一対の取付脚部38の基部が、長孔24内をその長手方向に沿って移動可能となるように長孔24に挿通される挿通部50とされ、操作体33の支持部材35の一対の凸状部42が、長孔24内を移動不能となるように前係止孔部31又は後係止孔部32に係合する係合部51とされている。操作部材34の操作頭部37は長孔24より収納筒体21の外部に突出されている。
【0012】
挿通部50を長孔24に挿通させた状態で、操作体33を長孔24に沿って該長孔24の基端側に移動操作することにより、図1及び図3に示す如くブラシ毛28が収納筒体21内に収まる収納位置Aに、ブラシ本体27が移動すると共に、操作体33を長孔24に沿って該長孔24の先端側に移動操作することにより、図8に示す如くブラシ毛28が収納筒体21の先端から突出する使用位置Bに、ブラシ本体27が移動するように構成されている。
また、ブラシ本体27が使用位置Bに移動したとき、前記バネ49の付勢により、係合部51が前係止孔部31に係合してブラシ本体27を収納筒体21に対して移動不能に係止すると共に、ブラシ本体27が収納位置Aに移動したとき、前記バネ49の付勢により、係合部51が後係止孔部32に係合してブラシ本体27を収納筒体21に対して移動不能に係止するようになっている。
【0013】
収納位置Aにあるブラシ本体27のブラシ毛28の中途部に長孔24の先端が達するように、前記長孔24は収納筒体21の胴部22に形成され、収納筒体21とブラシ本体27との間に、長孔24からブラシ本体27のブラシ毛28が外方突出しないように規制する規制部材55が設けられている。
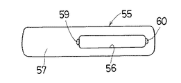
規制部材55は図6に示すように長方形板状に形成され、規制部材55の基端側に、前記長孔24に対応して該長孔24の半分程度の長さの長孔56が設けられている。規制部材55の先端側は、長孔24の先端側とブラシ本体27のブラシ毛28との間を塞ぐ閉塞部57とされている。
【0014】
規制部材55の長孔56の先端側縁部に、先端ストッパー59が突設され、規制部材56の長孔56の基端側縁部に、基端ストッパー60が突設されている。先端ストッパー59が長孔56の先端開口縁部に接当して、規制部材55の先端側への移動を後述の退避位置Dで規制し、基端ストッパー60が長孔24の基端開口縁部に接当して、規制部材55の基端側への移動を後述の規制位置Cで規制するようになっている。
前記操作体33の支持部材35の挿通部50側の端部が、前記収納筒体21の長孔24と規制部材55の長孔56とに挿通されている。これにより、規制部材55が、長孔24からブラシ本体27のブラシ毛28が外方突出しないように規制すると共に、規制部材55が、操作体33の移動操作に連動して、操作体33が長孔24に沿って長孔24の先端側を移動するのを妨げないように、退避可能に構成されている。
【0015】
即ち、長孔24の先端側とブラシ本体27のブラシ毛28との間を閉塞部57で塞ぐ規制位置Cと、操作体33が長孔24に沿って長孔24の先端側を移動するのを妨げないように、閉塞部57が収納筒体21の長孔24前方に位置する退避位置Dとに、規制部材55は移動自在とされ、図3に示す如くブラシ本体27のブラシ毛28が長孔24側に位置するとき、ブラシ毛28が長孔24から突出しないように、規制部材55が規制位置Cに位置すると共に、図8に示す如くブラシ本体27のブラシ毛28が長孔24の前方に位置するとき、操作体33の移動操作を妨げないように、規制部材55が退避位置Dに位置するように、規制部材55が操作体33の移動操作に連動するようになっている。
【0016】
61は収納筒体21に着脱自在に套嵌されるキャップである。
上記実施の形態によれば、化粧用ブラシを使用する場合、図1に示すようにブラシ本体27が収納位置Aにある状態から、キャップ61を収納筒体21から取り外した後、操作体33の操作頭部37をバネ49に抗して押圧することにより、係合部51を後係止孔部32から収納筒体1内に外して、長孔24に挿通部50を挿通した状態にする。その後、操作体33を長孔24に沿って該長孔24の先端側に移動操作すればよく、これによりブラシ本体27が収納筒体21に対して先端側に移動し、図8に示すようにブラシ本体27が使用位置Bに移動したとき、操作体33が規制部材55の先端ストッパー59を介して長孔24の先端開口縁部に接当し、ブラシ毛28が収納筒体21の先端開口部23から突出した使用状態になる。また、ブラシ本体27が使用位置Bに移動したとき、前記バネ49の付勢により、操作体33が突出方向外方に押圧され、挿通部50が長孔56から外れて収納筒体21の外方に突出すると共に、係合部51が前係止孔部31に係合してブラシ本体27を収納筒体21に対して移動不能に係止する。これにより、ブラシ本体27が収納筒体21に対して使用位置Bに位置決め固定される。
【0017】
このように、ブラシ本体27が収納位置Aから使用位置Bに移動する際において、ブラシ本体27のブラシ毛28が長孔24の先端側に位置するとき、規制部材55が規制位置Cにあるため、長孔56の先端側とブラシ本体27のブラシ毛28との間を規制部材55の閉塞部57で塞ぎ、ブラシ毛28が長孔24から突出しないように、規制部材55が規制する。
そして、ブラシ本体27が収納位置Aから使用位置Bに移動する途中で、操作体33が規制部材55の先端ストッパー59(長孔56の先端開口縁部)に接当し、操作体33が規制部材55を先端側に押圧する。従って、ブラシ本体27が収納位置Aから使用位置B側に移動して、ブラシ本体27のブラシ毛28が長孔24の前方に位置するようになると、操作体33により先端ストッパー59が押圧されて、規制部材55が次第に先端側に移動し、最終的には先端ストッパー59が長孔24の先端開口縁部に接当して、操作体33の移動操作を妨げないように規制部材55が退避位置Dに移動するため、操作体33が長孔24に沿って長孔24の先端側を移動するのを妨げることがなくなる。
【0018】
化粧用ブラシを使用した後にブラシ本体27を収納筒体21に収納する場合、図8に示すようにブラシ本体27が使用位置Bにある状態から、操作体33の操作頭部37をバネ49に抗して押圧することにより、係合部51を前係止孔部31から収納筒体21内に外して、長孔24に挿通部50を挿通した状態にする。その後、操作体33を長孔24に沿って該長孔24の基端側に移動操作すればよく、これによりブラシ本体27が収納筒体21に対して基端側に移動して、ブラシ本体27が収納位置Aに移動し、ブラシ毛28が収納筒体21内に収まる。また、ブラシ本体27が収納位置Aに移動したとき、前記バネ49の付勢により、操作体33が突出方向外方に押圧され、挿通部50が長孔56から外れて収納筒体21の外方に突出すると共に、係合部51が後係止孔部32に係合してブラシ本体27を収納筒体21に対して移動不能に係止する。これにより、ブラシ本体27が収納筒体21に対して使用位置Bに位置決め固定される。
【0019】
このように、ブラシ本体27が使用位置Bから収納位置Aに移動する途中において、操作体33が規制部材55の長孔56内を基端側に移動して、操作体33が規制部材55の基端ストッパー60に接当し、操作体33が規制部材55を基端側に押圧する。
その結果、操作体33により基端ストッパー60が押圧されて、規制部材55が次第に基端側に移動し、最終的には基端ストッパー60が長孔24の基端開口縁部に接当して、規制部材55の基端側への移動が規制され、規制部材55が規制位置Cに移動して止まる。従って、規制部材55が退避位置Dから規制位置Cに移動し、長孔24の先端側とブラシ本体27のブラシ毛28との間を規制部材55の閉塞部57で塞いだ状態になる。
【0020】
従って、ブラシ本体27に、操作体33の外方突出方向に収納凹部47とバネ収納部48とが設けられ、収納凹部47に操作体33が外方突出方向に移動自在に収納保持され、バネ収納部48に、操作体33を外方突出する方向に付勢するように前記バネ49が収納されているので、従来のように操作体の移動量を確保するためにブラシ本体を長く形成する必要がなくなり、このためブラシ本体27乃至収納筒体21が極力短くなって、ブラシ本体27を収納筒体21に対して収納位置Aと使用位置Bに位置決め固定することができると同時に、化粧用ブラシ全体が短くなり、化粧用ブラシをコンパクトに形成することができる。
【0021】
また、収納筒体21とブラシ本体27との間に、長孔24からブラシ本体27のブラシ毛28が外方突出しないように規制する規制部材55があるため、ブラシ本体27を使用位置Bに移動させる際に、規制部材55により、ブラシ毛28が長孔24の先端側縁部に引っ掛かかってブラシ毛28が折れ曲がるのを確実に防止することができる。しかも、長孔24の先端が、収納位置Aにあるブラシ本体27のブラシ毛28の中途部に位置するように、長孔24を形成しているので、収納筒体21及びブラシ本体27を極力短く形成することができ、この点からも、化粧用ブラシ全体を短くてコンパクトに形成することができる。
【0022】
図9は他の実施の形態を示し、前記規制部材55の基端ストッパー60を、長手方向基端側に延長すると共にL字状に屈曲して形成し、収納筒体21の閉塞壁25に接当させるようにしたものである。その他の点は前記図1〜図8の実施の形態の場合と同様の構成である。
図10は他の実施の形態を示し、前記規制部材55を収納筒体21に対応する筒状に形成し、この規制部材55を収納筒体21に長手方向移動自在に内嵌するようにしたものである。その他の点は前記図1〜図8の実施の形態の場合と同様の構成である。
【0023】
図11は他の実施の形態を示し、前記規制部材55を収納筒体21に対応するU字状に形成し、規制部材55を収納筒体21に長手方向移動自在に内嵌するようにしたものである。その他の点は前記図1〜図8の実施の形態の場合と同様の構成である。
【0024】
【発明の効果】
本発明によれば、ブラシ本体27を収納筒体21に対して収納位置Aと使用位置Bに位置決め停止することができると同時に、化粧用ブラシをコンパクトに形成することができる。
【図面の簡単な説明】
【図1】本発明の一実施の形態を示す不使用状態の拡大側断面図である。
【図2】同不使用状態の背面断面図である。
【図3】同不使用状態の側断面図である。
【図4】同不使用状態の平面図である。
【図5】図1のA−A線断面図である。
【図6】同規制部材の平面図である。
【図7】操作体の分解斜視図である。
【図8】同使用状態の側断面図である。
【図9】他の実施の形態を示す側面断面図である。
【図10】他の実施の形態を示す背面断面図である。
【図11】他の実施の形態を示す背面断面図である。
【図12】従来例を示す不使用状態の側断面図である。
【図13】同不使用状態の平面図である。
【図14】同ブラシ本体を収納位置から使用位置に移動する途中の側断面図である。
【図15】同使用状態の側断面図である。
【符号の説明】
21 収納筒体
24 長孔
27 ブラシ本体
28 ブラシ毛
31 前係止孔部
32 後係止孔部
33 操作体
47 収納凹部
48 バネ収納部
49 コイルバネ
50 挿通部
51 係合部
55 規制部材
Claims (3)
- 収納筒体(21)に、先端側にブラシ毛(28)を有するブラシ本体(27)が収納され、収納筒体(21)の長手方向に長孔(24)が設けられ、長孔(24)の両端側に、前係止孔部(31)と後係止孔部(32)とが設けられ、ブラシ本体(27)に操作体(33)が長孔(24)から外方突出するように設けられ、長孔(24)内をその長手方向に沿って移動可能となるように長孔(24)に挿通される挿通部(50)と、長孔(24)内を移動不能となるように前係止孔部(31)又は後係止孔部(32)に係合する係合部(51)とが、操作体(33)に設けられ、操作体(33)を外方突出方向に付勢する付勢手段が設けられ、挿通部(50)を長孔(24)に挿通させた状態で操作体(33)を長孔(24)に沿って移動操作することにより、ブラシ毛(28)が収納筒体(21)内に収まる収納位置Aとブラシ毛(28)が収納筒体(21)の先端から突出する使用位置Bとに、ブラシ本体(27)が移動するように構成され、ブラシ本体(27)が使用位置Bに移動したとき、前記付勢手段の付勢により、係合部(51)が前係止孔部(31)に係合してブラシ本体(27)を収納筒体(21)に対して移動不能に係止すると共に、ブラシ本体(27)が収納位置Aに移動したとき、前記付勢手段の付勢により、係合部(51)が後係止孔部(32)に係合してブラシ本体(27)を収納筒体(21)に対して移動不能に係止するようにした化粧用ブラシにおいて、
前記付勢手段がバネ(49)により構成され、ブラシ本体(27)に、操作体(33)の外方突出方向に収納凹部(47)とバネ収納部(48)とが設けられ、収納凹部(47)に操作体(33)が外方突出方向に移動自在に収納保持され、バネ収納部(48)に、操作体(33)を外方突出する方向に付勢するように前記バネ(49)が収納され、
収納筒体(21)とブラシ本体(27)との間に、前記長孔(24)からブラシ本体(27)のブラシ毛(28)が外方突出しないように規制する規制部材(55)が設けられていることを特徴とする化粧用ブラシ。 - 前記ブラシ本体(27)は、前記先端側のブラシ毛(28)を束状に保持するブラシ保持具(29)を有し、ブラシ保持具(29)に、前記収納凹部(47)とバネ収納部(48)とが、前記操作体(33)の外方突出方向に一列状に形成されていることを特徴とする請求項1に記載の化粧用ブラシ。
- 前記規制部材(55)は、ブラシ毛(28)が長孔(24)から突出しないように規制する規制位置Cと、操作体(33)の移動操作を妨げないように退避する退避位置Dとに移動自在とされ、ブラシ本体(27)のブラシ毛(28)が長孔(24)側に位置するとき、規制部材(55)が規制位置Cに位置すると共に、ブラシ本体(27)のブラシ毛(28)が長孔(24)の前方に位置するとき、規制部材(55)が退避位置Dに位置するように、規制部材(55)が操作体(33)の移動操作に連動せしめられていることを特徴とする請求項1又は2に記載の化粧用ブラシ。
Priority Applications (1)
| Application Number | Priority Date | Filing Date | Title |
|---|---|---|---|
| JP29683999A JP3586397B2 (ja) | 1999-10-19 | 1999-10-19 | 化粧用ブラシ |
Applications Claiming Priority (1)
| Application Number | Priority Date | Filing Date | Title |
|---|---|---|---|
| JP29683999A JP3586397B2 (ja) | 1999-10-19 | 1999-10-19 | 化粧用ブラシ |
Publications (2)
| Publication Number | Publication Date |
|---|---|
| JP2001112537A JP2001112537A (ja) | 2001-04-24 |
| JP3586397B2 true JP3586397B2 (ja) | 2004-11-10 |
Family
ID=17838835
Family Applications (1)
| Application Number | Title | Priority Date | Filing Date |
|---|---|---|---|
| JP29683999A Expired - Lifetime JP3586397B2 (ja) | 1999-10-19 | 1999-10-19 | 化粧用ブラシ |
Country Status (1)
| Country | Link |
|---|---|
| JP (1) | JP3586397B2 (ja) |
Families Citing this family (1)
| Publication number | Priority date | Publication date | Assignee | Title |
|---|---|---|---|---|
| JP4907116B2 (ja) * | 2005-07-12 | 2012-03-28 | 株式会社志々田清心堂 | 化粧用ブラシ |
-
1999
- 1999-10-19 JP JP29683999A patent/JP3586397B2/ja not_active Expired - Lifetime
Also Published As
| Publication number | Publication date |
|---|---|
| JP2001112537A (ja) | 2001-04-24 |
Similar Documents
| Publication | Publication Date | Title |
|---|---|---|
| JP3386846B2 (ja) | スライド式開閉システムを備えた箱 | |
| KR20180083397A (ko) | 모발 처리 장치 | |
| JP3586397B2 (ja) | 化粧用ブラシ | |
| WO2008097002A1 (en) | Case for cosmetic | |
| JP3694646B2 (ja) | 化粧用ブラシ | |
| JP4907116B2 (ja) | 化粧用ブラシ | |
| JP3691699B2 (ja) | 化粧用ブラシ | |
| US5161906A (en) | Writing instrument | |
| JP4929055B2 (ja) | 内視鏡用前方突出型処置具 | |
| JP2784168B2 (ja) | 化粧用筆 | |
| US6886571B2 (en) | Make-up set and cosmetic storage case | |
| KR200455767Y1 (ko) | 출몰식 연장대를 갖는 화장용 소형 브러시 | |
| JP3868300B2 (ja) | 化粧用ブラシ | |
| JP3130510U (ja) | 筒型化粧用容器のスライド機構 | |
| JPS5927267Y2 (ja) | 替刃式理容用レザ− | |
| KR100850229B1 (ko) | 수납 케이스 | |
| JPH081692Y2 (ja) | スライド式化粧具 | |
| JP3246094U (ja) | 交換可能なクリーニングヘッド付きトイレブラシ | |
| JPH0740330Y2 (ja) | 化粧用筆 | |
| JP2556128Y2 (ja) | 頭髪用液体化粧料の塗布具 | |
| KR0118270Y1 (ko) | 화장 용기 조립체 | |
| JP4386301B2 (ja) | リップブラシ | |
| JPH064828Y2 (ja) | 化粧用塗布具 | |
| KR200209378Y1 (ko) | 사무용 소물품 보관통 | |
| KR200432965Y1 (ko) | 버턴식 콤팩트한 헤어브러시 |
Legal Events
| Date | Code | Title | Description |
|---|---|---|---|
| A977 | Report on retrieval |
Free format text: JAPANESE INTERMEDIATE CODE: A971007 Effective date: 20040209 |
|
| A131 | Notification of reasons for refusal |
Free format text: JAPANESE INTERMEDIATE CODE: A131 Effective date: 20040518 |
|
| A521 | Written amendment |
Free format text: JAPANESE INTERMEDIATE CODE: A523 Effective date: 20040607 |
|
| TRDD | Decision of grant or rejection written | ||
| A01 | Written decision to grant a patent or to grant a registration (utility model) |
Free format text: JAPANESE INTERMEDIATE CODE: A01 Effective date: 20040720 |
|
| A61 | First payment of annual fees (during grant procedure) |
Free format text: JAPANESE INTERMEDIATE CODE: A61 Effective date: 20040806 |
|
| R150 | Certificate of patent or registration of utility model |
Free format text: JAPANESE INTERMEDIATE CODE: R150 Ref document number: 3586397 Country of ref document: JP Free format text: JAPANESE INTERMEDIATE CODE: R150 |
|
| FPAY | Renewal fee payment (event date is renewal date of database) |
Free format text: PAYMENT UNTIL: 20080813 Year of fee payment: 4 |
|
| R250 | Receipt of annual fees |
Free format text: JAPANESE INTERMEDIATE CODE: R250 |
|
| FPAY | Renewal fee payment (event date is renewal date of database) |
Free format text: PAYMENT UNTIL: 20080813 Year of fee payment: 4 |
|
| FPAY | Renewal fee payment (event date is renewal date of database) |
Free format text: PAYMENT UNTIL: 20090813 Year of fee payment: 5 |
|
| R250 | Receipt of annual fees |
Free format text: JAPANESE INTERMEDIATE CODE: R250 |
|
| FPAY | Renewal fee payment (event date is renewal date of database) |
Free format text: PAYMENT UNTIL: 20100813 Year of fee payment: 6 |
|
| R250 | Receipt of annual fees |
Free format text: JAPANESE INTERMEDIATE CODE: R250 |
|
| FPAY | Renewal fee payment (event date is renewal date of database) |
Free format text: PAYMENT UNTIL: 20100813 Year of fee payment: 6 |
|
| FPAY | Renewal fee payment (event date is renewal date of database) |
Free format text: PAYMENT UNTIL: 20110813 Year of fee payment: 7 |
|
| R250 | Receipt of annual fees |
Free format text: JAPANESE INTERMEDIATE CODE: R250 |
|
| FPAY | Renewal fee payment (event date is renewal date of database) |
Free format text: PAYMENT UNTIL: 20120813 Year of fee payment: 8 |
|
| R250 | Receipt of annual fees |
Free format text: JAPANESE INTERMEDIATE CODE: R250 |
|
| FPAY | Renewal fee payment (event date is renewal date of database) |
Free format text: PAYMENT UNTIL: 20130813 Year of fee payment: 9 |
|
| R250 | Receipt of annual fees |
Free format text: JAPANESE INTERMEDIATE CODE: R250 |
|
| R250 | Receipt of annual fees |
Free format text: JAPANESE INTERMEDIATE CODE: R250 |
|
| R250 | Receipt of annual fees |
Free format text: JAPANESE INTERMEDIATE CODE: R250 |
|
| R250 | Receipt of annual fees |
Free format text: JAPANESE INTERMEDIATE CODE: R250 |
|
| R250 | Receipt of annual fees |
Free format text: JAPANESE INTERMEDIATE CODE: R250 |
|
| R250 | Receipt of annual fees |
Free format text: JAPANESE INTERMEDIATE CODE: R250 |
|
| R250 | Receipt of annual fees |
Free format text: JAPANESE INTERMEDIATE CODE: R250 |
|
| R250 | Receipt of annual fees |
Free format text: JAPANESE INTERMEDIATE CODE: R250 |
|
| EXPY | Cancellation because of completion of term |