JP3574397B2 - シャッター装置 - Google Patents
シャッター装置 Download PDFInfo
- Publication number
- JP3574397B2 JP3574397B2 JP2000341964A JP2000341964A JP3574397B2 JP 3574397 B2 JP3574397 B2 JP 3574397B2 JP 2000341964 A JP2000341964 A JP 2000341964A JP 2000341964 A JP2000341964 A JP 2000341964A JP 3574397 B2 JP3574397 B2 JP 3574397B2
- Authority
- JP
- Japan
- Prior art keywords
- winding drum
- shaft
- guide rail
- shutter curtain
- slider
- Prior art date
- Legal status (The legal status is an assumption and is not a legal conclusion. Google has not performed a legal analysis and makes no representation as to the accuracy of the status listed.)
- Expired - Fee Related
Links
- 238000004804 winding Methods 0.000 claims description 92
- 235000018936 Vitellaria paradoxa Nutrition 0.000 claims 1
- 230000035622 drinking Effects 0.000 description 7
- 230000002093 peripheral effect Effects 0.000 description 6
- 230000007423 decrease Effects 0.000 description 3
- 230000003028 elevating effect Effects 0.000 description 3
- 238000013459 approach Methods 0.000 description 2
- 230000000694 effects Effects 0.000 description 2
- 238000009434 installation Methods 0.000 description 2
- 239000000463 material Substances 0.000 description 2
- 230000000149 penetrating effect Effects 0.000 description 2
- 238000005096 rolling process Methods 0.000 description 2
- 230000006835 compression Effects 0.000 description 1
- 238000007906 compression Methods 0.000 description 1
- JEIPFZHSYJVQDO-UHFFFAOYSA-N iron(III) oxide Inorganic materials O=[Fe]O[Fe]=O JEIPFZHSYJVQDO-UHFFFAOYSA-N 0.000 description 1
- 238000004519 manufacturing process Methods 0.000 description 1
- 239000002184 metal Substances 0.000 description 1
- 230000009747 swallowing Effects 0.000 description 1
Images
Landscapes
- Operating, Guiding And Securing Of Roll- Type Closing Members (AREA)
Description
【発明の属する技術分野】
本発明は、開口部の上部に設けた巻取装置に巻き取られたシャッターカーテンをガイドレールに沿って昇降させて開口部を開閉するシャッター装置に関する。
【0002】
【従来の技術】
図4及び図5は従来のシャッター装置の一例を示す。シャッター装置は、建物の開口部Oの上側の壁Wにシャッターボックス1を水平状に取付け、そのシャッターボックス1の左右両側壁に固定したブラケット2に支持具3を固着し、その支持具にシャフト4をねじ等5により回転不能に固定し、シャフト4に複数個の円板61とそれらの円板を連結する連結部材62とからなる巻胴6を回転自在に保持し、シャフト4に巻回した重量バランス用コイルバネ7の両端をそれぞれ円板61とシャフト4に結合し、多数枚の横長帯板状のスラット81を屈曲自在に連結してなるシャッターカーテン8の上端部を巻胴6に結合し、ブラケット2の下方において、開口部の左右両側に設けたガイドレール9の上端の呑み口部91をシャッターボックス1の下面からその中に開口させ、シャッターカーテン8の幅方向両端部を呑み口部91からガイドレール9に昇降自在に挿入して構成されている。
【0003】
シャッターを開けるため、重量バランス用コイルバネ7の戻し回転力を受けながらシャッターカーテン8をガイドレール9に沿って上昇させると、巻胴6は図4において時計方向に回転されて、そのシャッターカーテン8は巻胴に巻取られ、これに伴い、巻胴におけるシャッターカーテン8の巻取径が次第に太くなり、全開時にシャッターカーテン8の巻取径が図4に符号8Aで示すように最大になる。また、シャッターを閉めるため、シャッターカーテン8をガイドレール9に沿って下降させると、巻胴6は図4において半時計方向に回転され、巻胴に巻取られていたシャッターカーテン8が巻き戻され、これに伴い、巻胴におけるシャッターカーテン8の巻取径が次第に細くなり、全閉時にシャッターカーテン8の巻取径が図4に符号8Bで示すように最小になる。
【0004】
【発明が解決しようとする課題】
図4及び図5の例のように、シャフト4がブラケット2に固定されている構造の場合は、シャッターカーテン8の巻取径の変化に応じて、シャッターカーテン8のガイドレール9の呑み口部91に対する進入角度又は退出角度が連続的に変化する。
そのため、巻取径が最小のときの巻胴の回転中心を通る水平線と巻胴の外周面との交点における接線がガイドレール9の真上又はその付近に存在するようにシャフト4とガイドレール9の呑み口部91との位置関係を設定した場合は、閉鎖当初はスラットが呑み口部91に強く接触し、大きな巻き戻し抵抗力となるとともに、スラットとガイドレールの接触による騒音発生の原因になり、また、スラットの摩耗を早める。
また、開放当初は、ガイドレール9に沿って押し上げられるスラットが、その時の巻胴の回転中心を通る水平線と巻胴の外周面との交点における接線に沿って又はその付近を押し上げられるので、その押し上げにより大きな巻胴の巻取方向の回転トルクが得られる。また、重量バランス用コイルバネがその回転トルクを補助するので、シャッターカーテン8が円滑に巻き取られる。しかし、開放終了に近付くと、巻胴の回転中心を通る水平線とその時の巻胴の外周面との交点における接線はガイドレール9の呑み口部91の真上よりも屋外側に変位するため、その後の押し上げ力により得られる巻胴の巻取方向の回転トルクは小さくなり、シャッターカーテン8の巻取が円滑に行われなくなる。また、閉鎖当初と同様にスラットがガイドレールの呑み口部に接触して騒音を発生したり、スラットが摩耗するなどの問題を有している。
【0005】
このような問題点を解消するため、シャフトをスライダを介してブラケットに水平方向に変位可能に支持し、巻胴の円板に外周に雄ねじを切ったねじ部を設けるとともに、その雄ねじにナットを螺合し、そのナットとブラケットとを揺動リンクで連結することにより、シャッターカーテンの開閉に伴って巻胴が時計方向又は半時計方向に回転するに連れて前記揺動リンクを揺動させて、巻胴の回転中心を通る水平線と巻胴の外周面との交点における接線を常にガイドレールにおけるシャッターカーテンの昇降面と一致するようにしたシャッター装置が特開2000−145325号公報に開示された。
しかしながら、この先行技術は、スライダ、外周に雄ねじを切ったねじ部、ナット、揺動リンク及びその揺動リンクをナットとブラケットに枢支する部材等、多数の部品を必要とするので部品コストが高額になるとともに、取付けが容易でなく、さらに、巻胴の回転中心を通る水平線と巻胴の外周面との交点における接線を常にガイドレールにおけるシャッターカーテンの昇降面と一致するように巻胴の回転量とリンクの揺動角度との関係を適切に設定することが容易でない。
【0006】
さらに、従来のシャッター装置は、いずれも、巻胴が、シャフトを単に円板の孔に回転自在に貫通し、各円板の間を連結部材で連結することにより、シャフトに回転自在に支持される構成となっている。そのため、円板の孔の口辺とシャフトの外周面との接触摩擦により、金属音が発生して騒音の原因となったり、とくに雨季などには接触部分の錆により、摩擦抵抗が増えて、シャッター開閉が重くなるという問題があった。
【0007】
本発明は、以上の事情に鑑みてなされたものであり、その課題は、簡単かつ安価な構成でシャッターカーテンの開閉時の騒音発生やスラットの摩耗を防止又は軽減でき、かつ、シャッターカーテンの開閉をできるだけ小さな力で円滑に行えるシャッター装置を提供することにある。
【0008】
【課題を解決するための手段】
上記課題を解決するため、請求項1の発明は、開口部の上方に回転自在に設けた巻胴による巻取動作及び巻戻動作に連動してシャッターカーテンをガイドレールに沿って昇降させて前記開口部を開閉するシャッター装置において、前記巻胴と、その巻胴をその中心において貫通して支持するシャフトとの間に、少なくとも前記巻胴の両端部において軸受が設けられ、かつ、前記シャフトの両端にスライダが固着され、そのスライダは前記開口部の上方の両側に設けたスライドレールに水平方向に摺動自在に嵌合され、前記スライドレールは、上下の対向する溝に、移動される前記スライダの上下面と接触して回転するローラを配置してなるものであり、前記スライダを前記シャフトが前記ガイドレールの上方延長線から離れる方向に付勢する付勢手段が備えられていることを特徴としている。
上記構成により、シャッターカーテンの巻取動作及び巻戻し動作の際に巻胴とシャフトとの間に回転摩擦が発生しない。また、シャフトが固着されたスライダは、スライドレールのローラにより低摩擦抵抗で水平方向摺動自在に保持されている。そして、シャフトが付勢手段によりガイドレールの上方延長線から離れる方向に付勢されている。従って、シャッターカーテンの閉鎖時は、シャッターカーテンの小さな引下げ力によりスライダが付 勢手段の付勢力に抗して容易にガイドレールの呑み口側に近接し、かつ、シャッターカーテンの巻胴からの巻戻しが始まるため、シャッターカーテンは、ガイドレールの呑み口部に接触せずに円滑に降下することができる。また、シャッターカーテンの閉鎖状態では、巻胴が付勢手段によりガイドレールの上方延長線から離れる方向に付勢されるため、ガイドレールの呑み口部に接触しているシャッターカーテンが振動を抑制されるので、振動騒音を発生することが防止される。また、シャッターカーテンの開放時、すなわち、閉鎖状態にあるシャッターカーテンを巻胴に巻取ってガイドレールに沿って上昇させるときは、巻胴におけるシャッターカーテンの巻取り終端がガイドレールの真上又はその付近に存在するので、重量バランス用コイルバネの戻し回転力を受けながらシャッターカーテンが円滑にかつガイドレールの呑み口部に接触することなく上昇し始める。重量バランス用コイルバネの戻し回転力よりも大きい力でシャッターカーテンを押し上げるときはシャフトが付勢手段によりガイドレールの呑み口から離反する方向に移動されるが、巻胴におけるシャッターカーテンの巻取り終端がガイドレールの真上よりもシャフト側にあり、シャッター開放量が多くなるに連れて巻取径が次第に大きくなり、巻胴におけるシャッターカーテンの巻取り終端がガイドレールの真上に接近するので、シャッターカーテンは終始円滑にかつガイドレールの呑み口部に接触することなく上昇する。
【0009】
【発明の実施の形態】
次に、本発明の実施の形態について、図面を参照しながら説明する。
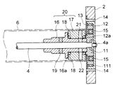
図1は本発明の基本的構成及びその作用を説明する略式断面図、図2は巻胴及びシャッターカーテンを取除いてシャフト支持部の構成を示す側面図、図3は図2のX−X線断面図である。図4及び図5の部材と対応する部材には同一の符号を用いる。
【0010】
図1のカーテンボックス1の左右両端において固定されたブラケット2には、その対向面にシャフト4を水平移動自在に支持するスライド機構10が設けられている。スライド機構10は、上下一対のスライドレール11と、そのスライドレールの間に水平方向に摺動自在に保持されたスライダ12とから構成されている。スライドレール11は、上下対向して開口するスライド溝を有し、そのスライド溝内にその溝の長手方向に等間隔をもって回転自在に配置されたローラ111を有している。そして、スライダ12は上下のスライド溝に嵌合され、その上下面がローラ111に接触されているため、スライダ12はスライドレール11の長手方向に非常に円滑に摺動可能に保持されている。
【0011】
スライドレール11はブラケット2に収容され、そのブラケットの内面に当接した固定板13とともにリベット14その他の固着具によりブラケット2に固定されている。スライダ12の水平移動距離を所定範囲に規制するための一つの手段として、スライダ12の内面に形成した円形の凸部12aを、固定板13に形成した水平の長円13aに水平移動可能に嵌合してある。
そして、スライダ12を常にガイドレール9の呑み口部91から離反する方向に付勢する手段15が設けられている。付勢手段15は、設置スペースが小さくて済むコイルバネを用いて構成することが好ましい。引張りコイルバネを用いる場合は、その一端をスライダに、他端をスライドレール又はブラケットのガイドレール9と反対側の部分にそれぞれ結合し、圧縮コイルバネを用いる場合は、スライダ12とスライドレール11又はブラケット2のガイドレール9と同一側の部分の間に保持すれば良い。しかし、付勢手段15は、例えば板バネその他のコイルバネ以外の付勢部材を用いるものを使用することも可能である。
【0012】
上記スライド機構10のスライダ12にシャフト4の端部が固着されている。図3の4aはシャフト4をスライダ12に固着するねじであり、スライドレール11に形成してある横長孔(不図示)に貫通されている。
シャフト4には巻胴6が回転自在に支持され、シャフト4に重量バランス用コイルバネ(図示省略)が巻回され、一端はシャフト4に、他端は巻胴6に結合されている。本発明の一実施例として、図1の巻胴6は、従来と同様に、シャフトの長手方向に間隔をもって環状の円板を単に嵌合し、その円板を筒又は棒材で連結して構成しても良い。
【0013】
しかし、図2及び図3に示す最も好ましい実施例では、図3に明示されているように、巻胴6を1本の筒体で構成し、シャフト4の少なくとも両端部付近において、シャフト4と巻胴6とをその間に設けられた軸受20により結合してある。この軸受は、ラジアル荷重用であれば、すべり軸受又はころがり軸受のいずれでも良い。図3に例示されたものは、内輪16と、その内輪16の中間部外周に形成されたフランジ16aの一方側半分において内輪16に嵌合された外輪17と、内外輪の間に転動自在に圧入された玉18とから構成されている。内輪16は、シャフト4を貫通させた後、フランジ16aの他方側において止めねじ19によりシャフト4に固着されている。
【0014】
そして、巻胴6は、その長手方向両端部を軸受20の外輪17の外周に緊密に嵌合し、ねじなどの固着具により結合されている。
なお、図3の21,22は、それぞれ内輪16、外輪17に軸線と直交する方向に形成された孔であり、シャフト4と外輪17に上記重量バランス用コイルバネの各端部を結合する際に、外輪17を一時的にシャフト4に対して自由回転することを阻止するため、両孔21,22を合致させ、これに回り止め用ピンなどを挿入するためのものである。
【0015】
巻胴6には、従来と同様にシャッターカーテン8の上端部が結合され、シャッターカーテン8(図1)はその下端部に設けてあるボトムバー(手掛け部。図示せず)を介して持ち上げ又は引き下げることにより、巻胴6に巻取られ、又は巻戻されるようになっている。
【0016】
本発明の好ましい実施例においては、ガイドレール9を構成する内外のガイド縁9a,9bのうち外ガイド縁9bの上端部、すなわち、シャッターカーテン呑み口部91を形成する部分は、シャッターボックス1の底面から上方に、シャフト4の中心を通る水平線と交差する位置まで延長されており、その延長端部に巻胴6の方向に突出する滑りパッド92が設けられている。滑りパッド92は、シャッターカーテン8のスラットを外ガイド縁9bの上端部に直接接触させないようにするためのものであり、できるだけ摩擦係数が小さい材料で作られている。
【0017】
上記構成により、シャッターカーテン8が巻胴6に巻取られて開口部Oが全開されている状態、すなわちシャッター全開状態では、スライド機構のスライダ12が付勢部材15の付勢力によりガイドレール9の呑み口部91から離反する方向に移動され、スライダの凸部12aが長円13aの一端部で停止される(図2はこの時の状態を示す。)。長円13aの長軸は、シャッターカーテン8の巻取径が最大の時に、凸部12aが長円13aの滑りパッド92から遠い一端部で停止され、かつ、巻胴におけるシャッターカーテン8の巻取終端が滑りパッド92に軽く接触するように設定されている。
【0018】
シャッター全開状態、すなわち、巻取径が最大の状態(図1の8A)からシャッターカーテン8の下端部を引き下げる時は、巻胴6は軸受20のために小さな引き下げ力によっても簡単に回転し、シャッターカーテン8の巻戻しが容易に開始する。そして、巻胴6におけるシャッターカーテン8の巻戻し始端はガイドレール9における昇降面の延長上に存在するので、各スラットはガイドレール9の呑み口部91に接触することなく、円滑に下降することができる。シャッターカーテン8の巻戻し動作が進むに連れて巻取径は次第に小さくなるが、シャッターカーテン8の引き下げ力によりスライダ12は付勢手段15に抗してスライドレール11のガイドレール9の呑み口部91側に、凸部12aが長孔13aの滑りパッド92に近い他端部に停止されるまで移動される。すなわち、図1のシャフト4の中心を通る鉛直線4Aから4Bまで移動される。このため、シャッターカーテン8の巻戻し始端は、依然としてガイドレール9における昇降面の延長上に存在する。従って、スラットはガイドレール9の呑み口部91に接触せずに円滑な下降を続けることができる。
シャッターカーテン8の巻戻し始端が終始ガイドレール9における昇降面の延長上に存在し続けることができるのは、スライド機構が移動摩擦抵抗のほとんどないスライダを介してシャフト4を保持していて、シャッターカーテン8の荷重により補助されることもあって、シャッターカーテン8の僅かな引き下げ力によってもスライダ12が、従って、シャフト4が容易にガイドレール9の呑み口部91の方向に移動できるからである。
【0019】
次に、シャッター全閉状態、すなわち、巻取径が最小の状態(図1の8B)からシャッターを開けるためシャッターカーテン8の下端部を持ち上げる時は、巻胴6は付勢手段15の作用により、ガイドレール9の呑み口部91から最も離間されるが、重量バランス用コイルバネの戻り回転力の補助作用により、また、軸受20が巻胴6の回転摩擦抵抗を極小にしていることにより、各スラットはガイドレール9の呑み口部91からカーテンボックス内に勢い良く引き上げられるので、各スラットはガイドレール9の呑み口部91に接触することなく、円滑に上昇して巻胴6に巻き取られる。そして、シャッターカーテン8の巻戻し動作が進むに連れて巻胴の巻取径が次第に太くなるが、スライド機構10による低摩擦抵抗と付勢手段15の作用によりシャフト4がガイドレール9から容易に離れるため、シャッターカーテン8の巻取終端がガイドレール9における昇降面の延長上に接近する。巻取終端が滑りパッド92に接触する場合もあり得る。従って、各スラットは終始ガイドレール9の呑み口部91に接触することなく、円滑に上昇して巻胴に巻き取られる。滑りパッド92に接触することがあっても接触時間はごく僅かであり、摩擦力が小さいので、発生音量は非常に少ない。
【0020】
そして、開放途中は、付勢手段の付勢力によりシャッターカーテン8の巻取終端がガイドレール9の上方延長線に関してシャフト4と同一側に存在するので、巻取終端がガイドレール9の上方延長線に関してシャフトと反対側に存在する時のようなシャッターカーテン押上力の分力による効率の低下がなく、押上力は高い効率で巻胴を回転させる力、すなわち、巻胴回転トルクとなる。そして、重量バランス用コイルバネの戻り回転力とも協同するので、シャッターカーテンが軽快迅速に巻取られる。
【0021】
図2,3に示されたように、シャフト4と巻胴6との間に軸受20を備えた場合は、巻胴の回転摩擦抵抗がないので、付勢手段15にはスライダ12を常に巻胴がガイドレール9の上方延長線に接近する方向に付勢するものを使用しても、シャッターカーテンの昇降を円滑に行うことができる。ガイドレール9に滑りパッド92を備える場合は、上記付勢手段による昇降負荷が軽減されるので、問題がない。
【0022】
上述のように、シャッターカーテン昇降時にスラットがガイドレールに衝接しないようにして接触摩擦を軽減し、かつ、軸受20を備えて巻胴の回転摩擦抵抗を無に近い状態にした場合は、重量バランス用コイルバネの戻り回転力を従来よりもかなり小さくすることができる。従って、従来と同数のコイルバネを用いる場合は、バネ定数の小さいものを使用することができる。また、従来と同じバネ定数のコイルバネを用いる場合は、その使用数を削減することが可能であるので、削減により生じる空間を利用して、電動モータを設置することも可能である。
【0023】
上記スライド機構には、上記ローラを用いる代わりに、スライドレール溝底部とスライダの一方又は双方に滑り材を貼着することによっても同様の効果を得ることができる。
【0024】
上記実施例によれば、新たに付加される構成要素は、スライド機構の構成部材として、スライドレール11、ローラ111又は滑り材、スライダ12、付勢部材15であり、これらはいずれも簡単な構成であるので製造が容易であり、また、ブラケット2に対する取付けが容易である。さらに、シャッターカーテン8の巻取量の増減に応じてスライダ、すなわち、シャフトが自動的に滑りパッド92に接近又は離反する方向に移動するので、スライド機構の設計になんら困難性がない。
【0025】
【発明の効果】
上述のように、請求項1の発明によれば、スライドレールとスライダとローラからなる低摩擦抵抗のスライド機構を設け、シャフトと巻胴の間に軸受を設けるとともに、スライダをガイドレールの上方延長線から離れる方向に付勢する付勢手段を取付けたので、スライドレールとスライダとの間の摺動音、シャフトと巻胴との間の回転摩擦音、及びスラットとガイドレールとの衝接音又は摺動摩擦音が発生しないため、シャッターカーテンの開閉を非常に軽快円滑に、かつ極めて静かに行うことができる。
【図面の簡単な説明】
【図1】本発明の基本的構成及び作用を説明する略式断面図。
【図2】巻胴及びシャッターカーテンを取除いてシャフト支持部の構成を示す側面図。
【図3】図2のX−X線断面図。
【図4】従来のシャッター装置の要部の断面図。
【図5】同じくシャフト支持部の構造を示す要部の斜視図。
【符号の説明】
1 シャッターボックス
2 ブラケット
4 シャフト
6 巻胴
9 ガイドレール
91 呑み口部
92 滑りパッド
10 スライド機構
11 スライドレール
12 スライダ
15 コイルバネ(付勢手段)
20 軸受
Claims (1)
- 開口部の上方に回転自在に設けた巻胴による巻取動作及び巻戻動作に連動してシャッターカーテンをガイドレールに沿って昇降させて前記開口部を開閉するシャッター装置において、前記巻胴と、その巻胴をその中心において貫通して支持するシャフトとの間に、少なくとも前記巻胴の両端部において軸受が設けられ、かつ、前記シャフトの両端にスライダが固着され、そのスライダは前記開口部の上方の両側に設けたスライドレールに水平方向に摺動自在に嵌合され、前記スライドレールは、上下の対向する溝に、移動される前記スライダの上下面と接触して回転するローラを配置してなるものであり、前記スライダを前記シャフトが前記ガイドレールの上方延長線から離れる方向に付勢する付勢手段が備えられていることを特徴とするシャッター装置。
Priority Applications (1)
| Application Number | Priority Date | Filing Date | Title |
|---|---|---|---|
| JP2000341964A JP3574397B2 (ja) | 2000-11-09 | 2000-11-09 | シャッター装置 |
Applications Claiming Priority (1)
| Application Number | Priority Date | Filing Date | Title |
|---|---|---|---|
| JP2000341964A JP3574397B2 (ja) | 2000-11-09 | 2000-11-09 | シャッター装置 |
Publications (2)
| Publication Number | Publication Date |
|---|---|
| JP2002147148A JP2002147148A (ja) | 2002-05-22 |
| JP3574397B2 true JP3574397B2 (ja) | 2004-10-06 |
Family
ID=18816609
Family Applications (1)
| Application Number | Title | Priority Date | Filing Date |
|---|---|---|---|
| JP2000341964A Expired - Fee Related JP3574397B2 (ja) | 2000-11-09 | 2000-11-09 | シャッター装置 |
Country Status (1)
| Country | Link |
|---|---|
| JP (1) | JP3574397B2 (ja) |
Families Citing this family (8)
| Publication number | Priority date | Publication date | Assignee | Title |
|---|---|---|---|---|
| DE10252669B4 (de) * | 2002-11-11 | 2008-04-03 | Warema Renkhoff Gmbh | Wickelwellenlagerung für Rollladen |
| US8220520B2 (en) * | 2004-09-17 | 2012-07-17 | Stephen Lukos | Spring biased slide arrangement for anti-bow roller tube |
| JP4703248B2 (ja) * | 2005-04-27 | 2011-06-15 | 株式会社テンパル | 開閉体装置 |
| JP4993547B2 (ja) * | 2005-07-07 | 2012-08-08 | 文化シヤッター株式会社 | 開閉装置 |
| JP4993546B2 (ja) * | 2005-07-07 | 2012-08-08 | 文化シヤッター株式会社 | 開閉装置 |
| JP4833666B2 (ja) * | 2006-01-06 | 2011-12-07 | 文化シヤッター株式会社 | 開閉装置用巻取軸支持構造 |
| GB201318177D0 (en) * | 2013-10-14 | 2013-11-27 | Coopers Fire Ltd | Fire os smoke barrier |
| WO2021100915A1 (ko) * | 2019-11-21 | 2021-05-27 | 엘지전자 주식회사 | 스마트 월 |
-
2000
- 2000-11-09 JP JP2000341964A patent/JP3574397B2/ja not_active Expired - Fee Related
Also Published As
| Publication number | Publication date |
|---|---|
| JP2002147148A (ja) | 2002-05-22 |
Similar Documents
| Publication | Publication Date | Title |
|---|---|---|
| US12404717B2 (en) | Cordless retractable roller shade for window coverings | |
| JPH0133755Y2 (ja) | ||
| AU622268B2 (en) | Roller blind mounting and rolling systems | |
| CA2509274C (en) | Anti-bow roller tube arrangement | |
| US8925617B2 (en) | Shutter slat end retention system | |
| CN101589203B (zh) | 用于卷式遮光窗帘的卷绕装置 | |
| US4424851A (en) | Screen-operating device for use in a roller blind | |
| JP3574397B2 (ja) | シャッター装置 | |
| JP2019531427A (ja) | 調節可能なばねシステム及び巻上げブラインドのための方法 | |
| US2786231A (en) | Spring adjuster for overhead doors | |
| KR101390363B1 (ko) | 미닫이 도어 장치 | |
| JPH0616125Y2 (ja) | ロ−ルブラインドの昇降装置 | |
| KR101249669B1 (ko) | 블라인드 원단 하강속도 조절장치 | |
| JPH031990Y2 (ja) | ||
| JPS6133117B2 (ja) | ||
| JPH0972174A (ja) | シャッタ | |
| JPS6350385Y2 (ja) | ||
| JP3589953B2 (ja) | 横型ブラインドのボトムレール下限位置調整装置 | |
| CN211296374U (zh) | 适用于管状电机重型安装支架 | |
| CN216341838U (zh) | 用于控制纱窗或遮光物的卷绕轴的卷绕速度的装置 | |
| JPH0125190Y2 (ja) | ||
| JP7094518B2 (ja) | 引戸の自動閉止装置 | |
| JPS5918056Y2 (ja) | 大型オ−バ−ヘッドドア−の巻上装置における巻上スプリングの蛇行防止装置 | |
| JP2543564Y2 (ja) | 開閉部材の開閉装置 | |
| JP4460385B2 (ja) | ローラガイド装置 |
Legal Events
| Date | Code | Title | Description |
|---|---|---|---|
| A977 | Report on retrieval |
Free format text: JAPANESE INTERMEDIATE CODE: A971007 Effective date: 20031226 |
|
| A131 | Notification of reasons for refusal |
Free format text: JAPANESE INTERMEDIATE CODE: A131 Effective date: 20040120 |
|
| A521 | Written amendment |
Free format text: JAPANESE INTERMEDIATE CODE: A523 Effective date: 20040318 |
|
| TRDD | Decision of grant or rejection written | ||
| A01 | Written decision to grant a patent or to grant a registration (utility model) |
Free format text: JAPANESE INTERMEDIATE CODE: A01 Effective date: 20040622 |
|
| A61 | First payment of annual fees (during grant procedure) |
Free format text: JAPANESE INTERMEDIATE CODE: A61 Effective date: 20040701 |
|
| R150 | Certificate of patent or registration of utility model |
Free format text: JAPANESE INTERMEDIATE CODE: R150 |
|
| S531 | Written request for registration of change of domicile |
Free format text: JAPANESE INTERMEDIATE CODE: R313531 |
|
| R350 | Written notification of registration of transfer |
Free format text: JAPANESE INTERMEDIATE CODE: R350 |
|
| FPAY | Renewal fee payment (event date is renewal date of database) |
Free format text: PAYMENT UNTIL: 20090709 Year of fee payment: 5 |
|
| FPAY | Renewal fee payment (event date is renewal date of database) |
Free format text: PAYMENT UNTIL: 20100709 Year of fee payment: 6 |
|
| FPAY | Renewal fee payment (event date is renewal date of database) |
Free format text: PAYMENT UNTIL: 20100709 Year of fee payment: 6 |
|
| FPAY | Renewal fee payment (event date is renewal date of database) |
Free format text: PAYMENT UNTIL: 20110709 Year of fee payment: 7 |
|
| S111 | Request for change of ownership or part of ownership |
Free format text: JAPANESE INTERMEDIATE CODE: R313111 |
|
| FPAY | Renewal fee payment (event date is renewal date of database) |
Free format text: PAYMENT UNTIL: 20120709 Year of fee payment: 8 |
|
| R350 | Written notification of registration of transfer |
Free format text: JAPANESE INTERMEDIATE CODE: R350 |
|
| LAPS | Cancellation because of no payment of annual fees |