JP3551981B2 - 大容量深水曝気装置 - Google Patents
大容量深水曝気装置 Download PDFInfo
- Publication number
- JP3551981B2 JP3551981B2 JP7356894A JP7356894A JP3551981B2 JP 3551981 B2 JP3551981 B2 JP 3551981B2 JP 7356894 A JP7356894 A JP 7356894A JP 7356894 A JP7356894 A JP 7356894A JP 3551981 B2 JP3551981 B2 JP 3551981B2
- Authority
- JP
- Japan
- Prior art keywords
- air
- cylinder
- pumping
- diffuser
- air chamber
- Prior art date
- Legal status (The legal status is an assumption and is not a legal conclusion. Google has not performed a legal analysis and makes no representation as to the accuracy of the status listed.)
- Expired - Fee Related
Links
- XLYOFNOQVPJJNP-UHFFFAOYSA-N water Substances O XLYOFNOQVPJJNP-UHFFFAOYSA-N 0.000 title claims description 41
- 238000005273 aeration Methods 0.000 title claims description 10
- 238000005086 pumping Methods 0.000 claims description 64
- 230000000630 rising effect Effects 0.000 claims description 4
- 238000004891 communication Methods 0.000 description 7
- QVGXLLKOCUKJST-UHFFFAOYSA-N atomic oxygen Chemical compound [O] QVGXLLKOCUKJST-UHFFFAOYSA-N 0.000 description 5
- 229910052760 oxygen Inorganic materials 0.000 description 5
- 239000001301 oxygen Substances 0.000 description 5
- 230000000694 effects Effects 0.000 description 2
- 230000003014 reinforcing effect Effects 0.000 description 2
- 238000005276 aerator Methods 0.000 description 1
- 230000001174 ascending effect Effects 0.000 description 1
- 238000010586 diagram Methods 0.000 description 1
- 238000009792 diffusion process Methods 0.000 description 1
- 230000001747 exhibiting effect Effects 0.000 description 1
- 238000009434 installation Methods 0.000 description 1
- 238000000034 method Methods 0.000 description 1
- 230000002787 reinforcement Effects 0.000 description 1
Images
Classifications
-
- Y—GENERAL TAGGING OF NEW TECHNOLOGICAL DEVELOPMENTS; GENERAL TAGGING OF CROSS-SECTIONAL TECHNOLOGIES SPANNING OVER SEVERAL SECTIONS OF THE IPC; TECHNICAL SUBJECTS COVERED BY FORMER USPC CROSS-REFERENCE ART COLLECTIONS [XRACs] AND DIGESTS
- Y02—TECHNOLOGIES OR APPLICATIONS FOR MITIGATION OR ADAPTATION AGAINST CLIMATE CHANGE
- Y02W—CLIMATE CHANGE MITIGATION TECHNOLOGIES RELATED TO WASTEWATER TREATMENT OR WASTE MANAGEMENT
- Y02W10/00—Technologies for wastewater treatment
- Y02W10/10—Biological treatment of water, waste water, or sewage
Landscapes
- Aeration Devices For Treatment Of Activated Polluted Sludge (AREA)
Description
【0001】
【産業上の利用分野】
この発明は、湖・沼・ダム等の深水層の循環曝気を大容量とすることを目的とした大容量深水曝気装置に関する。
【0002】
【従来の技術】
従来深水層と浅水層を別々に曝気する技術は知られていた(実公平4−22878号)。また複数本の揚水筒を束にして使用する大容量揚水装置も提案されていた(実公平4−41998号)。
【0003】
【発明により解決すべき課題】
前記従来の揚水装置は、国内各地に設置されて、多大の成果をあげている。
【0004】
また複数本の揚水筒を束にして使用することも行われているが、何れも浅水域又は上部水域において使用されており、深水層における使用例はない。
【0005】
然し乍ら比較的水深の大きい湖、沼において(例えば水深50m〜100m)、水深30m〜60m付近の深水域の曝気を目的とした場合に未だ有効な装置がない。例えば前記実公平4−22878号考案の場合には複数本の揚水筒を用いているが、上下関係はない。
【0006】
また実公平4−41998号の考案の場合には、上下揚水筒共に単筒である。従って大容量の循環揚水がむつかしい問題点があった。
【0007】
【課題を解決するための手段】
然るにこの発明は、下部揚水筒を複数本とし、しかも下部へ散気盤を設置して大容量の深水曝気を可能にし、前記従来の問題点を解決したのである。
【0008】
即ちこの発明は、複数本の間欠空気揚水筒の下部に整流筒の上部を連設し、該整流筒の下部外側に空気室を設けると共に、該空気室の外側に散気盤を配置し、かつ整流筒の内側にも気泡を送るべく散気管を配置して下部揚水装置とし、該下部揚水装置の上部に下部揚水装置の上昇水を案内する横方向案内板を設け、前記横方向案内板の上部に上部揚水筒を有する上部揚水装置を連設したことを特徴とする大容量深水曝気装置であり、複数本の間欠空気揚水筒の下部に整流筒の上部 を連設し、該整流筒の下部外側に空気室を設けると共に、散気盤を配置し、かつ整流筒の内側にも気泡を送るべく散気管を配置して下部揚水装置を構成し、この下部揚水装置の上部に上部揚水筒の空気室を連設し、該空気室に上部揚水筒の下部を連設すると共に、該上部揚水筒の外側へ所定の間隔を保って外筒を遊嵌することにより上部揚水装置を構成したことを特徴とする大容量深水曝気装置である。
【0009】
次に他の発明は、複数本の間欠空気揚水筒の下部を一本の整流筒の上部に連結し、該整流筒の下部側壁に環状の空気室と環状の散気管を設けて散気管の内側へ整流筒内と連通する多数の小孔を穿設し、該散気管に送気ホースを連結し、前記揚水筒を囲んで散気盤を配置したことを特徴とするものであり、上部揚水装置の空気室は、下部揚水装置で使用された空気の上昇路となる截頭円錐を設置し、前記使用された空気を捕集すべくなしたものである。
【0010】
前記発明において、上部揚水装置は、一本の揚水筒の外側へ所定の間隔をおいて外筒を遊嵌したけれども、上部揚水筒を複数本にしても同様である。また下部揚水筒の外側に所定間隔をいて外筒を設けることもできる。
【0011】
また散気盤は下部揚水筒の下部外側に設けるに際し、散気盤の空気を悉く揚水に混入して、溶存酸素量の増加を図ることもできる。
【0012】
【作用】
この発明によれば、少くとも下部揚水筒を複数本使用したので、単一揚水筒に期待できない大容量揚水を行い、これを循環させることができる。
【0013】
また下部揚水筒の下部に散気盤を設けたので、この散気盤により生成した気泡を微細にして、水深の大きい水域の曝気を自動的に行うことができる。
【0014】
【実施例1】
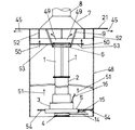
間欠空気の下部揚水筒1、1(4本1体にしてある)の下端に一本の整流筒2の上端を接続し、整流筒2の下部外側に空気室3を嵌装固着すると共に、環状の散気管4を設ける。前記空気室3の外側にも環状の散気盤5を設ける。
【0015】
前記下部揚水筒1の上端部外側に補強帯6を固定し、該補強帯6と上部揚水筒8の下端に連設した截頭円錐7の内壁とを支杆9、9により支承させる。また上部揚水筒8の下部内側には、塞板10を設け、該塞板10の下面に有底筒11の上端を固定し、前記有底筒11と、塞板10の上部とを連通筒12で連通させたもので、図中13は有底筒11の上部側壁に穿設した連通孔、14、15、16は下部揚水筒の空気室及び散気管と散気盤の送気ホースである。
【0016】
前記上部揚水筒8の外側へ所定の間隔を保って外筒17を遊嵌し、数本の支持杆18、18により位置を固定する。図中19は上部揚水筒8の連通孔、20は浮室(浮子にすることもある)、21は下部揚水筒の揚水の案内板である。
【0017】
前記装置は図2のように、深水湖22などへ設置し、前記浮室20と、重錘23との間で本体を垂直に支持できる。
【0018】
前記実施例において、ホース16から、矢示24のように加圧空気を空気室3内へ送入し、内部の水位が、鎖線25に達すると、空気室内の空気は、矢示26、27、28のように一団となって、整流筒2内へ放出され、整流筒2内で気泡弾29を形成する。
【0019】
一方散気管4と散気盤5へも各送気ホース14、15から加圧空気が矢示30、31のように送入されるので、散気管4と、散気盤5から微小気泡32、33となって水中へ放出される。
【0020】
前記気泡弾20と微小気泡32、33とは、矢示34のように上昇して截頭円錐7に衝突し、空気は矢示35のように上昇し、連通孔13から有底筒11内に入り、その空気が連通筒12の下端まで達した際は一団となって連通筒12内を矢示36のように上昇し、気泡弾37となって矢示38のように上昇し、外筒17内へ放出される。従って外筒17内の水も矢示39のように吸い上げられ、図2中矢示40、40のように放散させられる。
【0021】
従って下部揚水は微小気泡を一部含んだまま矢示45、45のように横方向へ放散される。そこで下部揚水と、上部揚水とは図2中矢示40、41、42、43、44の循環と、矢示45、46、47の循環と上下2段で夫々対流を生じる。
【0022】
この場合に下部揚水筒1、1は十分の能力を発揮し、深水層の溶存酸素量を速かに改善させることができる。
【0023】
【実施例2】
この発明の他の実施例を図3に基づいて説明する。
【0024】
図3は実施例1において、下部揚水筒1、1の外側へ所定の間隔を保って外筒48を遊嵌したものである。
【0025】
下部揚水筒1、1に外筒48を遊嵌すると、下部揚水筒1、1の揚水が矢示49、49のように放散すると、下部揚水筒1、1の外壁と、外筒48の内壁との間の水を矢示50のように連行する。
【0026】
一方散気盤5の気泡も矢示51、51のように上昇するので、外筒48内には上昇流を生じ、それだけ大量の水が上昇して、矢示45、45のように拡散する。
【0027】
図中52、52は外筒48と截頭円錐7及び案内21との間の支杆であり、53、54は外筒48の上下の支持杆である。この実施例のようにすれば下部揚水筒による揚水量を更に大量にすることができる。
【0028】
【発明の効果】
この発明は、下部揚水筒を複数とし、その揚水量を改善できるので、公知の単筒の場合に比し、数倍の能力を発揮できる効果がある。
【0029】
また深水層は酸欠になり易いが、散気管及び散気盤によって微小気泡を生成し、酸素の溶解量の増加をはかったので溶存酸素量を改善できる効果がある。
【図面の簡単な説明】
【図1】この発明の一部を省畧した断面拡大図。
【図2】同じく設置状態の一部を省畧した図。
【図3】同じく下部揚水筒に外筒を遊嵌した実施例の一部断面図。
【符号の説明】
1 下部揚水筒
2 整流筒
3 空気室
4 散気管
5 散気盤
6 補強帯
7 截頭円錐
8 上部揚水筒
9 支杆
10 塞板
11 有底筒
12 連通筒
13、19 連通孔
14、15、16 送気ホース
17 外筒
18 支持杆
20 浮室
21 案内
22 深水湖
23 重錘
29、37 気泡弾
32、33 微小気泡
48 外筒
【産業上の利用分野】
この発明は、湖・沼・ダム等の深水層の循環曝気を大容量とすることを目的とした大容量深水曝気装置に関する。
【0002】
【従来の技術】
従来深水層と浅水層を別々に曝気する技術は知られていた(実公平4−22878号)。また複数本の揚水筒を束にして使用する大容量揚水装置も提案されていた(実公平4−41998号)。
【0003】
【発明により解決すべき課題】
前記従来の揚水装置は、国内各地に設置されて、多大の成果をあげている。
【0004】
また複数本の揚水筒を束にして使用することも行われているが、何れも浅水域又は上部水域において使用されており、深水層における使用例はない。
【0005】
然し乍ら比較的水深の大きい湖、沼において(例えば水深50m〜100m)、水深30m〜60m付近の深水域の曝気を目的とした場合に未だ有効な装置がない。例えば前記実公平4−22878号考案の場合には複数本の揚水筒を用いているが、上下関係はない。
【0006】
また実公平4−41998号の考案の場合には、上下揚水筒共に単筒である。従って大容量の循環揚水がむつかしい問題点があった。
【0007】
【課題を解決するための手段】
然るにこの発明は、下部揚水筒を複数本とし、しかも下部へ散気盤を設置して大容量の深水曝気を可能にし、前記従来の問題点を解決したのである。
【0008】
即ちこの発明は、複数本の間欠空気揚水筒の下部に整流筒の上部を連設し、該整流筒の下部外側に空気室を設けると共に、該空気室の外側に散気盤を配置し、かつ整流筒の内側にも気泡を送るべく散気管を配置して下部揚水装置とし、該下部揚水装置の上部に下部揚水装置の上昇水を案内する横方向案内板を設け、前記横方向案内板の上部に上部揚水筒を有する上部揚水装置を連設したことを特徴とする大容量深水曝気装置であり、複数本の間欠空気揚水筒の下部に整流筒の上部 を連設し、該整流筒の下部外側に空気室を設けると共に、散気盤を配置し、かつ整流筒の内側にも気泡を送るべく散気管を配置して下部揚水装置を構成し、この下部揚水装置の上部に上部揚水筒の空気室を連設し、該空気室に上部揚水筒の下部を連設すると共に、該上部揚水筒の外側へ所定の間隔を保って外筒を遊嵌することにより上部揚水装置を構成したことを特徴とする大容量深水曝気装置である。
【0009】
次に他の発明は、複数本の間欠空気揚水筒の下部を一本の整流筒の上部に連結し、該整流筒の下部側壁に環状の空気室と環状の散気管を設けて散気管の内側へ整流筒内と連通する多数の小孔を穿設し、該散気管に送気ホースを連結し、前記揚水筒を囲んで散気盤を配置したことを特徴とするものであり、上部揚水装置の空気室は、下部揚水装置で使用された空気の上昇路となる截頭円錐を設置し、前記使用された空気を捕集すべくなしたものである。
【0010】
前記発明において、上部揚水装置は、一本の揚水筒の外側へ所定の間隔をおいて外筒を遊嵌したけれども、上部揚水筒を複数本にしても同様である。また下部揚水筒の外側に所定間隔をいて外筒を設けることもできる。
【0011】
また散気盤は下部揚水筒の下部外側に設けるに際し、散気盤の空気を悉く揚水に混入して、溶存酸素量の増加を図ることもできる。
【0012】
【作用】
この発明によれば、少くとも下部揚水筒を複数本使用したので、単一揚水筒に期待できない大容量揚水を行い、これを循環させることができる。
【0013】
また下部揚水筒の下部に散気盤を設けたので、この散気盤により生成した気泡を微細にして、水深の大きい水域の曝気を自動的に行うことができる。
【0014】
【実施例1】
間欠空気の下部揚水筒1、1(4本1体にしてある)の下端に一本の整流筒2の上端を接続し、整流筒2の下部外側に空気室3を嵌装固着すると共に、環状の散気管4を設ける。前記空気室3の外側にも環状の散気盤5を設ける。
【0015】
前記下部揚水筒1の上端部外側に補強帯6を固定し、該補強帯6と上部揚水筒8の下端に連設した截頭円錐7の内壁とを支杆9、9により支承させる。また上部揚水筒8の下部内側には、塞板10を設け、該塞板10の下面に有底筒11の上端を固定し、前記有底筒11と、塞板10の上部とを連通筒12で連通させたもので、図中13は有底筒11の上部側壁に穿設した連通孔、14、15、16は下部揚水筒の空気室及び散気管と散気盤の送気ホースである。
【0016】
前記上部揚水筒8の外側へ所定の間隔を保って外筒17を遊嵌し、数本の支持杆18、18により位置を固定する。図中19は上部揚水筒8の連通孔、20は浮室(浮子にすることもある)、21は下部揚水筒の揚水の案内板である。
【0017】
前記装置は図2のように、深水湖22などへ設置し、前記浮室20と、重錘23との間で本体を垂直に支持できる。
【0018】
前記実施例において、ホース16から、矢示24のように加圧空気を空気室3内へ送入し、内部の水位が、鎖線25に達すると、空気室内の空気は、矢示26、27、28のように一団となって、整流筒2内へ放出され、整流筒2内で気泡弾29を形成する。
【0019】
一方散気管4と散気盤5へも各送気ホース14、15から加圧空気が矢示30、31のように送入されるので、散気管4と、散気盤5から微小気泡32、33となって水中へ放出される。
【0020】
前記気泡弾20と微小気泡32、33とは、矢示34のように上昇して截頭円錐7に衝突し、空気は矢示35のように上昇し、連通孔13から有底筒11内に入り、その空気が連通筒12の下端まで達した際は一団となって連通筒12内を矢示36のように上昇し、気泡弾37となって矢示38のように上昇し、外筒17内へ放出される。従って外筒17内の水も矢示39のように吸い上げられ、図2中矢示40、40のように放散させられる。
【0021】
従って下部揚水は微小気泡を一部含んだまま矢示45、45のように横方向へ放散される。そこで下部揚水と、上部揚水とは図2中矢示40、41、42、43、44の循環と、矢示45、46、47の循環と上下2段で夫々対流を生じる。
【0022】
この場合に下部揚水筒1、1は十分の能力を発揮し、深水層の溶存酸素量を速かに改善させることができる。
【0023】
【実施例2】
この発明の他の実施例を図3に基づいて説明する。
【0024】
図3は実施例1において、下部揚水筒1、1の外側へ所定の間隔を保って外筒48を遊嵌したものである。
【0025】
下部揚水筒1、1に外筒48を遊嵌すると、下部揚水筒1、1の揚水が矢示49、49のように放散すると、下部揚水筒1、1の外壁と、外筒48の内壁との間の水を矢示50のように連行する。
【0026】
一方散気盤5の気泡も矢示51、51のように上昇するので、外筒48内には上昇流を生じ、それだけ大量の水が上昇して、矢示45、45のように拡散する。
【0027】
図中52、52は外筒48と截頭円錐7及び案内21との間の支杆であり、53、54は外筒48の上下の支持杆である。この実施例のようにすれば下部揚水筒による揚水量を更に大量にすることができる。
【0028】
【発明の効果】
この発明は、下部揚水筒を複数とし、その揚水量を改善できるので、公知の単筒の場合に比し、数倍の能力を発揮できる効果がある。
【0029】
また深水層は酸欠になり易いが、散気管及び散気盤によって微小気泡を生成し、酸素の溶解量の増加をはかったので溶存酸素量を改善できる効果がある。
【図面の簡単な説明】
【図1】この発明の一部を省畧した断面拡大図。
【図2】同じく設置状態の一部を省畧した図。
【図3】同じく下部揚水筒に外筒を遊嵌した実施例の一部断面図。
【符号の説明】
1 下部揚水筒
2 整流筒
3 空気室
4 散気管
5 散気盤
6 補強帯
7 截頭円錐
8 上部揚水筒
9 支杆
10 塞板
11 有底筒
12 連通筒
13、19 連通孔
14、15、16 送気ホース
17 外筒
18 支持杆
20 浮室
21 案内
22 深水湖
23 重錘
29、37 気泡弾
32、33 微小気泡
48 外筒
Claims (4)
- 複数本の間欠空気揚水筒の下部に整流筒の上部を連設し、該整流筒の下部外側に空気室を設けると共に、該空気室の外側に散気盤を配置し、かつ整流筒の内側にも気泡を送るべく散気管を配置して下部揚水装置とし、該下部揚水装置の上部に下部揚水装置の上昇水を案内する横方向案内板を設け、前記横方向案内板の上部に上部揚水筒を有する上部揚水装置を連設したことを特徴とする大容量深水曝気装置。
- 複数本の間欠空気揚水筒の下部に整流筒の上部を連設し、該整流筒の下部外側に空気室を設けると共に、散気盤を配置し、かつ整流筒の内側にも気泡を送るべく散気管を配置して下部揚水装置を構成し、この下部揚水装置の上部に上部揚水筒の空気室を連設し、該空気室に上部揚水筒の下部を連設すると共に、該上部揚水筒の外側へ所定の間隔を保って外筒を遊嵌することにより上部揚水装置を構成したことを特徴とする大容量深水曝気装置。
- 複数本の間欠空気揚水筒の下部を一本の整流筒の上部に連結し、該整流筒の下部側壁に環状の空気室と環状の散気管を設けて散気管の内側へ整流筒内と連通する多数の小孔を穿設し、該散気管に送気ホースを連結し、前記揚水筒を囲んで散気盤を配置したことを特徴とする請求項1又は2記載の大容量深水曝気装置。
- 上部揚水装置の空気室は、下部揚水装置で使用された空気の上昇路となる截頭円錐を設置し、前記使用された空気を捕集すべくなした請求項1又は2記載の大容量深水曝気装置。
Priority Applications (1)
| Application Number | Priority Date | Filing Date | Title |
|---|---|---|---|
| JP7356894A JP3551981B2 (ja) | 1994-04-12 | 1994-04-12 | 大容量深水曝気装置 |
Applications Claiming Priority (1)
| Application Number | Priority Date | Filing Date | Title |
|---|---|---|---|
| JP7356894A JP3551981B2 (ja) | 1994-04-12 | 1994-04-12 | 大容量深水曝気装置 |
Publications (2)
| Publication Number | Publication Date |
|---|---|
| JPH07275884A JPH07275884A (ja) | 1995-10-24 |
| JP3551981B2 true JP3551981B2 (ja) | 2004-08-11 |
Family
ID=13522014
Family Applications (1)
| Application Number | Title | Priority Date | Filing Date |
|---|---|---|---|
| JP7356894A Expired - Fee Related JP3551981B2 (ja) | 1994-04-12 | 1994-04-12 | 大容量深水曝気装置 |
Country Status (1)
| Country | Link |
|---|---|
| JP (1) | JP3551981B2 (ja) |
Families Citing this family (6)
| Publication number | Priority date | Publication date | Assignee | Title |
|---|---|---|---|---|
| KR20020048831A (ko) * | 2000-12-18 | 2002-06-24 | 오문식 | 수중 압축공기 발생방법 및 장치 |
| CN102603087B (zh) * | 2012-03-30 | 2013-05-22 | 西安建筑科技大学 | 深水型水源水库扬水曝气水质改善装置 |
| CN102616949B (zh) * | 2012-04-20 | 2013-05-22 | 西安建筑科技大学 | 一种扬水曝气与底层充氧混合设备的自动切换装置 |
| CN102616950B (zh) * | 2012-04-20 | 2013-05-22 | 西安建筑科技大学 | 一种分层混合充氧水质改善装置 |
| CN102852833B (zh) * | 2012-09-21 | 2016-02-03 | 新天龙集团有限公司 | 曝气泵 |
| CN109761342B (zh) * | 2019-02-28 | 2024-05-07 | 北京爱尔斯生态环境工程有限公司 | 一种水体净化设备 |
-
1994
- 1994-04-12 JP JP7356894A patent/JP3551981B2/ja not_active Expired - Fee Related
Also Published As
| Publication number | Publication date |
|---|---|
| JPH07275884A (ja) | 1995-10-24 |
Similar Documents
| Publication | Publication Date | Title |
|---|---|---|
| US8241497B2 (en) | Method for stirring and/or aerating fluids, particularly sewage, particularly using a floodable aerator | |
| US4436675A (en) | Multistage water purification apparatus | |
| FI96844B (fi) | Menetelmä hapen syöttämiseksi veteen ja laite menetelmän suorittamiseksi | |
| JP3551981B2 (ja) | 大容量深水曝気装置 | |
| US4879046A (en) | Local water cleaning method for use in consecutive water areas | |
| JP2009022847A (ja) | 曝気混合循環施設。 | |
| JPH0716592A (ja) | 貯水池などの曝気装置 | |
| JPS5837520Y2 (ja) | ダム・湖等の曝気装置 | |
| JP2008264660A (ja) | 深層曝気循環施設 | |
| EP4085763B1 (en) | A device for the injection of fluids into aquaculture cages in the sea, lakes, rivers or artificial containers | |
| JPH06262193A (ja) | 曝気中の液体のガス吸収を増大させるための方法と装置 | |
| CN105413549B (zh) | 一种泥水脉冲混合装置 | |
| JPH0741266B2 (ja) | 浄水装置 | |
| CN115771946A (zh) | 一种节能曝气池和节能曝气方法 | |
| US5211508A (en) | Total water circulation system for shallow water areas | |
| JPH0420559Y2 (ja) | ||
| JPS6330557Y2 (ja) | ||
| JP2905881B2 (ja) | 大容量揚水装置 | |
| JPH0522320Y2 (ja) | ||
| JP3584950B2 (ja) | 溶存酸素量増強装置 | |
| JPH078079Y2 (ja) | 汚水浄化装置 | |
| JPH0485406A (ja) | 浅水域における全水循環方法及び装置 | |
| JPS63394Y2 (ja) | ||
| JPH05288198A (ja) | 複合揚水方法及び装置 | |
| JP3312219B2 (ja) | 深海の栄養層の水を浅海域に上昇させる方法及び装置 |
Legal Events
| Date | Code | Title | Description |
|---|---|---|---|
| TRDD | Decision of grant or rejection written | ||
| A01 | Written decision to grant a patent or to grant a registration (utility model) |
Free format text: JAPANESE INTERMEDIATE CODE: A01 Effective date: 20040217 |
|
| R155 | Notification before disposition of declining of application |
Free format text: JAPANESE INTERMEDIATE CODE: R155 |
|
| A61 | First payment of annual fees (during grant procedure) |
Free format text: JAPANESE INTERMEDIATE CODE: A61 Effective date: 20040420 |
|
| R150 | Certificate of patent or registration of utility model |
Free format text: JAPANESE INTERMEDIATE CODE: R150 |
|
| LAPS | Cancellation because of no payment of annual fees |