JP3124635U - 空気入りタイヤ - Google Patents

空気入りタイヤ Download PDF

Info

Publication number
JP3124635U
JP3124635U JP2006004538U JP2006004538U JP3124635U JP 3124635 U JP3124635 U JP 3124635U JP 2006004538 U JP2006004538 U JP 2006004538U JP 2006004538 U JP2006004538 U JP 2006004538U JP 3124635 U JP3124635 U JP 3124635U
Authority
JP
Japan
Prior art keywords
depth
sipe
tire
uneven wear
pneumatic tire
Prior art date
Legal status (The legal status is an assumption and is not a legal conclusion. Google has not performed a legal analysis and makes no representation as to the accuracy of the status listed.)
Expired - Fee Related
Application number
JP2006004538U
Other languages
English (en)
Inventor
有人 川良
Current Assignee (The listed assignees may be inaccurate. Google has not performed a legal analysis and makes no representation or warranty as to the accuracy of the list.)
Yokohama Rubber Co Ltd
Original Assignee
Yokohama Rubber Co Ltd
Priority date (The priority date is an assumption and is not a legal conclusion. Google has not performed a legal analysis and makes no representation as to the accuracy of the date listed.)
Filing date
Publication date
Application filed by Yokohama Rubber Co Ltd filed Critical Yokohama Rubber Co Ltd
Priority to JP2006004538U priority Critical patent/JP3124635U/ja
Application granted granted Critical
Publication of JP3124635U publication Critical patent/JP3124635U/ja
Anticipated expiration legal-status Critical
Expired - Fee Related legal-status Critical Current

Links

Images

Landscapes

  • Tires In General (AREA)

Abstract

【課題】溝の深さを測定することなく偏摩耗の発生を容易に確認することのできる空気入りタイヤを提供する。
【解決手段】トレッド部1にタイヤ幅方向に均一な深さで延びる複数のサイプ1cを互いにタイヤ周方向に等間隔で設けるとともに、各サイプ1cをタイヤ周方向一方に向かって徐々に深さが異なるように形成したので、各サイプ1cを偏摩耗が生じた部分から徐々に消滅させていくことができ、各サイプ1cの残存状態を目視により確認することにより、偏摩耗の発生を容易に確認することができる。これにより、デプスゲージを用いて溝の深さを測定しなくとも、偏摩耗の発生及びその進行度合いを容易に確認することができ、偏摩耗の早期発見及びその対応をユーザーに促すことができる。
【選択図】図3

Description

本考案は、例えば乗用車、トラック、バス等に用いられる空気入りタイヤに関するものである。
一般に、この種の空気入りタイヤにおいては、車両からの荷重、車両におけるタイヤの位置、不適正な空気圧など、種々の原因により偏摩耗が発生することが知られている。このような偏摩耗はタイヤの寿命や性能を低下させるため、定期的に点検してタイヤのローテーションや空気圧管理等を行うことにより、偏摩耗の解消または低減を図ることが望ましい。通常、偏摩耗の確認にはデプスゲージが用いられ(例えば、特許文献1参照。)、デプスゲージによってトレッド部の溝の深さを測定することにより偏摩耗発生の有無を確認している。
特開2004−309313号公報
しかしながら、デプスゲージを用いて偏摩耗の確認をするためには、作業者が手作業によりトレッド部の複数箇所に対して溝の深さを測定しなければならず、確認作業に多大な手間と時間を要することから、偏摩耗の確認を怠り易いという問題点があった。
本考案は前記問題点に鑑みてなされたものであり、その目的とするところは、溝の深さを測定することなく偏摩耗の発生を容易に確認することのできる空気入りタイヤを提供することにある。
本考案は前記目的を達成するために、タイヤ外周面にトレッド部を有する空気入りタイヤにおいて、前記トレッド部にタイヤ幅方向に均一な深さで延びる複数のサイプを互いにタイヤ周方向に間隔をおいて設け、各サイプをタイヤ周方向一方に向かって徐々に深さが異なるように設けている。
これにより、トレッド部の偏摩耗を生ずると、各サイプが偏摩耗を生じた部分から徐々に消滅していくことから、各サイプの残存状態を目視により確認することにより、偏摩耗の発生を容易に確認することができる。
本考案によれば、偏摩耗の発生を目視により確認することができるので、デプスゲージを用いて溝の深さを測定しなくとも、偏摩耗の発生及びその進行度合いを容易に確認することができ、偏摩耗の早期発見及びその対応をユーザーに促すことができる。
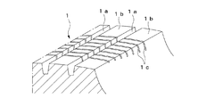
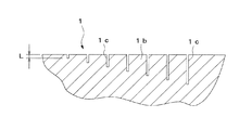
図1乃至図6は本考案の一実施形態を示すもので、図1は空気入りタイヤの正面図、図2はその部分正面断面図、図3はその要部拡大斜視図、図4はその要部側面断面図、図5及び6は偏摩耗状態を示す部分正面図である。
この空気入りタイヤは、外周面側に形成されるトレッド部1と、幅方向両側に形成されるサイドウォール部2と、サイドウォール部2のタイヤ径方向内側に形成されるビード部3とを備え、ビード部3内にはタイヤ周方向に延びる環状のビードコア3aが埋設されている。トレッド部1にはタイヤ周方向に延びる複数の主溝1aが設けられ、各主溝1a間にはリブパターン1bが形成されている。尚、トレッド部1の副溝は図示を省略してある。また、トレッド部1にはタイヤ幅方向に均一な深さで延びる複数のサイプ1c(例えば、幅1mm以下の細溝または切り込み)が互いにタイヤ周方向に等間隔で設けられ、各サイプ1cはタイヤ周方向一方に向かって徐々に深くなるように形成されている。この場合、各サイプ1cはトレッド幅Wの全体に亘って設けられるとともに、その深さLの最小を1.0mm以上1.5mm以下とし、深さLが1.0mm以上1.5mmの範囲のうち所定深さずつ深くなるように形成されている。例えば、各サイプ1cは、深さLの最小が1.2mmで、深さLが1.2mmずつ深くなるように形成される。尚、このようなサイプ群は、例えばトレッド部1のタイヤ周方向4箇所に設けられている。
以上のように構成された空気入りタイヤにおいては、トレッド部1が摩耗すると、トレッド部1の肉厚の減少に伴って各サイプ1cの深さが徐々に浅くなり、初期の深さLの小さいものから順に消滅する。この場合、例えばタイヤ幅方向の一方が片減りする偏摩耗を生じた場合には、図5に示すように各サイプ1cがタイヤ幅方向の一端側から消滅していき、タイヤ幅方向の中央側が摩耗する偏摩耗を生じた場合には、図6に示すように各サイプ1cがタイヤ幅方向中央側から消滅していくため、このような偏摩耗を目視により容易に確認することができる。その際、各サイプ1cはタイヤ周方向一方に向かって徐々に深くなっているので、偏摩耗の進行度合いも目視により容易に確認することができる。尚、各サイプ1cの最小深さ及び深さの差は、1.0mmよりも小さいと各サイプ1cの残存状態の偏りが明瞭にあらわれなくなり、1.5mmよりも大きいと偏摩耗の進行度合いを容易に判別できなくなるため、各サイプ1cの深さLの最小を1.0mm以上1.5mm以下とし、深さLが1.0mm以上1.5mm以下の範囲のうち所定深さずつ深くなるように形成することが好ましい。
このように、本実施形態によれば、トレッド部1にタイヤ幅方向に均一な深さで延びる複数のサイプ1cを互いにタイヤ周方向に等間隔で設けるとともに、各サイプ1cをタイヤ周方向一方に向かって徐々に深くなるように形成したので、各サイプ1cを偏摩耗が生じた部分から徐々に消滅させていくことができ、各サイプ1cの残存状態を目視により確認することにより、偏摩耗の発生を容易に確認することができる。これにより、デプスゲージを用いて溝の深さを測定しなくとも、偏摩耗の発生及びその進行度合いを容易に確認することができ、偏摩耗の早期発見及びその対応をユーザーに促すことができる。
この場合、各サイプ1cをトレッド幅Wの全体に亘って設けたので、トレッド部1の幅方向何れの位置においても、サイプ1cによる偏摩耗の確認を行うことができる。
また、各サイプ1cの深さLの最小を1.0mm以上1.5mm以下とし、その深さLが1.0mm以上1.5mmの範囲のうち所定深さずつ深くなるように形成したので、各サイプ1cの残存状態の偏りと偏摩耗の進行度合いを明瞭に判別することができ、実用化に際して極めて有利である。
尚、前記実施形態では、主にトラックやバス等の重荷重用タイヤに用いられるリブパターン1bを有するものを示したが、本考案は乗用車等に用いられるブロックパターンを有するものにも適用することができる。
本考案の一実施形態を示す空気入りタイヤの正面図 空気入りタイヤの部分正面断面図 空気入りタイヤの要部拡大斜視図 空気入りタイヤの要部側面断面図 偏摩耗状態を示す部分正面図 他の偏摩耗状態を示す部分正面図
符号の説明
1…トレッド部、1c…サイプ。

Claims (3)

  1. タイヤ外周面にトレッド部を有する空気入りタイヤにおいて、
    前記トレッド部にタイヤ幅方向に均一な深さで延びる複数のサイプを互いにタイヤ周方向に等間隔で設け、
    各サイプをタイヤ周方向一方に向かって徐々に深くなるように設けた
    ことを特徴とする空気入りタイヤ。
  2. 前記各サイプをトレッド幅全体に亘って形成した
    ことを特徴とする請求項1記載の空気入りタイヤ。
  3. 前記各サイプの最小深さを1.0mm以上1.5mm以下とし、その深さが1.0mm以上1.5mmの範囲のうち所定深さずつ深くなるように形成した
    ことを特徴とする請求項1または2記載の空気入りタイヤ。
JP2006004538U 2006-06-12 2006-06-12 空気入りタイヤ Expired - Fee Related JP3124635U (ja)

Priority Applications (1)

Application Number Priority Date Filing Date Title
JP2006004538U JP3124635U (ja) 2006-06-12 2006-06-12 空気入りタイヤ

Applications Claiming Priority (1)

Application Number Priority Date Filing Date Title
JP2006004538U JP3124635U (ja) 2006-06-12 2006-06-12 空気入りタイヤ

Publications (1)

Publication Number Publication Date
JP3124635U true JP3124635U (ja) 2006-08-24

Family

ID=43474553

Family Applications (1)

Application Number Title Priority Date Filing Date
JP2006004538U Expired - Fee Related JP3124635U (ja) 2006-06-12 2006-06-12 空気入りタイヤ

Country Status (1)

Country Link
JP (1) JP3124635U (ja)

Cited By (2)

* Cited by examiner, † Cited by third party
Publication number Priority date Publication date Assignee Title
JP2511367Y2 (ja) 1990-08-31 1996-09-25 大日本スクリーン製造株式会社 カスケ―ド式洗浄装置
CN116214292A (zh) * 2023-02-20 2023-06-06 青岛双星轮胎工业有限公司 一种轮胎花纹深沟与性能相关性的胎面打磨方法与装置

Cited By (2)

* Cited by examiner, † Cited by third party
Publication number Priority date Publication date Assignee Title
JP2511367Y2 (ja) 1990-08-31 1996-09-25 大日本スクリーン製造株式会社 カスケ―ド式洗浄装置
CN116214292A (zh) * 2023-02-20 2023-06-06 青岛双星轮胎工业有限公司 一种轮胎花纹深沟与性能相关性的胎面打磨方法与装置

Similar Documents

Publication Publication Date Title
EP3594024B9 (en) Tire
US11267294B2 (en) Tire
JP5200520B2 (ja) 空気入りタイヤ
JP2012171591A (ja) タイヤ
JP2010012978A (ja) 空気入りタイヤ
JP2005193815A (ja) 空気入りタイヤ
JP4973020B2 (ja) 空気入りタイヤ
JP2013043491A (ja) 重荷重用空気入りタイヤ
JP3124635U (ja) 空気入りタイヤ
JP2008013037A (ja) 建設車両用空気入りタイヤ
US10576788B2 (en) Tire
JP2009161001A (ja) 空気入りラジアルタイヤ
JP2009096255A (ja) 空気入りタイヤ
JP4970893B2 (ja) 空気入りタイヤ
JP4813230B2 (ja) 空気入りタイヤ
JP2009083769A (ja) 空気入りタイヤ
JP2014213650A (ja) 航空機用タイヤ
CN108146153B (zh) 充气轮胎
JP2010083304A (ja) 空気入りタイヤ
JP2006062584A (ja) 空気入りタイヤ
JP2008213660A (ja) 空気入りタイヤ
JP2008037223A (ja) 空気入りタイヤ
JP2005138609A (ja) 空気入りタイヤ
JP6411007B2 (ja) 空気入りタイヤ
JP5041466B2 (ja) 空気入りタイヤ

Legal Events

Date Code Title Description
R150 Certificate of patent or registration of utility model

Free format text: JAPANESE INTERMEDIATE CODE: R150

FPAY Renewal fee payment (event date is renewal date of database)

Free format text: PAYMENT UNTIL: 20090802

Year of fee payment: 3

FPAY Renewal fee payment (event date is renewal date of database)

Free format text: PAYMENT UNTIL: 20100802

Year of fee payment: 4

FPAY Renewal fee payment (event date is renewal date of database)

Free format text: PAYMENT UNTIL: 20110802

Year of fee payment: 5

FPAY Renewal fee payment (event date is renewal date of database)

Free format text: PAYMENT UNTIL: 20110802

Year of fee payment: 5

FPAY Renewal fee payment (event date is renewal date of database)

Free format text: PAYMENT UNTIL: 20110802

Year of fee payment: 5

FPAY Renewal fee payment (event date is renewal date of database)

Free format text: PAYMENT UNTIL: 20110802

Year of fee payment: 5

LAPS Cancellation because of no payment of annual fees