JP2025041265A - 車両のリアゲート - Google Patents
車両のリアゲート Download PDFInfo
- Publication number
- JP2025041265A JP2025041265A JP2023148456A JP2023148456A JP2025041265A JP 2025041265 A JP2025041265 A JP 2025041265A JP 2023148456 A JP2023148456 A JP 2023148456A JP 2023148456 A JP2023148456 A JP 2023148456A JP 2025041265 A JP2025041265 A JP 2025041265A
- Authority
- JP
- Japan
- Prior art keywords
- mounting surface
- surface portion
- outer panel
- rear gate
- bead portion
- Prior art date
- Legal status (The legal status is an assumption and is not a legal conclusion. Google has not performed a legal analysis and makes no representation as to the accuracy of the status listed.)
- Pending
Links
Images
Classifications
-
- B—PERFORMING OPERATIONS; TRANSPORTING
- B60—VEHICLES IN GENERAL
- B60R—VEHICLES, VEHICLE FITTINGS, OR VEHICLE PARTS, NOT OTHERWISE PROVIDED FOR
- B60R13/00—Elements for body-finishing, identifying, or decorating; Arrangements or adaptations for advertising purposes
- B60R13/10—Registration, licensing, or like devices
- B60R13/105—Licence- or registration plates, provided with mounting means, e.g. frames, holders, retainers, brackets
-
- B—PERFORMING OPERATIONS; TRANSPORTING
- B60—VEHICLES IN GENERAL
- B60J—WINDOWS, WINDSCREENS, NON-FIXED ROOFS, DOORS, OR SIMILAR DEVICES FOR VEHICLES; REMOVABLE EXTERNAL PROTECTIVE COVERINGS SPECIALLY ADAPTED FOR VEHICLES
- B60J5/00—Doors
- B60J5/10—Doors arranged at the vehicle rear
- B60J5/101—Doors arranged at the vehicle rear for non-load transporting vehicles, i.e. family cars including vans
- B60J5/107—Doors arranged at the vehicle rear for non-load transporting vehicles, i.e. family cars including vans constructional details, e.g. about door frame, panels, materials used, reinforcements
Landscapes
- Engineering & Computer Science (AREA)
- Mechanical Engineering (AREA)
- Vehicle Waterproofing, Decoration, And Sanitation Devices (AREA)
Abstract
Description
本発明は、車両のリアゲートに関する。
自動車といった車両には、リアゲートを有するものがある。リアゲートは、車両の後部開口に対して開閉可能に設けられる(特許文献1~3)。
また、車両のリアゲートには、車両のライセンスプレートなどの表示部材を取り付けるための取付面部が設けられることがある。取付面部は、各国の法規にしたがって、基本的に平面状に形成することが求められている。
また、車両のリアゲートには、車両のライセンスプレートなどの表示部材を取り付けるための取付面部が設けられることがある。取付面部は、各国の法規にしたがって、基本的に平面状に形成することが求められている。
ところで、このように平面状に形成されることが求められている取付面部や、取付面部に取り付けられる平板状のライセンスプレートなどの表示部材は、車両のアイドリングなどにより振動してしまうことがある。また、この振動は、インナパネルとアウタパネルとが重ね合わされてなるリアゲートにおいて増幅されて、車両の車内に伝わることがある。このような音は、異音として、車両の乗員に可聴されることがある。たとえば平面状の取付面部が振動すると、それに起因する所謂こもり音が乗員に可聴されることがある。また、平板状のライセンスプレートが振動すると、それに起因する所謂ビレ音が乗員に可聴されることがある。
このため、特許文献1から3では、リアゲートを構成するインナパネルの一部をアウタパネルへ向けて伸ばしてアウタパネルに連結したり、インナパネルとアウタパネルとの間にリンフォースを介在させたり、することを提案する。これにより、リアゲートのアウタパネルに形成される平面状の取付面部の振動などを抑制することが期待できる。
しかしながら、リアゲートを構成するインナパネルの一部をアウタパネルへ向けて伸ばすためには、インナパネルについての特別な加工が必要になる。また、インナパネルとアウタパネルとの間にリンフォースを介在させる場合には、インナパネルとアウタパネルとの間にリンフォースを介在させるための工程が必要になる。そして、いずれの場合でも、車両のリアゲートの構造は、複雑化する。
このため、特許文献1から3では、リアゲートを構成するインナパネルの一部をアウタパネルへ向けて伸ばしてアウタパネルに連結したり、インナパネルとアウタパネルとの間にリンフォースを介在させたり、することを提案する。これにより、リアゲートのアウタパネルに形成される平面状の取付面部の振動などを抑制することが期待できる。
しかしながら、リアゲートを構成するインナパネルの一部をアウタパネルへ向けて伸ばすためには、インナパネルについての特別な加工が必要になる。また、インナパネルとアウタパネルとの間にリンフォースを介在させる場合には、インナパネルとアウタパネルとの間にリンフォースを介在させるための工程が必要になる。そして、いずれの場合でも、車両のリアゲートの構造は、複雑化する。
このように、車両のリアゲートでは、車両のリアゲート構造の複雑化を抑制しながら、取付面部やそれに取り付けられる表示部材の振動を抑制して、リアゲートからの異音の発生を抑制することが求められている。
本発明の実施の一形態に係る車両のリアゲートは、インナパネルとアウタパネルとが重ね合わされてなり、車両の後部開口に対して開閉可能に設けられる車両のリアゲートであって、前記車両の表示部材を取り付けるために、前記アウタパネルに形成される取付面部と、前記表示部材を前記取付面部に支持するために、前記取付面部に少なくとも左右一対にて形成される複数の支持部と、前記アウタパネルの前記取付面部を変形させることにより、左右一対の前記支持部の間に形成される第一ビード部と、前記アウタパネルの前記取付面部を変形させることにより、少なくとも左側の前記支持部から右側の前記支持部までの幅に渡って延在するように形成される第二ビード部と、を有する。
本発明では、車両の表示部材を取り付けるための取付面部に、少なくとも左右一対にて形成される複数の支持部とともに、第一ビード部と、第二ビード部とを形成する。そして、第一ビード部は、取付面部の左右一対の支持部の間に形成される。第二ビード部は、少なくとも左側の支持部から右側の支持部までの幅に渡って延在するように形成される。
これにより、本発明において、取付面部または取付面部に取り付けられる表示部材は、振動し難くなり、それらが振動することにより生じ得る異音が発生し難くなることが期待できる。その結果、本発明では、リアゲートからの異音の発生を抑制することが期待できる。
しかも、本発明において、第一ビード部は、アウタパネルの取付面部を変形させることにより、取付面部に形成される。また、第二ビード部は、アウタパネルの取付面部を変形させることにより、取付面部に形成される。このように本発明では、アウタパネルに形成される取付面部そのものを変形させることにより、第一ビード部と、第二ビード部とを取付面部に形成している。このため、本発明では、基本的に、取付面部またはそれに取り付けられている表示部材が振動することを抑制するために、たとえばインナパネルの一部をアウタパネルまで延在させてアウタパネルに連結するように加工したり、インナパネルとアウタパネルとの間にリンフォースなどの補剛部材を介在させたり、する必要性がない。本発明は、車両のリアゲートの構造についての複雑化を抑制しながら、取付面部やそれに取り付けられる表示部材の振動を抑制して、リアゲートからの異音の発生を抑制することが期待できる。
これにより、本発明において、取付面部または取付面部に取り付けられる表示部材は、振動し難くなり、それらが振動することにより生じ得る異音が発生し難くなることが期待できる。その結果、本発明では、リアゲートからの異音の発生を抑制することが期待できる。
しかも、本発明において、第一ビード部は、アウタパネルの取付面部を変形させることにより、取付面部に形成される。また、第二ビード部は、アウタパネルの取付面部を変形させることにより、取付面部に形成される。このように本発明では、アウタパネルに形成される取付面部そのものを変形させることにより、第一ビード部と、第二ビード部とを取付面部に形成している。このため、本発明では、基本的に、取付面部またはそれに取り付けられている表示部材が振動することを抑制するために、たとえばインナパネルの一部をアウタパネルまで延在させてアウタパネルに連結するように加工したり、インナパネルとアウタパネルとの間にリンフォースなどの補剛部材を介在させたり、する必要性がない。本発明は、車両のリアゲートの構造についての複雑化を抑制しながら、取付面部やそれに取り付けられる表示部材の振動を抑制して、リアゲートからの異音の発生を抑制することが期待できる。
以下、本発明の実施形態を、図面に基づいて説明する。
図1は、本発明の実施形態に係るリアゲート10を有する自動車1の斜視図である。図1において、リアゲート10は、開いている。
図2は、図1の自動車1のリアゲート10を閉じた状態を示す図である。
図2は、図1の自動車1のリアゲート10を閉じた状態を示す図である。
図1の自動車1は、車両の一例である。自動車1は、車室3が画成される車体2を有する。自動車1の車体2には、車室3に対して乗員が乗降するための複数のドアとともに、車室3の後部である荷室にアクセスするためのリアゲート10を有する。リアゲート10は、その上縁部分が一対のヒンジ部材6により、車体2のルーフ部分に取り付けられている。
リアゲート10を開くと、図1に示すように、自動車1の車体2に後部開口4が現れる。乗員は、後部開口4から荷室の荷物を出し入れすることができる。また、乗員は、開いているリアゲート10を引き下げる。これにより、リアゲート10は、図2のように閉じる。自動車1の車体2の後部開口4は、閉塞される。荷室の荷物は、後部開口4から脱落しない。
このようにリアゲート10は、自動車1の後部開口4に対して開閉可能に設けられる。
リアゲート10を開くと、図1に示すように、自動車1の車体2に後部開口4が現れる。乗員は、後部開口4から荷室の荷物を出し入れすることができる。また、乗員は、開いているリアゲート10を引き下げる。これにより、リアゲート10は、図2のように閉じる。自動車1の車体2の後部開口4は、閉塞される。荷室の荷物は、後部開口4から脱落しない。
このようにリアゲート10は、自動車1の後部開口4に対して開閉可能に設けられる。
図3は、図1のリアゲート10を平らに展開した模式的な説明図である。図3の模式的なリアゲート10は、図1の自動車1の後方から見たものである。
図4は、図3の模式的なリアゲート10の開閉動作を説明するための側面図である。
図3以降の図面において、前後左右上下の各方向は、図2のようにリアゲート10を閉じた状態について示している。
図3および図4に示すように、リアゲート10は、インナパネル11と、インナパネル11の外側に重ね合わされるアウタパネル12と、を有する。
図4は、図3の模式的なリアゲート10の開閉動作を説明するための側面図である。
図3以降の図面において、前後左右上下の各方向は、図2のようにリアゲート10を閉じた状態について示している。
図3および図4に示すように、リアゲート10は、インナパネル11と、インナパネル11の外側に重ね合わされるアウタパネル12と、を有する。
インナパネル11とアウタパネル12とは、自動車1の後部開口4を閉塞できるように、図3および図4に示すように略四角形の外形の鋼板を用いて、後部開口4に沿った外形に形成される。特に、アウタパネル12は、自動車1の外表面に露出し、自動車1の意匠を構成する。インナパネル11とアウタパネル12とは、一般的にプレス加工により所望の押し出し形状に成形される。インナパネル11の外周縁部とアウタパネル12の外周縁部とは重ね合わされ、接着剤により貼りあわされてよい。アウタパネル12の外周縁部は、インナパネル11の外周縁部の外側で折り曲げられて、折り曲げられた部分により、インナパネル11の外周縁部を把持してよい。このような構造で重ね合わされるインナパネル11とアウタパネル12とは、リアゲート10に求められている基本的な剛性を得ることが可能である。一対のヒンジ部材6は、基本的に、略四角形の鋼板のインナパネル11の上縁部に取り付けられてよい。これにより、一対のヒンジ部材6は、リアゲート10を閉じた状態で、図2に示すように、アウタパネル12により覆うことができる。
リアゲート10の上部には、略四角形の外形の鋼板を押し出し形状に成形してなるインナパネル11の上部とアウタパネル12の上部とを貫通させることにより、開口13が形成される。リアゲート10の上部の開口13には、リアガラス18が、たとえばアウタパネル12の外側から嵌め込まれる。なお、インナパネル11とアウタパネル12とは、開口13の周囲においても重ね合わされ、接着剤により貼りあわされてよい。また、アウタパネル12の開口縁部は、インナパネル11の開口縁部の内側で折り曲げられて、折り曲げられた部分によりインナパネル11の開口縁部を把持してよい。これにより、インナパネル11とアウタパネル12とは、それらの上部に大きな開口13が形成されているとしても、それらの上部の形状を保つための最低限の剛性を得ることが可能になる。
リアゲート10のアウタパネル12の下部には、略四角形の平板状のライセンスプレート22を取り付けるための取付面部15が形成される。取付面部15は、後述するように、自動車1が登録される複数の国でのライセンスプレート22が取り付け可能となるように、複数種類のライセンスプレート22,23より大きい平面状に形成するとよい。また、各国の法規では、ライセンスプレートを取り付けるための取付面部15は、ライセンスプレートの視認性の確保などのために、基本的に平面にすることが求められている。なお、特定の国では、発光機能を有するライセンスプレートが法規において許容されている国がある。また、取付面部15には、将来的には、自動運転状態や速度といった走行状態を、点灯状態の変化により表示可能な表示部材が取り付けられる可能性がある。
取付面部15は、たとえばアウタパネル12をプレス加工により押し出し成形することにより、アウタパネル12に形成されてよい。本実施形態の取付面部15の周囲には、プレス加工での押し出し成形により湾曲してなる枠部16が形成されている。そして、取付面部15は、アウタパネル12についての取付面部15以外の残部と比べて、自動車1の前方向へ窪んだ状態で、アウタパネル12に形成されている。取付面部15は、その周囲に湾曲してなる枠部16が形成されることにより、アウタパネル12を補剛するように機能し得る。このような取付面部15が形成されることにより、アウタパネル12は、その全体において振動し難くなることが期待できる。
リアゲート10のアウタパネル12についての、リアガラス18のための開口13と取付面部15との間である、上下方向の中央部には、横断カバー部材14が設けられる。横断カバー部材14は、アウタパネル12の上下方向の中央部において、アウタパネル12の左右方向の全幅に渡って横長に設けられる。横長の横断カバー部材14は、図2に示すように、左右のリアランプ部材19の間に渡るように設けられる。横断カバー部材14は、左右のリアランプ部材19と一体的な意匠を形成する。なお、横断カバー部材14には、左右のリアランプ部材19と連動して点灯可能な不図示の点灯部材や、取付面部15に取り付けられるライセンスプレート22を照らすための不図示の点灯部材などが設けられてよい。
リアゲート10の下縁の中央部分には、車体2に設けられるラッチ受け部材7と係合可能なラッチ部材8が設けられる。また、車体2には、リアゲート10の左縁部分または右縁部分と当接する左右一対の弾性部材20が設けられる。
これによりヒンジ部材6の周囲で回動するリアゲート10は、ラッチ部材8がラッチ受け部材7と係合し、かつ、リアゲート10の左縁部分および右縁部分が左右一対の弾性部材20と当接する状態において、車体2に対して閉じることができる。閉じられているリアゲート10は、車体2に対してガタついたり、車体2に対して振動したりし難くなる。リアゲート10の全体が振動することによる異音は、発生し難くなることが期待できる。
これによりヒンジ部材6の周囲で回動するリアゲート10は、ラッチ部材8がラッチ受け部材7と係合し、かつ、リアゲート10の左縁部分および右縁部分が左右一対の弾性部材20と当接する状態において、車体2に対して閉じることができる。閉じられているリアゲート10は、車体2に対してガタついたり、車体2に対して振動したりし難くなる。リアゲート10の全体が振動することによる異音は、発生し難くなることが期待できる。
次に、ライセンスプレート22の法規に則った一般的な取付面部15について説明する。
図5は、リアゲート10のアウタパネル12に形成される一般的な平面状の取付面部15の縦断面図である。
図6は、図5の一般的な平面状の取付面部15に、表示部材としての平板状のライセンスプレート22を取り付けた状態を示す縦断面図である。
図5および図6に示すように、法規に則った取付面部15は、平面状に形成される。平面状の取付面部15の周囲には、プレス加工での押し出し成形により湾曲してなる枠部16が形成されている。
図6は、図5の一般的な平面状の取付面部15に、表示部材としての平板状のライセンスプレート22を取り付けた状態を示す縦断面図である。
図5および図6に示すように、法規に則った取付面部15は、平面状に形成される。平面状の取付面部15の周囲には、プレス加工での押し出し成形により湾曲してなる枠部16が形成されている。
このように取付面部15が平面状に形成されている場合、図5に示すように、平面状の取付面部15は、取付面部15の全体において、振動する可能性がある。たとえば自動車1がアイドリングしている場合、自動車1が走行している場合、開いていたリアゲート10を閉じる場合、などにおいて、平面状の取付面部15は、振動する可能性がある。この平面状の取付面部15の振動は、インナパネル11とアウタパネル12とが重ね合わされてなるリアゲート10において増幅されて、自動車1の車室3に伝わる可能性がある。車室3に伝わった音は、異音として、自動車1の乗員に可聴され得る。乗員は、リアゲート10からの所謂こもり音を可聴する可能性がある。
なお、取付面部15は、基本的に、略四角形の平面状となるように枠部16により囲われる。この場合、平面状の取付面部15は、たとえば、略四角形の対角の長さに対応する固有周波数、図5のように略四角形の上縁から下縁までの長さに対応する固有周波数、略四角形の右縁から左縁までの長さに対応する固有周波数について共振し易いと考えられる。平面状の取付面部15は、いずれかの固有周波数の振動が入力されると、上述する各方向の軸において共振して振動し、取付面部15の全体において大きく振動し易くなると考えられる。
なお、取付面部15は、基本的に、略四角形の平面状となるように枠部16により囲われる。この場合、平面状の取付面部15は、たとえば、略四角形の対角の長さに対応する固有周波数、図5のように略四角形の上縁から下縁までの長さに対応する固有周波数、略四角形の右縁から左縁までの長さに対応する固有周波数について共振し易いと考えられる。平面状の取付面部15は、いずれかの固有周波数の振動が入力されると、上述する各方向の軸において共振して振動し、取付面部15の全体において大きく振動し易くなると考えられる。
このような対策のために、たとえば、リアゲート10を構成するインナパネル11の一部を、アウタパネル12へ向けて伸ばして、アウタパネル12に連結することが考えられる。これにより、リアゲート10のアウタパネル12に形成される略平面状の取付面部15の振動を抑制することが期待できる。しかしながら、この対策を実施するためには、インナパネル11などについての特別な追加の加工が必要になる。
この他にもたとえば、インナパネル11とアウタパネル12との間にリンフォースを介在させることが考えられる。これにより、リアゲート10のアウタパネル12に形成される略平面状の取付面部15の振動を抑制することが期待できる。しかしながら、この対策を実施するためには、インナパネル11とアウタパネル12との間にリンフォースを介在させるための工程が必要になる。
そして、いずれの対策の場合においても、自動車1のリアゲート10の構造は、複雑化する。また、リアゲート10は重くなり得る。
この他にもたとえば、インナパネル11とアウタパネル12との間にリンフォースを介在させることが考えられる。これにより、リアゲート10のアウタパネル12に形成される略平面状の取付面部15の振動を抑制することが期待できる。しかしながら、この対策を実施するためには、インナパネル11とアウタパネル12との間にリンフォースを介在させるための工程が必要になる。
そして、いずれの対策の場合においても、自動車1のリアゲート10の構造は、複雑化する。また、リアゲート10は重くなり得る。
また、平面状の取付面部15に対して、平板状のライセンスプレート22を取り付ける場合、図6に示すように、平板状のライセンスプレート22は、振動する可能性がある。たとえば自動車1がアイドリングしている場合、自動車1が走行している場合、開いていたリアゲート10を閉じた場合、などにおいて、平板状のライセンスプレート22は、振動する可能性がある。この平板状のライセンスプレート22の振動は、インナパネル11とアウタパネル12とが重ね合わされてなるリアゲート10において増幅されて、自動車1の車室3に伝わる可能性がある。車室3に伝わった音は、異音として、自動車1の乗員に可聴され得る。乗員は、リアゲート10からの所謂ビレ音を可聴する可能性がある。
そして、この場合においても、上述した2種類の対策により、乗員に可聴されるビレ音を抑制することが期待し得る。
しかしながら、上述した2種類の対策は、平板状のライセンスプレート22そのものの振動発生を抑制できるものではない。
また、上述した2種類のいずれの対策の場合においても、自動車1のリアゲート10の構造が複雑化し、リアゲート10が重くなり得る。
そして、この場合においても、上述した2種類の対策により、乗員に可聴されるビレ音を抑制することが期待し得る。
しかしながら、上述した2種類の対策は、平板状のライセンスプレート22そのものの振動発生を抑制できるものではない。
また、上述した2種類のいずれの対策の場合においても、自動車1のリアゲート10の構造が複雑化し、リアゲート10が重くなり得る。
このように、自動車1のリアゲート10では、自動車1のリアゲート構造の複雑化を抑制しながら、取付面部15やそれに取り付けられるライセンスプレート22などの表示部材の振動を抑制して、リアゲート10からの異音の発生を抑制することが求められている。
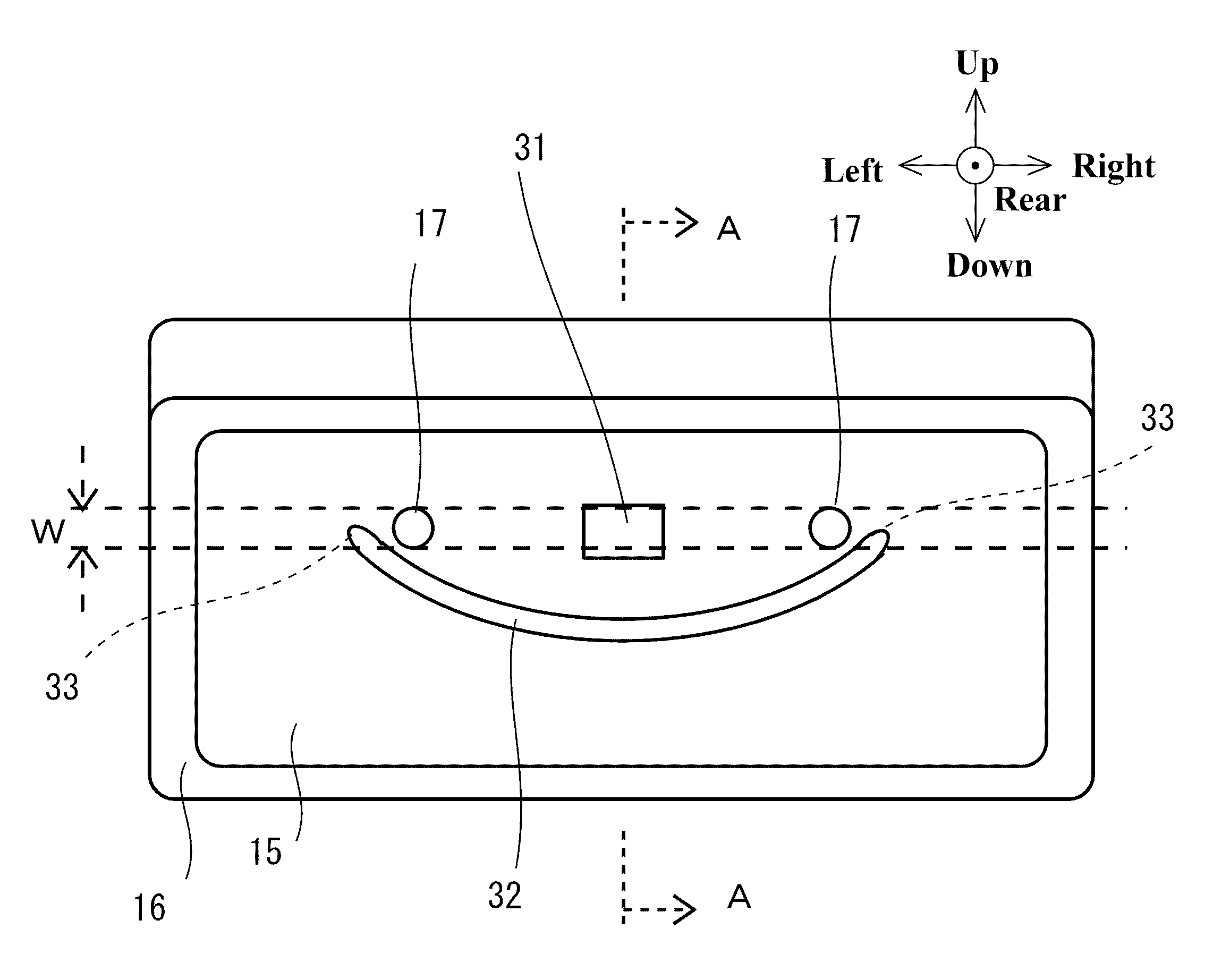
図7は、本実施形態に係る取付面部15の説明図である。図7の取付面部15は、図1の自動車1の後方から見たものである。
図8は、図7の取付面部15についての模式的なA-A縦断面図である。図7のA-A縦断面は、取付面部15についての、左右方向中央における縦断面である。
図8は、図7の取付面部15についての模式的なA-A縦断面図である。図7のA-A縦断面は、取付面部15についての、左右方向中央における縦断面である。
図7および図8に示すように、本実施形態の取付面部15は、アウタパネル12において、基本的に平面状に形成される。平面状の取付面部15の周囲には、プレス加工での押し出し成形により湾曲してなる枠部16が形成されている。
また、取付面部15には、複数の支持孔17とともに、第一ビード部31、第二ビード部32、が形成される。
また、取付面部15には、複数の支持孔17とともに、第一ビード部31、第二ビード部32、が形成される。
支持孔17は、平板状のライセンスプレート22を、アウタパネル12の下部に形成される取付面部15の外面に取り付けるために、アウタパネル12の平面状の取付面部15に開設される孔である。支持孔17は、ネジやビスといった固定部材21を用いて、平板状のライセンスプレート22の孔と共締めされる。これにより、平板状のライセンスプレート22は、取付面部15の外面に支持されるように取り付けられる。
複数の支持孔17は、取付面部15において、少なくとも左右一対にて形成されるとよい。左右一対の支持孔17は、取付面部15において、自動車1の左右方向に沿って並べて形成される。複数の支持孔17は、取付面部15において、左右一対を1組として、複数組が上下に並べて形成されもよい。複数の支持孔17は、自動車1が使用される国に応じて、取付面部15に開設されればよい。
なお、平板状のライセンスプレート22の替わりに、他の表示部材を取付面部15の外面に取り付ける場合でも、複数の支持孔17は、固定部材21を用いて、他の表示部材の孔と共締めされてよい。
また、取付面部15には、複数の支持孔17の替わりに、複数の支持凸部が形成されてもよい。この場合、平板状のライセンスプレート22は、ライセンスプレート22の各孔に各支持凸部を挿入することにより、取付面部15の外面に支持されるように取り付けられ得る。
複数の支持孔17は、取付面部15において、少なくとも左右一対にて形成されるとよい。左右一対の支持孔17は、取付面部15において、自動車1の左右方向に沿って並べて形成される。複数の支持孔17は、取付面部15において、左右一対を1組として、複数組が上下に並べて形成されもよい。複数の支持孔17は、自動車1が使用される国に応じて、取付面部15に開設されればよい。
なお、平板状のライセンスプレート22の替わりに、他の表示部材を取付面部15の外面に取り付ける場合でも、複数の支持孔17は、固定部材21を用いて、他の表示部材の孔と共締めされてよい。
また、取付面部15には、複数の支持孔17の替わりに、複数の支持凸部が形成されてもよい。この場合、平板状のライセンスプレート22は、ライセンスプレート22の各孔に各支持凸部を挿入することにより、取付面部15の外面に支持されるように取り付けられ得る。
第一ビード部31は、アウタパネル12の下部に形成される取付面部15において、左右一対の支持孔17の間に形成される。図7において、第一ビード部31は、左右一対の支持孔17の中央位置において、略四角形に形成されている。
第一ビード部31は、たとえばアウタパネル12をプレス加工などにより押し出し成形する際に、アウタパネル12の取付面部15を押し出して変形させることにより、取付面部15に形成されてよい。
略四角形の第一ビード部31は、図7に示すように、その上下幅が、支持孔17の上下幅Wと同等となるように形成されてよい。
第一ビード部31は、図8に示すように、取付面部15から後方へ向けて突出するように、取付面部15に形成される。これにより、第一ビード部31は、左右一対の支持孔17の間において、取付面部15の外面から突出するように形成されることになる。
第一ビード部31は、たとえばアウタパネル12をプレス加工などにより押し出し成形する際に、アウタパネル12の取付面部15を押し出して変形させることにより、取付面部15に形成されてよい。
略四角形の第一ビード部31は、図7に示すように、その上下幅が、支持孔17の上下幅Wと同等となるように形成されてよい。
第一ビード部31は、図8に示すように、取付面部15から後方へ向けて突出するように、取付面部15に形成される。これにより、第一ビード部31は、左右一対の支持孔17の間において、取付面部15の外面から突出するように形成されることになる。
第二ビード部32は、アウタパネル12の下部に形成される取付面部15において、角を持たないように円弧状に形成される。
第二ビード部32は、アウタパネル12をプレス加工などにより押し出し成形する際に、アウタパネル12の取付面部15を押し出して変形させることにより、取付面部15に形成されてよい。
円弧状の第二ビード部32は、図7に示すように、取付面部15において、左右一対の支持孔17の下側に形成される。円弧状の第二ビード部32は、取付面部15において、左右一対の支持孔17と自動車1の上下方向において並ぶように形成される。
円弧状の第二ビード部32は、円弧状の中央部分を最下端とし、円弧状の両端部33が上方へ延びるように、取付面部15に形成される。第二ビード部32についての円弧状の両端部33は、円弧状の中央部分より、上側に位置する。
そして、左右一対の支持孔17の下側に並ぶように形成される第二ビード部32についての、円弧状の両端部は、左右一対の支持孔17が形成される高さ位置まで延在する。円弧状の第二ビード部32は、左右一対の支持孔17の上下幅Wの範囲に両端が重なるように延在して形成される。なお、円弧状の両端部は、左右一対の支持孔17より上側となる高さ位置まで延在してもよい。
その結果、円弧状の両端部は、取付面部15において、左右一対の支持孔17についての左右両外側に位置することになる。
また、円弧状の第二ビード部32は、少なくとも左側の支持孔17から右側の支持孔17までの左右方向の幅に渡って延在するように形成されることになる。
第二ビード部32は、図8に示すように、取付面部15から前方へ向けて突出するように、取付面部15に形成される。これにより、第二ビード部32は、取付面部15の外面から突出しないように形成されることになる。
第二ビード部32は、アウタパネル12をプレス加工などにより押し出し成形する際に、アウタパネル12の取付面部15を押し出して変形させることにより、取付面部15に形成されてよい。
円弧状の第二ビード部32は、図7に示すように、取付面部15において、左右一対の支持孔17の下側に形成される。円弧状の第二ビード部32は、取付面部15において、左右一対の支持孔17と自動車1の上下方向において並ぶように形成される。
円弧状の第二ビード部32は、円弧状の中央部分を最下端とし、円弧状の両端部33が上方へ延びるように、取付面部15に形成される。第二ビード部32についての円弧状の両端部33は、円弧状の中央部分より、上側に位置する。
そして、左右一対の支持孔17の下側に並ぶように形成される第二ビード部32についての、円弧状の両端部は、左右一対の支持孔17が形成される高さ位置まで延在する。円弧状の第二ビード部32は、左右一対の支持孔17の上下幅Wの範囲に両端が重なるように延在して形成される。なお、円弧状の両端部は、左右一対の支持孔17より上側となる高さ位置まで延在してもよい。
その結果、円弧状の両端部は、取付面部15において、左右一対の支持孔17についての左右両外側に位置することになる。
また、円弧状の第二ビード部32は、少なくとも左側の支持孔17から右側の支持孔17までの左右方向の幅に渡って延在するように形成されることになる。
第二ビード部32は、図8に示すように、取付面部15から前方へ向けて突出するように、取付面部15に形成される。これにより、第二ビード部32は、取付面部15の外面から突出しないように形成されることになる。
そして、このような円弧状の第二ビード部32が形成されることにより、平面状の取付面部15の剛性が高まり、取付面部15は、その全体が振動することが起き難くなる。
特に、本実施形態の第二ビード部32は、角のない円弧状に形成されている。これにより、平面状の取付面部15は、その略四角形の対角方向の軸、左右方向の軸、および、上下方向の軸において全体的に振動してしまうことが起き難くなる。
これに対し、仮にたとえば、第二ビード部32が左右方向の直線状に形成されている場合、第二ビード部32は、平面状の取付面部15が上下方向の軸において全体的に振動してしまうことを抑制し難い。
この他にもたとえば、第二ビード部32が上下方向の直線状に形成されている場合、第二ビード部32は、平面状の取付面部15が左右方向の軸において全体的に振動してしまうことを抑制し難い。
この他にもたとえば、第二ビード部32がV字形状に形成されている場合、第二ビード部32は、平面状の取付面部15が全体的に振動してしまうことを抑制し得る可能性があるが、V字の下角部分と取付面部15の周縁部分との距離に対応する固有振動数について共振し易くなる可能性がある。この場合、平面状の取付面部15は、上述したものとは異なる周波数で振動し易くなる可能性がある。
特に、本実施形態の第二ビード部32は、角のない円弧状に形成されている。これにより、平面状の取付面部15は、その略四角形の対角方向の軸、左右方向の軸、および、上下方向の軸において全体的に振動してしまうことが起き難くなる。
これに対し、仮にたとえば、第二ビード部32が左右方向の直線状に形成されている場合、第二ビード部32は、平面状の取付面部15が上下方向の軸において全体的に振動してしまうことを抑制し難い。
この他にもたとえば、第二ビード部32が上下方向の直線状に形成されている場合、第二ビード部32は、平面状の取付面部15が左右方向の軸において全体的に振動してしまうことを抑制し難い。
この他にもたとえば、第二ビード部32がV字形状に形成されている場合、第二ビード部32は、平面状の取付面部15が全体的に振動してしまうことを抑制し得る可能性があるが、V字の下角部分と取付面部15の周縁部分との距離に対応する固有振動数について共振し易くなる可能性がある。この場合、平面状の取付面部15は、上述したものとは異なる周波数で振動し易くなる可能性がある。
図9は、図7の取付面部15に、表示部材としての平板状のライセンスプレート22を取り付けた状態の説明図である。
図10は、図9の取付面部15および平板状のライセンスプレート22についての一例の模式的なB-B縦断面図である。図9のB-B縦断面は、取付面部15についての、左右方向中央での縦断面である。
図11は、図9の取付面部15および平板状のライセンスプレート22についての一例の模式的なC-C横断面図である。図9のC-C縦断面は、取付面部15についての、左右一対の支持孔17が形成される高さ位置での横縦断である。
図10は、図9の取付面部15および平板状のライセンスプレート22についての一例の模式的なB-B縦断面図である。図9のB-B縦断面は、取付面部15についての、左右方向中央での縦断面である。
図11は、図9の取付面部15および平板状のライセンスプレート22についての一例の模式的なC-C横断面図である。図9のC-C縦断面は、取付面部15についての、左右一対の支持孔17が形成される高さ位置での横縦断である。
図9には、日本国のライセンスプレート22が、取付面部15に取り付けられている。欧州の各国でのライセンスプレート23には、図9において破線で示すように、日本国のライセンスプレート22と比べて、上下方向の縦幅が狭く、かつ、左右方向の横幅が広いものが多い。そして、これらのライセンスプレート22,23は、共通する左右一対の支持孔17により、取付面部15の外面に取り付けることが可能である。この場合、取付面部15は、左右方向の幅が、欧州の各国でのライセンスプレート23の横幅より広く、かつ、上下方向の幅が、日本国のライセンスプレート22の縦幅より広くなるサイズに形成することが望まれる。
図7から図11に示す取付面部15は、互いに外形が異なる複数のライセンスプレート22,23を取り付け可能な大きなサイズに形成されている。
図7から図11に示す取付面部15は、互いに外形が異なる複数のライセンスプレート22,23を取り付け可能な大きなサイズに形成されている。
そして、本実施形態において、左右一対の支持孔17の中央位置に形成される第一ビード部31は、欧州の各国でのライセンスプレート22および日本国のライセンスプレート22により共に覆われる範囲内に収まるように、取付面部15に形成される。
また、第一ビード部31の下側に形成される円弧状の第二ビード部32は、欧州の各国でのライセンスプレート22および日本国のライセンスプレート22により共に覆われる範囲内に収まるように、取付面部15に形成される。
このように第一ビード部31と第二ビード部32とは、取付面部15についての、複数のライセンスプレート22により重複して覆われる範囲内に、形成される。
また、第一ビード部31の下側に形成される円弧状の第二ビード部32は、欧州の各国でのライセンスプレート22および日本国のライセンスプレート22により共に覆われる範囲内に収まるように、取付面部15に形成される。
このように第一ビード部31と第二ビード部32とは、取付面部15についての、複数のライセンスプレート22により重複して覆われる範囲内に、形成される。
このように、本実施形態の平面状の取付面部15には、第一ビード部31と第二ビード部32とが形成される。本実施形態の平面状の取付面部15は、図5のものと比べて、取付面部15の全体において湾曲して振動することが起き難くなる。
また、第一ビード部31は、図10の縦断面に示すように、左右一対の支持孔17の間において、取付面部15の外面から後方へ向けて突出するように形成される。このため、第一ビード部31は、左右一対の支持孔17の間において、取付面部15に取り付けられているライセンスプレート22の裏面(前面)に当たる。
そして、左右一対の支持孔17に対して固定部材21を用いて共締めされるライセンスプレート22は、図11に示すように、微妙に湾曲し得る。なお、平板状のライセンスプレート22についての左右方向での湾曲の程度は、第一ビード部31についての取付面部15からの突出高さ(前後方向での高さ)により調整することができる。平板状のライセンスプレート22は、取付面部15に取り付けられている状態において、左右一対の支持孔17において支持されるだけでなく、それらの間において第一ビード部31と密着して支持され得る。平板状のライセンスプレート22は、取付面部15に対して、微小に湾曲した状態で取り付けられることにより、その全体が振動することが起き難くなる。平板状のライセンスプレート22は、図6の取り付け状態と比べて、全体が振動し難くなる。
そして、左右一対の支持孔17に対して固定部材21を用いて共締めされるライセンスプレート22は、図11に示すように、微妙に湾曲し得る。なお、平板状のライセンスプレート22についての左右方向での湾曲の程度は、第一ビード部31についての取付面部15からの突出高さ(前後方向での高さ)により調整することができる。平板状のライセンスプレート22は、取付面部15に取り付けられている状態において、左右一対の支持孔17において支持されるだけでなく、それらの間において第一ビード部31と密着して支持され得る。平板状のライセンスプレート22は、取付面部15に対して、微小に湾曲した状態で取り付けられることにより、その全体が振動することが起き難くなる。平板状のライセンスプレート22は、図6の取り付け状態と比べて、全体が振動し難くなる。
また、第二ビード部32は、取付面部15に取り付けられた平板状のライセンスプレート22により、外部から視認できないように覆われる。取付面部15に取り付けられた平板状のライセンスプレート22の周囲には、取付面部15についての平面状の部分のみが露出する。平板状のライセンスプレート22の周辺の視認状態は、取付面部15に対して第一ビード部31や第二ビード部32が形成されていない場合と同様になる。
このように、平板状のライセンスプレート22は、第一ビード部31が裏面(前面)に当たることにより、振動し難くなる。平板状のライセンスプレート22は、左右一対の支持孔17および第一ビード部31により、平面状の取付面部15の上において振動し難くなるようにしっかりと固定される。
また、平面状の取付面部15についての、平板状のライセンスプレート22に覆われる範囲には、円弧状の第二ビード部32が全体的に形成される。
これにより、図10の縦断面に示すように、平面状の取付面部15とその上に取り付けられる平板状のライセンスプレート22の下端とが近接していたとしても、これらが当接することは極めて起き難くなると期待できる。
また、平面状の取付面部15についての、平板状のライセンスプレート22に覆われる範囲には、円弧状の第二ビード部32が全体的に形成される。
これにより、図10の縦断面に示すように、平面状の取付面部15とその上に取り付けられる平板状のライセンスプレート22の下端とが近接していたとしても、これらが当接することは極めて起き難くなると期待できる。
以上のように、本実施形態では、自動車1の表示部材としての平板状のライセンスプレート22を取り付けるための取付面部15に、少なくとも左右一対にて形成される複数の支持孔17とともに、第一ビード部31と、第二ビード部32とを形成する。そして、第一ビード部31は、取付面部15の左右一対の支持孔17の間に形成される。また、第二ビード部32は、少なくとも左側の支持孔17から右側の支持孔17までの幅に渡って延在するように形成される。
これにより、本実施形態において、取付面部15または取付面部15に取り付けられる表示部材は、振動し難くなり、それらが振動することにより生じ得る異音が発生し難くなることが期待できる。その結果、本実施形態では、リアゲート10からの異音の発生を抑制することが期待できる。
しかも、本実施形態において、第一ビード部31は、アウタパネル12をプレス加工により押し出し成形する際に、アウタパネル12の取付面部15を押し出して変形させることにより、取付面部15に形成される。また、第二ビード部32は、アウタパネル12をプレス加工により押し出し成形する際に、アウタパネル12の取付面部15を押し出して変形させることにより、取付面部15に形成される。このように本実施形態では、アウタパネル12をプレス加工により押し出し成形する際に、アウタパネル12に形成される略平面状の取付面部15そのものを変形させることにより、第一ビード部31と、第二ビード部32とを取付面部15に形成する。このため、取付面部15またはそれに取り付けられている表示部材が振動することを抑制するために、たとえばインナパネル11の一部をアウタパネル12まで延在させてアウタパネル12に連結するように加工したり、インナパネル11とアウタパネル12との間にリンフォースなどの補剛部材を介在させたり、する必要性がない。本実施形態では、アウタパネル12をプレス加工により押し出し成形するだけで、取付面部15に第一ビード部31と第二ビード部32とを形成し、取付面部15または取付面部15に取り付けられている表示部材の振動を抑制し得る。本実施形態は、自動車1のリアゲート10の構造についての複雑化を抑制しながら、取付面部15やそれに取り付けられる表示部材の振動を抑制して、リアゲート10からの異音の発生を抑制することが期待できる。
これにより、本実施形態において、取付面部15または取付面部15に取り付けられる表示部材は、振動し難くなり、それらが振動することにより生じ得る異音が発生し難くなることが期待できる。その結果、本実施形態では、リアゲート10からの異音の発生を抑制することが期待できる。
しかも、本実施形態において、第一ビード部31は、アウタパネル12をプレス加工により押し出し成形する際に、アウタパネル12の取付面部15を押し出して変形させることにより、取付面部15に形成される。また、第二ビード部32は、アウタパネル12をプレス加工により押し出し成形する際に、アウタパネル12の取付面部15を押し出して変形させることにより、取付面部15に形成される。このように本実施形態では、アウタパネル12をプレス加工により押し出し成形する際に、アウタパネル12に形成される略平面状の取付面部15そのものを変形させることにより、第一ビード部31と、第二ビード部32とを取付面部15に形成する。このため、取付面部15またはそれに取り付けられている表示部材が振動することを抑制するために、たとえばインナパネル11の一部をアウタパネル12まで延在させてアウタパネル12に連結するように加工したり、インナパネル11とアウタパネル12との間にリンフォースなどの補剛部材を介在させたり、する必要性がない。本実施形態では、アウタパネル12をプレス加工により押し出し成形するだけで、取付面部15に第一ビード部31と第二ビード部32とを形成し、取付面部15または取付面部15に取り付けられている表示部材の振動を抑制し得る。本実施形態は、自動車1のリアゲート10の構造についての複雑化を抑制しながら、取付面部15やそれに取り付けられる表示部材の振動を抑制して、リアゲート10からの異音の発生を抑制することが期待できる。
また、本実施形態において、第一ビード部31は、左右一対の支持孔17の間となる位置において、取付面部15の外面から突出するように形成される。
これにより、本実施形態では、取付面部15の外面から突出する第一ビード部31は、左右一対の支持孔17の間となる位置において、左右一対の支持孔17により取付面部15の外面に取り付けられる表示部材に対して当接することができる。表示部材は、取付面部15の外面に取り付けられた状態で、ガタつかないようにしっかりと支持され得る。表示部材は、第一ビード部31により押圧された状態で、左右一対の支持孔17に取り付けられることで、取付面部15の面状に載せるように取り付けられる場合よりもしっかりと支持され得る。表示部材がガタつくことに起因するビレ音などの異音の発生を効果的に抑制することが期待できる。
また、第一ビード部31とともに、左側の支持孔17から右側の支持孔17までの幅に渡って延在するように形成される第二ビード部32が設けられているため、第一ビード部31が左右一対の支持孔17の間において表示部材に当接していたとしても、取付面部15は、その本来の略平面状の形状を維持することができる。
これにより、本実施形態では、取付面部15の外面から突出する第一ビード部31は、左右一対の支持孔17の間となる位置において、左右一対の支持孔17により取付面部15の外面に取り付けられる表示部材に対して当接することができる。表示部材は、取付面部15の外面に取り付けられた状態で、ガタつかないようにしっかりと支持され得る。表示部材は、第一ビード部31により押圧された状態で、左右一対の支持孔17に取り付けられることで、取付面部15の面状に載せるように取り付けられる場合よりもしっかりと支持され得る。表示部材がガタつくことに起因するビレ音などの異音の発生を効果的に抑制することが期待できる。
また、第一ビード部31とともに、左側の支持孔17から右側の支持孔17までの幅に渡って延在するように形成される第二ビード部32が設けられているため、第一ビード部31が左右一対の支持孔17の間において表示部材に当接していたとしても、取付面部15は、その本来の略平面状の形状を維持することができる。
また、本実施形態において、第二ビード部32は、取付面部15において、左右一対の支持孔17と自動車1の上下方向において並ぶように、角を持たないように円弧状に形成される。そして、第二ビード部32についての円弧状の両端部33は、取付面部15において、左右一対の支持孔17についての左右両外側に位置する。第二ビード部32についての円弧状の両端部33は、左右一対の支持孔17の上下幅Wの範囲において、左右一対の支持孔17の左右両外側に位置する。
これにより、本実施形態では、第二ビード部32は、取付面部15の全体が、自動車1の左右方向の軸において振動してしまうことを抑制するだけでなく、その他の方向の軸、たとえば自動車1の上下方向の軸において振動してしまうことを抑制できる。取付面部15が振動することによるこもり音の発生を効果的に抑制することが期待できる。リアゲート10を、プレス加工により成形されるインナパネル11とプレス加工により成形されるアウタパネル12とを重ね合わせて形成して、リアゲート10の内部空間において異音が増幅され得る構造となっていたとしても、取付面部15が振動することに起因するリアゲート10からのこもり音などの異音の発生を効果的に抑制することが期待できる。
これに対し、仮にたとえば第二ビード部32が、たとえば単に左右方向に直線状に形成されたり、V字形状に形成されたりしている場合、取付面部15は、自動車1の上下方向の軸において振動したり、V字の折れ曲がり部分を基点として折れ曲がるように振動したりしてしまう能性がある。この場合、第二ビード部32を設けない場合とは異なる振動により、リアゲート10からのこもり音などの異音が発生してしまう可能性がある。
特に、本実施形態では、第二ビード部32についての円弧状の両端が、左右一対の支持孔17についての左右両外側に位置する。これにより、自動車1の上下方向において、左右一対の支持孔17と第二ビード部32とは離間しないようになる。取付面部15は、左右一対の支持孔17と、それと上下に並んで形成される第二ビード部32との間において折れ曲がるように変形し難くなる。取付面部15の振動は、より一層効果的に抑制し得る。リアゲート10からのこもり音などの異音の発生も、より効果的に抑制し得る。
これにより、本実施形態では、第二ビード部32は、取付面部15の全体が、自動車1の左右方向の軸において振動してしまうことを抑制するだけでなく、その他の方向の軸、たとえば自動車1の上下方向の軸において振動してしまうことを抑制できる。取付面部15が振動することによるこもり音の発生を効果的に抑制することが期待できる。リアゲート10を、プレス加工により成形されるインナパネル11とプレス加工により成形されるアウタパネル12とを重ね合わせて形成して、リアゲート10の内部空間において異音が増幅され得る構造となっていたとしても、取付面部15が振動することに起因するリアゲート10からのこもり音などの異音の発生を効果的に抑制することが期待できる。
これに対し、仮にたとえば第二ビード部32が、たとえば単に左右方向に直線状に形成されたり、V字形状に形成されたりしている場合、取付面部15は、自動車1の上下方向の軸において振動したり、V字の折れ曲がり部分を基点として折れ曲がるように振動したりしてしまう能性がある。この場合、第二ビード部32を設けない場合とは異なる振動により、リアゲート10からのこもり音などの異音が発生してしまう可能性がある。
特に、本実施形態では、第二ビード部32についての円弧状の両端が、左右一対の支持孔17についての左右両外側に位置する。これにより、自動車1の上下方向において、左右一対の支持孔17と第二ビード部32とは離間しないようになる。取付面部15は、左右一対の支持孔17と、それと上下に並んで形成される第二ビード部32との間において折れ曲がるように変形し難くなる。取付面部15の振動は、より一層効果的に抑制し得る。リアゲート10からのこもり音などの異音の発生も、より効果的に抑制し得る。
また、本実施形態において、取付面部15は、アウタパネル12をプレス加工により押し出し成形することにより、アウタパネル12に形成されている。
この場合、アウタパネル12についての取付面部15の周囲には、プレス加工による押し出し成形により湾曲した枠部16が形成され得る。そして、取付面部15は、アウタパネル12についての取付面部15以外の残部と比べて、自動車1の前方向へ窪んだ面となるように、アウタパネル12に形成される。取付面部15は、アウタパネル12を補剛するように機能し得る。アウタパネル12は、その全体において振動し難くなる。
しかも、本実施形態では、このような独立性が高い面構造となる取付面部15についての振動を、第一ビード部31および第二ビード部32により抑制することができる。
その結果、本実施形態では、アウタパネル12が振動することにより乗員に可聴される異音を、効果的に抑制することが期待できる。
この場合、アウタパネル12についての取付面部15の周囲には、プレス加工による押し出し成形により湾曲した枠部16が形成され得る。そして、取付面部15は、アウタパネル12についての取付面部15以外の残部と比べて、自動車1の前方向へ窪んだ面となるように、アウタパネル12に形成される。取付面部15は、アウタパネル12を補剛するように機能し得る。アウタパネル12は、その全体において振動し難くなる。
しかも、本実施形態では、このような独立性が高い面構造となる取付面部15についての振動を、第一ビード部31および第二ビード部32により抑制することができる。
その結果、本実施形態では、アウタパネル12が振動することにより乗員に可聴される異音を、効果的に抑制することが期待できる。
また、本実施形態において、取付面部15は、互いに外形が異なる複数のライセンスプレート22を取り付け可能なサイズに形成されている。そして、第一ビード部31は、取付面部15についての、複数のライセンスプレート22により重複して覆われる範囲内に、形成される。また、第二ビード部32は、取付面部15についての、複数のライセンスプレート22により重複して覆われる範囲内に、形成される。
このように、第一ビード部31および第二ビード部32は、取付面部15についての、複数のライセンスプレート22により重複して覆われる範囲内に、形成される。第一ビード部31または第二ビード部32は、取付面部15に取り付けたライセンスプレート22の周囲に部分的に露出し難くなる。各国のライセンスプレート22は、各々の国の取り付け基準に適合した状態で、取付面部15に取り付けることができる。
このように、第一ビード部31および第二ビード部32は、取付面部15についての、複数のライセンスプレート22により重複して覆われる範囲内に、形成される。第一ビード部31または第二ビード部32は、取付面部15に取り付けたライセンスプレート22の周囲に部分的に露出し難くなる。各国のライセンスプレート22は、各々の国の取り付け基準に適合した状態で、取付面部15に取り付けることができる。
以上の実施形態は、本発明の好適な実施形態の例であるが、本発明は、これに限定されるものではなく、発明の要旨を逸脱しない範囲において種々の変形または変更が可能である。
図12は、図7の取付面部15の変形例の説明図である。図12の取付面部15は、図1の自動車1の後方から見たものである。
図12において、円弧状の第二ビード部32は、図7または図9に示す場合より、上下方向に長く形成されている。
そして、図12の取付面部15には、日本国のライセンスプレート22が取り付けられている。
この場合であっても、取付面部15に形成される第二ビード部32は、第一ビード部31とともに、日本国のライセンスプレート22により外部から視認できないように覆われる。取付面部15に取り付けられた日本国のライセンスプレート22の周囲には、取付面部15についての平面状の部分のみが露出する。平板状のライセンスプレート22の周辺の視認状態は、取付面部15に対して第一ビード部31や第二ビード部32が形成されていない場合と同様になる。
図12において、円弧状の第二ビード部32は、図7または図9に示す場合より、上下方向に長く形成されている。
そして、図12の取付面部15には、日本国のライセンスプレート22が取り付けられている。
この場合であっても、取付面部15に形成される第二ビード部32は、第一ビード部31とともに、日本国のライセンスプレート22により外部から視認できないように覆われる。取付面部15に取り付けられた日本国のライセンスプレート22の周囲には、取付面部15についての平面状の部分のみが露出する。平板状のライセンスプレート22の周辺の視認状態は、取付面部15に対して第一ビード部31や第二ビード部32が形成されていない場合と同様になる。
上述した実施形態では、平面状の取付面部15には、第一ビード部31が1つで形成されている。
この他にもたとえば、平面状の取付面部15には、複数の第一ビード部31が形成されてもよい。複数の第一ビード部31は、たとえば左右一対の支持孔17の間に並べて設けられてよい。
また、上述した実施形態では、第一ビード部31は、取付面部15から後方へ向けて突出するように形成されている。
この他にもたとえば、第一ビード部31は、取付面部15から前方へ向けて突出するように形成されてもよい。
複数の第一ビード部31は、取付面部15から後方へ向けて突出するように形成されるものと、取付面部15から前方へ向けて突出するように形成されるものとを組み合わせて形成されてもよい。
この他にもたとえば、平面状の取付面部15には、複数の第一ビード部31が形成されてもよい。複数の第一ビード部31は、たとえば左右一対の支持孔17の間に並べて設けられてよい。
また、上述した実施形態では、第一ビード部31は、取付面部15から後方へ向けて突出するように形成されている。
この他にもたとえば、第一ビード部31は、取付面部15から前方へ向けて突出するように形成されてもよい。
複数の第一ビード部31は、取付面部15から後方へ向けて突出するように形成されるものと、取付面部15から前方へ向けて突出するように形成されるものとを組み合わせて形成されてもよい。
上述した実施形態では、平面状の取付面部15には、円弧状の第二ビード部32が1つで形成されている。
この他にもたとえば、平面状の取付面部15には、複数の第二ビード部32が形成されてもよい。複数の第二ビード部32は、たとえば左右一対の支持孔17の上下に分けて設けられてよい。
また、上述した実施形態では、第二ビード部32は、取付面部15から前方へ向けて突出するように形成されている。
この他にもたとえば、第二ビード部32は、取付面部15から後方へ向けて突出するように形成されてもよい。
複数の第二ビード部32は、取付面部15から後方へ向けて突出するように形成されるものと、取付面部15から前方へ向けて突出するように形成されるものとを組み合わせて形成されてもよい。
この他にもたとえば、平面状の取付面部15には、複数の第二ビード部32が形成されてもよい。複数の第二ビード部32は、たとえば左右一対の支持孔17の上下に分けて設けられてよい。
また、上述した実施形態では、第二ビード部32は、取付面部15から前方へ向けて突出するように形成されている。
この他にもたとえば、第二ビード部32は、取付面部15から後方へ向けて突出するように形成されてもよい。
複数の第二ビード部32は、取付面部15から後方へ向けて突出するように形成されるものと、取付面部15から前方へ向けて突出するように形成されるものとを組み合わせて形成されてもよい。
上述した実施形態では、平面状の取付面部15を補剛するために、第一ビード部31と第二ビード部32とを取付面部15に形成している。
これにより、平面状の取付面部15は、基本的に補剛され得るが、場合によってはさらなる補剛構造を組み合わせてもよい。
たとえば、取付面部15そのものに対して第一ビード部31または第二ビード部32を形成することに加えて、さらに、インナパネル11の一部を、アウタパネル12へ向けて伸ばして、アウタパネル12に連結してもよい。
この他にもたとえば、取付面部15そのものに対して第一ビード部31または第二ビード部32を形成することに加えて、さらに、インナパネル11とアウタパネル12との間にリンフォースを介在させてもよい。
これにより、平面状の取付面部15は、基本的に補剛され得るが、場合によってはさらなる補剛構造を組み合わせてもよい。
たとえば、取付面部15そのものに対して第一ビード部31または第二ビード部32を形成することに加えて、さらに、インナパネル11の一部を、アウタパネル12へ向けて伸ばして、アウタパネル12に連結してもよい。
この他にもたとえば、取付面部15そのものに対して第一ビード部31または第二ビード部32を形成することに加えて、さらに、インナパネル11とアウタパネル12との間にリンフォースを介在させてもよい。
1…自動車(車両)、2…車体、3…車室、4…後部開口、6…ヒンジ部材、7…ラッチ受け部材、8…ラッチ部材、10…リアゲート、11…インナパネル、12…アウタパネル、13…開口、14…横断カバー部材、15…取付面部、16…枠部、17…支持孔、18…リアガラス、19…リアランプ部材、20…弾性部材、21…固定部材、22,23…ライセンスプレート(表示部材)、31…第一ビード部、32…第二ビード部、33…両端部
Claims (5)
- インナパネルとアウタパネルとが重ね合わされてなり、車両の後部開口に対して開閉可能に設けられる車両のリアゲートであって、
前記車両の表示部材を取り付けるために、前記アウタパネルに形成される取付面部と、
前記表示部材を前記取付面部に支持するために、前記取付面部に少なくとも左右一対にて形成される複数の支持部と、
前記アウタパネルの前記取付面部を変形させることにより、左右一対の前記支持部の間に形成される第一ビード部と、
前記アウタパネルの前記取付面部を変形させることにより、少なくとも左側の前記支持部から右側の前記支持部までの幅に渡って延在するように形成される第二ビード部と、
を有する、
車両のリアゲート。
- 前記第一ビード部は、左右一対の前記支持部の間において、前記アウタパネルの前記取付面部を変形させることにより、前記取付面部の外面から突出するように形成される、
請求項1記載の、車両のリアゲート。
- 前記第二ビード部は、前記アウタパネルの前記取付面部を変形させることにより、左右一対の前記支持部と前記車両の上下方向において並ぶように、円弧状に形成され、
前記第二ビード部についての円弧状の両端部は、前記取付面部において、左右一対の前記支持部についての左右両外側に位置する、
請求項1または2記載の、車両のリアゲート。
- 前記取付面部は、前記アウタパネルを変形させることにより、前記アウタパネルに形成されている、
請求項3記載の、車両のリアゲート。
- 前記表示部材は、前記車両のライセンスプレートであり、
前記取付面部は、互いに外形が異なる複数のライセンスプレートを取り付け可能なサイズに形成され、
前記第二ビード部は、前記取付面部についての、複数の前記ライセンスプレートにより重複して覆われる範囲内に、形成される、
請求項4記載の、車両のリアゲート。
Priority Applications (2)
| Application Number | Priority Date | Filing Date | Title |
|---|---|---|---|
| JP2023148456A JP2025041265A (ja) | 2023-09-13 | 2023-09-13 | 車両のリアゲート |
| US18/793,336 US20250083619A1 (en) | 2023-09-13 | 2024-08-02 | Rear gatefor vehicle |
Applications Claiming Priority (1)
| Application Number | Priority Date | Filing Date | Title |
|---|---|---|---|
| JP2023148456A JP2025041265A (ja) | 2023-09-13 | 2023-09-13 | 車両のリアゲート |
Publications (1)
| Publication Number | Publication Date |
|---|---|
| JP2025041265A true JP2025041265A (ja) | 2025-03-26 |
Family
ID=94873307
Family Applications (1)
| Application Number | Title | Priority Date | Filing Date |
|---|---|---|---|
| JP2023148456A Pending JP2025041265A (ja) | 2023-09-13 | 2023-09-13 | 車両のリアゲート |
Country Status (2)
| Country | Link |
|---|---|
| US (1) | US20250083619A1 (ja) |
| JP (1) | JP2025041265A (ja) |
Family Cites Families (7)
| Publication number | Priority date | Publication date | Assignee | Title |
|---|---|---|---|---|
| US6692057B2 (en) * | 2001-10-12 | 2004-02-17 | Suzuki Motor Corporation | Latch attachment structure |
| JP4769229B2 (ja) * | 2007-06-12 | 2011-09-07 | 本田技研工業株式会社 | テールゲート構造 |
| JP5826736B2 (ja) * | 2012-11-21 | 2015-12-02 | 株式会社豊田自動織機 | 車両用ドアの補強構造 |
| JP5772882B2 (ja) * | 2013-06-19 | 2015-09-02 | トヨタ自動車株式会社 | 車両用バックドア |
| US9211850B2 (en) * | 2013-07-09 | 2015-12-15 | Edward J. Marko, JR. | License plate frame and method of use |
| JP6565939B2 (ja) * | 2017-01-12 | 2019-08-28 | トヨタ自動車株式会社 | 車両用パネル構造 |
| FR3127726B1 (fr) * | 2021-10-01 | 2025-07-18 | Cie Plastic Omnium Se | Ouvrant de véhicule automobile muni d’une platine de support d’équipements et d’une peau amovible |
-
2023
- 2023-09-13 JP JP2023148456A patent/JP2025041265A/ja active Pending
-
2024
- 2024-08-02 US US18/793,336 patent/US20250083619A1/en active Pending
Also Published As
| Publication number | Publication date |
|---|---|
| US20250083619A1 (en) | 2025-03-13 |
Similar Documents
| Publication | Publication Date | Title |
|---|---|---|
| US7591501B2 (en) | Hatchback door structure for vehicles | |
| US8132845B2 (en) | Vehicle door structure | |
| JP4366919B2 (ja) | 車両のフロントデッキ構造 | |
| JP4710519B2 (ja) | 車体前部構造 | |
| EP3887205B1 (en) | Vehicle trunk lid | |
| JP4092484B2 (ja) | 車両前部構造 | |
| JP2011031701A (ja) | 車両のカウル部構造 | |
| JP4407599B2 (ja) | 車体前部支持構造 | |
| JP2025041265A (ja) | 車両のリアゲート | |
| JP7661728B2 (ja) | 車両前部構造 | |
| JP2025041264A (ja) | 車両の外装部材の取付構造 | |
| JP5152637B2 (ja) | 車両用バックドアの構造 | |
| JP2019018740A (ja) | 車両用後部ドア構造 | |
| JPH10244959A (ja) | フロントピラー下部構造 | |
| JPH10236342A (ja) | キャブのアンダフレーム構造 | |
| EP4733797A1 (en) | Sensor support member | |
| EP4733148A1 (en) | Sensor support member | |
| JP2003276530A (ja) | バッテリーブラケットの取付け構造 | |
| US20250083503A1 (en) | Rear gate structure of vehicle | |
| JP2012171569A (ja) | 車両用ドアのドアミラー取付け構造 | |
| JP2007196731A (ja) | 車両室内のグローブボックス周辺構造 | |
| JP2020062952A (ja) | 車両側部構造 | |
| JP2003182641A (ja) | 車両のキャブ構造 | |
| JP2026046744A (ja) | 車両構造 | |
| JP2018012502A (ja) | 樹脂製バックドアの補強構造 |
Legal Events
| Date | Code | Title | Description |
|---|---|---|---|
| RD02 | Notification of acceptance of power of attorney |
Free format text: JAPANESE INTERMEDIATE CODE: A7422 Effective date: 20250530 |
