JP2024065480A - 梱包部材、トナー収納容器及び梱包方法 - Google Patents
梱包部材、トナー収納容器及び梱包方法 Download PDFInfo
- Publication number
- JP2024065480A JP2024065480A JP2022174364A JP2022174364A JP2024065480A JP 2024065480 A JP2024065480 A JP 2024065480A JP 2022174364 A JP2022174364 A JP 2022174364A JP 2022174364 A JP2022174364 A JP 2022174364A JP 2024065480 A JP2024065480 A JP 2024065480A
- Authority
- JP
- Japan
- Prior art keywords
- toner
- container body
- box
- bottle
- container
- Prior art date
- Legal status (The legal status is an assumption and is not a legal conclusion. Google has not performed a legal analysis and makes no representation as to the accuracy of the status listed.)
- Pending
Links
Images
Classifications
-
- B—PERFORMING OPERATIONS; TRANSPORTING
- B65—CONVEYING; PACKING; STORING; HANDLING THIN OR FILAMENTARY MATERIAL
- B65D—CONTAINERS FOR STORAGE OR TRANSPORT OF ARTICLES OR MATERIALS, e.g. BAGS, BARRELS, BOTTLES, BOXES, CANS, CARTONS, CRATES, DRUMS, JARS, TANKS, HOPPERS, FORWARDING CONTAINERS; ACCESSORIES, CLOSURES, OR FITTINGS THEREFOR; PACKAGING ELEMENTS; PACKAGES
- B65D5/00—Rigid or semi-rigid containers of polygonal cross-section, e.g. boxes, cartons or trays, formed by folding or erecting one or more blanks made of paper
- B65D5/42—Details of containers or of foldable or erectable container blanks
- B65D5/44—Integral, inserted or attached portions forming internal or external fittings
- B65D5/50—Internal supporting or protecting elements for contents
- B65D5/5002—Integral elements for containers having tubular body walls
- B65D5/5016—Integral elements for containers having tubular body walls formed by folding inwardly of extensions hinged to the side edges of the body
-
- G—PHYSICS
- G03—PHOTOGRAPHY; CINEMATOGRAPHY; ANALOGOUS TECHNIQUES USING WAVES OTHER THAN OPTICAL WAVES; ELECTROGRAPHY; HOLOGRAPHY
- G03G—ELECTROGRAPHY; ELECTROPHOTOGRAPHY; MAGNETOGRAPHY
- G03G15/00—Apparatus for electrographic processes using a charge pattern
- G03G15/06—Apparatus for electrographic processes using a charge pattern for developing
- G03G15/08—Apparatus for electrographic processes using a charge pattern for developing using a solid developer, e.g. powder developer
- G03G15/0822—Arrangements for preparing, mixing, supplying or dispensing developer
- G03G15/0865—Arrangements for supplying new developer
- G03G15/0867—Arrangements for supplying new developer cylindrical developer cartridges, e.g. toner bottles for the developer replenishing opening
-
- B—PERFORMING OPERATIONS; TRANSPORTING
- B65—CONVEYING; PACKING; STORING; HANDLING THIN OR FILAMENTARY MATERIAL
- B65D—CONTAINERS FOR STORAGE OR TRANSPORT OF ARTICLES OR MATERIALS, e.g. BAGS, BARRELS, BOTTLES, BOXES, CANS, CARTONS, CRATES, DRUMS, JARS, TANKS, HOPPERS, FORWARDING CONTAINERS; ACCESSORIES, CLOSURES, OR FITTINGS THEREFOR; PACKAGING ELEMENTS; PACKAGES
- B65D25/00—Details of other kinds or types of rigid or semi-rigid containers
- B65D25/02—Internal fittings
-
- B—PERFORMING OPERATIONS; TRANSPORTING
- B65—CONVEYING; PACKING; STORING; HANDLING THIN OR FILAMENTARY MATERIAL
- B65B—MACHINES, APPARATUS OR DEVICES FOR, OR METHODS OF, PACKAGING ARTICLES OR MATERIALS; UNPACKING
- B65B43/00—Forming, feeding, opening or setting-up containers or receptacles in association with packaging
- B65B43/26—Opening or distending bags; Opening, erecting, or setting-up boxes, cartons, or carton blanks
- B65B43/32—Opening or distending bags; Opening, erecting, or setting-up boxes, cartons, or carton blanks by external pressure diagonally applied
- B65B43/325—Opening or distending bags; Opening, erecting, or setting-up boxes, cartons, or carton blanks by external pressure diagonally applied to boxes, cartons or carton blanks
-
- B—PERFORMING OPERATIONS; TRANSPORTING
- B65—CONVEYING; PACKING; STORING; HANDLING THIN OR FILAMENTARY MATERIAL
- B65B—MACHINES, APPARATUS OR DEVICES FOR, OR METHODS OF, PACKAGING ARTICLES OR MATERIALS; UNPACKING
- B65B5/00—Packaging individual articles in containers or receptacles, e.g. bags, sacks, boxes, cartons, cans, jars
- B65B5/04—Packaging single articles
-
- B—PERFORMING OPERATIONS; TRANSPORTING
- B65—CONVEYING; PACKING; STORING; HANDLING THIN OR FILAMENTARY MATERIAL
- B65B—MACHINES, APPARATUS OR DEVICES FOR, OR METHODS OF, PACKAGING ARTICLES OR MATERIALS; UNPACKING
- B65B55/00—Preserving, protecting or purifying packages or package contents in association with packaging
-
- B—PERFORMING OPERATIONS; TRANSPORTING
- B65—CONVEYING; PACKING; STORING; HANDLING THIN OR FILAMENTARY MATERIAL
- B65D—CONTAINERS FOR STORAGE OR TRANSPORT OF ARTICLES OR MATERIALS, e.g. BAGS, BARRELS, BOTTLES, BOXES, CANS, CARTONS, CRATES, DRUMS, JARS, TANKS, HOPPERS, FORWARDING CONTAINERS; ACCESSORIES, CLOSURES, OR FITTINGS THEREFOR; PACKAGING ELEMENTS; PACKAGES
- B65D11/00—Containers having bodies formed by interconnecting or uniting two or more rigid, or substantially rigid, components made wholly or mainly of plastics material
- B65D11/18—Containers having bodies formed by interconnecting or uniting two or more rigid, or substantially rigid, components made wholly or mainly of plastics material collapsible, i.e. with walls hinged together or detachably connected
-
- B—PERFORMING OPERATIONS; TRANSPORTING
- B65—CONVEYING; PACKING; STORING; HANDLING THIN OR FILAMENTARY MATERIAL
- B65D—CONTAINERS FOR STORAGE OR TRANSPORT OF ARTICLES OR MATERIALS, e.g. BAGS, BARRELS, BOTTLES, BOXES, CANS, CARTONS, CRATES, DRUMS, JARS, TANKS, HOPPERS, FORWARDING CONTAINERS; ACCESSORIES, CLOSURES, OR FITTINGS THEREFOR; PACKAGING ELEMENTS; PACKAGES
- B65D23/00—Details of bottles or jars not otherwise provided for
-
- B—PERFORMING OPERATIONS; TRANSPORTING
- B65—CONVEYING; PACKING; STORING; HANDLING THIN OR FILAMENTARY MATERIAL
- B65D—CONTAINERS FOR STORAGE OR TRANSPORT OF ARTICLES OR MATERIALS, e.g. BAGS, BARRELS, BOTTLES, BOXES, CANS, CARTONS, CRATES, DRUMS, JARS, TANKS, HOPPERS, FORWARDING CONTAINERS; ACCESSORIES, CLOSURES, OR FITTINGS THEREFOR; PACKAGING ELEMENTS; PACKAGES
- B65D81/00—Containers, packaging elements, or packages, for contents presenting particular transport or storage problems, or adapted to be used for non-packaging purposes after removal of contents
- B65D81/02—Containers, packaging elements, or packages, for contents presenting particular transport or storage problems, or adapted to be used for non-packaging purposes after removal of contents specially adapted to protect contents from mechanical damage
-
- B—PERFORMING OPERATIONS; TRANSPORTING
- B65—CONVEYING; PACKING; STORING; HANDLING THIN OR FILAMENTARY MATERIAL
- B65D—CONTAINERS FOR STORAGE OR TRANSPORT OF ARTICLES OR MATERIALS, e.g. BAGS, BARRELS, BOTTLES, BOXES, CANS, CARTONS, CRATES, DRUMS, JARS, TANKS, HOPPERS, FORWARDING CONTAINERS; ACCESSORIES, CLOSURES, OR FITTINGS THEREFOR; PACKAGING ELEMENTS; PACKAGES
- B65D85/00—Containers, packaging elements or packages, specially adapted for particular articles or materials
- B65D85/30—Containers, packaging elements or packages, specially adapted for particular articles or materials for articles particularly sensitive to damage by shock or pressure
-
- B—PERFORMING OPERATIONS; TRANSPORTING
- B65—CONVEYING; PACKING; STORING; HANDLING THIN OR FILAMENTARY MATERIAL
- B65D—CONTAINERS FOR STORAGE OR TRANSPORT OF ARTICLES OR MATERIALS, e.g. BAGS, BARRELS, BOTTLES, BOXES, CANS, CARTONS, CRATES, DRUMS, JARS, TANKS, HOPPERS, FORWARDING CONTAINERS; ACCESSORIES, CLOSURES, OR FITTINGS THEREFOR; PACKAGING ELEMENTS; PACKAGES
- B65D85/00—Containers, packaging elements or packages, specially adapted for particular articles or materials
- B65D85/68—Containers, packaging elements or packages, specially adapted for particular articles or materials for machines, engines or vehicles in assembled or dismantled form
-
- B—PERFORMING OPERATIONS; TRANSPORTING
- B65—CONVEYING; PACKING; STORING; HANDLING THIN OR FILAMENTARY MATERIAL
- B65D—CONTAINERS FOR STORAGE OR TRANSPORT OF ARTICLES OR MATERIALS, e.g. BAGS, BARRELS, BOTTLES, BOXES, CANS, CARTONS, CRATES, DRUMS, JARS, TANKS, HOPPERS, FORWARDING CONTAINERS; ACCESSORIES, CLOSURES, OR FITTINGS THEREFOR; PACKAGING ELEMENTS; PACKAGES
- B65D2585/00—Containers, packaging elements or packages specially adapted for particular articles or materials
- B65D2585/68—Containers, packaging elements or packages specially adapted for particular articles or materials for machines, engines, or vehicles in assembled or dismantled form
- B65D2585/6802—Containers, packaging elements or packages specially adapted for particular articles or materials for machines, engines, or vehicles in assembled or dismantled form specific machines, engines or vehicles
- B65D2585/689—Containers, packaging elements or packages specially adapted for particular articles or materials for machines, engines, or vehicles in assembled or dismantled form specific machines, engines or vehicles office or shop equipment
Landscapes
- Engineering & Computer Science (AREA)
- Mechanical Engineering (AREA)
- Physics & Mathematics (AREA)
- General Physics & Mathematics (AREA)
- Buffer Packaging (AREA)
- Packages (AREA)
Abstract
【課題】輸送中の振動によってトナー収納容器内のトナー凝集が発生することを抑制する。【解決手段】長尺な容器本体部11と該容器本体部の一端側に該容器本体部よりも外径寸法が大きい大寸法部12とを備えるトナー収納容器10を内包する梱包部材20であって、前記容器本体部及び前記大寸法部との間に隙間をもって前記トナー収納容器を内包する箱部21と、前記箱部内の第一受け部に対して前記容器本体部が第一当接力で当接するように該容器本体部を押圧する第一押圧部22と、前記箱部内の第二受け部に対して前記大寸法部が前記第一当接力よりも小さい第二当接力で当接するように該大寸法部を押圧する第二押圧部23とを有する。【選択図】図2
Description
本発明は、梱包部材、トナー収納容器及び梱包方法に関する。
従来、長尺な容器本体部と該容器本体部の一端側に該容器本体部よりも長尺方向に対して直交する方向の寸法が大きい大寸法部とを備えるトナー収納容器を内包する梱包部材が知られている。
例えば、特許文献1には、長尺な円筒状の容器本体(容器本体部)と容器本体の長尺方向一端側に取り付けられるボトルキャップとを備えたトナーボトル(トナー収納容器)を内包する梱包箱(梱包部材)が開示されている。ただし、この梱包箱が内包するトナーボトルのボトルキャップは容器本体よりも小径である。この梱包箱は、段ボールを折り曲げて成形される。この梱包箱の内部には、トナーボトルの容器本体周面に対して4方向から接触する4つの緩衝壁部が備わっている。これらの4つの緩衝壁部は、トナーボトルのボトルキャップには接触せず、ボトルキャップと梱包箱との間には隙間がある。
ところが、容器本体部の一端側に容器本体部よりも長尺方向に対して直交する方向の寸法が大きい大寸法部を備えるトナー収納容器を梱包部材で梱包する場合、輸送中の振動によってトナー収納容器内のトナー凝集が発生して、使用時に異常画像を発生させ得る。
上述した課題を解決するために、本発明は、長尺な容器本体部と該容器本体部の一端側に該容器本体部よりも長尺方向に対して直交する方向の寸法が大きい大寸法部とを備えるトナー収納容器を内包する梱包部材であって、前記容器本体部及び前記大寸法部との間に隙間をもって前記トナー収納容器を内包する箱部と、前記箱部内の第一受け部に対して前記容器本体部が第一当接力で当接するように該容器本体部を押圧する第一押圧部と、前記箱部内の第二受け部に対して前記大寸法部が前記第一当接力よりも小さい第二当接力で当接するように該大寸法部を押圧する第二押圧部とを有することを特徴とする。
以上、本発明によれば、輸送中の振動によってトナー収納容器内のトナー凝集が発生することを抑制できる。
以下、本発明の実施形態について、図面を参照して詳細に説明する。
なお、各図中、同一又は相当する部分には同一の符号を付しており、その重複説明は適宜に簡略化ないし省略する。
なお、各図中、同一又は相当する部分には同一の符号を付しており、その重複説明は適宜に簡略化ないし省略する。
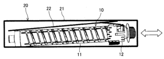
図1は、本実施形態におけるトナー収納容器のトナー収納容器本体であるトナーボトル10を示す平面図である。
トナーボトル10は、画像形成装置のトナーボトル収容部に対して着脱自在に設置されるものである。画像形成装置にセットされたトナーボトル10は、そのトナーボトル内のトナーがほとんどすべて消費されて空になった場合などのように寿命に達した場合に、新品のトナーボトル10に交換される。なお、トナーボトル10に収容されるトナーの色は任意である。
トナーボトル10は、画像形成装置のトナーボトル収容部に対して着脱自在に設置されるものである。画像形成装置にセットされたトナーボトル10は、そのトナーボトル内のトナーがほとんどすべて消費されて空になった場合などのように寿命に達した場合に、新品のトナーボトル10に交換される。なお、トナーボトル10に収容されるトナーの色は任意である。
トナーボトル10は、主に、長尺な容器本体部である略円筒状のボトル本体部11と、ボトル本体部11の長尺方向一端側に設けられる大寸法部としての略円筒状のボトルキャップ12とから構成されている。ボトルキャップ12は、ボトル本体部11よりも、長尺方向に対して直交する方向(径方向)の寸法(外径寸法)が大きい。
トナーボトル10に収容されるトナーは、ボトル本体部11の内部に収容される。ボトル本体部11の長尺方向一端側は開口しており、その開口部を通じて、ボトル本体部11内に収容されたトナーがボトルキャップ12内のスペースに向けて排出される。また、ボトル本体部11の長尺方向他端側には、トナーボトル10の着脱作業をおこなう際にユーザーが把持するための把持部13が設けられている。
また、ボトル本体部11の内周面には、螺旋状の突起11aが設けられている(外周面側から見ると螺旋状の溝となっている)。この螺旋状の突起11aは、ボトル本体部11を所定方向に回転駆動してボトル本体部11の開口部からボトルキャップ12内のスペースに向けてトナーを排出するためのものである。このようなボトル本体部11は、ブロー成形にて製造することができる。
ボトルキャップ12は、ボトル本体部11の開口部にボトルキャップ12を装着するためのホルダ部12a、開閉部材としてのシャッタ12bなどを備えている。また、ボトルキャップ12の側面(周面)には、電子部品としてのIDチップ14を保持するためのチップ保持部が設けられ、このチップ保持部にIDチップ14が保持される。また、このIDチップ14よりも長尺方向外側には、IDチップを保護するためのチップ保護部15が設けられている。
ボトルキャップ12の内部は、ボトル本体部11の開口部を介してボトル本体部11に連通している。開口部からボトルキャップ12内に排出されたトナーは、ボトルキャップ12の側面に設けられるトナー排出口から排出される。このトナー排出口は、非使用時にはシャッタ12bによって閉塞されている。
画像形成装置にトナーボトル10が装着された状態では、ボトルキャップ12は、画像形成装置のボトル収容部に対して非回転で保持される。また、画像形成装置にトナーボトル10が装着されると、シャッタ12bが開き、ボトルキャップ12のトナー排出口が画像形成装置内のトナー補給装置におけるトナー受入口と連通する。トナーボトル10を使用する場合、ボトル本体部11は回転駆動するが、ボトルキャップ12は回転しない。
次に、トナーボトル10を梱包部材である梱包箱20で内包した状態であるトナー収納容器について説明する。
トナーボトル10は、物流の過程であらゆる方向から落下される可能性があり、そのため、製品を保持するために、梱包部材である梱包箱20内に収容される。
トナーボトル10は、物流の過程であらゆる方向から落下される可能性があり、そのため、製品を保持するために、梱包部材である梱包箱20内に収容される。
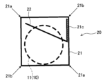
図2は、トナーボトル10が梱包箱20に内包された状態を、長尺方向に対して直交する方向であって、当該梱包箱20が正規の姿勢で置かれたときの水平方向(以下「横方向」という。)から見たときの説明図である。
図3は、製函される前の梱包箱20の状態を長尺方向から見たときの断面図である。
図4は、製函された後の梱包箱20の状態を長尺方向から見たときの断面図である。
図5は、梱包箱20の箱部の内部を図2中左側から見たときの説明図である。
図3は、製函される前の梱包箱20の状態を長尺方向から見たときの断面図である。
図4は、製函された後の梱包箱20の状態を長尺方向から見たときの断面図である。
図5は、梱包箱20の箱部の内部を図2中左側から見たときの説明図である。
本実施形態の梱包箱20の素材は段ボールである。平板状の段ボール板をカットし、切り込みを入れ、折り罫をつけるなどし、これを製函して梱包箱20を作製する。なお、梱包箱20の素材については、段ボールに特定されるものではなく、プラスチック段ボール、厚紙、プラスチックシート、プラスチック発泡シートなど、弾力性を有するシート材が例示できる。
梱包箱20は、使用前は、図3に示すように、2つの第一折り部21aが折られて平坦状に折りたたまれた状態となっている。梱包箱20を使用する場合、図3に示す状態から第二折り部21bを図3中左右に引っ張るか、又は、図3に示す状態のものを図3中上下から押し込むことにより、第二折り部21bを折ることで、図4に示す使用状態に製函される。このような構成によれば、構造が簡易であり、トナーボトル10へのトナー充填工程の自動化設備の中で、梱包箱20へのトナーボトル10の収納工程を実現することも可能となり、工程のタクトを短縮可能である。
使用状態における梱包箱20は、トナーボトル10のボトル本体部11及びボトルキャップ12との間に隙間をもってトナーボトル10を内包する箱部21を備えている。ここでいう隙間とは、梱包箱20が正規の姿勢で置かれたときの鉛直方向におけるボトル本体部11及びボトルキャップ12と梱包箱20の内壁面との間の隙間である。このような隙間を形成することで、梱包箱20の箱部21に対するトナーボトル10の出し入れをスムーズに行うことが可能になる。なお、本実施形態において、この隙間の最大値は、図6に示すように、ボトル本体部11と梱包箱20の内壁面との間の隙間A+Bとなる。
箱部21は、図4に示すように、長尺方向から見た断面形状が略正方形状である中空四角柱形状であり、その4辺が第一折り部21a、第二折り部21bによって形成される。なお、箱部21の断面形状は、略正方形状のものに限らず、三角形状のものでも、多角形状のものでもよい。
本実施形態におけるトナーボトル10は、上述したとおり、ボトル本体部11の長尺方向一端側に、ボトル本体部11よりも外形寸法が大きいボトルキャップ12が備わっている。このようなトナーボトル10においては、箱部21の内壁面とボトル本体部11との隙間は、箱部21の内壁面とボトルキャップ12との隙間よりも大きいものとなる。そのため、トナーボトル10を梱包箱20で内包した状態のトナー収納容器の輸送中において、ボトル本体部11は、ボトルキャップ12よりも、輸送中の振動による振れ幅が大きいものとなる。また、このようなトナーボトル10においては、輸送中の振動時に、箱部21の内壁面に当接するボトルキャップ12を中心にボトル本体部11が回転する回転モーメントも生じやすい。そのため、輸送中の振動により、ボトル本体部11内に収容されたトナーに伝わる衝撃等が大きいものとなる。
図7は、梱包箱20内に梱包されたトナーボトル10において、輸送中の振動によって生じる加速度(衝撃)の大きさを測定した結果を示すグラフである。
このグラフには、トナーボトル10のボトルキャップ12側端部(フロント側端部)のデータFと、トナーボトル10の長尺方向中央部(センター部)のデータCと、トナーボトル10のボトル本体部11側端部(リア側端部)のデータRとが示されている。図7に示すグラフのとおり、トナーボトル10に生じる加速度(衝撃)の大きさは、ボトルキャップ12側端部(フロント側端部)及び長尺方向中央部(センター部)よりも、ボトル本体部11側端部(リア側端部)が大きい。
このグラフには、トナーボトル10のボトルキャップ12側端部(フロント側端部)のデータFと、トナーボトル10の長尺方向中央部(センター部)のデータCと、トナーボトル10のボトル本体部11側端部(リア側端部)のデータRとが示されている。図7に示すグラフのとおり、トナーボトル10に生じる加速度(衝撃)の大きさは、ボトルキャップ12側端部(フロント側端部)及び長尺方向中央部(センター部)よりも、ボトル本体部11側端部(リア側端部)が大きい。
ボトル本体部11内に収容されたトナーに伝わる衝撃等が大きいものであると、ボトル本体部11内のトナー粒子間に存在する空気が抜けやすいので、トナー粒子同士が密接した状態になりやすい。その結果、特に高温環境下で長期間放置されると、ボトル本体部11内でトナー凝集が発生しやすくなる。そして、このように凝集したトナーが画像形成装置のトナー補給装置に送られ、画像形成装置における画像形成動作に用いられることで、異常画像が発生しやすいという問題が生じる。
この問題を解決する方法としては、トナーボトル10におけるボトル本体部11とボトルキャップ12の両方を、箱部21内で容易に動かないように保持することが好ましい。そのため、本実施形態においては、トナーボトル10におけるボトル本体部11とボトルキャップ12の両方を、箱部21内で容易に動かないように保持する構成を採用している。
具体的には、本実施形態の梱包箱20は、図2に示すように、トナーボトル10を箱部21内に内包したとき、箱部21内の第一受け部である内壁底面(当該梱包箱20が正規の姿勢で置かれたときの鉛直方向下側の内壁面)に対し、トナーボトル10のボトル本体部11が当接するように、ボトル本体部11を押圧する第一押圧部としての第一フラップ22を備えている。この第一フラップ22は、図2に示すように、長尺方向一端側(図2中右側)から他端側(図2中左側)に向けて、箱部21内のトナーボトル10のボトル本体部11に近づくように構成されている。
また、本実施形態の梱包箱20は、トナーボトル10を箱部21内に内包したとき、箱部21内の第二受け部である内壁底面(当該梱包箱20が正規の姿勢で置かれたときの鉛直方向下側の内壁面)に対し、トナーボトル10のボトルキャップ12が当接するように、ボトルキャップ12を押圧する第二押圧部としての第二フラップ23を備えている。この第二フラップ23は、図2に示すように、長尺方向他端側(図2中左側)から一端側(図2中右側)に向けて、箱部21内のトナーボトル10のボトル本体部11に近づくように構成されている。
図8は、梱包箱20の第一フラップ22及び第二フラップ23を示す部分展開図である。
本実施形態における梱包箱20は、図8に示すように、箱部21の4辺21a,21bのうちの一辺(第二折り部21bのうちの一方)において、梱包箱20の素材を延長し、その延長部分を第一フラップ22及び第二フラップ23並びにのりしろ部21cとする。これにより、当該第二折り部21bを折り込んでのりしろ部21cと箱部21の内壁面上に接着することにより、第一フラップ22における長尺方向に対して直交する方向の端部が箱部21に支持された状態になる(図4参照)。
本実施形態における梱包箱20は、図8に示すように、箱部21の4辺21a,21bのうちの一辺(第二折り部21bのうちの一方)において、梱包箱20の素材を延長し、その延長部分を第一フラップ22及び第二フラップ23並びにのりしろ部21cとする。これにより、当該第二折り部21bを折り込んでのりしろ部21cと箱部21の内壁面上に接着することにより、第一フラップ22における長尺方向に対して直交する方向の端部が箱部21に支持された状態になる(図4参照)。
ここで、上述した延長部分において、のりしろ部21cと第一フラップ22との境界線となる第三折り部21dは、図8に示すように、箱部21の辺を構成する当該第二折り部21bに対して傾斜するように形成されている。この傾斜により、のりしろ部21cを箱部21の内壁面上に接着した際、第一フラップ22は、図2に示すように、長尺方向一端側(図2中右側)から他端側(図2中左側)に向けて、箱部21内のトナーボトル10のボトル本体部11に近づくように配置される。
本実施形態の箱部21において、トナーボトル10を箱部21に対して出し入れする出入口は、トナーボトル10のボトルキャップ12側の長尺方向一端部(図2中右側の端部)に備わっている。使用状態の箱部21の出入口からトナーボトル10を、ボトル本体部11側の端部(把持部13側の端部)から挿入すると、挿入途中でボトル本体部11の把持部13側の端部が第一フラップ22に接触する。その状態から更にトナーボトル10を挿入すると、ボトル本体部11が第一フラップ22を変形させながら進む。そして、挿入完了位置まで挿入されると、ボトル本体部11の把持部13側の端部が第一フラップ22と箱部21の内壁底面との間に挟持された状態になる。
これにより、ボトル本体部11の把持部13側の端部は、第一フラップ22に押圧されて、箱部21の内壁底面に対して第一当接力で当接した状態になる。この第一当接力の大きさは、トナーが充填されているボトル本体部11の重量にも十分に対応でき、輸送中の振動でも当該ボトル本体部11が箱部21の内壁底面から離れるのを抑制でき、ボトル本体部11が箱部21内で振れてしまうようなことがない。
特に、本実施形態では、梱包箱20が正規の姿勢で置かれたとき、第一フラップ22がボトル本体部11を鉛直方向上側から押圧するように構成されている。これによれば、トナーが充填されていて重量のあるボトル本体部11の自重も作用して、ボトル本体部11が箱部21の内壁底面から離れにくい。したがって、輸送中の振動によってボトル本体部11が箱部21内で振れてしまうようなことは、更に抑制される。
トナーボトル10を箱部21内の挿入完了位置まで挿入したら、上述した延長部分における第一フラップ22と第二フラップ23との境界である第四折り部21eを折る。これにより、図2に示すように、第二フラップ23は、トナーボトル10のボトルキャップ12に当接して押圧する。第二フラップ23に押圧されたボトルキャップ12は、箱部21の内壁底面に対して第二当接力で当接した状態になる。
この第二当接力の大きさは、第一フラップ22の押圧によってボトル本体部11が箱部21の内壁底面に当接するときの第一当接力よりも小さいものであるが、必要十分な大きさなである。すなわち、ボトルキャップ12は、トナーが充填されているボトル本体部11と比べて軽量である。そのため、輸送時の振動によるボトルキャップ12の振れを抑制するのに、箱部21の内壁底面に対してボトルキャップ12を当接させる第二当接力は、ボトル本体部11の場合の第一当接力ほどの大きさの当接力は必要ない。したがって、本実施形態のような第二フラップ23の構成でも、輸送時の振動によるボトルキャップ12の振れを抑制するのに十分な第二当接力を得ることができる。
第二フラップ23についても、第一フラップ22と同程度の大きな押圧力で押圧する構成としてもよいが、箱部21内という限られた空間内では、これを簡易な構成で実現することは極めて困難である。したがって、本実施形態によれば、簡易な構成で、トナーボトル10におけるボトル本体部11とボトルキャップ12の両方を、箱部21内で容易に動かないように保持することができる。
また、本実施形態の梱包箱20では、ボトルキャップ12を押圧する第二フラップ23が、ボトルキャップ12の側面(周面)に設けられるIDチップ14を押圧しないように構成されている。具体的には、図2に示すように、第二フラップ23の長尺方向長さは、第二フラップ23の長尺方向先端の長手方向位置が、箱部21内に収容されたトナーボトル10におけるIDチップ14の長尺方向位置まで到達することがない長さに設定されている。これにより、輸送中の振動でIDチップ14に対して第二フラップ23を介した衝撃が加わることを抑制でき、輸送中におけるIDチップの故障などが抑制される。
また、本実施形態において、第一フラップ22の長尺方向長さLfは、図9に示すように、トナーボトル10の長尺方向長さLbの9割以上となるように構成するのが好ましい。これによれば、より大きな押圧力を実現しやすくなり、トナーが充填されて重量のあるボトル本体部11の振れを抑制する効果が高まる。
図10は、梱包箱20内に梱包されたトナーボトル10に振動を加えた後、そのトナーボトル10を画像形成装置に使用して画像形成を行ったときの異常画像の発生を測定した結果を示すグラフである。
このグラフには、梱包箱20における箱部21の内壁面とトナーボトル10との間の隙間の最大値(ここでは、箱部21の内壁面とトナーボトル10のボトル本体部11との間の隙間A+B)が18mmである場合と14mmである場合についての測定結果が示されている。この測定では、凝集したトナーによって生じる流星状の異常画像や黒ポチの異常画像の個数をカウントした。したがって、この異常画像の個数が多いほど、トナーボトル10内のトナー凝集量が多いと評価することができる。
このグラフには、梱包箱20における箱部21の内壁面とトナーボトル10との間の隙間の最大値(ここでは、箱部21の内壁面とトナーボトル10のボトル本体部11との間の隙間A+B)が18mmである場合と14mmである場合についての測定結果が示されている。この測定では、凝集したトナーによって生じる流星状の異常画像や黒ポチの異常画像の個数をカウントした。したがって、この異常画像の個数が多いほど、トナーボトル10内のトナー凝集量が多いと評価することができる。
図10に示すグラフのとおり、隙間の最大値が18mmである場合よりも14mmである場合の方が異常画像の個数が多い。したがって、本実施形態における梱包箱20においては、隙間の最大値を14mm以下とするのが好ましい。
以上に説明したものは一例であり、次の態様毎に特有の効果を奏する。
[第1態様]
第1態様は、長尺な容器本体部(例えばボトル本体部11)と該容器本体部の一端側に該容器本体部よりも長尺方向に対して直交する方向の寸法(例えば外径寸法)が大きい大寸法部(例えばボトルキャップ12)とを備えるトナー収納容器(例えばトナーボトル10)を内包する梱包部材(例えば梱包箱20)であって、前記容器本体部及び前記大寸法部との間に隙間をもって前記トナー収納容器を内包する箱部21と、前記箱部内の第一受け部(例えば箱部21の内壁底面)に対して前記容器本体部が第一当接力で当接するように該容器本体部を押圧する第一押圧部(例えば第一フラップ22)と、前記箱部内の第二受け部(例えば箱部21の内壁底面)に対して前記大寸法部が前記第一当接力よりも小さい第二当接力で当接するように該大寸法部を押圧する第二押圧部(例えば第二フラップ23)とを有することを特徴とするものである。
容器本体部の一端側に容器本体部よりも長尺方向に対して直交する方向の寸法が大きい大寸法部を備えるトナー収納容器の場合、箱部と容器本体部との隙間は、箱部と大寸法部との隙間よりも大きい。そのため、容器本体部は、大寸法部よりも、輸送中の振動による振れ幅が大きい。また、輸送中の振動時には、箱部の内壁に当接する大寸法部を中心に容器本体部が回転する回転モーメントも生じやすい。そのため、輸送中の振動により容器本体部内のトナーに伝わる衝撃等が大きく、トナー粒子間に存在する空気が抜けやすいので、トナー粒子同士が密接した状態になりやすい。この状態で、特に高温環境下で長期間放置されると、トナー凝集が発生しやすくなり、凝集したトナーにより異常画像が発生しやすいという問題が生じる。
この問題を解決する方法としては、トナー収納容器における容器本体部だけでなく、大寸法部も、箱部内で容易に動かないように保持することが好ましい。なぜなら、大寸法部が箱部内で容易に動くような構成では、輸送中の振動によって大寸法部の振れが増幅して、その増幅した大寸法部の振れが、保持されている容器本体部に伝わって、容器本体部を大きく振れさせるおそれがあるからである。そのため、本態様においては、箱部の第一受け部に対してトナー収納容器の容器本体部が当接するように容器本体部を押圧する第一押圧部と、箱部内の第二受け部に対してトナー収納容器の大寸法部が当接するように大寸法部を押圧する第二押圧部とを設けている。
ところが、容器本体部はトナーを収容しているため、大寸法部よりも重量がある。そのため、輸送時の振動による容器本体部の振れを抑制するためには、箱部の第一受け部に対して大きな当接力(第一当接力)で容器本体部を当接させなければならず、第一押圧部には容器本体部を大きな押圧力で押圧することが求められる。このとき、第二押圧部も、第一押圧部と同程度の大きな押圧力で押圧する構成とすることは、箱部内という限られた空間内では簡易な構成で実現することが困難である。一方で、大寸法部は容器本体部よりも重量がないので、箱部の第二受け部に対して大寸法部を当接させる当接力(第二当接力)には、容器本体部の場合の第一当接力のような大きな当接力は必要ない。
そこで、本態様においては、第一押圧部の押圧力による容器本体部の第一当接力よりも第二押圧部の押圧力による大寸法部の第二当接力の方が小さくなるように構成している。これにより、箱部内という限られた空間内でも簡易な構成で、第一押圧部の押圧力による容器本体部の第一当接力を十分に大きくしつつ、大寸法部についても十分な大きさの第二当接力で第二押圧部により押圧することができる。したがって、簡易な構成で、輸送中の振動によってトナー収納容器内のトナー凝集が発生することを抑制できる。
[第1態様]
第1態様は、長尺な容器本体部(例えばボトル本体部11)と該容器本体部の一端側に該容器本体部よりも長尺方向に対して直交する方向の寸法(例えば外径寸法)が大きい大寸法部(例えばボトルキャップ12)とを備えるトナー収納容器(例えばトナーボトル10)を内包する梱包部材(例えば梱包箱20)であって、前記容器本体部及び前記大寸法部との間に隙間をもって前記トナー収納容器を内包する箱部21と、前記箱部内の第一受け部(例えば箱部21の内壁底面)に対して前記容器本体部が第一当接力で当接するように該容器本体部を押圧する第一押圧部(例えば第一フラップ22)と、前記箱部内の第二受け部(例えば箱部21の内壁底面)に対して前記大寸法部が前記第一当接力よりも小さい第二当接力で当接するように該大寸法部を押圧する第二押圧部(例えば第二フラップ23)とを有することを特徴とするものである。
容器本体部の一端側に容器本体部よりも長尺方向に対して直交する方向の寸法が大きい大寸法部を備えるトナー収納容器の場合、箱部と容器本体部との隙間は、箱部と大寸法部との隙間よりも大きい。そのため、容器本体部は、大寸法部よりも、輸送中の振動による振れ幅が大きい。また、輸送中の振動時には、箱部の内壁に当接する大寸法部を中心に容器本体部が回転する回転モーメントも生じやすい。そのため、輸送中の振動により容器本体部内のトナーに伝わる衝撃等が大きく、トナー粒子間に存在する空気が抜けやすいので、トナー粒子同士が密接した状態になりやすい。この状態で、特に高温環境下で長期間放置されると、トナー凝集が発生しやすくなり、凝集したトナーにより異常画像が発生しやすいという問題が生じる。
この問題を解決する方法としては、トナー収納容器における容器本体部だけでなく、大寸法部も、箱部内で容易に動かないように保持することが好ましい。なぜなら、大寸法部が箱部内で容易に動くような構成では、輸送中の振動によって大寸法部の振れが増幅して、その増幅した大寸法部の振れが、保持されている容器本体部に伝わって、容器本体部を大きく振れさせるおそれがあるからである。そのため、本態様においては、箱部の第一受け部に対してトナー収納容器の容器本体部が当接するように容器本体部を押圧する第一押圧部と、箱部内の第二受け部に対してトナー収納容器の大寸法部が当接するように大寸法部を押圧する第二押圧部とを設けている。
ところが、容器本体部はトナーを収容しているため、大寸法部よりも重量がある。そのため、輸送時の振動による容器本体部の振れを抑制するためには、箱部の第一受け部に対して大きな当接力(第一当接力)で容器本体部を当接させなければならず、第一押圧部には容器本体部を大きな押圧力で押圧することが求められる。このとき、第二押圧部も、第一押圧部と同程度の大きな押圧力で押圧する構成とすることは、箱部内という限られた空間内では簡易な構成で実現することが困難である。一方で、大寸法部は容器本体部よりも重量がないので、箱部の第二受け部に対して大寸法部を当接させる当接力(第二当接力)には、容器本体部の場合の第一当接力のような大きな当接力は必要ない。
そこで、本態様においては、第一押圧部の押圧力による容器本体部の第一当接力よりも第二押圧部の押圧力による大寸法部の第二当接力の方が小さくなるように構成している。これにより、箱部内という限られた空間内でも簡易な構成で、第一押圧部の押圧力による容器本体部の第一当接力を十分に大きくしつつ、大寸法部についても十分な大きさの第二当接力で第二押圧部により押圧することができる。したがって、簡易な構成で、輸送中の振動によってトナー収納容器内のトナー凝集が発生することを抑制できる。
[第2態様]
第2態様は、第1態様において、当該梱包部材が正規の姿勢で置かれたときに、前記第一押圧部及び前記第二押圧部が前記容器本体部及び前記大寸法部を鉛直方向上側から押圧するように構成されていることを特徴とするものである。
これによれば、容器本体部及び大寸法部の自重も作用して、容器本体部及び前記大寸法部を第一受け部及び第二受け部に当接させることができる。よって、輸送中の振動によって容器本体部及び大寸法部が箱部内で振れてしまうようなことが更に抑制される。
第2態様は、第1態様において、当該梱包部材が正規の姿勢で置かれたときに、前記第一押圧部及び前記第二押圧部が前記容器本体部及び前記大寸法部を鉛直方向上側から押圧するように構成されていることを特徴とするものである。
これによれば、容器本体部及び大寸法部の自重も作用して、容器本体部及び前記大寸法部を第一受け部及び第二受け部に当接させることができる。よって、輸送中の振動によって容器本体部及び大寸法部が箱部内で振れてしまうようなことが更に抑制される。
[第3態様]
第3態様は、第1又は第2態様において、前記隙間の最大値が14mm以下であることを特徴とするものである。
これによれば、輸送中の振動によってトナー収納容器内のトナー凝集が発生することを更に抑制できる。
第3態様は、第1又は第2態様において、前記隙間の最大値が14mm以下であることを特徴とするものである。
これによれば、輸送中の振動によってトナー収納容器内のトナー凝集が発生することを更に抑制できる。
[第4態様]
第4態様は、第1乃至第3態様のいずれかにおいて、前記第一押圧部又は前記第二押圧部は、前記トナー収納容器に設けられた電子部品(例えばIDチップ14)を押圧しないように構成されていることを特徴とするものである。
これによれば、輸送中の振動で電子部品に対して第一押圧部や第二押圧部を介した衝撃が加わることを抑制でき、輸送中における電子部品の故障などが抑制される。
第4態様は、第1乃至第3態様のいずれかにおいて、前記第一押圧部又は前記第二押圧部は、前記トナー収納容器に設けられた電子部品(例えばIDチップ14)を押圧しないように構成されていることを特徴とするものである。
これによれば、輸送中の振動で電子部品に対して第一押圧部や第二押圧部を介した衝撃が加わることを抑制でき、輸送中における電子部品の故障などが抑制される。
[第5態様]
第5態様は、第1乃至第4態様のいずれかにおいて、前記第一押圧部は、長尺方向に対して直交する方向の端部が前記箱部に支持され、長尺方向一端側から他端側に向けて前記トナー収納容器の前記容器本体部に近づくように構成され、前記第一押圧部の長尺方向長さは、前記トナー収納容器の長尺方向長さの9割以上であることを特徴とするものである。
これによれば、より大きな第一押圧部材の押圧力を実現しやすくなり、トナーが充填されて重量のある容器本体部の振れを抑制する効果が高まる。
第5態様は、第1乃至第4態様のいずれかにおいて、前記第一押圧部は、長尺方向に対して直交する方向の端部が前記箱部に支持され、長尺方向一端側から他端側に向けて前記トナー収納容器の前記容器本体部に近づくように構成され、前記第一押圧部の長尺方向長さは、前記トナー収納容器の長尺方向長さの9割以上であることを特徴とするものである。
これによれば、より大きな第一押圧部材の押圧力を実現しやすくなり、トナーが充填されて重量のある容器本体部の振れを抑制する効果が高まる。
[第6態様]
第6態様は、第1乃至第5態様のいずれかにおいて、前記第一押圧部及び前記第二押圧部のうちの少なくとも一方は、前記箱部と一体構成であることを特徴とするものである。
これによれば、第一押圧部や第二押圧部を箱部と一体で作成できるので、より低コストでの作成が可能となる。また、箱部に対する第一押圧部や第二押圧部の位置精度を高めることができるので、より適切な当接力を得ることができる。
第6態様は、第1乃至第5態様のいずれかにおいて、前記第一押圧部及び前記第二押圧部のうちの少なくとも一方は、前記箱部と一体構成であることを特徴とするものである。
これによれば、第一押圧部や第二押圧部を箱部と一体で作成できるので、より低コストでの作成が可能となる。また、箱部に対する第一押圧部や第二押圧部の位置精度を高めることができるので、より適切な当接力を得ることができる。
[第7態様]
第7態様は、第1乃至第6態様のいずれかにおいて、前記箱部は、前記トナー収納容器を出し入れする出入口を、前記トナー収納容器の前記大寸法部側の長尺方向一端部に備えていることを特徴とするものである。
これによれば、第一押圧部が設けられる箱部内へのトナー収納容器の挿入作業が容易になる。
第7態様は、第1乃至第6態様のいずれかにおいて、前記箱部は、前記トナー収納容器を出し入れする出入口を、前記トナー収納容器の前記大寸法部側の長尺方向一端部に備えていることを特徴とするものである。
これによれば、第一押圧部が設けられる箱部内へのトナー収納容器の挿入作業が容易になる。
[第8態様]
第8態様は、第7態様において、前記第一押圧部は、長尺方向の一端側から他端側に向けて前記トナー収納容器の前記容器本体部に近づくように構成され、前記第二押圧部は、長尺方向の前記他端側から前記一端側に向けて前記トナー収納容器の前記大寸法部に近づくように構成されていることを特徴とするものである。
これによれば、前記出入口からトナー収納容器を取り出す際にトナー収納容器が第一押圧部や第二押圧部に引っかからない構成をとりやすく、トナー収納容器の取り出し性を向上させることができる。
第8態様は、第7態様において、前記第一押圧部は、長尺方向の一端側から他端側に向けて前記トナー収納容器の前記容器本体部に近づくように構成され、前記第二押圧部は、長尺方向の前記他端側から前記一端側に向けて前記トナー収納容器の前記大寸法部に近づくように構成されていることを特徴とするものである。
これによれば、前記出入口からトナー収納容器を取り出す際にトナー収納容器が第一押圧部や第二押圧部に引っかからない構成をとりやすく、トナー収納容器の取り出し性を向上させることができる。
[第9態様]
第9態様は、長尺な容器本体部(例えばボトル本体部11)と該容器本体部の一端側に該容器本体部よりも長尺方向に対して直交する方向の寸法(例えば外径寸法)が大きい大寸法部(例えばボトルキャップ12)とを備えるトナー収納容器本体(例えばトナーボトル10)と、前記トナー収納容器本体を内包する梱包部材(例えば梱包箱20)とを有するトナー収納容器であって、前記梱包部材は、第1乃至第6態様のいずれかの梱包部材であることを特徴とするものである。
これによれば、トナー収納容器本体が梱包部材に内包された状態のトナー収納容器において、簡易な構成で、輸送中の振動によってトナー収納容器内のトナー凝集が発生することを抑制できる。
第9態様は、長尺な容器本体部(例えばボトル本体部11)と該容器本体部の一端側に該容器本体部よりも長尺方向に対して直交する方向の寸法(例えば外径寸法)が大きい大寸法部(例えばボトルキャップ12)とを備えるトナー収納容器本体(例えばトナーボトル10)と、前記トナー収納容器本体を内包する梱包部材(例えば梱包箱20)とを有するトナー収納容器であって、前記梱包部材は、第1乃至第6態様のいずれかの梱包部材であることを特徴とするものである。
これによれば、トナー収納容器本体が梱包部材に内包された状態のトナー収納容器において、簡易な構成で、輸送中の振動によってトナー収納容器内のトナー凝集が発生することを抑制できる。
[第10態様]
第10態様は、長尺な容器本体部(例えばボトル本体部11)と該容器本体部の一端側に該容器本体部よりも長尺方向に対して直交する方向の寸法(例えば外径寸法)が大きい大寸法部(例えばボトルキャップ12)とを備えるトナー収納容器(例えばトナーボトル10)を、梱包部材(例えば梱包箱20)によって梱包する梱包方法であって、前記梱包部材の箱部21に、前記容器本体部及び前記大寸法部との間に隙間をもって前記トナー収納容器を内包させ、前記梱包部材の第一押圧部(例えば第一フラップ22)によって、前記箱部内の第一受け部(例えば箱部21の内壁底面)に対して前記容器本体部が第一当接力で当接するように該容器本体部を押圧させ、前記梱包部材(例えば梱包箱20)の第二押圧部(例えば第二フラップ23)によって、前記箱部内の第二受け部(例えば箱部21の内壁底面)に対して前記大寸法部が前記第一当接力よりも小さい第二当接力で当接するように該大寸法部を押圧させることを特徴とするものである。
これによれば、簡易な構成で、輸送中の振動によってトナー収納容器内のトナー凝集が発生することを抑制できる。
第10態様は、長尺な容器本体部(例えばボトル本体部11)と該容器本体部の一端側に該容器本体部よりも長尺方向に対して直交する方向の寸法(例えば外径寸法)が大きい大寸法部(例えばボトルキャップ12)とを備えるトナー収納容器(例えばトナーボトル10)を、梱包部材(例えば梱包箱20)によって梱包する梱包方法であって、前記梱包部材の箱部21に、前記容器本体部及び前記大寸法部との間に隙間をもって前記トナー収納容器を内包させ、前記梱包部材の第一押圧部(例えば第一フラップ22)によって、前記箱部内の第一受け部(例えば箱部21の内壁底面)に対して前記容器本体部が第一当接力で当接するように該容器本体部を押圧させ、前記梱包部材(例えば梱包箱20)の第二押圧部(例えば第二フラップ23)によって、前記箱部内の第二受け部(例えば箱部21の内壁底面)に対して前記大寸法部が前記第一当接力よりも小さい第二当接力で当接するように該大寸法部を押圧させることを特徴とするものである。
これによれば、簡易な構成で、輸送中の振動によってトナー収納容器内のトナー凝集が発生することを抑制できる。
10 :トナーボトル
11 :ボトル本体部
11a :突起
12 :ボトルキャップ
12a :ホルダ部
12b :シャッタ
13 :把持部
14 :IDチップ
15 :チップ保護部
20 :梱包箱
21 :箱部
21a :第一折り部
21b :第二折り部
21c :のりしろ部
21d :第三折り部
21e :第四折り部
22 :第一フラップ
23 :第二フラップ
11 :ボトル本体部
11a :突起
12 :ボトルキャップ
12a :ホルダ部
12b :シャッタ
13 :把持部
14 :IDチップ
15 :チップ保護部
20 :梱包箱
21 :箱部
21a :第一折り部
21b :第二折り部
21c :のりしろ部
21d :第三折り部
21e :第四折り部
22 :第一フラップ
23 :第二フラップ
Claims (10)
- 長尺な容器本体部と該容器本体部の一端側に該容器本体部よりも長尺方向に対して直交する方向の寸法が大きい大寸法部とを備えるトナー収納容器を内包する梱包部材であって、
前記容器本体部及び前記大寸法部との間に隙間をもって前記トナー収納容器を内包する箱部と、
前記箱部内の第一受け部に対して前記容器本体部が第一当接力で当接するように該容器本体部を押圧する第一押圧部と、
前記箱部内の第二受け部に対して前記大寸法部が前記第一当接力よりも小さい第二当接力で当接するように該大寸法部を押圧する第二押圧部とを有することを特徴とする梱包部材。 - 請求項1に記載の梱包部材において、
当該梱包部材が正規の姿勢で置かれたときに、前記第一押圧部及び前記第二押圧部が前記容器本体部及び前記大寸法部を鉛直方向上側から押圧するように構成されていることを特徴とする梱包部材。 - 請求項1又は2に記載の梱包部材において、
前記隙間の最大値が14mm以下であることを特徴とする梱包部材。 - 請求項1又は2に記載の梱包部材において、
前記第一押圧部又は前記第二押圧部は、前記トナー収納容器に設けられた電子部品を押圧しないように構成されていることを特徴とする梱包部材。 - 請求項1又は2に記載の梱包部材において、
前記第一押圧部は、長尺方向に対して直交する方向の端部が前記箱部に支持され、長尺方向一端側から他端側に向けて前記トナー収納容器の前記容器本体部に近づくように構成され、
前記第一押圧部の長尺方向長さは、前記トナー収納容器の長尺方向長さの9割以上であることを特徴とする梱包部材。 - 請求項1又は2に記載の梱包部材において、
前記第一押圧部及び前記第二押圧部のうちの少なくとも一方は、前記箱部と一体構成であることを特徴とする梱包部材。 - 請求項1又は2に記載の梱包部材において、
前記箱部は、前記トナー収納容器を出し入れする出入口を、前記トナー収納容器の前記大寸法部側の長尺方向一端部に備えていることを特徴とする梱包部材。 - 請求項7に記載の梱包部材において、
前記第一押圧部は、長尺方向の一端側から他端側に向けて前記トナー収納容器の前記容器本体部に近づくように構成され、
前記第二押圧部は、長尺方向の前記他端側から前記一端側に向けて前記トナー収納容器の前記大寸法部に近づくように構成されていることを特徴とする梱包部材。 - 長尺な容器本体部と該容器本体部の一端側に該容器本体部よりも長尺方向に対して直交する方向の寸法が大きい大寸法部とを備えるトナー収納容器本体と、
前記トナー収納容器本体を内包する梱包部材とを有するトナー収納容器であって、
前記梱包部材は、請求項1又は2に記載の梱包部材であることを特徴とするトナー収納容器。 - 長尺な容器本体部と該容器本体部の一端側に該容器本体部よりも長尺方向に対して直交する方向の寸法が大きい大寸法部とを備えるトナー収納容器を、梱包部材によって梱包する梱包方法であって、
前記梱包部材の箱部に、前記容器本体部及び前記大寸法部との間に隙間をもって前記トナー収納容器を内包させ、
前記梱包部材の第一押圧部によって、前記箱部内の第一受け部に対して前記容器本体部が第一当接力で当接するように該容器本体部を押圧させ、
前記梱包部材の第二押圧部によって、前記箱部内の第二受け部に対して前記大寸法部が前記第一当接力よりも小さい第二当接力で当接するように該大寸法部を押圧させることを特徴とする梱包方法。
Priority Applications (3)
| Application Number | Priority Date | Filing Date | Title |
|---|---|---|---|
| JP2022174364A JP2024065480A (ja) | 2022-10-31 | 2022-10-31 | 梱包部材、トナー収納容器及び梱包方法 |
| CN202311187138.2A CN117944983A (zh) | 2022-10-31 | 2023-09-13 | 包装部件、调色剂收纳容器及包装方法 |
| US18/383,904 US12409971B2 (en) | 2022-10-31 | 2023-10-26 | Packing member, toner container, and packing method |
Applications Claiming Priority (1)
| Application Number | Priority Date | Filing Date | Title |
|---|---|---|---|
| JP2022174364A JP2024065480A (ja) | 2022-10-31 | 2022-10-31 | 梱包部材、トナー収納容器及び梱包方法 |
Publications (1)
| Publication Number | Publication Date |
|---|---|
| JP2024065480A true JP2024065480A (ja) | 2024-05-15 |
Family
ID=90795020
Family Applications (1)
| Application Number | Title | Priority Date | Filing Date |
|---|---|---|---|
| JP2022174364A Pending JP2024065480A (ja) | 2022-10-31 | 2022-10-31 | 梱包部材、トナー収納容器及び梱包方法 |
Country Status (3)
| Country | Link |
|---|---|
| US (1) | US12409971B2 (ja) |
| JP (1) | JP2024065480A (ja) |
| CN (1) | CN117944983A (ja) |
Families Citing this family (1)
| Publication number | Priority date | Publication date | Assignee | Title |
|---|---|---|---|---|
| JP1749049S (ja) * | 2022-10-20 | 2023-07-21 | トナー容器 |
Family Cites Families (14)
| Publication number | Priority date | Publication date | Assignee | Title |
|---|---|---|---|---|
| US7258235B2 (en) * | 2004-08-31 | 2007-08-21 | An-Hsia Liu | Fiberboard carton with secured die cut insert |
| US20100050573A1 (en) * | 2008-09-02 | 2010-03-04 | Hamilton Damon T | Specialized packaging |
| JP5418111B2 (ja) * | 2009-09-25 | 2014-02-19 | 富士ゼロックス株式会社 | 緩衝材 |
| JP5585414B2 (ja) * | 2010-11-25 | 2014-09-10 | 富士ゼロックス株式会社 | 粉体収容容器及びこれを用いた粉体処理装置 |
| JP5729632B2 (ja) * | 2010-12-09 | 2015-06-03 | 株式会社リコー | 梱包部材 |
| IN2014KN01150A (ja) | 2011-11-25 | 2015-09-04 | Ricoh Co Ltd | |
| JP6112783B2 (ja) * | 2012-06-08 | 2017-04-12 | キヤノン株式会社 | 梱包体 |
| JP5852984B2 (ja) * | 2013-04-12 | 2016-02-03 | 株式会社沖データ | 梱包装置 |
| JP5955265B2 (ja) * | 2013-04-27 | 2016-07-20 | 京セラドキュメントソリューションズ株式会社 | 包装ケース及び梱包体 |
| JP2014237472A (ja) * | 2013-06-07 | 2014-12-18 | キヤノン株式会社 | 梱包部材、梱包部材に梱包されたカートリッジ |
| JP2015217958A (ja) * | 2014-05-16 | 2015-12-07 | 山昌産業株式会社 | 緩衝材 |
| JP2016060500A (ja) | 2014-09-16 | 2016-04-25 | 凸版印刷株式会社 | 包装箱 |
| JP7632083B2 (ja) * | 2021-05-31 | 2025-02-19 | 京セラドキュメントソリューションズ株式会社 | 緩衝部材、梱包体 |
| JP2023122737A (ja) * | 2022-02-24 | 2023-09-05 | キヤノン株式会社 | 梱包部材及びカートリッジアセンブリ |
-
2022
- 2022-10-31 JP JP2022174364A patent/JP2024065480A/ja active Pending
-
2023
- 2023-09-13 CN CN202311187138.2A patent/CN117944983A/zh active Pending
- 2023-10-26 US US18/383,904 patent/US12409971B2/en active Active
Also Published As
| Publication number | Publication date |
|---|---|
| US20240140642A1 (en) | 2024-05-02 |
| CN117944983A (zh) | 2024-04-30 |
| US12409971B2 (en) | 2025-09-09 |
Similar Documents
| Publication | Publication Date | Title |
|---|---|---|
| CN101387846B (zh) | 用于显影剂容器的包装单元、包装接收器及包装方法 | |
| EP1836537B1 (en) | Container storage box for deformable container containing fine particles for image formation | |
| CN100375930C (zh) | 容纳成像用的细小颗粒的可变形容器的容器存储盒 | |
| JP2024065480A (ja) | 梱包部材、トナー収納容器及び梱包方法 | |
| JP3398084B2 (ja) | トナー貯蔵部を有するユニットの梱包装置および方法 | |
| US5337126A (en) | Copier and printer toner shipping, handling and sealing systems | |
| US9718597B2 (en) | Cushion | |
| CN102023528B (zh) | 显影剂容器包装体和包装容器 | |
| JP6745045B2 (ja) | 包装箱 | |
| CN211253396U (zh) | 包装箱 | |
| JP7155728B2 (ja) | 緩衝部材、包装体 | |
| US20250376291A1 (en) | Packing box, toner container, and method of assembling packing box | |
| JP6291888B2 (ja) | 梱包体 | |
| JP7159644B2 (ja) | 緩衝部材 | |
| JP4091450B2 (ja) | 梱包装置 | |
| CN223721526U (zh) | 一种固定茶叶罐的封装盒 | |
| CN223031619U (zh) | 包装盒 | |
| JP2010070190A (ja) | 異なる長さの容器を収納するのに適した包装材料 | |
| JP3807384B2 (ja) | 梱包物 | |
| JP2025040041A (ja) | 液体吐出ヘッドの梱包形態 | |
| JP2005112376A (ja) | 詰め替え用ロール状包装材料収納カートン | |
| JPH1090985A (ja) | トナー収納容器 | |
| JP2021054466A (ja) | 現像カートリッジの梱包 | |
| JP2020111340A (ja) | 緩衝部材、梱包体 | |
| JP2011013571A (ja) | カートリッジ収納用袋及びカートリッジ収納体 |
Legal Events
| Date | Code | Title | Description |
|---|---|---|---|
| A621 | Written request for application examination |
Free format text: JAPANESE INTERMEDIATE CODE: A621 Effective date: 20250825 |