JP2022532905A - アクチュエータ - Google Patents

アクチュエータ Download PDF

Info

Publication number
JP2022532905A
JP2022532905A JP2021568407A JP2021568407A JP2022532905A JP 2022532905 A JP2022532905 A JP 2022532905A JP 2021568407 A JP2021568407 A JP 2021568407A JP 2021568407 A JP2021568407 A JP 2021568407A JP 2022532905 A JP2022532905 A JP 2022532905A
Authority
JP
Japan
Prior art keywords
layers
actuator
pair
stacking direction
drive unit
Prior art date
Legal status (The legal status is an assumption and is not a legal conclusion. Google has not performed a legal analysis and makes no representation as to the accuracy of the status listed.)
Granted
Application number
JP2021568407A
Other languages
English (en)
Other versions
JP7476237B2 (ja
Inventor
コチ、ブルハネッティン
Current Assignee (The listed assignees may be inaccurate. Google has not performed a legal analysis and makes no representation or warranty as to the accuracy of the list.)
Physik Instrumente PI Se and Co KG
Original Assignee
Physik Instrumente PI Se and Co KG
Priority date (The priority date is an assumption and is not a legal conclusion. Google has not performed a legal analysis and makes no representation as to the accuracy of the date listed.)
Filing date
Publication date
Application filed by Physik Instrumente PI Se and Co KG filed Critical Physik Instrumente PI Se and Co KG
Publication of JP2022532905A publication Critical patent/JP2022532905A/ja
Application granted granted Critical
Publication of JP7476237B2 publication Critical patent/JP7476237B2/ja
Active legal-status Critical Current
Anticipated expiration legal-status Critical

Links

Images

Classifications

    • HELECTRICITY
    • H02GENERATION; CONVERSION OR DISTRIBUTION OF ELECTRIC POWER
    • H02NELECTRIC MACHINES NOT OTHERWISE PROVIDED FOR
    • H02N2/00Electric machines in general using piezoelectric effect, electrostriction or magnetostriction
    • H02N2/02Electric machines in general using piezoelectric effect, electrostriction or magnetostriction producing linear motion, e.g. actuators; Linear positioners ; Linear motors
    • H02N2/021Electric machines in general using piezoelectric effect, electrostriction or magnetostriction producing linear motion, e.g. actuators; Linear positioners ; Linear motors using intermittent driving, e.g. step motors, piezoleg motors
    • HELECTRICITY
    • H02GENERATION; CONVERSION OR DISTRIBUTION OF ELECTRIC POWER
    • H02NELECTRIC MACHINES NOT OTHERWISE PROVIDED FOR
    • H02N2/00Electric machines in general using piezoelectric effect, electrostriction or magnetostriction
    • H02N2/02Electric machines in general using piezoelectric effect, electrostriction or magnetostriction producing linear motion, e.g. actuators; Linear positioners ; Linear motors
    • H02N2/06Drive circuits; Control arrangements or methods
    • HELECTRICITY
    • H10SEMICONDUCTOR DEVICES; ELECTRIC SOLID-STATE DEVICES NOT OTHERWISE PROVIDED FOR
    • H10NELECTRIC SOLID-STATE DEVICES NOT OTHERWISE PROVIDED FOR
    • H10N30/00Piezoelectric or electrostrictive devices
    • H10N30/20Piezoelectric or electrostrictive devices with electrical input and mechanical output, e.g. functioning as actuators or vibrators
    • H10N30/202Piezoelectric or electrostrictive devices with electrical input and mechanical output, e.g. functioning as actuators or vibrators using longitudinal or thickness displacement combined with bending, shear or torsion displacement
    • H10N30/2023Piezoelectric or electrostrictive devices with electrical input and mechanical output, e.g. functioning as actuators or vibrators using longitudinal or thickness displacement combined with bending, shear or torsion displacement having polygonal or rectangular shape
    • HELECTRICITY
    • H10SEMICONDUCTOR DEVICES; ELECTRIC SOLID-STATE DEVICES NOT OTHERWISE PROVIDED FOR
    • H10NELECTRIC SOLID-STATE DEVICES NOT OTHERWISE PROVIDED FOR
    • H10N30/00Piezoelectric or electrostrictive devices
    • H10N30/50Piezoelectric or electrostrictive devices having a stacked or multilayer structure

Landscapes

  • General Electrical Machinery Utilizing Piezoelectricity, Electrostriction Or Magnetostriction (AREA)

Abstract

本発明は、積層(2)の形態のアクチュエータ(1)であって、積層(2)が、分極電気機械材料の層(11、12)の複数の第1の対(10)と、分極電気機械材料の層(21、22)の複数の第2の対の層(20)とを少なくとも備え、第1の対および第2の対の層(10、20)が、積層方向に互いに交互に配設され、各対の層(10、20)の、積層方向に見た場合のそれぞれの端子面に、第1の極性の少なくとも1つの接続電極(5)への接続用の導電層(3)が配設され、いずれの場合も、各対の層の2つの層間に、第2の極性の少なくとも1つの接続電極(6)への接続用の導電層(4)が配設され、各対の層の2つの層の電気機械材料の分極方向(P)が、相互に反対方向に配向され、各対の層の各層の電気機械材料の分極方向が、いずれの場合も、それぞれ隣り合う一対の層の各層の電気機械材料の分極方向と垂直に配向されている、アクチュエータ(1)に関する。

Description

本発明は、請求項1~7に係る、アクチュエータ、請求項8および9に係る、このようなアクチュエータを備えた駆動ユニット、請求項10に係る、このような駆動ユニットを備えたモータ、ならびに請求項11~13に係る、このようなアクチュエータを制御する方法に関する。
特許文献1は、複数の層が相互に積層された圧電アクチュエータであって、相互に隣接する圧電材料層が、相互に垂直に配向した分極方向を含む、圧電アクチュエータを開示している。積層の上下端面に配置された電極に電気を印加すると、アクチュエータの積層方向に沿う長手方向成分およびアクチュエータの積層方向を横切る剪断成分から成るアクチュエータの混成変形が生じる。言い換えると、積層方向に見て2つの端子電極に通電することにより、アクチュエータの積層方向およびそれを横切る方向に沿う変形が同時に生じるため、全体として重なり合った変形が生じる。ここで、圧電材料で構成され、分極方向が積層方向に沿うかまたは積層方向に平行な層は、積層方向に沿う変形の原因となるため、長手方向アクチュエータ部を構成する。一方、分極方向が積層方向を横切るかまたは積層方向に垂直な圧電材料層は、積層方向を横切る変形の原因となるため、剪断アクチュエータ部を構成する。
特許文献1により知られるアクチュエータの不都合として、所与の高さの積層アクチュエータの個々の応用事例に必要となる長手方向アクチュエータ部および剪断アクチュエータ部の変形の誘起には、比較的高い制御電圧が必要となる。また、このアクチュエータでは、積層方向に沿う方向および積層方向を横切る方向の相互に独立して変形を生じさせることができない。
米国特許出願公開第2014/0001923号明細書
したがって、本発明は、低い電圧が印加された場合であっても、積層方向に沿う方向もしくは積層方向を横切る方向のいずれかのみの有用な変形、あるいは、積層方向に沿う方向および積層方向を横切る方向の同時もしくは重ね合わせ変形を生じさせ得るアクチュエータを提供する目的に基づく。
この目的は、請求項1に係るアクチュエータによって達成され、後続の従属請求項が少なくとも有用な展開を記載する。
したがって、基本は、複数の第1の対および第2の対の分極電気機械材料の層(第1の対および第2の対の層)を少なくとも備えた積層状アクチュエータである。任意選択として、複数の第3の対の電気機械材料の層(第3の対の層)が存在していてもよい。対応する複数の対の層は、アクチュエータの積層方向すなわち長手方向に一方の対が他方の対の後ろに、または一方の対が他方の対の上に交互に配設されており、各対の層における、積層方向に見た場合のそれぞれの端子面に、第1の極性の少なくとも1つの接続電極への接続用の導電層が配設される。
いずれの場合も、一対の層の層間に、第2の極性の接続電極への接続用の導電層が配設される。一対の層の2つの層の分極方向Pは、相互に反対方向または逆平行に配向される一方、一対の層の2つの各層の分極方向Pは、いずれの場合も、それぞれ隣り合う一対の層の各層の分極方向と垂直に配向される。
一対の層内および層間の導電層の配置と組み合わせた、分極電気機械材料の層の相互の対応する配置によって、一群の複数の対の層(たとえば、複数の第1の対の層を意味する)のみを制御することも可能であるし、二群または三群の複数の対の層を同時に制御することも可能であり、低い制御電圧によってアクチュエータの十分な変形を達成することが可能である。
これに基づく利点として、第1の対の層の電気機械材料の分極方向がアクチュエータの積層方向と本質的に平行に配向されている点が考えられる。この場合、第1の対の層上または層中に配設された導電層への電圧の印加によって、アクチュエータの積層方向すなわち長手延伸方向に沿う変形を実現可能である。上記および以下の説明において使用する用語「本質的に」は、規定の方向または配向(すなわち、略平行、垂直、または横断)からの最大10%の逸脱が本発明の範囲に入ると考えられることを常に表すものとする。
また、第2の対の層および任意選択としての第3の対の層の電気機械材料の分極方向がアクチュエータの積層方向と本質的に垂直に配向されており、第2の対の層の電気機械材料の分極方向が、任意選択としての第3の対の層の電気機械材料の分極方向と異なり、本質的に相互に垂直に配向されている点も有利となり得る。このように、第2の対の層上または層中に配置された導電層に電圧を印加することによって、アクチュエータの積層方向を横切るすなわち長手延伸方向を横切る変形を実現可能であり、付加的な任意選択としての第3の対の層が存在する場合は、2つの異なる方向、好ましくは相互に垂直に配向された方向での横断変形も可能である。
また、第1の極性の接続電極への接続用に設けられた全ての導電層が積層の一方の同じ側面へと延在し、第2の極性の接続電極への接続用に設けられた全ての導電層が積層の別の同じ側面へと延在している点も有利となり得る。これにより、全ての導電層の各接続電極に対する比較的単純な電気的接続が可能となる。
積層方向における異なる複数の対の層の交互の順序(第1の対の層/第2の対の層/第1の対の層/第2の対の層等、第1の対の層/第2の対の層/第3の対の層/第1の対の層/第2の対の層/第3の対の層等、第1の対の層/第2の対の層/第1の対の層/第3の対の層等の並びまたは順序が挙げられるが、これらに限定されない)により、特に一群の対の層のみが制御される場合は、内部で発生した熱が隣り合う制御されない対の層へと効果的に伝達され得るため、特に高い周波数または高電圧印加の場合に、アクチュエータの熱負荷を低く保つことができる。また、複数の対の層の交互の順序には、全群の複数の対の層の同時制御の場合に利点がある。隣り合う複数の対の層の変形方向がそれぞれ、相互に垂直に配向されていることから、隣り合う2つの対の層間の界面における局部応力が抑えられるためである。
また、第1の対の層が、関連する導電層に電圧信号が印加された場合に、積層方向に沿う変形を実行するとともに、アクチュエータの長手方向アクチュエータ部を構成するように設計されており、第2の対の層および任意選択としての第3の対の層が、関連する導電層に電圧信号が印加された場合に、積層方向を横切る変形を実行するとともに、いずれの場合も剪断アクチュエータ部を構成するように設計されている点も有利となり得る。これによって、2つもしくは3つの異なる方向ならびに互いに垂直な方向のアクチュエータの移動が互いに独立して可能となり、また、異なる複数の対の層の並列または同時電気的制御の場合に、これに対応して重ね合わせ変形が可能となる。
また、本発明は、上述の少なくとも1つのアクチュエータを備えた駆動ユニットであって、アクチュエータが、積層方向に見た場合に、1つの端子面を介して細長の弾性変形支持要素の端部に接続され、摩擦要素がその積層方向に関して反対の端面に配置されている、駆動ユニットに関する。このような駆動ユニットは、製造が比較的簡単かつ安価であり、これによれば、摩擦要素を十分な力で比較的簡単に、駆動対象要素に対して可撓的に押圧可能である。
ここでは、駆動対象要素と摩擦接触するように設けられた2つの離隔突起部を摩擦要素が備える点が有利となり得る。摩擦要素がこのように設計されているため、駆動対象要素に対して、より大きな駆動力を伝えることができる。また、2つの突起部間の空間は、アクチュエータユニットの動作時に発生する摩耗に対する貯蔵器となる。ただし、摩擦要素は、突起部を1つだけ備えることも考えられるし、3つ以上の離隔突起部を備えることも考えられる。
また、本発明は、上述の少なくとも1つの駆動ユニットを備えたモータであって、本発明に係るアクチュエータおよび駆動ユニットにより駆動される要素を備え、駆動ユニットが、摩擦要素が駆動対象要素に対して弾性的に押圧されるように、支持要素の端部を介して該モータのベースに接続された、モータに関する。
また、本発明は、上述のアクチュエータを動作させる方法であって、長手方向アクチュエータ部または剪断アクチュエータ部のいずれかのみが電圧信号によって制御される、方法に関する。結果として、アクチュエータは、その積層方向に沿う単一の長手方向変形またはその積層方向を横切る方向の単一の剪断変形を実行することも可能であるし、その積層方向を横切る2つの異なる方向の個別の剪断変形を実行することも可能である。
前述の制御方法の代替として、長手方向アクチュエータ部の一部または全部および剪断アクチュエータ部の一部または全部のそれぞれに電圧信号を印加し、それぞれが作用することにより、アクチュエータの長手方向・横断重ね合わせ変形が生じ得る点が有利となり得る。これに関して、対応する電圧信号がのこぎり歯形状を有することにより、たとえば慣性駆動またはスティックスリップ駆動を実現することも有利であるし、対応する電圧信号が正弦曲線であることにより、準連続駆動を実現することも有利である。
最後に、本発明は、上述のアクチュエータ、上記駆動ユニット、または上記モータのデジタル画像(デジタルツイン)を生成するように設計されたコンピュータプログラム製品に関する。
本発明の利点および有用性については、図面を参照して以下に説明する好適な例示的実施形態からより明らかとなるであろう。以下の図において、同じ参照番号は、異なる図面の同じ部分を表す。
本発明に係るアクチュエータの側面図である。 図1Aに係るアクチュエータの斜視図である。 図1に係るアクチュエータの考え得る電気的制御に関するブロック図である。 長手方向アクチュエータ部および剪断アクチュエータ部の異なる電気的制御によるFEM計算によって模擬した、図1または図2に係るアクチュエータの変形状態を示した図である。 長手方向アクチュエータ部および剪断アクチュエータ部の異なる電気的制御によるFEM計算によって模擬した、図1または図2に係るアクチュエータの変形状態を示した図である。 長手方向アクチュエータ部および剪断アクチュエータ部の異なる電気的制御によるFEM計算によって模擬した、図1または図2に係るアクチュエータの変形状態を示した図である。 長手方向アクチュエータ部および剪断アクチュエータ部の異なる電気的制御によるFEM計算によって模擬した、図1または図2に係るアクチュエータの変形状態を示した図である。 三群の複数の対の層を備えた、本発明に係るアクチュエータの考え得る電気的制御に関するブロック図である。 本発明に係るアクチュエータを備えた駆動ユニットを示した図である。 図5に係る駆動ユニットを備えたモータを示した図である。 図5に示すような本発明に係るアクチュエータを備えた対応制御の駆動ユニットの制御電圧および変形(FEM計算により模擬)を示した図である。 図5に示すような本発明に係るアクチュエータを備えた対応制御の駆動ユニットの制御電圧および変形(FEM計算により模擬)を示した図である。 図5に示すような本発明に係るアクチュエータを備えた対応制御の駆動ユニットの制御電圧および変形(FEM計算により模擬)を示した図である。 図5に係る本発明によるアクチュエータを備えた対応制御の駆動ユニットの制御電圧および変形(FEM計算により模擬)を示した図である。 図5に係る本発明によるアクチュエータを備えた対応制御の駆動ユニットの制御電圧および変形(FEM計算により模擬)を示した図である。 図5に係る本発明によるアクチュエータを備えた対応制御の駆動ユニットの制御電圧および変形(FEM計算により模擬)を示した図である。
図1は、重ねて積層された分極圧電材料の複数の層11、12、21、22を備えた積層2の形態の、本発明に係るアクチュエータ1の一実施形態の側面図であり、図1Bは、このアクチュエータの対応する斜視図である。互いに適合する2つの隣り合う層11および12または21および22がそれぞれ、一対の層10および20を構成しており、各対の層10および20の、積層方向に見た場合のそれぞれの2つの端面に、導電層3が配置されている。導電層3は、図1には示されていない第1の極性の接続電極への電気的接続用として設けられており、一対の層の隣り合う2つの層間には、同じく図1には示されていない第2の極性の接続電極への電気的接続用として設けられた、導電層4が配置されている。
第1の極性の接続電極への接続用として設けられた全ての導電層3は、一方側がアクチュエータ1の積層2の側面9まで延在し、反対側の側面8を越えて突出することにより、第1の極性の接続電極に対して、特に簡単に電気的接続可能となっている。同様に、第2の極性の接続電極への接続用として設けられた全ての導電層4は、側面8まで延在するとともに、反対側の側面9を越えて突出することにより、第2の極性の接続電極に対して、等しく簡単に電気的接続可能となっている。上述の導電層3および4の配置のほか、各電気層が、側面8および9の一方までしか延在しておらず、電気的絶縁のために対応する反対側の側面からは離隔している、いわゆる櫛形配置の提供も考えられる。
いずれの場合も、隣り合う複数の対の層が相互に直接隣接することのないように、隣り合う複数の対の層の導電層3間に電気絶縁層または分離層を配置することも考えられる。また、隣接または近接する複数の対の層が各導電層3を相互に共有するように、近接する複数の対の層の導電層3を相互に一体または統合体として実現することも考えられる。
一対の層の2つの層(すなわち、一方において一対の層10の層11および12、他方において一対の層20の層21および22)の電気機械材料の分極方向Pはそれぞれ、相互に反対かつ逆平行に配向されている。一方、一対の層の各層の電気機械材料の分極方向は、隣り合う各対または隣接する各対の層の各層の電気機械材料の分極方向と垂直に配向されている。言い換えると、隣接する複数の対の層または隣り合う複数の対の層の分極方向はそれぞれ、相互に垂直に配向されている。
これに関しては、複数の対の層10の分極方向Pがアクチュエータ1の積層方向にまたは積層方向と平行に配設されている一方、複数の対の層20の分極方向Pがアクチュエータの積層方向に垂直にまたは積層方向を横切る方向に配向されている。一対の層10に割り当てられた電気層3および4に電圧を印加することにより、主としてアクチュエータの積層方向にまたは積層方向に沿って、これら複数の対の層それぞれに変形を生じさせ得るため、これら複数の対の層が長手方向アクチュエータ部を構成する。一方、複数の対の層20に割り当てられた電気層3および4に電圧を印加することにより、いずれの場合も、主としてアクチュエータの積層方向を横切る変形を生じさせ得るため、これら複数の対の層が剪断アクチュエータ部を構成する。長手方向アクチュエータ部またはその一部のみを電気的に制御することも可能であるし、剪断アクチュエータ部またはその一部のみを電気的に制御することも可能である。また、長手方向アクチュエータ部および剪断アクチュエータ部の共通または同時制御を実現することも可能である。
図2は、図1に係るアクチュエータの考え得る電気的制御に関するブロック図である。全ての導電層3は第1の極性の接続電極5に接続されており、接続電極5は第1の電圧源7の対応する極に接続されている。第1の電圧源7の他方の極は、複数の対の層10の、すなわち各層11および12の電気機械材料の分極方向がアクチュエータの積層方向にまたはそれに沿って配向され、長手方向アクチュエータ部を構成する複数の対の層の、全ての導電層4と一部が電気的に接触した接続電極6に接続されている。
図2のブロック図は、第1の極が同じく接続電極5に接続され、第2の極が接続電極6’に接続された第2の電圧源7’をも示しており、接続電極6’は、複数の対の層11の全ての導電層4(すなわち、各層21および22の電気機械材料の分極方向がアクチュエータの積層方向を横切る方向またはアクチュエータの積層方向に垂直に配向され、剪断アクチュエータ部を構成する複数の対の層)と接触している。
したがって、図2のブロック図によれば、図3A~図3Dに係るFEM計算により実現されたシミュレーションに示すように、長手方向アクチュエータ部もしくは剪断アクチュエータ部のいずれかのみ、または、長手方向アクチュエータ部および剪断アクチュエータ部の一体的な制御によって、それぞれアクチュエータの所望の変形が得られる。
ここで、図3Aは、図1および図2に係るアクチュエータの初期状態すなわち電気的に制御されていない状態の基礎となるFEMモデルを示している。一方、図3Bは、このアクチュエータの剪断アクチュエータ部の個別制御の場合に計算された変形を示している。図3Cは、長手方向アクチュエータ部の個別制御の場合に計算された変形を示しており、最後の図3Dは、このアクチュエータの長手方向アクチュエータ部および剪断アクチュエータ部の同時制御で計算された変形を表す。
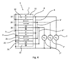
図4のブロック図が図2に係るブロック図と異なるのは、図4に係るブロック図が基づくアクチュエータが、複数の対の層20と同様に剪断アクチュエータ部を構成する、付加的な複数の対の層30を備える点のみであるが、層31および32の圧電材料の分極方向は、対照的に、層11および12の圧電材料の分極方向ならびに層21および22の圧電材料の分極方向の両者と垂直に配向されている。これに対応して、図4に係るブロック図は、アクチュエータの異なる構造に起因する異なる種類または拡張された種類の制御も示しており、付加的な剪断アクチュエータ部の別個の制御も可能となるように、付加的な第3の電圧源7’’の一方の極が接続電極5に接続され、他方の極が接続電極6’’に接続され、接続電極6’’自体は、一対の層30の全ての導電層4に接続されている。図2に係るアクチュエータの制御の選択肢と同様に、複数の対の層10の長手方向アクチュエータ部、複数の対の層20の剪断アクチュエータ部、または複数の対の層30の剪断アクチュエータ部のいずれかのみの制御を実現可能であって、全ての考え得る組み合わせの制御変形例も実現可能であることが理解され得る。
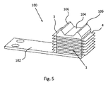
図5は、図1に係る本発明によるアクチュエータ1を備えた駆動ユニット100の一実施形態を示している。アクチュエータ1は、その積層方向に関する平坦な端子面を介して、鋼で構成された細長の平坦かつ弾性変形可能な支持要素102の端部に接続されている。また、支持要素は、チタンまたはリン青銅等の他の金属からも成り得る。繊維が充填されたプラスチックで構成された支持要素を使用することも考えられる。
アクチュエータの対応する反対側の端子面には、相互に離隔して平行に配設され、駆動対象要素との摩擦接触用として設けられた2つの突起部106を備えた摩擦要素104が配置されている。
図6を参照すると、図5に示される駆動ユニットを備えたモータ200の一実施形態が提供される。ここで、支持要素は、端部を介してベース要素202に接続されている。ベース要素202には、線形移動または変位可能な駆動対象要素206が配設されており、これには、摩擦要素104が摩擦接触する摩擦部または摩擦レール204が取り付けられている。
図7A~図7Cおよび図8A~図8Cは、図2に示す回路を用いた図5に係る対応制御の駆動ユニットの、FEM計算により模擬した制御電圧および変形を示している。図7Aの上側の図に示す電圧源7ののこぎり歯状電圧が長手方向アクチュエータ部に印加される一方、図7Aの下側の図に示す電圧源7’ののこぎり歯状電圧が剪断アクチュエータ部に印加される。したがって、2つの電圧源7および7’の電圧がアクチュエータまたは対応するアクチュエータ部に同時に印加され、重ね合わされた変形を生じさせるが、その2つの最大状態を図7Bおよび図7Cに示す。
以上から、アクチュエータは、その右方への対応する長手方向伸長(図7B)と、アクチュエータの積層方向の収縮に伴う左方への関連する後方移動(図7C)とが重なり合って同時に一度変形する。言い換えると、アクチュエータは、右方への同時剪断を伴って伸長する(図7B)と同時に、左方への同時剪断を伴って収縮する(図7C)。この周期的な繰り返し変形によって、駆動対象要素の駆動に使用可能なアクチュエータの移動が生じる。図7Bに係る右方への同時線形伸長および剪断によって、アクチュエータの反対側に配設された駆動対象要素は、線形伸長によるアクチュエータとの接触後、右方へと一体的に動かすことができる。一方、図7Cに係る長手方向収縮および左方への同時剪断中、駆動対象要素とアクチュエータとの間の接触が打ち消されることが可能であるため、駆動方向と反対側に向かう方向のアクチュエータの剪断が駆動方向に伝わらず、アクチュエータの後方移動は駆動対象要素に影響を及ぼさない。
図8A~図8Cは、図7に対して反対側を向く駆動すなわちアクチュエータの反対側に配置された駆動対象要素の左方への移動を実現するための本発明に係るアクチュエータの長手方向アクチュエータ部および剪断アクチュエータ部に印加される電圧信号および対応する最大変形を示している。図8Aの上側の図に係る長手方向アクチュエータ部に印加される電圧信号は、図7Aの上側の図における電圧信号と同一である。これに対して、図8Aの下側の図に係る剪断アクチュエータ部に印加される電圧信号は、急峻な立ち上がりに緩やかな立ち下がりが後続する点において、図7Aの下側の図における電圧信号と異なる。これにより、(図8Bに係る)駆動方向においては、剪断アクチュエータ部の剪断変形が低速となり、(図8Cに係る)駆動方向の反対では、剪断変形が高速となる。
図7Aおよび図8Aに係る電圧信号それぞれに関して、2つの関連するのこぎり歯電圧V1およびV2の緩やかな斜面および急峻な斜面は常に、時間的に一致するが、これは、駆動対象要素の駆動方向に対応する方向において、時間的に一体的または同時に低速の伸長または剪断が発生し(駆動段階)、駆動対象要素の駆動方向と反対の方向において、時間的に一体的または同時に高速の収縮または剪断が発生する(縮退段階)ことを意味する。駆動段階において、アクチュエータまたはそれに配設された摩擦要素は、長手方向アクチュエータ部の伸長により、駆動対象要素に接触するため、同時に発生する剪断運動が駆動対象要素へと駆動方向に伝達され得る。縮退段階は、後続の駆動段階を開始可能となるように、可能な限り高速に発生するものとする。したがって、ここでは、対応する電圧信号に基づいて、長手方向アクチュエータ部の高速の収縮および駆動方向と反対の等しく高速の剪断変形が発生する。
1…アクチュエータ
2…積層
3…(アクチュエータ1の)導電層
4…(アクチュエータ1の)導電層
5…接続電極(第1の極性)
6、6’、6’’…接続電極(第2の極性)
7、7’、7’’…電圧源
8…(アクチュエータ1の)側面
9…(アクチュエータ1の)側面
10…一対の層
11、12…(一対の層10の)層
20…一対の層
21、22…(一対の層20の)層
30…一対の層
31、32…(一対の層30の)層
100…駆動ユニット
102…(駆動ユニット100の)搬送要素
104…(駆動ユニット100の)摩擦要素
106…(摩擦要素104の)突起部
200…モータ
202…(モータ200の)ベース要素
204…(モータ200の)摩擦レール
206…(モータ200の)駆動対象要素
P…(層11、12、21、22、31、32の電気機械材料の)分極方向

Claims (14)

  1. 積層(2)の形態のアクチュエータ(1)であって、前記積層(2)が、分極電気機械材料の2つの層(11、12)を有する複数の第1の対の層(10)および分極電気機械材料の2つの層(21、22)を有する複数の第2の対の層(20)を少なくとも備え、前記第1の対および第2の対の層(10、20)が、積層方向に互いに交互に配設され、各対の層(10、20)の、積層方向に見た場合のそれぞれの端子面に、第1の極性の少なくとも1つの接続電極(5)への接続用の導電層(3)が配設され、いずれの場合も、各対の層の前記2つの層間に、第2の極性の少なくとも1つの接続電極(6)への接続用の導電層(4)が配設され、各対の層の前記2つの層の電気機械材料の分極方向(P)が、相互に反対方向に配向され、各対の層の前記層の前記電気機械材料の分極方向が、いずれの場合も、それぞれ隣り合う一対の層の前記層の前記電気機械材料の分極方向と垂直に配向されている、アクチュエータ。
  2. 各第1の対の層(10)の前記層(11、12)の前記電気機械材料の分極方向が、前記アクチュエータの積層方向と本質的に平行に配向されていることを特徴とする、請求項1に記載のアクチュエータ。
  3. 各第2の対の層(20)の前記層(21、22)の前記電気機械材料の分極方向が、前記アクチュエータの積層方向と本質的に垂直に配向されていることを特徴とする、請求項1または2に記載のアクチュエータ。
  4. 前記積層(2)が、分極電気機械材料の2つの層(31、32)を含む複数の第3の対の層(30)を備え、各第3の対の層(30)の、積層方向に見た場合のそれぞれの端子面に、第1の極性の少なくとも1つの接続電極(5)への接続用の導電層(3)が配設され、いずれの場合も、各対の層(30)の前記2つの層(31、32)間に、第2の極性の少なくとも1つの接続電極(6)への接続用の導電層(4)が配設され、各第3の対の層(30)の前記2つの層(31、32)の前記電気機械材料の分極方向(P)が、相互に反対方向に配向され、各第3の対の層(30)の前記層(31、32)の前記電気機械材料の分極方向が、前記アクチュエータの積層方向と本質的に垂直に、各第1の対の層(10)の前記層(11、12)の前記電気機械材料の分極方向と本質的に垂直に、かつ各第2の対の層(20)の前記層(21、22)の前記電気機械材料の分極方向と本質的に垂直に配向されていることを特徴とする、請求項3に記載のアクチュエータ。
  5. 3つの対の層(10、20、30)が、積層方向に互いに交互に配設されていることを特徴とする、請求項4に記載のアクチュエータ。
  6. 前記第1の対の層(10)が、関連する導電層(3、4)への電圧信号の印加の場合に、積層方向に沿う変形を実行するとともに、前記アクチュエータの長手方向アクチュエータ部を構成するように設計され、前記第2の対の層(20)および任意選択としての第3の対の層(30)が、関連する導電層(3、4)への電圧信号の印加の場合に、積層方向を横切る変形を実行するとともに、それぞれ前記アクチュエータの剪断アクチュエータ部を構成するように設計されていることを特徴とする、請求項1乃至5のいずれか一項に記載のアクチュエータ。
  7. 隣接する対の層(10、20、30)の前記導電層(3)が、相互に一体に形成されていることを特徴とする、請求項1乃至6のいずれか一項に記載のアクチュエータ。
  8. 請求項1乃至7のいずれか一項に記載のアクチュエータを備えた駆動ユニット(100)であって、前記アクチュエータ(1)が、その積層方向に関して、端子面を介して細長の弾性変形支持要素(102)の端部に接続され、摩擦要素(104)がその積層方向に関して反対の端子面に配置されていることを特徴とする、駆動ユニット(100)。
  9. 前記摩擦要素(104)が、相互に離隔するとともに相互に平行に配置された2つの突起部(106)を有し、前記突起部(106)が、駆動対象要素と摩擦接触するように設けられていることを特徴とする、請求項8に記載の駆動ユニット(100)。
  10. 請求項8または9に記載の少なくとも1つの駆動ユニット(100)と、駆動対象要素(206)と、を備えたモータ(200)であって、前記駆動ユニット(100)が、前記摩擦要素(104)が前記駆動対象要素(206)に対して弾性的に押圧されるように、搬送要素(102)の端部を介して該モータ(200)のベース(202)に接続されていることを特徴とする、モータ(200)。
  11. 請求項6に記載のアクチュエータを動作させる方法であって、前記長手方向アクチュエータ部または前記剪断アクチュエータ部のいずれかのみが電圧信号によって作用するか、あるいは、前記長手方向アクチュエータ部および前記剪断アクチュエータ部がそれぞれ、電圧信号によって同時に作用することを特徴とする、方法。
  12. 前記電圧信号がそれぞれ、のこぎり歯形状を有することを特徴とする、請求項11に記載の方法。
  13. 前記電圧信号がそれぞれ、正弦曲線であることを特徴とする、請求項11に記載の方法。
  14. 請求項1乃至7のいずれか一項に記載のアクチュエータ(1)、請求項8もしくは9に記載の駆動ユニット(100)、または請求項10に記載のモータ(200)のデジタル画像を提供するように設計されているコンピュータプログラム製品。
JP2021568407A 2019-05-16 2020-05-15 アクチュエータ Active JP7476237B2 (ja)

Applications Claiming Priority (3)

Application Number Priority Date Filing Date Title
DE102019112842.0 2019-05-16
DE102019112842.0A DE102019112842A1 (de) 2019-05-16 2019-05-16 Aktuator
PCT/DE2020/100426 WO2020228913A1 (de) 2019-05-16 2020-05-15 Aktuator

Publications (2)

Publication Number Publication Date
JP2022532905A true JP2022532905A (ja) 2022-07-20
JP7476237B2 JP7476237B2 (ja) 2024-04-30

Family

ID=70918160

Family Applications (1)

Application Number Title Priority Date Filing Date
JP2021568407A Active JP7476237B2 (ja) 2019-05-16 2020-05-15 アクチュエータ

Country Status (6)

Country Link
US (1) US12368394B2 (ja)
EP (1) EP3970207A1 (ja)
JP (1) JP7476237B2 (ja)
CN (1) CN114127968B (ja)
DE (1) DE102019112842A1 (ja)
WO (1) WO2020228913A1 (ja)

Citations (8)

* Cited by examiner, † Cited by third party
Publication number Priority date Publication date Assignee Title
US5027028A (en) * 1989-08-29 1991-06-25 Skipper John D Piezoelectric motor
JPH0614567A (ja) * 1992-06-29 1994-01-21 Canon Inc 振動式リニア駆動装置及び該リニア駆動装置を有するプリンタ装置
JPH06261565A (ja) * 1993-03-09 1994-09-16 Ricoh Co Ltd 振動アクチュエータ
JP2000134961A (ja) * 1998-10-27 2000-05-12 Nikon Corp 振動アクチュエータ装置及び発券装置
JP2000296485A (ja) * 1999-04-15 2000-10-24 Minolta Co Ltd マイクロマニピュレータ
US20030085633A1 (en) * 2001-06-12 2003-05-08 Physik Instrumente (Pi) Gmbh & Co. Kg Piezo linear drive with a group of piezo actuator stacks as well as method for operating such a drive
JP2012143155A (ja) * 2012-04-27 2012-07-26 Canon Inc 振動波駆動装置
JP2013158242A (ja) * 2012-01-31 2013-08-15 Samsung Electronics Co Ltd スリップ・スティック方式の圧電駆動装置

Family Cites Families (18)

* Cited by examiner, † Cited by third party
Publication number Priority date Publication date Assignee Title
SE8702824L (sv) 1987-07-10 1989-01-11 Wallac Oy Metall-kelaterande 2,6-disubstituerade pyridinfoereningar och deras anvaendning
JP2567618B2 (ja) 1987-08-08 1996-12-25 三洋電機株式会社 冷菓製造装置の冷菓抽出方法
JPS6458242A (en) 1987-08-31 1989-03-06 Canon Kk X-ray imaging apparatus
GB8812891D0 (en) 1988-05-31 1988-07-06 Crosfield Electronics Ltd Image generating apparatus
JPH1189254A (ja) * 1997-09-08 1999-03-30 Wac Data Service Kk 圧電アクチュエータ
ATE345583T1 (de) * 1997-09-30 2006-12-15 Argillon Gmbh Piezoelektrisches element
JP3733860B2 (ja) * 2000-02-01 2006-01-11 株式会社村田製作所 圧電素子およびその製造方法
JP4576738B2 (ja) * 2001-03-29 2010-11-10 ブラザー工業株式会社 圧電トランスデューサおよび液滴噴射装置
DE102005052686A1 (de) * 2005-07-26 2007-02-15 Siemens Ag Piezoaktor und Verfahren zur Herstellung desselben
DE102006048238B4 (de) * 2005-11-23 2011-07-28 Physik Instrumente (PI) GmbH & Co. KG, 76228 Piezolinearantrieb
DE102006044285A1 (de) * 2006-08-14 2008-02-21 Physik Instrumente (Pi) Gmbh & Co. Kg Verstelleinrichtung mit hoher Positionsauflösung, auch im Nano- oder Subnanometerbereich
DE102006039821A1 (de) * 2006-08-25 2008-03-13 Carl Zeiss Smt Ag Optisches System, insbesondere ein Projektionsobjektiv oder ein Beleuchtungssystem
JP5087914B2 (ja) * 2006-12-06 2012-12-05 Tdk株式会社 積層型圧電素子
DE102008012992A1 (de) * 2008-03-07 2009-09-10 Physik Instrumente (Pi) Gmbh & Co. Kg Ultraschallmotor
CN104583305B (zh) 2012-04-16 2017-09-26 罗地亚经营管理公司 含氟聚合物组合物
TWI489765B (zh) 2012-06-27 2015-06-21 中原大學 Composite piezoelectric actuator
JP6014567B2 (ja) 2013-09-26 2016-10-25 本田技研工業株式会社 トリミング装置におけるパッドシリンダの配置方法
DE102014209419B3 (de) * 2014-05-19 2015-05-07 Physik Instrumente (Pi) Gmbh & Co. Kg Ultraschallaktor

Patent Citations (8)

* Cited by examiner, † Cited by third party
Publication number Priority date Publication date Assignee Title
US5027028A (en) * 1989-08-29 1991-06-25 Skipper John D Piezoelectric motor
JPH0614567A (ja) * 1992-06-29 1994-01-21 Canon Inc 振動式リニア駆動装置及び該リニア駆動装置を有するプリンタ装置
JPH06261565A (ja) * 1993-03-09 1994-09-16 Ricoh Co Ltd 振動アクチュエータ
JP2000134961A (ja) * 1998-10-27 2000-05-12 Nikon Corp 振動アクチュエータ装置及び発券装置
JP2000296485A (ja) * 1999-04-15 2000-10-24 Minolta Co Ltd マイクロマニピュレータ
US20030085633A1 (en) * 2001-06-12 2003-05-08 Physik Instrumente (Pi) Gmbh & Co. Kg Piezo linear drive with a group of piezo actuator stacks as well as method for operating such a drive
JP2013158242A (ja) * 2012-01-31 2013-08-15 Samsung Electronics Co Ltd スリップ・スティック方式の圧電駆動装置
JP2012143155A (ja) * 2012-04-27 2012-07-26 Canon Inc 振動波駆動装置

Non-Patent Citations (1)

* Cited by examiner, † Cited by third party
Title
特許庁 インターネット出願ソフト 操作マニュアル, JPN6023002330, 2005, pages 127 - 146, ISSN: 0005191173 *

Also Published As

Publication number Publication date
US20220247329A1 (en) 2022-08-04
WO2020228913A1 (de) 2020-11-19
US12368394B2 (en) 2025-07-22
DE102019112842A1 (de) 2020-11-19
CN114127968A (zh) 2022-03-01
JP7476237B2 (ja) 2024-04-30
EP3970207A1 (de) 2022-03-23
CN114127968B (zh) 2025-11-11

Similar Documents

Publication Publication Date Title
JP4289511B2 (ja) 圧電アクチュエータ
TW201813273A (zh) 觸覺回饋產生裝置
JPH05219760A (ja) 静電式アクチュエータ
US10199959B2 (en) Piezoelectric actuator, ceramic component polarizing method and piezoelectric motor system
KR20120078529A (ko) 압전 액츄에이터
US11218090B2 (en) Compact piezoelectric inertial drive stage
EP3751719A1 (en) Inertia drive motor and method for controlling such motor
EP3089348B1 (en) Piezoelectric motor
CN106664040A (zh) 超声致动器
JP2010057321A (ja) 静電アクチュエータおよびその製造方法
JPH0661542A (ja) 異方性トランスデューサ
WO2002015378A1 (en) Overlapping type piezoelectric stator, overlapping type piezoelectric acturator and applications thereof
JP2022532905A (ja) アクチュエータ
JP2011155760A (ja) 超音波モータ用振動子
US11606045B2 (en) Compact piezoelectric inertial drive stage
KR102469287B1 (ko) 전기기계식 액츄에이터, 전기기계식 액츄에이터의 가진 방법 및 초음파 모터
WO2020152905A1 (ja) 積層型圧電素子及び圧電アクチュエーター
KR102135533B1 (ko) 스마트 물질 기반 다족 이동 로봇
JPS62272575A (ja) 圧電アクチユエ−タ
JP3021460B2 (ja) 静電アクチュエータ
JP2611784B2 (ja) 電歪駆動装置の制御方法
CN101471613B (zh) 压电夹持装置
JP4904762B2 (ja) 静電アクチュエータの駆動方法
JPH0739252Y2 (ja) 圧電アクチュエータ
JP2012222992A (ja) 振動波アクチュエータ

Legal Events

Date Code Title Description
A621 Written request for application examination

Free format text: JAPANESE INTERMEDIATE CODE: A621

Effective date: 20211220

A131 Notification of reasons for refusal

Free format text: JAPANESE INTERMEDIATE CODE: A131

Effective date: 20230124

A601 Written request for extension of time

Free format text: JAPANESE INTERMEDIATE CODE: A601

Effective date: 20230424

A521 Request for written amendment filed

Free format text: JAPANESE INTERMEDIATE CODE: A523

Effective date: 20230724

A131 Notification of reasons for refusal

Free format text: JAPANESE INTERMEDIATE CODE: A131

Effective date: 20231107

A521 Request for written amendment filed

Free format text: JAPANESE INTERMEDIATE CODE: A523

Effective date: 20240122

TRDD Decision of grant or rejection written
A01 Written decision to grant a patent or to grant a registration (utility model)

Free format text: JAPANESE INTERMEDIATE CODE: A01

Effective date: 20240326

A61 First payment of annual fees (during grant procedure)

Free format text: JAPANESE INTERMEDIATE CODE: A61

Effective date: 20240417

R150 Certificate of patent or registration of utility model

Ref document number: 7476237

Country of ref document: JP

Free format text: JAPANESE INTERMEDIATE CODE: R150