JP2020075813A - 穴あけユニット用の自動化多芯動力ケーブル設備 - Google Patents

穴あけユニット用の自動化多芯動力ケーブル設備 Download PDF

Info

Publication number
JP2020075813A
JP2020075813A JP2019003932A JP2019003932A JP2020075813A JP 2020075813 A JP2020075813 A JP 2020075813A JP 2019003932 A JP2019003932 A JP 2019003932A JP 2019003932 A JP2019003932 A JP 2019003932A JP 2020075813 A JP2020075813 A JP 2020075813A
Authority
JP
Japan
Prior art keywords
space
end wall
fixedly connected
slot
lift
Prior art date
Legal status (The legal status is an assumption and is not a legal conclusion. Google has not performed a legal analysis and makes no representation as to the accuracy of the status listed.)
Ceased
Application number
JP2019003932A
Other languages
English (en)
Inventor
郭心磊
Xinlei Guo
Current Assignee (The listed assignees may be inaccurate. Google has not performed a legal analysis and makes no representation or warranty as to the accuracy of the list.)
Individual
Original Assignee
Individual
Priority date (The priority date is an assumption and is not a legal conclusion. Google has not performed a legal analysis and makes no representation as to the accuracy of the date listed.)
Filing date
Publication date
Application filed by Individual filed Critical Individual
Publication of JP2020075813A publication Critical patent/JP2020075813A/ja
Ceased legal-status Critical Current

Links

Images

Landscapes

  • Transmission Devices (AREA)

Abstract

【課題】本発明は穴あけユニット用の自動化多芯動力ケーブル設備を開示した。【解決手段】整経台を含み、前記整経台の中にはルフトスペースが内設され、前記リフトスペースの中にはリフト機構が内設され、前記リフトスペースの下端壁の中には交換機構が内設され、前記リフトスペースの上端壁には上端壁が外界空間と連通する移動スペースが内設され、前記移動スペースの右端壁には移動モータが固定接続され、この装置は構造が簡単で、操作が便利で、リフト機構の作用によって回転している巻軸とリールとをサポートし、これにより装置の安定性を改善し、同時に巻軸にケーブルが巻かれて重量が次第に増加している時、リフト機構の作用によって巻軸から駆動軸とプッシュ軸とに対する剪断応力を弱め、これにより軸の使用寿命を増加し、機械的動力伝達によって巻軸を自動に交換でき、これにより加工効率を高め、労働力を節約する。【選択図】図1

Description

本発明はケーブル製造分野に関し、具体的には穴あけユニット用の自動化多芯動力ケーブル設備のである。
科学技術の発展や社会の進歩に伴って、ケーブルの使用量がますます高まっています。現段階における穴あけユニット用の多芯動力ケーブルは複数のケーブルから組み合わせられ、ケーブルの製造中では特に最後のケーブルを巻く工程で、ケーブルから受ける付勢力が軸の使用寿命に大きな影響を及ぼし、且つ現在のこういうタイプのローラーを交換する工程は一般に大型機械を通じて操作し、作業量をひどく増加し、作業効率を下げる。
中国特許出願公開第105207115号明細書
本発明が解決する技術問題は穴あけユニット用の自動化多芯動力ケーブル設備を提供し、上記した技術的問題を解決する。
本発明は下記の技術プランを通じて実現される:本発明の穴あけユニット用の自動化多芯動力ケーブル設備は、整経台を含み、前記整経台の中にはリフトスペースが内設され、前記リフトスペースの中にはリフト機構が内設され、前記リフトスペースの下端壁の中には交換機構が内設され、前記リフトスペースの上端壁には上端壁が外界空間と連通する移動スペースが内設され、前記移動スペースの右端壁には移動モータが固定接続され、前記移動モータの左端面には移動軸が動力が伝達できるように接続され、前記移動軸の左端には上端が前記移動スペースの上端壁を貫通し且つ外界空間に位置する移動柱が螺合接続され、前記移動スペースの中に位置する前記移動柱の左端面には前記移動ボードが固定接続され、前記移動ボードの上端面の中には上端壁が外界空間と連通するリミットスロットが内設され、前記移動ボードの中には上端壁が前記リミットスロットと連通し且つ下端壁が前記移動スペースの下端壁と前記移動ボードの下端面とを貫通して前記リフトスペースと連通するリフトスロットが内設され、前記整経台の上端面には支持柱が固定接続され、前記支持柱の中には駆動スペースが内設され、前記駆動スペースの中には駆動ボードがスライドできるように接続され、前記駆動ボードの上端面には駆動モータが固定接続され、前記駆動モータの右端面には右端が前記駆動スペースの右端壁を貫通し且つ外界空間に位置する駆動軸が動力が伝達できるように接続され、前記駆動軸の右端にはプッシュボードが上下対称で固定接続され、前記駆動ボードの下端面には下端が前記駆動スペースの下端壁と前記リフトスペースの上端壁とを貫通し且つ前記リフトスペースの中に位置する駆動レバーが固定接続され、前記移動柱の中には移動スロットが内設され、前記移動スロットの中には移動ブロックがスライドできるように接続され、前記移動ブロックの左端には左端が前記移動スロットの左端壁を貫通し且つ外界空間に位置するプッシュ軸が軸受を介して接続され、前記プッシュ軸の左端の中には接続機構が内設され、前記移動ブロックの下端面には下端が前記移動スロットの下端壁と前記リフトスペースの上端壁を貫通し且つ前記リフトスペースの中に位置する移動レバーが固定接続され、前記支持柱の右側には巻軸が設置され、前記巻軸の左右両端にはリールが固定接続され、前記巻軸の左側の前記リールの中には伝達機構が内設され、前記巻軸の右側の前記リールの中には右端壁が外界空間と連通する接続スロットが内設され、前記プッシュ軸の左端が前記接続スロットの右端壁を貫通し且つ前記接続スロットの中に位置し、前記接続スロットの上下端壁には前記プッシュ軸に近接する端壁が前記接続スロットに連通する収容スロットが対称で設置され、前記整経台の右端面には警告機構が設置される。
優先的には、前記リフト機構はリフトボードを含み、前記リフトスペースの中には前記リフトボードがスライドできるように接続され、前記リフトボードの下端面には従動電磁石が固定接続され、前記リフトスペースの下端壁には主動電磁石が固定接続され、前記リフトボードの下端面には前記従動電磁石を中心として左右対称してリフトばねが固定接続され、前記リフトばねの下端が前記リフトスペースの下端壁と固定接続され、前記リフトボードの上端面には左右対称してリフトボードが固定接続され、前記リフトブロックの上端面には左右対称してリフト柱が固定接続され、且つ二つの前記リフト柱の間にはリフト軸が固定接続され、前記リフト軸の軸体には支持輪が軸受によって接続され、前記リフトブロックのうち前記リフトスペースの中心から遠離する一側には前記リフトボードの上端面と固定接続される固定ブロックが設置され、前記固定ブロックの中には上端壁が前記リフトスペースと連通するばねスロットが設置され、前記ばねスロットの下端壁には接続ばねが固定接続され、前記駆動レバーの下端が前記リフトボードの上端面の左側の前記ばねスロットの上端壁を貫通し且つ前記接続ばねと固定接続され、前記移動レバーの下端が前記リフトボードの上端面右側の前記ばねスロットの上端壁を貫通し且つ前記接続ばねと固定接続される。
優先的には、前記交換機構はラックスペースを含み、前記リフトスペースの下端壁の中にはラックスペースが内設され、前記ラックスペースの左右端壁の間にはラック軸が回転できるように接続され、前記ラック軸の軸体にはラックギアが固定接続され、前記ラックギアの上端には従動ラックが噛合接続され、前記ラックギアの下側には前記ラックスペースとスライドできるように接続される主動ラックが噛合接続され、前記従動ラックの後端には下端が前記ラックスペースとスライドできるように接続される支持ブロックが固定接続され、前記支持ブロックの後端と前記ラックスペースの後端壁との間には伸縮ばねが固定接続され、前記リフトスペースの後端壁の中には上端壁が外界空間と連通する昇降スペースが内設され、前記昇降スペースの下端壁には昇降ばねが固定接続され、前記昇降ばねの上端には上端が前記昇降スペースの上端壁を貫通し且つ外界空間に位置する遮断ブロックが固定接続され、前記遮断ブロックの中には前端壁が外界空間と連通する回転スロットが設置され、前記回転スロットの左右端壁の間には回転軸が固定接続され、前記回転軸の軸体にはトーションスプリング(付図には示していない)によって回転ボードが接続され、前記回転ボードの上端には下端が前記回転スロットの下端壁と前記リフトスペースの後端壁とを貫通し且つ前記リフトボードの下端面と固定接続される紐が固定接続され、前記従動ラックの後端には後端が前記ラックスペースの後端壁と前記昇降スペースの下端壁とを貫通し且つ前記遮断ブロックと固定接続されるロープが固定接続され、前記昇降スペースの後端壁の中には上端壁が外界空間と連通する回転スペースが設置され、前記回転スペースの左右端壁の間には従動軸が回転できるように接続され、前記従動軸の軸体にはトーションスプリング(付図には示していない)によって従動ボードが接続され、前記移動スペースの前端壁の中には上端壁が外界空間と連通する昇降スロットが設置され、前記昇降スロットの中には昇降ボードがスライドできるように接続され、前記昇降ボードの下端面には下端が前記昇降スロットの下端壁と前記回転スペースの下端壁とを貫通し且つ前記従動ボードの後端と固定接続されるチェーンが固定接続され、前記昇降ボードの下端面には下端が前記昇降スロットの下端壁と固定接続される圧縮ばねが前記チェーンを中心として前後対称して固定接続され、前記チェーンの後側には上端が前記昇降ボードと固定接続され且つ下端が前記昇降スロットの下端壁と前記ラックスペースの前端壁とを貫通し且つ前記主動ラックの前端と固定接続される麻縄が設置される。
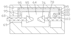
優先的には、前記接続機構が接続スペースを含み、前記プッシュ軸の左端の中には接続スペースが設置され、前記接続スペースの左端壁の中には前記接続スロットと前記接続スペースとを連通する貫通穴が設置され、前記貫通穴の上端壁には下端壁が前記貫通穴を連通するばねスペースを含み、前記接続スペースの中には左端が前記貫通穴の左右端壁を貫通し且つ前記接続スロットの中に位置する押圧レバーが設置され、前記押圧レバーの右端には主動テーパーブロックが固定接続され、前記接続スペースの右端壁の中にはプッシュスペースが設置され、前記プッシュスペースの中には左端が前記プッシュスペースの左端壁を貫通し且つ前記接続スペースの中に位置するプッシュレバーが固定接続され、前記プッシュレバーの左端には従動テーパーブロックが固定接続され、前記接続スペースの後端壁の中にはプッシュスロットが設置され、前記プッシュスロットの前端面の左側が前記貫通穴と連通し、前記プッシュスロットの前端壁の右側が前記プッシュスペースと連通し、前記プッシュスペースの上下端壁の間には旋転軸が固定接続され、前記旋転軸の軸体には前端が前記プッシュレバーと噛合接続されるプッシュギアが固定接続され、前記プッシュギアの後端にはプッシュ柱が噛合接続され、前記プッシュ柱の右端には後端が前記プッシュスペースの後端壁を貫通し且つ前記プッシュスロットの中に位置する接続レバーが固定接続され、前記プッシュスロットの中に位置する前記接続レバーの後端には接続柱が固定接続され、前記接続柱の左端には前端が前記プッシュスロットの前端壁の左側を貫通し且つ前記押圧レバーと固定接続されるタンデムバーが固定接続され、前記接続スペースの上下端壁の中にはパンスペースが対称で設置され、前記パンスペースの中には前記接続スペースから遠離する一端が前記パンスペースのうち前記接続スペースから遠離する端壁を貫通し且つ前記接続スロットの中に位置する収納レバーが設置され、前記収納レバーのうち前記接続スペースに近接する一端が前記パンスペースのうち前記接続スペースに近接する端壁を貫通し且つ前記接続スペースの中に位置し、前記収納レバーのうち前記接続スペースに近接する一端には前記主動テーパーブロックと前記従動テーパーブロックと接触し接続されるプッシュブロックが固定接続され、前記パンスペースの中に位置する前記収納レバーには前記パンスペースとスライドできるように接続される押圧ボードが左右対称して固定接続され、前記押圧ボードのうち前記接続スペースから遠離する端面には前記パンスペースの端壁と固定接続される突出しばねが固定接続され、前記収納レバーのうち前記接続スペースから遠離する一端の中には前記接続スペースから遠離する端壁が前記接続スロットと連通する突出しスロットが設置され、前記突出しスロットのうち前記接続スペースに近接する端壁には固定ばねが固定接続され、前記固定ばねのうち前記接続スペースから遠離する一端には前記突出しスロットのうち前記接続スペースから遠離する端壁を貫通し且つ前記接続スロットの中に位置する突出しブロックが固定接続される。
優先的には、前記伝達機構は伝達スペースを含み、前記巻軸の左側の前記リールの中には左端壁が外界空間と連通する伝達スペースが設置され、前記伝達スペースの上端壁の中には下端壁が前記伝達スペースと連通するターンスペースが設置され、前記ターンスペースの左端壁の中には下端壁が前記伝達スペースと連通する伝達スロットが設置され、前記伝達スペースの中には上端が前記ターンスペースの下端壁を貫通し且つターンスペースの中に位置する伝達ボードがスライドできるように接続され、前記駆動軸の右端が前記伝達スペースの左端壁を貫通し且つ前記伝達ボードと固定接続され、前記ターンスペースの前後端壁の間にはターン軸が回転できるように接続され、前記ターン軸の軸体にはターンギアが固定接続され、前記ターンギアの下端が前記伝達ボードの上端と噛合接続され、前記ターンギアの上端には左端が前記ターンスペースの左端壁を貫通し且つ前記伝達スロットの中に位置するターンレバーが噛合接続され、前記伝達スロットの中には下端が前記伝達スロットの下端壁を貫通し且つ前記伝達スペースの中に位置する伝達ブロックがスライドできるように接続され、前記伝達ブロックの上端の中には左右端壁と下端壁とがいずれも前記伝達スロットと連通するパンスロットが設置され、前記パンスロットの中には左右両端がそれぞれ前記パンスロットの左右端壁を貫通し且つ前記伝達スロットとスライドできるように接続されるパンボードがスライドできるように接続され、前記パンボードの上端面には上端が前記パンスロットの上端壁を貫通し且つ前記伝達スロットの中に位置するパンブロックが固定接続され、前記パンブロックの上端面には回型ブロックが固定接続され、前記回型ブロックの上端面には上端が前記伝達スロットの上端壁と固定接続される旋転ばねが固定接続され、前記回型ブロックの中には左右端壁が前記伝達スロットと連通する貫通スペースが設置され、前記ターンレバーの左端が前記貫通スペースの左右端壁を貫通し且つ前記伝達スロットの中に位置し、前記ターンレバーの左端には右端が前記貫通スペースの左端壁を貫通し且つ前記貫通スペースの中に位置する三角ブロックが固定接続され、前記伝達スペースの右端壁と前記伝達ボードとの間には前記従動ばねが固定接続され、前記旋転ばねがずっと圧縮状態にある。
有益的には、前記警告機構はブザーを含み、前記整経台の右端面の中には発音体が設置され、前記整経台の右端面には前記ブザーが固定接続され、前記ブザーと前記発音体との間はデータラインを介して接続され、その作用は巻軸を取り替えた後、ブザーが作動して装置の取り付けの完了を提示することである。
現在の技術と比べ、本発明の有益効果は:本発明は作動する中、巻軸とリールがパンボードの上側に位置する時、移動モータが作動し、これにより移動軸を回転駆動させ、これにより移動柱が左へ運動し、これによりプッシュ軸が左へ運動し、プッシュ軸の左端が接続スロットの中に進入し、プッシュ軸の運動に連動させられて押圧レバーが右へ運動し、これにより主動テーパーブロックが右へ運動し、同時に押圧レバーの運動によってタンデムレバーと接続柱と接続レバーとプッシュ柱を連動させて右へ運動させ、これによりプッシュギアを回転駆動させ、これによりプッシュレバーを左へ運動させ、これにより従動テーパーブロックを連動させて左へ運動させ、これによりプッシュブロックを連動させて接続スペースの中心から遠離する方向へ運動させ、これにより収納レバーを連動させて接続スペースの中心から遠離する方向へ運動させ、これにより突出しブロックを連動させて収納スロットに進入させ、プッシュ軸が左へ運動してリールを動かす時、駆動軸の右端が伝達スペースの中に進入し、これにより伝達ボードを連動させて右へ運動させ、これによりターンギアを回転駆動させ、これによりターンレバーを連動させて左へ運動させ、これにより三角ブロックを連動させて次第に貫通スペースから遠離させ、これにより旋転ばねによって回型ブロックを連動させて下へ運動させ、これにより伝達ブロックを連動させて下へ運動させ、これにより伝達ブロックをプッシュボードと当接させ、上記二つのプロセスが完了した時、リミットスロットの左端壁と巻軸の左側のリールの左端面との間に一定の距離があり、同時に移動ボードの中に位置するリフトスロットがリフトスペースと連通し、この時主動電磁石と従動電磁石が作動を停止し、これによりリフトばねによってリフトボードを連動させて上昇させ、これにより固定ブロックとリフトブロックとを連動させて上昇させ、これにより駆動レバーと移動レバーとを連動させて上昇させ、これにより駆動ボードと、巻軸と、移動ブロックとを上昇させ、同時に支持輪をリフトスロットに通過させてリールの下端と接触させ、この時紐が引き締まり、この時駆動モータが作動し、駆動軸の伝動によってリールと巻軸とを連動させて回転させ、これによりケーブルを巻き始め、ケーブルが巻くほど巻き軸に対する付勢力が大きく、これによりリフトばねを連動させて圧縮させ、リールの下端面が移動ボードの上端面と接触する時、主動電磁石と従動電磁石とが作動し、これによりリフトボードを連動させて次第に下降させ、これにより支持輪を連動させてリフトスロットから離れさせ、駆動モータが作動を停止し、移動モータが逆方向で回転し、これにより移動軸を逆方向で回転させ、これにより移動柱と移動ボードとを連動させて右へ運動させ、これによりプッシュ軸を連動させて右へ運動させ、押圧レバーが比較的に左へ運動することにつれて、これにより前記主動テーパーブロックと前記従動テーパーブロックとが連動させられて接続スペースの中心から遠離する方向へ運動し、これにより突出しブロックを連動させて収納スロットから遠離させ、突出しブロックが収納スロットから離れる時、リミットスロットの左端壁と巻軸の左側のリールの左端面とが接触し、これにより伝達ボードを連動させて従動ばねの付勢力のもとで左へ運動させ、これにより三角ブロックを連動させて右へ運動して次第に貫通スペースに進入させ、これにより回型ブロックと伝達ブロックとを連動させて上へ運動して伝達スペースから離れさせ、これにより駆動軸が伝達スペースから離れた後、移動モータが作動を停止し、同時にリフトボードの下降によって紐を緩め、これにより回転ボードがトーションスプリング(付図には示していない)の作用のもとで回転し、これによりケーブルがいっぱい巻かれたリールを動かして前へ運動させ、これによりケーブルがいっぱい巻かれたリールが昇降ボードの上側まで運動させ、これにより昇降ボードを連動させて下降させ、これによりチェーンと麻縄とを緩め、これにより主動ラックを伸縮ばねの作用のもとで後へ運動させ、これによりラックギアを回転駆動させ、これにより従動ラックを連動させて前へ運動させ、これによりロープの伝動により遮断ブロックを連動させて昇降スペースの中に進入させ、回転ボードが圧されて回転スロットの中に戻り、チェーンが緩めになったため、従動ボードがトーションスプリング(付図には示していない)の作用のもとで空の巻軸とリールとを連動させて移動ボードの上側に移動させ、これにより上記プロセスを繰り返し、この装置は構造が簡単で、操作が便利で、リフト機構の作用によって回転している巻軸とリールとをサポートし、これにより装置の安定性を改善し、同時に巻軸にケーブルが巻かれて重量が次第に増加している時、リフト機構の作用によって巻軸から駆動軸とプッシュ軸とに対する剪断応力を弱め、これにより軸の使用寿命を増加し、機械的伝達によって巻軸を自動に交換でき、これにより加工効率を高め、労働力を節約する。
図1は本発明の穴あけユニット用の自動化多芯動力ケーブル設備の全体断面の正面構造図である。 図2は本発明の穴あけユニット用の自動化多芯動力ケーブル設備の全体断面の左面構造図である。 図3は本発明の穴あけユニット用の自動化多芯動力ケーブル設備における接続機構の全体断面の正面拡大構造図である。 図4は本発明の穴あけユニット用の自動化多芯動力ケーブル設備における動力伝達機構の全体断面の正面拡大構造図である。 図5は本発明の穴あけユニット用の自動化多芯動力ケーブル設備における接続機構の局部断面の俯瞰拡大構造図である。
下記に本発明の実施例の中の附図を交え、本発明の実施例の技術方案を明確にはっきり説明し、説明した実施例がただ本発明の一部分の実施例で、全部の実施例ではないである。本発明の実施例に基づいて、本領域の普通技術者が創造的な労働を払わないことを前提に得る全部のその他の実施例は本発明の保護範囲に所属する。
図1~5を参照し、本発明が提供する実施例は:穴あけユニット用の自動化多芯動力ケーブル設備は、整経台1を含み、前記整経台1の中にはリフトスペース8が内設され、前記リフトスペース8の中にはリフト機構28が内設され、前記リフトスペース8の下端壁の中には交換機構40が内設され、前記リフトスペース8の上端壁には上端壁が外界空間と連通する移動スペース9が内設され、前記移動スペース9の右端壁には移動モータ30が固定接続され、前記移動モータ30の左端面には移動軸29が動力が伝達できるように接続され、前記移動軸29の左端には上端が前記移動スペース9の上端壁を貫通し且つ外界空間に位置する移動柱23が螺合接続され、前記移動スペース9の中に位置する前記移動柱23の左端面には前記移動ボード19が固定接続され、前記移動ボード19の上端面の中には上端壁が外界空間と連通するリミットスロット21が内設され、前記移動ボード19の中には上端壁が前記リミットスロット21と連通し且つ下端壁が前記移動スペース9の下端壁と前記移動ボード19の下端面とを貫通して前記リフトスペース8と連通するリフトスロット18が内設され、前記整経台1の上端面には支持柱16が固定接続され、前記支持柱16の中には駆動スペース15が内設され、前記駆動スペース15の中には駆動ボード11がスライドできるように接続され、前記駆動ボード11の上端面には駆動モータ12が固定接続され、前記駆動モータ12の右端面には右端が前記駆動スペース15の右端壁を貫通し且つ外界空間に位置する駆動軸13が動力が伝達できるように接続され、前記駆動軸13の右端にはプッシュボード14が上下対称で固定接続され、前記駆動ボード11の下端面には下端が前記駆動スペース15の下端壁と前記リフトスペース8の上端壁とを貫通し且つ前記リフトスペース8の中に位置する駆動レバー10が固定接続され、前記移動柱23の中には移動スロット24が内設され、前記移動スロット24の中には移動ブロック26がスライドできるように接続され、前記移動ブロック26の左端には左端が前記移動スロット24の左端壁を貫通し且つ外界空間に位置するプッシュ軸25が軸受を介して接続され、前記プッシュ軸25の左端の中には接続機構22が内設され、前記移動ブロック26の下端面には下端が前記移動スロット24の下端壁と前記リフトスペース8の上端壁を貫通し且つ前記リフトスペース8の中に位置する移動レバー27が固定接続され、前記支持柱16の右側には巻軸20が設置され、前記巻軸20の左右両端にはリール17が固定接続され、前記巻軸20の左側の前記リール17の中には伝達機構63が内設され、前記巻軸20の右側の前記リール17の中には右端壁が外界空間と連通する接続スロット60が内設され、前記プッシュ軸25の左端が前記接続スロット60の右端壁を貫通し且つ前記接続スロット60の中に位置し、前記接続スロット60の上下端壁には前記プッシュ軸25に近接する端壁が前記接続スロット60に連通する収容スロット61が対称で設置され、前記整経台1の右端面には警告機構108が設置される。
有益的には、前記リフト機構28はリフトボード4を含み、前記リフトスペース8の中には前記リフトボード4がスライドできるように接続され、前記リフトボード4の下端面には従動電磁石2が固定接続され、前記リフトスペース8の下端壁には主動電磁石41が固定接続され、前記リフトボード4の下端面には前記従動電磁石3を中心として左右対称してリフトばね3が固定接続され、前記リフトばね3の下端が前記リフトスペース8の下端壁と固定接続され、前記リフトボード4の上端面には左右対称してリフトボード31が固定接続され、前記リフトブロック31の上端面には左右対称してリフト柱34が固定接続され、且つ二つの前記リフト柱34の間にはリフト軸33が固定接続され、前記リフト軸33の軸体には支持輪32が軸受によって接続され、前記リフトブロック31のうち前記リフトスペース8の中心から遠離する一側には前記リフトボード4の上端面と固定接続される固定ブロック7が設置され、前記固定ブロック7の中には上端壁が前記リフトスペース8と連通するばねスロット5が設置され、前記ばねスロット5の下端壁には接続ばね6が固定接続され、前記駆動レバー10の下端が前記リフトボード4の上端面の左側の前記ばねスロット5の上端壁を貫通し且つ前記接続ばね6と固定接続され、前記移動レバー27の下端が前記リフトボード4の上端面右側の前記ばねスロット5の上端壁を貫通し且つ前記接続ばね6と固定接続される。
有益的には、前記交換機構40はラックスペース39を含み、前記リフトスペース8の下端壁の中にはラックスペース39が内設され、前記ラックスペース39の左右端壁の間にはラック軸38が回転できるように接続され、前記ラック軸38の軸体にはラックギア36が固定接続され、前記ラックギア36の上端には従動ラック37が噛合接続され、前記ラックギア36の下側には前記ラックスペース39とスライドできるように接続される主動ラック35が噛合接続され、前記従動ラック37の後端には下端が前記ラックスペース39とスライドできるように接続される支持ブロック58が固定接続され、前記支持ブロック58の後端と前記ラックスペース39の後端壁との間には伸縮ばね59が固定接続され、前記リフトスペース8の後端壁の中には上端壁が外界空間と連通する昇降スペース56が内設され、前記昇降スペース56の下端壁には昇降ばね55が固定接続され、前記昇降ばね55の上端には上端が前記昇降スペース56の上端壁を貫通し且つ外界空間に位置する遮断ブロック50が固定接続され、前記遮断ブロック50の中には前端壁が外界空間と連通する回転スロット49が設置され、前記回転スロット49の左右端壁の間には回転軸47が固定接続され、前記回転軸47の軸体にはトーションスプリング(付図には示していない)によって回転ボード48が接続され、前記回転ボード48の上端には下端が前記回転スロット49の下端壁と前記リフトスペース8の後端壁とを貫通し且つ前記リフトボード4の下端面と固定接続される紐51が固定接続され、前記従動ラック37の後端には後端が前記ラックスペース39の後端壁と前記昇降スペース56の下端壁とを貫通し且つ前記遮断ブロック50と固定接続されるロープ57が固定接続され、前記昇降スペース56の後端壁の中には上端壁が外界空間と連通する回転スペース52が設置され、前記回転スペース52の左右端壁の間には従動軸53が回転できるように接続され、前記従動軸53の軸体にはトーションスプリング(付図には示していない)によって従動ボード54が接続され、前記移動スペース9の前端壁の中には上端壁が外界空間と連通する昇降スロット104が設置され、前記昇降スロット104の中には昇降ボード44がスライドできるように接続され、前記昇降ボード44の下端面には下端が前記昇降スロット104の下端壁と前記回転スペース52の下端壁とを貫通し且つ前記従動ボード54の後端と固定接続されるチェーン43が固定接続され、前記昇降ボード44の下端面には下端が前記昇降スロット104の下端壁と固定接続される圧縮ばね46が前記チェーン43を中心として前後対称して固定接続され、前記チェーン43の後側には上端が前記昇降ボード44と固定接続され且つ下端が前記昇降スロット104の下端壁と前記ラックスペース39の前端壁とを貫通し且つ前記主動ラック35の前端と固定接続される麻縄45が設置される。
有益的には、前記接続機構22が接続スペース64を含み、前記プッシュ軸25の左端の中には接続スペース64が設置され、前記接続スペース64の左端壁の中には前記接続スロット60と前記接続スペース64とを連通する貫通穴69が設置され、前記貫通穴69の上端壁には下端壁が前記貫通穴69を連通するばねスペース66を含み、前記接続スペース64の中には左端が前記貫通穴69の左右端壁を貫通し且つ前記接続スロット60の中に位置する押圧レバー68が設置され、前記押圧レバー68の右端には主動テーパーブロック95が固定接続され、前記接続スペース64の右端壁の中にはプッシュスペース102が設置され、前記プッシュスペース102の中には左端が前記プッシュスペース102の左端壁を貫通し且つ前記接続スペース64の中に位置するプッシュレバー78が固定接続され、前記プッシュレバー78の左端には従動テーパーブロック76が固定接続され、前記接続スペース64の後端壁の中にはプッシュスロット96が設置され、前記プッシュスロット96の前端面の左側が前記貫通穴69と連通し、前記プッシュスロット96の前端壁の右側が前記プッシュスペース102と連通し、前記プッシュスペース102の上下端壁の間には旋転軸103が固定接続され、前記旋転軸103の軸体には前端が前記プッシュレバー78と噛合接続されるプッシュギア101が固定接続され、前記プッシュギア101の後端にはプッシュ柱100が噛合接続され、前記プッシュ柱100の右端には後端が前記プッシュスペース102の後端壁を貫通し且つ前記プッシュスロット96の中に位置する接続レバー99が固定接続され、前記プッシュスロット96の中に位置する前記接続レバー99の後端には接続柱97が固定接続され、前記接続柱97の左端には前端が前記プッシュスロット96の前端壁の左側を貫通し且つ前記押圧レバー68と固定接続されるタンデムバー98が固定接続され、前記接続スペース64の上下端壁の中にはパンスペース77が対称で設置され、前記パンスペース77の中には前記接続スペース64から遠離する一端が前記パンスペース77のうち前記接続スペース64から遠離する端壁を貫通し且つ前記接続スロット60の中に位置する収納レバー73が設置され、前記収納レバー73のうち前記接続スペース64に近接する一端が前記パンスペース77のうち前記接続スペース64に近接する端壁を貫通し且つ前記接続スペース64の中に位置し、前記収納レバー73のうち前記接続スペース64に近接する一端には前記主動テーパーブロック95と前記従動テーパーブロック76と接触し接続されるプッシュブロック62が固定接続され、前記パンスペース77の中に位置する前記収納レバー73には前記パンスペース77とスライドできるように接続される押圧ボード75が左右対称して固定接続され、前記押圧ボード75のうち前記接続スペース64から遠離する端面には前記パンスペース77の端壁と固定接続される突出しばね74が固定接続され、前記収納レバー73のうち前記接続スペース64から遠離する一端の中には前記接続スペース64から遠離する端壁が前記接続スロット60と連通する突出しスロット72が設置され、前記突出しスロット72のうち前記接続スペース64に近接する端壁には固定ばね71が固定接続され、前記固定ばね71のうち前記接続スペース64から遠離する一端には前記突出しスロット72のうち前記接続スペース64から遠離する端壁を貫通し且つ前記接続スロット60の中に位置する突出しブロック70が固定接続される。
有益的には、前記伝達機構63は伝達スペース79を含み、前記巻軸20の左側の前記リール17の中には左端壁が外界空間と連通する伝達スペース79が設置され、前記伝達スペース90の上端壁の中には下端壁が前記伝達スペース79と連通するターンスペース90が設置され、前記ターンスペース90の左端壁の中には下端壁が前記伝達スペース79と連通する伝達スロット85が設置され、前記伝達スペース79の中には上端が前記ターンスペース90の下端壁を貫通し且つターンスペース90の中に位置する伝達ボード93がスライドできるように接続され、前記駆動軸13の右端が前記伝達スペース79の左端壁を貫通し且つ前記伝達ボード93と固定接続され、前記ターンスペース90の前後端壁の間にはターン軸91が回転できるように接続され、前記ターン軸91の軸体にはターンギア92が固定接続され、前記ターンギア92の下端が前記伝達ボード93の上端と噛合接続され、前記ターンギア92の上端には左端が前記ターンスペース90の左端壁を貫通し且つ前記伝達スロット85の中に位置するターンレバー89が噛合接続され、前記伝達スロット85の中には下端が前記伝達スロット85の下端壁を貫通し且つ前記伝達スペース79の中に位置する伝達ブロック80がスライドできるように接続され、前記伝達ブロック80の上端の中には左右端壁と下端壁とがいずれも前記伝達スロット85と連通するパンスロット81が設置され、前記パンスロット81の中には左右両端がそれぞれ前記パンスロット81の左右端壁を貫通し且つ前記伝達スロット85とスライドできるように接続されるパンボード82がスライドできるように接続され、前記パンボード82の上端面には上端が前記パンスロット81の上端壁を貫通し且つ前記伝達スロット85の中に位置するパンブロック83が固定接続され、前記パンブロック83の上端面には回型ブロック87が固定接続され、前記回型ブロック87の上端面には上端が前記伝達スロット85の上端壁と固定接続される旋転ばね86が固定接続され、前記回型ブロック87の中には左右端壁が前記伝達スロット85と連通する貫通スペース88が設置され、前記ターンレバー89の左端が前記貫通スペース88の左右端壁を貫通し且つ前記伝達スロット85の中に位置し、前記ターンレバー89の左端には右端が前記貫通スペース88の左端壁を貫通し且つ前記貫通スペース88の中に位置する三角ブロック8484が固定接続され、前記伝達スペース79の右端壁と前記伝達ボード93との間には前記従動ばね94が固定接続され、前記旋転ばね86がずっと圧縮状態にある。
有益的には、前記警告機構108はブザー107を含み、前記整経台1の右端面の中には発音体105が設置され、前記整経台1の右端面には前記ブザー107が固定接続され、前記ブザー107と前記発音体105との間はデータライン106を介して接続され、その作用は巻軸20を取り替えた後、ブザー107が作動して装置の取り付けの完了を提示することである。
具体的な使用方法:本発明は作動する中、巻軸20とリール17がパンボード19の上側に位置する時、移動モータ30が作動し、これにより移動軸29を回転駆動させ、これにより移動柱23が左へ運動し、これによりプッシュ軸25が左へ運動し、プッシュ軸25の左端が接続スロット60の中に進入し、プッシュ軸25の運動に連動させられて押圧レバー68が右へ運動し、これにより主動テーパーブロック95が右へ運動し、同時に押圧レバー68の運動によってタンデムレバー98と接続柱97と接続レバー99とプッシュ柱100を連動させて右へ運動させ、これによりプッシュギア101を回転駆動させ、これによりプッシュレバー78を左へ運動させ、これにより従動テーパーブロック76を連動させて左へ運動させ、これによりプッシュブロック62を連動させて接続スペース64の中心から遠離する方向へ運動させ、これにより収納レバー73を連動させて接続スペース64の中心から遠離する方向へ運動させ、これにより突出しブロック70を連動させて収納スロット61に進入させ、プッシュ軸25が左へ運動してリール17を動かす時、駆動軸13の右端が伝達スペース79の中に進入し、これにより伝達ボード93を連動させて右へ運動させ、これによりターンギア92を回転駆動させ、これによりターンレバー89を連動させて左へ運動させ、これにより三角ブロック84を連動させて次第に貫通スペース88から遠離させ、これにより旋転ばね86によって回型ブロック87を連動させて下へ運動させ、これにより伝達ブロック80を連動させて下へ運動させ、これにより伝達ブロック80をプッシュボード14と当接させ、上記二つのプロセスが完了した時、リミットスロット21の左端壁と巻軸20の左側のリール17の左端面との間に一定の距離があり、同時に移動ボード19の中に位置するリフトスロット18がリフトスペース8と連通し、この時主動電磁石41と従動電磁石2が作動を停止し、これによりリフトばね3によってリフトボード4を連動させて上昇させ、これにより固定ブロック7とリフトブロック31とを連動させて上昇させ、これにより駆動レバー10と移動レバー27とを連動させて上昇させ、これにより駆動ボード11と、巻軸20と、移動ブロック26とを上昇させ、同時に支持輪32をリフトスロット18に通過させてリール17の下端と接触させ、この時紐51が引き締まり、この時駆動モータ12が作動し、駆動軸13の伝動によってリール17と巻軸20とを連動させて回転させ、これによりケーブルを巻き始め、ケーブルが巻くほど巻き軸20に対する付勢力が大きく、これによりリフトばね3を連動させて圧縮させ、リール17の下端面が移動ボード19の上端面と接触する時、主動電磁石41と従動電磁石2とが作動し、これによりリフトボード4を連動させて次第に下降させ、これにより支持輪32を連動させてリフトスロット18から離れさせ、駆動モータ12が作動を停止し、移動モータ30が逆方向で回転し、これにより移動軸29を逆方向で回転させ、これにより移動柱23と移動ボード19とを連動させて右へ運動させ、これによりプッシュ軸25を連動させて右へ運動させ、押圧レバー68が比較的に左へ運動することにつれて、これにより前記主動テーパーブロック95と前記従動テーパーブロック76とが連動させられて接続スペース64の中心から遠離する方向へ運動し、これにより突出しブロック70を連動させて収納スロット61から遠離させ、突出しブロック70が収納スロット61から離れる時、リミットスロット21の左端壁と巻軸20の左側のリール17の左端面とが接触し、これにより伝達ボード93を連動させて従動ばね94の付勢力のもとで左へ運動させ、これにより三角ブロック8484を連動させて右へ運動して次第に貫通スペース88に進入させ、これにより回型ブロック87と伝達ブロック80とを連動させて上へ運動して伝達スペースから離れさせ、これにより駆動軸13が伝達スペース79から離れた後、移動モータ30が作動を停止し、同時にリフトボード4の下降によって紐51を緩め、これにより回転ボード48がトーションスプリング(付図には示していない)の作用のもとで回転し、これによりケーブルがいっぱい巻かれたリール17を動かして前へ運動させ、これによりケーブルがいっぱい巻かれたリール17が昇降ボード44の上側まで運動させ、これにより昇降ボード44を連動させて下降させ、これによりチェーン43と麻縄45とを緩め、これにより主動ラック35を伸縮ばね59の作用のもとで後へ運動させ、これによりラックギア36を回転駆動させ、これにより従動ラック37を連動させて前へ運動させ、これによりロープ57の伝動により遮断ブロック50を連動させて昇降スペース56の中に進入させ、回転ボード48が圧されて回転スロット49の中に戻り、チェーン43が緩めになったため、従動ボード54がトーションスプリング(付図には示していない)の作用のもとで空の巻軸20とリール17とを連動させて移動ボード19の上側に移動させ、これにより上記プロセスを繰り返し、この装置は構造が簡単で、操作が便利で、リフト機構28の作用によって回転している巻軸20とリール17とをサポートし、これにより装置の安定性を改善し、同時に巻軸20にケーブルが巻かれて重量が次第に増加している時、リフト機構28の作用によって巻軸20から駆動軸13とプッシュ軸25とに対する剪断応力を弱め、これにより軸の使用寿命を増加し、機械的伝達によって巻軸を自動に交換でき、これにより加工効率を高め、労働力を節約する。
本分野の技術者にとって、本発明は上記の模範の実施例の細部に限らなく、本発明の意義また基本的な特徴から背離しない状況で、その他の具体的な形式で本発明を実現できる。だから、どこから見てもこの実施例を模範で制限性ではないことと見なして、本発明の範囲は添付の権利要求に限定され、権利要求の同等重要書類の意味と範囲に落ちる全部の変化を本発明に包括させる。権利要求の中の全ての附図マークを権利要求を制限することと見なしないである。
本発明はケーブル製造分野に関し、具体的には穴あけユニット用の自動化多芯動力ケーブル設備のである。
科学技術の発展や社会の進歩に伴って、ケーブルの使用量がますます高まっています。現段階における穴あけユニット用の多芯動力ケーブルは複数のケーブルから組み合わせられ、ケーブルの製造中では特に最後のケーブルを巻く工程で、ケーブルから受ける付勢力が軸の使用寿命に大きな影響を及ぼし、且つ現在のこういうタイプのローラーを交換する工程は一般に大型機械を通じて操作し、作業量をひどく増加し、作業効率を下げる。
中国特許出願公開第105207115号明細書
本発明が解決する技術問題は穴あけユニット用の自動化多芯動力ケーブル設備を提供し、上記した技術的問題を解決する。
本発明は下記の技術プランを通じて実現される:本発明の穴あけユニット用の自動化多芯動力ケーブル設備は、整経台を含み、前記整経台の中にはリフトスペースが内設され、前記リフトスペースの中にはリフト機構が内設され、前記リフトスペースの下端壁の中には交換機構が内設され、前記リフトスペースの上端壁には上端壁が外界空間と連通する移動スペースが内設され、前記移動スペースの右端壁には移動モータが固定接続され、前記移動モータの左端面には移動軸が動力が伝達できるように接続され、前記移動軸の左端には上端が前記移動スペースの上端壁を貫通し且つ外界空間に位置する移動柱が螺合接続され、前記移動スペースの中に位置する前記移動柱の左端面には移動ボードが固定接続され、前記移動ボードの上端面の中には上端壁が外界空間と連通するリミットスロットが内設され、前記移動ボードの中には上端壁が前記リミットスロットと連通し且つ下端壁が前記移動スペースの下端壁と前記移動ボードの下端面とを貫通して前記リフトスペースと連通するリフトスロットが内設され、前記整経台の上端面には支持柱が固定接続され、前記支持柱の中には駆動スペースが内設され、前記駆動スペースの中には駆動ボードがスライドできるように接続され、前記駆動ボードの上端面には駆動モータが固定接続され、前記駆動モータの右端面には右端が前記駆動スペースの右端壁を貫通し且つ外界空間に位置する駆動軸が動力が伝達できるように接続され、前記駆動軸の右端にはプッシュボードが上下対称で固定接続され、前記駆動ボードの下端面には下端が前記駆動スペースの下端壁と前記リフトスペースの上端壁とを貫通し且つ前記リフトスペースの中に位置する駆動レバーが固定接続され、前記移動柱の中には移動スロットが内設され、前記移動スロットの中には移動ブロックがスライドできるように接続され、前記移動ブロックの左端には左端が前記移動スロットの左端壁を貫通し且つ外界空間に位置するプッシュ軸が軸受を介して接続され、前記プッシュ軸の左端の中には接続機構が内設され、前記移動ブロックの下端面には下端が前記移動スロットの下端壁と前記リフトスペースの上端壁を貫通し且つ前記リフトスペースの中に位置する移動レバーが固定接続され、前記支持柱の右側には巻軸が設置され、前記巻軸の左右両端にはリールが固定接続され、前記巻軸の左側の前記リールの中には伝達機構が内設され、前記巻軸の右側の前記リールの中には右端壁が外界空間と連通する接続スロットが内設され、前記プッシュ軸の左端が前記接続スロットの右端壁を貫通し且つ前記接続スロットの中に位置し、前記接続スロットの上下端壁には前記プッシュ軸に近接する端壁が前記接続スロットに連通する収容スロットが対称で設置され、前記整経台の右端面には警告機構が設置される。
優先的には、前記リフト機構はリフトボードを含み、前記リフトスペースの中には前記リフトボードがスライドできるように接続され、前記リフトボードの下端面には従動電磁石が固定接続され、前記リフトスペースの下端壁には主動電磁石が固定接続され、前記リフトボードの下端面には前記従動電磁石を中心として左右対称してリフトばねが固定接続され、前記リフトばねの下端が前記リフトスペースの下端壁と固定接続され、リフトボードの上面の左右両側にはリフトブロックが対称になるように固定接続され、前記リフトブロックの上端面には左右対称してリフト柱が固定接続され、且つ二つの前記リフト柱の間にはリフト軸が固定接続され、前記リフト軸の軸体には支持輪が軸受によって接続され、前記リフトブロックのうち前記リフトスペースの中心から遠離する一側には前記リフトボードの上端面と固定接続される固定ブロックが設置され、前記固定ブロックの中には上端壁が前記リフトスペースと連通するばねスロットが設置され、前記ばねスロットの下端壁には接続ばねが固定接続され、前記駆動レバーの下端が前記リフトボードの上端面の左側の前記ばねスロットの上端壁を貫通し且つ前記接続ばねと固定接続され、前記移動レバーの下端が前記リフトボードの上端面右側の前記ばねスロットの上端壁を貫通し且つ前記接続ばねと固定接続される。
優先的には、前記交換機構はラックスペースを含み、前記リフトスペースの下端壁の中にはラックスペースが内設され、前記ラックスペースの左右端壁の間にはラック軸が回転できるように接続され、前記ラック軸の軸体にはラックギアが固定接続され、前記ラックギアの上端には従動ラックが噛合接続され、前記ラックギアの下側には前記ラックスペースとスライドできるように接続される主動ラックが噛合接続され、前記従動ラックの後端には下端が前記ラックスペースとスライドできるように接続される支持ブロックが固定接続され、前記支持ブロックの後端と前記ラックスペースの後端壁との間には伸縮ばねが固定接続され、前記リフトスペースの後端壁の中には上端壁が外界空間と連通する昇降スペースが内設され、前記昇降スペースの下端壁には昇降ばねが固定接続され、前記昇降ばねの上端には上端が前記昇降スペースの上端壁を貫通し且つ外界空間に位置する遮断ブロックが固定接続され、前記遮断ブロックの中には前端壁が外界空間と連通する回転スロットが設置され、前記回転スロットの左右端壁の間には回転軸が固定接続され、前記回転軸の軸体にはトーションスプリング(付図には示していない)によって回転ボードが接続され、前記回転ボードの上端には下端が前記回転スロットの下端壁と前記リフトスペースの後端壁とを貫通し且つ前記リフトボードの下端面と固定接続される紐が固定接続され、前記従動ラックの後端には後端が前記ラックスペースの後端壁と前記昇降スペースの下端壁とを貫通し且つ前記遮断ブロックと固定接続されるロープが固定接続され、前記昇降スペースの後端壁の中には上端壁が外界空間と連通する回転スペースが設置され、前記回転スペースの左右端壁の間には従動軸が回転できるように接続され、前記従動軸の軸体にはトーションスプリング(付図には示していない)によって従動ボードが接続され、前記移動スペースの前端壁の中には上端壁が外界空間と連通する昇降スロットが設置され、前記昇降スロットの中には昇降ボードがスライドできるように接続され、前記昇降ボードの下端面には下端が前記昇降スロットの下端壁と前記回転スペースの下端壁とを貫通し且つ前記従動ボードの後端と固定接続されるチェーンが固定接続され、前記昇降ボードの下端面には下端が前記昇降スロットの下端壁と固定接続される圧縮ばねが前記チェーンを中心として前後対称して固定接続され、前記チェーンの後側には上端が前記昇降ボードと固定接続され且つ下端が前記昇降スロットの下端壁と前記ラックスペースの前端壁とを貫通し且つ前記主動ラックの前端と固定接続される麻縄が設置される。
優先的には、前記接続機構が接続スペースを含み、前記プッシュ軸の左端の中には接続スペースが設置され、前記接続スペースの左端壁の中には前記接続スロットと前記接続スペースとを連通する貫通穴が設置され、前記貫通穴の上端壁には下端壁が前記貫通穴を連通するばねスペースを含み、前記接続スペースの中には左端が前記貫通穴の左右端壁を貫通し且つ前記接続スロットの中に位置する押圧レバーが設置され、前記押圧レバーの右端には主動テーパーブロックが固定接続され、前記接続スペースの右端壁の中にはプッシュスペースが設置され、前記プッシュスペースの中には左端が前記プッシュスペースの左端壁を貫通し且つ前記接続スペースの中に位置するプッシュレバーが固定接続され、前記プッシュレバーの左端には従動テーパーブロックが固定接続され、前記接続スペースの後端壁の中にはプッシュスロットが設置され、前記プッシュスロットの前端面の左側が前記貫通穴と連通し、前記プッシュスロットの前端壁の右側が前記プッシュスペースと連通し、前記プッシュスペースの上下端壁の間には旋転軸が固定接続され、前記旋転軸の軸体には前端が前記プッシュレバーと噛合接続されるプッシュギアが固定接続され、前記プッシュギアの後端にはプッシュ柱が噛合接続され、前記プッシュ柱の右端には後端が前記プッシュスペースの後端壁を貫通し且つ前記プッシュスロットの中に位置する接続レバーが固定接続され、前記プッシュスロットの中に位置する前記接続レバーの後端には接続柱が固定接続され、前記接続柱の左端には前端が前記プッシュスロットの前端壁の左側を貫通し且つ前記押圧レバーと固定接続されるタンデムバーが固定接続され、前記接続スペースの上下端壁の中にはパンスペースが対称で設置され、前記パンスペースの中には前記接続スペースから遠離する一端が前記パンスペースのうち前記接続スペースから遠離する端壁を貫通し且つ前記接続スロットの中に位置する収納レバーが設置され、前記収納レバーのうち前記接続スペースに近接する一端が前記パンスペースのうち前記接続スペースに近接する端壁を貫通し且つ前記接続スペースの中に位置し、前記収納レバーのうち前記接続スペースに近接する一端には前記主動テーパーブロックと前記従動テーパーブロックと接触し接続されるプッシュブロックが固定接続され、前記パンスペースの中に位置する前記収納レバーには前記パンスペースとスライドできるように接続される押圧ボードが左右対称して固定接続され、前記押圧ボードのうち前記接続スペースから遠離する端面には前記パンスペースの端壁と固定接続される突出しばねが固定接続され、前記収納レバーのうち前記接続スペースから遠離する一端の中には前記接続スペースから遠離する端壁が前記接続スロットと連通する突出しスロットが設置され、前記突出しスロットのうち前記接続スペースに近接する端壁には固定ばねが固定接続され、前記固定ばねのうち前記接続スペースから遠離する一端には前記突出しスロットのうち前記接続スペースから遠離する端壁を貫通し且つ前記接続スロットの中に位置する突出しブロックが固定接続される。
優先的には、前記伝達機構は伝達スペースを含み、前記巻軸の左側の前記リールの中には左端壁が外界空間と連通する伝達スペースが設置され、前記伝達スペースの上端壁の中には下端壁が前記伝達スペースと連通するターンスペースが設置され、前記ターンスペースの左端壁の中には下端壁が前記伝達スペースと連通する伝達スロットが設置され、前記伝達スペースの中には上端が前記ターンスペースの下端壁を貫通し且つターンスペースの中に位置する伝達ボードがスライドできるように接続され、前記駆動軸の右端が前記伝達スペースの左端壁を貫通し且つ前記伝達ボードと固定接続され、前記ターンスペースの前後端壁の間にはターン軸が回転できるように接続され、前記ターン軸の軸体にはターンギアが固定接続され、前記ターンギアの下端が前記伝達ボードの上端と噛合接続され、前記ターンギアの上端には左端が前記ターンスペースの左端壁を貫通し且つ前記伝達スロットの中に位置するターンレバーが噛合接続され、前記伝達スロットの中には下端が前記伝達スロットの下端壁を貫通し且つ前記伝達スペースの中に位置する伝達ブロックがスライドできるように接続され、前記伝達ブロックの上端の中には左右端壁と下端壁とがいずれも前記伝達スロットと連通するパンスロットが設置され、前記パンスロットの中には左右両端がそれぞれ前記パンスロットの左右端壁を貫通し且つ前記伝達スロットとスライドできるように接続されるパンボードがスライドできるように接続され、前記パンボードの上端面には上端が前記パンスロットの上端壁を貫通し且つ前記伝達スロットの中に位置するパンブロックが固定接続され、前記パンブロックの上端面には回型ブロックが固定接続され、前記回型ブロックの上端面には上端が前記伝達スロットの上端壁と固定接続される旋転ばねが固定接続され、前記回型ブロックの中には左右端壁が前記伝達スロットと連通する貫通スペースが設置され、前記ターンレバーの左端が前記貫通スペースの左右端壁を貫通し且つ前記伝達スロットの中に位置し、前記ターンレバーの左端には右端が前記貫通スペースの左端壁を貫通し且つ前記貫通スペースの中に位置する三角ブロックが固定接続され、前記伝達スペースの右端壁と前記伝達ボードとは従動ばねによって連結され、前記旋転ばねがずっと圧縮状態にある。
有益的には、前記整経台の右壁の中に設けられた警告機構は、ブザーを含み、前記整経台の右端面の中には発音体が設置され、前記整経台の右端面には前記ブザーが固定接続され、前記ブザーと前記発音体との間はデータラインを介して接続され、前記警告機構の作用は巻軸を取り替えた後、ブザーが作動して装置の取り付けの完了を提示することである。
現在の技術と比べ、本発明の有益効果は:本発明は作動する中、巻軸とリールがパンボードの上側に位置する時、移動モータが作動し、これにより移動軸を回転駆動させ、これにより移動柱が左へ運動し、これによりプッシュ軸が左へ運動し、プッシュ軸の左端が接続スロットの中に進入し、プッシュ軸の運動に連動させられて押圧レバーが右へ運動し、これにより主動テーパーブロックが右へ運動し、同時に押圧レバーの運動によってタンデムレバーと接続柱と接続レバーとプッシュ柱を連動させて右へ運動させ、これによりプッシュギアを回転駆動させ、これによりプッシュレバーを左へ運動させ、これにより従動テーパーブロックを連動させて左へ運動させ、これによりプッシュブロックを連動させて接続スペースの中心から遠離する方向へ運動させ、これにより収納レバーを連動させて接続スペースの中心から遠離する方向へ運動させ、これにより突出しブロックを連動させて収納スロットに進入させ、プッシュ軸が左へ運動してリールを動かす時、駆動軸の右端が伝達スペースの中に進入し、これにより伝達ボードを連動させて右へ運動させ、これによりターンギアを回転駆動させ、これによりターンレバーを連動させて左へ運動させ、これにより三角ブロックを連動させて次第に貫通スペースから遠離させ、これにより旋転ばねによって回型ブロックを連動させて下へ運動させ、これにより伝達ブロックを連動させて下へ運動させ、これにより伝達ブロックをプッシュボードと当接させ、上記二つのプロセスが完了した時、リミットスロットの左端壁と巻軸の左側のリールの左端面との間に一定の距離があり、同時に移動ボードの中に位置するリフトスロットがリフトスペースと連通し、この時主動電磁石と従動電磁石が作動を停止し、これによりリフトばねによってリフトボードを連動させて上昇させ、これにより固定ブロックとリフトブロックとを連動させて上昇させ、これにより駆動レバーと移動レバーとを連動させて上昇させ、これにより駆動ボードと、巻軸と、移動ブロックとを上昇させ、同時に支持輪をリフトスロットに通過させてリールの下端と接触させ、この時紐が引き締まり、この時駆動モータが作動し、駆動軸の伝動によってリールと巻軸とを連動させて回転させ、これによりケーブルを巻き始め、ケーブルが巻くほど巻き軸に対する付勢力が大きく、これによりリフトばねを連動させて圧縮させ、リールの下端面が移動ボードの上端面と接触する時、主動電磁石と従動電磁石とが作動し、これによりリフトボードを連動させて次第に下降させ、これにより支持輪を連動させてリフトスロットから離れさせ、駆動モータが作動を停止し、移動モータが逆方向で回転し、これにより移動軸を逆方向で回転させ、これにより移動柱と移動ボードとを連動させて右へ運動させ、これによりプッシュ軸を連動させて右へ運動させ、押圧レバーが比較的に左へ運動することにつれて、これにより前記主動テーパーブロックと前記従動テーパーブロックとが連動させられて接続スペースの中心から遠離する方向へ運動し、これにより突出しブロックを連動させて収納スロットから遠離させ、突出しブロックが収納スロットから離れる時、リミットスロットの左端壁と巻軸の左側のリールの左端面とが接触し、これにより伝達ボードを連動させて従動ばねの付勢力のもとで左へ運動させ、これにより三角ブロックを連動させて右へ運動して次第に貫通スペースに進入させ、これにより回型ブロックと伝達ブロックとを連動させて上へ運動して伝達スペースから離れさせ、これにより駆動軸が伝達スペースから離れた後、移動モータが作動を停止し、同時にリフトボードの下降によって紐を緩め、これにより回転ボードがトーションスプリング(付図には示していない)の作用のもとで回転し、これによりケーブルがいっぱい巻かれたリールを動かして前へ運動させ、これによりケーブルがいっぱい巻かれたリールが昇降ボードの上側まで運動させ、これにより昇降ボードを連動させて下降させ、これによりチェーンと麻縄とを緩め、これにより主動ラックを伸縮ばねの作用のもとで後へ運動させ、これによりラックギアを回転駆動させ、これにより従動ラックを連動させて前へ運動させ、これによりロープの伝動により遮断ブロックを連動させて昇降スペースの中に進入させ、回転ボードが圧されて回転スロットの中に戻り、チェーンが緩めになったため、従動ボードがトーションスプリング(付図には示していない)の作用のもとで空の巻軸とリールとを連動させて移動ボードの上側に移動させ、これにより上記プロセスを繰り返し、この装置は構造が簡単で、操作が便利で、リフト機構の作用によって回転している巻軸とリールとをサポートし、これにより装置の安定性を改善し、同時に巻軸にケーブルが巻かれて重量が次第に増加している時、リフト機構の作用によって巻軸から駆動軸とプッシュ軸とに対する剪断応力を弱め、これにより軸の使用寿命を増加し、機械的伝達によって巻軸を自動に交換でき、これにより加工効率を高め、労働力を節約する。
図1は本発明の穴あけユニット用の自動化多芯動力ケーブル設備の全体断面の正面構造図である。 図2は本発明の穴あけユニット用の自動化多芯動力ケーブル設備の全体断面の左面構造図である。 図3は本発明の穴あけユニット用の自動化多芯動力ケーブル設備における接続機構の全体断面の正面拡大構造図である。 図4は本発明の穴あけユニット用の自動化多芯動力ケーブル設備における動力伝達機構の全体断面の正面拡大構造図である。 図5は本発明の穴あけユニット用の自動化多芯動力ケーブル設備における接続機構の局部断面の俯瞰拡大構造図である。
下記に本発明の実施例の中の附図を交え、本発明の実施例の技術方案を明確にはっきり説明し、説明した実施例がただ本発明の一部分の実施例で、全部の実施例ではないである。本発明の実施例に基づいて、本領域の普通技術者が創造的な労働を払わないことを前提に得る全部のその他の実施例は本発明の保護範囲に所属する。
図1〜5を参照し、本発明が提供する実施例は:穴あけユニット用の自動化多芯動力ケーブル設備は、整経台1を含み、前記整経台1の中にはリフトスペース8が内設され、前記リフトスペース8の中にはリフト機構28が内設され、前記リフトスペース8の下端壁の中には交換機構40が内設され、前記リフトスペース8の上端壁には上端壁が外界空間と連通する移動スペース9が内設され、前記移動スペース9の右端壁には移動モータ30が固定接続され、前記移動モータ30の左端面には移動軸29が動力が伝達できるように接続され、前記移動軸29の左端には上端が前記移動スペース9の上端壁を貫通し且つ外界空間に位置する移動柱23が螺合接続され、前記移動スペース9の中に位置する前記移動柱23の左端面には移動ボード19が固定接続され、前記移動ボード19の上端面の中には上端壁が外界空間と連通するリミットスロット21が内設され、前記移動ボード19の中には上端壁が前記リミットスロット21と連通し且つ下端壁が前記移動スペース9の下端壁と前記移動ボード19の下端面とを貫通して前記リフトスペース8と連通するリフトスロット18が内設され、前記整経台1の上端面には支持柱16が固定接続され、前記支持柱16の中には駆動スペース15が内設され、前記駆動スペース15の中には駆動ボード11がスライドできるように接続され、前記駆動ボード11の上端面には駆動モータ12が固定接続され、前記駆動モータ12の右端面には右端が前記駆動スペース15の右端壁を貫通し且つ外界空間に位置する駆動軸13が動力が伝達できるように接続され、前記駆動軸13の右端にはプッシュボード14が上下対称で固定接続され、前記駆動ボード11の下端面には下端が前記駆動スペース15の下端壁と前記リフトスペース8の上端壁とを貫通し且つ前記リフトスペース8の中に位置する駆動レバー10が固定接続され、前記移動柱23の中には移動スロット24が内設され、前記移動スロット24の中には移動ブロック26がスライドできるように接続され、前記移動ブロック26の左端には左端が前記移動スロット24の左端壁を貫通し且つ外界空間に位置するプッシュ軸25が軸受を介して接続され、前記プッシュ軸25の左端の中には接続機構22が内設され、前記移動ブロック26の下端面には下端が前記移動スロット24の下端壁と前記リフトスペース8の上端壁を貫通し且つ前記リフトスペース8の中に位置する移動レバー27が固定接続され、前記支持柱16の右側には巻軸20が設置され、前記巻軸20の左右両端にはリール17が固定接続され、前記巻軸20の左側の前記リール17の中には伝達機構63が内設され、前記巻軸20の右側の前記リール17の中には右端壁が外界空間と連通する接続スロット60が内設され、前記プッシュ軸25の左端が前記接続スロット60の右端壁を貫通し且つ前記接続スロット60の中に位置し、前記接続スロット60の上下端壁には前記プッシュ軸25に近接する端壁が前記接続スロット60に連通する収容スロット61が対称で設置され、前記整経台1の右端面には警告機構108が設置される。
有益的には、前記リフト機構28はリフトボード4を含み、前記リフトスペース8の中には前記リフトボード4がスライドできるように接続され、前記リフトボード4の下端面には従動電磁石2が固定接続され、前記リフトスペース8の下端壁には主動電磁石41が固定接続され、前記リフトボード4の下端面には前記従動電磁石3を中心として左右対称してリフトばね3が固定接続され、前記リフトばね3の下端が前記リフトスペース8の下端壁と固定接続され、前記リフトボード4の上面の左右両側にはリフトブロック31が対称になるように固定接続され、前記リフトブロック31の上端面には左右対称してリフト柱34が固定接続され、且つ二つの前記リフト柱34の間にはリフト軸33が固定接続され、前記リフト軸33の軸体には支持輪32が軸受によって接続され、前記リフトブロック31のうち前記リフトスペース8の中心から遠離する一側には前記リフトボード4の上端面と固定接続される固定ブロック7が設置され、前記固定ブロック7の中には上端壁が前記リフトスペース8と連通するばねスロット5が設置され、前記ばねスロット5の下端壁には接続ばね6が固定接続され、前記駆動レバー10の下端が前記リフトボード4の上端面の左側の前記ばねスロット5の上端壁を貫通し且つ前記接続ばね6と固定接続され、前記移動レバー27の下端が前記リフトボード4の上端面右側の前記ばねスロット5の上端壁を貫通し且つ前記接続ばね6と固定接続される。
有益的には、前記交換機構40はラックスペース39を含み、前記リフトスペース8の下端壁の中にはラックスペース39が内設され、前記ラックスペース39の左右端壁の間にはラック軸38が回転できるように接続され、前記ラック軸38の軸体にはラックギア36が固定接続され、前記ラックギア36の上端には従動ラック37が噛合接続され、前記ラックギア36の下側には前記ラックスペース39とスライドできるように接続される主動ラック35が噛合接続され、前記従動ラック37の後端には下端が前記ラックスペース39とスライドできるように接続される支持ブロック58が固定接続され、前記支持ブロック58の後端と前記ラックスペース39の後端壁との間には伸縮ばね59が固定接続され、前記リフトスペース8の後端壁の中には上端壁が外界空間と連通する昇降スペース56が内設され、前記昇降スペース56の下端壁には昇降ばね55が固定接続され、前記昇降ばね55の上端には上端が前記昇降スペース56の上端壁を貫通し且つ外界空間に位置する遮断ブロック50が固定接続され、前記遮断ブロック50の中には前端壁が外界空間と連通する回転スロット49が設置され、前記回転スロット49の左右端壁の間には回転軸47が固定接続され、前記回転軸47の軸体にはトーションスプリング(付図には示していない)によって回転ボード48が接続され、前記回転ボード48の上端には下端が前記回転スロット49の下端壁と前記リフトスペース8の後端壁とを貫通し且つ前記リフトボード4の下端面と固定接続される紐51が固定接続され、前記従動ラック37の後端には後端が前記ラックスペース39の後端壁と前記昇降スペース56の下端壁とを貫通し且つ前記遮断ブロック50と固定接続されるロープ57が固定接続され、前記昇降スペース56の後端壁の中には上端壁が外界空間と連通する回転スペース52が設置され、前記回転スペース52の左右端壁の間には従動軸53が回転できるように接続され、前記従動軸53の軸体にはトーションスプリング(付図には示していない)によって従動ボード54が接続され、前記移動スペース9の前端壁の中には上端壁が外界空間と連通する昇降スロット104が設置され、前記昇降スロット104の中には昇降ボード44がスライドできるように接続され、前記昇降ボード44の下端面には下端が前記昇降スロット104の下端壁と前記回転スペース52の下端壁とを貫通し且つ前記従動ボード54の後端と固定接続されるチェーン43が固定接続され、前記昇降ボード44の下端面には下端が前記昇降スロット104の下端壁と固定接続される圧縮ばね46が前記チェーン43を中心として前後対称して固定接続され、前記チェーン43の後側には上端が前記昇降ボード44と固定接続され且つ下端が前記昇降スロット104の下端壁と前記ラックスペース39の前端壁とを貫通し且つ前記主動ラック35の前端と固定接続される麻縄45が設置される。
有益的には、前記接続機構22が接続スペース64を含み、前記プッシュ軸25の左端の中には接続スペース64が設置され、前記接続スペース64の左端壁の中には前記接続スロット60と前記接続スペース64とを連通する貫通穴69が設置され、前記貫通穴69の上端壁には下端壁が前記貫通穴69を連通するばねスペース66を含み、前記接続スペース64の中には左端が前記貫通穴69の左右端壁を貫通し且つ前記接続スロット60の中に位置する押圧レバー68が設置され、前記押圧レバー68の右端には主動テーパーブロック95が固定接続され、前記接続スペース64の右端壁の中にはプッシュスペース102が設置され、前記プッシュスペース102の中には左端が前記プッシュスペース102の左端壁を貫通し且つ前記接続スペース64の中に位置するプッシュレバー78が固定接続され、前記プッシュレバー78の左端には従動テーパーブロック76が固定接続され、前記接続スペース64の後端壁の中にはプッシュスロット96が設置され、前記プッシュスロット96の前端面の左側が前記貫通穴69と連通し、前記プッシュスロット96の前端壁の右側が前記プッシュスペース102と連通し、前記プッシュスペース102の上下端壁の間には旋転軸103が固定接続され、前記旋転軸103の軸体には前端が前記プッシュレバー78と噛合接続されるプッシュギア101が固定接続され、前記プッシュギア101の後端にはプッシュ柱100が噛合接続され、前記プッシュ柱100の右端には後端が前記プッシュスペース102の後端壁を貫通し且つ前記プッシュスロット96の中に位置する接続レバー99が固定接続され、前記プッシュスロット96の中に位置する前記接続レバー99の後端には接続柱97が固定接続され、前記接続柱97の左端には前端が前記プッシュスロット96の前端壁の左側を貫通し且つ前記押圧レバー68と固定接続されるタンデムバー98が固定接続され、前記接続スペース64の上下端壁の中にはパンスペース77が対称で設置され、前記パンスペース77の中には前記接続スペース64から遠離する一端が前記パンスペース77のうち前記接続スペース64から遠離する端壁を貫通し且つ前記接続スロット60の中に位置する収納レバー73が設置され、前記収納レバー73のうち前記接続スペース64に近接する一端が前記パンスペース77のうち前記接続スペース64に近接する端壁を貫通し且つ前記接続スペース64の中に位置し、前記収納レバー73のうち前記接続スペース64に近接する一端には前記主動テーパーブロック95と前記従動テーパーブロック76と接触し接続されるプッシュブロック62が固定接続され、前記パンスペース77の中に位置する前記収納レバー73には前記パンスペース77とスライドできるように接続される押圧ボード75が左右対称して固定接続され、前記押圧ボード75のうち前記接続スペース64から遠離する端面には前記パンスペース77の端壁と固定接続される突出しばね74が固定接続され、前記収納レバー73のうち前記接続スペース64から遠離する一端の中には前記接続スペース64から遠離する端壁が前記接続スロット60と連通する突出しスロット72が設置され、前記突出しスロット72のうち前記接続スペース64に近接する端壁には固定ばね71が固定接続され、前記固定ばね71のうち前記接続スペース64から遠離する一端には前記突出しスロット72のうち前記接続スペース64から遠離する端壁を貫通し且つ前記接続スロット60の中に位置する突出しブロック70が固定接続される。
有益的には、前記伝達機構63は伝達スペース79を含み、前記巻軸20の左側の前記リール17の中には左端壁が外界空間と連通する伝達スペース79が設置され、前記伝達スペース90の上端壁の中には下端壁が前記伝達スペース79と連通するターンスペース90が設置され、前記ターンスペース90の左端壁の中には下端壁が前記伝達スペース79と連通する伝達スロット85が設置され、前記伝達スペース79の中には上端が前記ターンスペース90の下端壁を貫通し且つターンスペース90の中に位置する伝達ボード93がスライドできるように接続され、前記駆動軸13の右端が前記伝達スペース79の左端壁を貫通し且つ前記伝達ボード93と固定接続され、前記ターンスペース90の前後端壁の間にはターン軸91が回転できるように接続され、前記ターン軸91の軸体にはターンギア92が固定接続され、前記ターンギア92の下端が前記伝達ボード93の上端と噛合接続され、前記ターンギア92の上端には左端が前記ターンスペース90の左端壁を貫通し且つ前記伝達スロット85の中に位置するターンレバー89が噛合接続され、前記伝達スロット85の中には下端が前記伝達スロット85の下端壁を貫通し且つ前記伝達スペース79の中に位置する伝達ブロック80がスライドできるように接続され、前記伝達ブロック80の上端の中には左右端壁と下端壁とがいずれも前記伝達スロット85と連通するパンスロット81が設置され、前記パンスロット81の中には左右両端がそれぞれ前記パンスロット81の左右端壁を貫通し且つ前記伝達スロット85とスライドできるように接続されるパンボード82がスライドできるように接続され、前記パンボード82の上端面には上端が前記パンスロット81の上端壁を貫通し且つ前記伝達スロット85の中に位置するパンブロック83が固定接続され、前記パンブロック83の上端面には回型ブロック87が固定接続され、前記回型ブロック87の上端面には上端が前記伝達スロット85の上端壁と固定接続される旋転ばね86が固定接続され、前記回型ブロック87の中には左右端壁が前記伝達スロット85と連通する貫通スペース88が設置され、前記ターンレバー89の左端が前記貫通スペース88の左右端壁を貫通し且つ前記伝達スロット85の中に位置し、前記ターンレバー89の左端には右端が前記貫通スペース88の左端壁を貫通し且つ前記貫通スペース88の中に位置する三角ブロック8484が固定接続され、前記伝達スペース79の右端壁と前記伝達ボード93とは従動ばね94によって連結され、前記旋転ばね86がずっと圧縮状態にある。
有益的には、前記整経台1の右壁の中に設けられた警告機構108は、ブザー107を含み、前記整経台1の右端面の中には発音体105が設置され、前記整経台1の右端面には前記ブザー107が固定接続され、前記ブザー107と前記発音体105との間はデータライン106を介して接続され、前記警告機構108の作用は巻軸20を取り替えた後、ブザー107が作動して装置の取り付けの完了を提示することである。
具体的な使用方法:本発明は作動する中、巻軸20とリール17がパンボード19の上側に位置する時、移動モータ30が作動し、これにより移動軸29を回転駆動させ、これにより移動柱23が左へ運動し、これによりプッシュ軸25が左へ運動し、プッシュ軸25の左端が接続スロット60の中に進入し、プッシュ軸25の運動に連動させられて押圧レバー68が右へ運動し、これにより主動テーパーブロック95が右へ運動し、同時に押圧レバー68の運動によってタンデムレバー98と接続柱97と接続レバー99とプッシュ柱100を連動させて右へ運動させ、これによりプッシュギア101を回転駆動させ、これによりプッシュレバー78を左へ運動させ、これにより従動テーパーブロック76を連動させて左へ運動させ、これによりプッシュブロック62を連動させて接続スペース64の中心から遠離する方向へ運動させ、これにより収納レバー73を連動させて接続スペース64の中心から遠離する方向へ運動させ、これにより突出しブロック70を連動させて収納スロット61に進入させ、プッシュ軸25が左へ運動してリール17を動かす時、駆動軸13の右端が伝達スペース79の中に進入し、これにより伝達ボード93を連動させて右へ運動させ、これによりターンギア92を回転駆動させ、これによりターンレバー89を連動させて左へ運動させ、これにより三角ブロック84を連動させて次第に貫通スペース88から遠離させ、これにより旋転ばね86によって回型ブロック87を連動させて下へ運動させ、これにより伝達ブロック80を連動させて下へ運動させ、これにより伝達ブロック80をプッシュボード14と当接させ、上記二つのプロセスが完了した時、リミットスロット21の左端壁と巻軸20の左側のリール17の左端面との間に一定の距離があり、同時に移動ボード19の中に位置するリフトスロット18がリフトスペース8と連通し、この時主動電磁石41と従動電磁石2が作動を停止し、これによりリフトばね3によってリフトボード4を連動させて上昇させ、これにより固定ブロック7とリフトブロック31とを連動させて上昇させ、これにより駆動レバー10と移動レバー27とを連動させて上昇させ、これにより駆動ボード11と、巻軸20と、移動ブロック26とを上昇させ、同時に支持輪32をリフトスロット18に通過させてリール17の下端と接触させ、この時紐51が引き締まり、この時駆動モータ12が作動し、駆動軸13の伝動によってリール17と巻軸20とを連動させて回転させ、これによりケーブルを巻き始め、ケーブルが巻くほど巻き軸20に対する付勢力が大きく、これによりリフトばね3を連動させて圧縮させ、リール17の下端面が移動ボード19の上端面と接触する時、主動電磁石41と従動電磁石2とが作動し、これによりリフトボード4を連動させて次第に下降させ、これにより支持輪32を連動させてリフトスロット18から離れさせ、駆動モータ12が作動を停止し、移動モータ30が逆方向で回転し、これにより移動軸29を逆方向で回転させ、これにより移動柱23と移動ボード19とを連動させて右へ運動させ、これによりプッシュ軸25を連動させて右へ運動させ、押圧レバー68が比較的に左へ運動することにつれて、これにより前記主動テーパーブロック95と前記従動テーパーブロック76とが連動させられて接続スペース64の中心から遠離する方向へ運動し、これにより突出しブロック70を連動させて収納スロット61から遠離させ、突出しブロック70が収納スロット61から離れる時、リミットスロット21の左端壁と巻軸20の左側のリール17の左端面とが接触し、これにより伝達ボード93を連動させて従動ばね94の付勢力のもとで左へ運動させ、これにより三角ブロック8484を連動させて右へ運動して次第に貫通スペース88に進入させ、これにより回型ブロック87と伝達ブロック80とを連動させて上へ運動して伝達スペースから離れさせ、これにより駆動軸13が伝達スペース79から離れた後、移動モータ30が作動を停止し、同時にリフトボード4の下降によって紐51を緩め、これにより回転ボード48がトーションスプリング(付図には示していない)の作用のもとで回転し、これによりケーブルがいっぱい巻かれたリール17を動かして前へ運動させ、これによりケーブルがいっぱい巻かれたリール17が昇降ボード44の上側まで運動させ、これにより昇降ボード44を連動させて下降させ、これによりチェーン43と麻縄45とを緩め、これにより主動ラック35を伸縮ばね59の作用のもとで後へ運動させ、これによりラックギア36を回転駆動させ、これにより従動ラック37を連動させて前へ運動させ、これによりロープ57の伝動により遮断ブロック50を連動させて昇降スペース56の中に進入させ、回転ボード48が圧されて回転スロット49の中に戻り、チェーン43が緩めになったため、従動ボード54がトーションスプリング(付図には示していない)の作用のもとで空の巻軸20とリール17とを連動させて移動ボード19の上側に移動させ、これにより上記プロセスを繰り返し、この装置は構造が簡単で、操作が便利で、リフト機構28の作用によって回転している巻軸20とリール17とをサポートし、これにより装置の安定性を改善し、同時に巻軸20にケーブルが巻かれて重量が次第に増加している時、リフト機構28の作用によって巻軸20から駆動軸13とプッシュ軸25とに対する剪断応力を弱め、これにより軸の使用寿命を増加し、機械的伝達によって巻軸を自動に交換でき、これにより加工効率を高め、労働力を節約する。
本分野の技術者にとって、本発明は上記の模範の実施例の細部に限らなく、本発明の意義また基本的な特徴から背離しない状況で、その他の具体的な形式で本発明を実現できる。だから、どこから見てもこの実施例を模範で制限性ではないことと見なして、本発明の範囲は添付の権利要求に限定され、権利要求の同等重要書類の意味と範囲に落ちる全部の変化を本発明に包括させる。権利要求の中の全ての附図マークを権利要求を制限することと見なしないである。

Claims (6)

  1. 整経台を含み、前記整経台の中にはリフトスペースが内設され、前記リフトスペースの中にはリフト機構が内設され、前記リフトスペースの下端壁の中には交換機構が内設され、前記リフトスペースの上端壁には上端壁が外界空間と連通する移動スペースが内設され、前記移動スペースの右端壁には移動モータが固定接続され、前記移動モータの左端面には移動軸が動力が伝達できるように接続され、前記移動軸の左端には上端が前記移動スペースの上端壁を貫通し且つ外界空間に位置する移動柱が螺合接続され、前記移動スペースの中に位置する前記移動柱の左端面には前記移動ボードが固定接続され、前記移動ボードの上端面の中には上端壁が外界空間と連通するリミットスロットが内設され、前記移動ボードの中には上端壁が前記リミットスロットと連通し且つ下端壁が前記移動スペースの下端壁と前記移動ボードの下端面とを貫通して前記リフトスペースと連通するリフトスロットが内設され、前記整経台の上端面には支持柱が固定接続され、前記支持柱の中には駆動スペースが内設され、前記駆動スペースの中には駆動ボードがスライドできるように接続され、前記駆動ボードの上端面には駆動モータが固定接続され、前記駆動モータの右端面には右端が前記駆動スペースの右端壁を貫通し且つ外界空間に位置する駆動軸が動力が伝達できるように接続され、前記駆動軸の右端にはプッシュボードが上下対称で固定接続され、前記駆動ボードの下端面には下端が前記駆動スペースの下端壁と前記リフトスペースの上端壁とを貫通し且つ前記リフトスペースの中に位置する駆動レバーが固定接続され、前記移動柱の中には移動スロットが内設され、前記移動スロットの中には移動ブロックがスライドできるように接続され、前記移動ブロックの左端には左端が前記移動スロットの左端壁を貫通し且つ外界空間に位置するプッシュ軸が軸受を介して接続され、前記プッシュ軸の左端の中には接続機構が内設され、前記移動ブロックの下端面には下端が前記移動スロットの下端壁と前記リフトスペースの上端壁を貫通し且つ前記リフトスペースの中に位置する移動レバーが固定接続され、前記支持柱の右側には巻軸が設置され、前記巻軸の左右両端にはリールが固定接続され、前記巻軸の左側の前記リールの中には伝達機構が内設され、前記巻軸の右側の前記リールの中には右端壁が外界空間と連通する接続スロットが内設され、前記プッシュ軸の左端が前記接続スロットの右端壁を貫通し且つ前記接続スロットの中に位置し、前記接続スロットの上下端壁には前記プッシュ軸に近接する端壁が前記接続スロットに連通する収容スロットが対称で設置されることを特徴とする穴あけユニット用の自動化多芯動力ケーブル設備である。
  2. 前記整経台の右端面には警告機構が設置され、前記リフト機構はリフトボードを含み、前記リフトスペースの中には前記リフトボードがスライドできるように接続され、前記リフトボードの下端面には従動電磁石が固定接続され、前記リフトスペースの下端壁には主動電磁石が固定接続され、前記リフトボードの下端面には前記従動電磁石を中心として左右対称してリフトばねが固定接続され、前記リフトばねの下端が前記リフトスペースの下端壁と固定接続され、前記リフトボードの上端面には左右対称してリフトボードが固定接続され、前記リフトブロックの上端面には左右対称してリフト柱が固定接続され、且つ二つの前記リフト柱の間にはリフト軸が固定接続され、前記リフト軸の軸体には支持輪が軸受によって接続され、前記リフトブロックのうち前記リフトスペースの中心から遠離する一側には前記リフトボードの上端面と固定接続される固定ブロックが設置され、前記固定ブロックの中には上端壁が前記リフトスペースと連通するばねスロットが設置され、前記ばねスロットの下端壁には接続ばねが固定接続され、前記駆動レバーの下端が前記リフトボードの上端面の左側の前記ばねスロットの上端壁を貫通し且つ前記接続ばねと固定接続されることを特徴とする請求項1に記載の穴あけユニット用の自動化多芯動力ケーブル設備である。
  3. 前記移動レバーの下端が前記リフトボードの上端面右側の前記ばねスロットの上端壁を貫通し且つ前記接続ばねと固定接続され、前記交換機構はラックスペースを含み、前記リフトスペースの下端壁の中にはラックスペースが内設され、前記ラックスペースの左右端壁の間にはラック軸が回転できるように接続され、前記ラック軸の軸体にはラックギアが固定接続され、前記ラックギアの上端には従動ラックが噛合接続され、前記ラックギアの下側には前記ラックスペースとスライドできるように接続される主動ラックが噛合接続され、前記従動ラックの後端には下端が前記ラックスペースとスライドできるように接続される支持ブロックが固定接続され、前記支持ブロックの後端と前記ラックスペースの後端壁との間には伸縮ばねが固定接続され、前記リフトスペースの後端壁の中には上端壁が外界空間と連通する昇降スペースが内設され、前記昇降スペースの下端壁には昇降ばねが固定接続され、前記昇降ばねの上端には上端が前記昇降スペースの上端壁を貫通し且つ外界空間に位置する遮断ブロックが固定接続され、前記遮断ブロックの中には前端壁が外界空間と連通する回転スロットが設置され、前記回転スロットの左右端壁の間には回転軸が固定接続され、前記回転軸の軸体にはトーションスプリング(付図には示していない)によって回転ボードが接続され、前記回転ボードの上端には下端が前記回転スロットの下端壁と前記リフトスペースの後端壁とを貫通し且つ前記リフトボードの下端面と固定接続される紐が固定接続され、前記従動ラックの後端には後端が前記ラックスペースの後端壁と前記昇降スペースの下端壁とを貫通し且つ前記遮断ブロックと固定接続されるロープが固定接続され、前記昇降スペースの後端壁の中には上端壁が外界空間と連通する回転スペースが設置され、前記回転スペースの左右端壁の間には従動軸が回転できるように接続され、前記従動軸の軸体にはトーションスプリング(付図には示していない)によって従動ボードが接続され、前記移動スペースの前端壁の中には上端壁が外界空間と連通する昇降スロットが設置され、前記昇降スロットの中には昇降ボードがスライドできるように接続され、前記昇降ボードの下端面には下端が前記昇降スロットの下端壁と前記回転スペースの下端壁とを貫通し且つ前記従動ボードの後端と固定接続されるチェーンが固定接続され、前記昇降ボードの下端面には下端が前記昇降スロットの下端壁と固定接続される圧縮ばねが前記チェーンを中心として前後対称して固定接続され、前記チェーンの後側には上端が前記昇降ボードと固定接続され且つ下端が前記昇降スロットの下端壁と前記ラックスペースの前端壁とを貫通し且つ前記主動ラックの前端と固定接続される麻縄が設置されることを特徴とする請求項1に記載の穴あけユニット用の自動化多芯動力ケーブル設備である。
  4. 前記接続機構が接続スペースを含み、前記プッシュ軸の左端の中には接続スペースが設置され、前記接続スペースの左端壁の中には前記接続スロットと前記接続スペースとを連通する貫通穴が設置され、前記貫通穴の上端壁には下端壁が前記貫通穴を連通するばねスペースを含み、前記接続スペースの中には左端が前記貫通穴の左右端壁を貫通し且つ前記接続スロットの中に位置する押圧レバーが設置され、前記押圧レバーの右端には主動テーパーブロックが固定接続され、前記接続スペースの右端壁の中にはプッシュスペースが設置され、前記プッシュスペースの中には左端が前記プッシュスペースの左端壁を貫通し且つ前記接続スペースの中に位置するプッシュレバーが固定接続され、前記プッシュレバーの左端には従動テーパーブロックが固定接続され、前記接続スペースの後端壁の中にはプッシュスロットが設置され、前記プッシュスロットの前端面の左側が前記貫通穴と連通し、前記プッシュスロットの前端壁の右側が前記プッシュスペースと連通し、前記プッシュスペースの上下端壁の間には旋転軸が固定接続され、前記旋転軸の軸体には前端が前記プッシュレバーと噛合接続されるプッシュギアが固定接続され、前記プッシュギアの後端にはプッシュ柱が噛合接続され、前記プッシュ柱の右端には後端が前記プッシュスペースの後端壁を貫通し且つ前記プッシュスロットの中に位置する接続レバーが固定接続され、前記プッシュスロットの中に位置する前記接続レバーの後端には接続柱が固定接続され、前記接続柱の左端には前端が前記プッシュスロットの前端壁の左側を貫通し且つ前記押圧レバーと固定接続されるタンデムバーが固定接続され、前記接続スペースの上下端壁の中にはパンスペースが対称で設置され、前記パンスペースの中には前記接続スペースから遠離する一端が前記パンスペースのうち前記接続スペースから遠離する端壁を貫通し且つ前記接続スロットの中に位置する収納レバーが設置され、前記収納レバーのうち前記接続スペースに近接する一端が前記パンスペースのうち前記接続スペースに近接する端壁を貫通し且つ前記接続スペースの中に位置し、前記収納レバーのうち前記接続スペースに近接する一端には前記主動テーパーブロックと前記従動テーパーブロックと接触し接続されるプッシュブロックが固定接続され、前記パンスペースの中に位置する前記収納レバーには前記パンスペースとスライドできるように接続される押圧ボードが左右対称して固定接続され、前記押圧ボードのうち前記接続スペースから遠離する端面には前記パンスペースの端壁と固定接続される突出しばねが固定接続され、前記収納レバーのうち前記接続スペースから遠離する一端の中には前記接続スペースから遠離する端壁が前記接続スロットと連通する突出しスロットが設置され、前記突出しスロットのうち前記接続スペースに近接する端壁には固定ばねが固定接続され、前記固定ばねのうち前記接続スペースから遠離する一端には前記突出しスロットのうち前記接続スペースから遠離する端壁を貫通し且つ前記接続スロットの中に位置する突出しブロックが固定接続されることを特徴とする請求項1に記載の穴あけユニット用の自動化多芯動力ケーブル設備である。
  5. 前記伝達機構は伝達スペースを含み、前記巻軸の左側の前記リールの中には左端壁が外界空間と連通する伝達スペースが設置され、前記伝達スペースの上端壁の中には下端壁が前記伝達スペースと連通するターンスペースが設置され、前記ターンスペースの左端壁の中には下端壁が前記伝達スペースと連通する伝達スロットが設置され、前記伝達スペースの中には上端が前記ターンスペースの下端壁を貫通し且つターンスペースの中に位置する伝達ボードがスライドできるように接続され、前記駆動軸の右端が前記伝達スペースの左端壁を貫通し且つ前記伝達ボードと固定接続され、前記ターンスペースの前後端壁の間にはターン軸が回転できるように接続され、前記ターン軸の軸体にはターンギアが固定接続され、前記ターンギアの下端が前記伝達ボードの上端と噛合接続され、前記ターンギアの上端には左端が前記ターンスペースの左端壁を貫通し且つ前記伝達スロットの中に位置するターンレバーが噛合接続され、前記伝達スロットの中には下端が前記伝達スロットの下端壁を貫通し且つ前記伝達スペースの中に位置する伝達ブロックがスライドできるように接続され、前記伝達ブロックの上端の中には左右端壁と下端壁とがいずれも前記伝達スロットと連通するパンスロットが設置され、前記パンスロットの中には左右両端がそれぞれ前記パンスロットの左右端壁を貫通し且つ前記伝達スロットとスライドできるように接続されるパンボードがスライドできるように接続され、前記パンボードの上端面には上端が前記パンスロットの上端壁を貫通し且つ前記伝達スロットの中に位置するパンブロックが固定接続され、前記パンブロックの上端面には回型ブロックが固定接続され、前記回型ブロックの上端面には上端が前記伝達スロットの上端壁と固定接続される旋転ばねが固定接続され、前記回型ブロックの中には左右端壁が前記伝達スロットと連通する貫通スペースが設置され、前記ターンレバーの左端が前記貫通スペースの左右端壁を貫通し且つ前記伝達スロットの中に位置し、前記ターンレバーの左端には右端が前記貫通スペースの左端壁を貫通し且つ前記貫通スペースの中に位置する三角ブロックが固定接続され、前記伝達スペースの右端壁と前記伝達ボードとの間には前記従動ばねが固定接続され、前記旋転ばねがずっと圧縮状態にあることを特徴とする請求項1に記載の穴あけユニット用の自動化多芯動力ケーブル設備である。
  6. 前記警告機構はブザーを含み、前記整経台の右端面の中には発音体が設置され、前記整経台の右端面には前記ブザーが固定接続され、前記ブザーと前記発音体との間はデータラインを介して接続され、その作用は巻軸を取り替えた後、ブザーが作動して装置の取り付けの完了を提示することであることを特徴とする請求項1に記載の穴あけユニット用の自動化多芯動力ケーブル設備である。
JP2019003932A 2018-11-07 2019-01-13 穴あけユニット用の自動化多芯動力ケーブル設備 Ceased JP2020075813A (ja)

Applications Claiming Priority (2)

Application Number Priority Date Filing Date Title
CN201811319636 2018-11-07
CN201811319636.7 2018-11-07

Publications (1)

Publication Number Publication Date
JP2020075813A true JP2020075813A (ja) 2020-05-21

Family

ID=70723496

Family Applications (1)

Application Number Title Priority Date Filing Date
JP2019003932A Ceased JP2020075813A (ja) 2018-11-07 2019-01-13 穴あけユニット用の自動化多芯動力ケーブル設備

Country Status (1)

Country Link
JP (1) JP2020075813A (ja)

Cited By (4)

* Cited by examiner, † Cited by third party
Publication number Priority date Publication date Assignee Title
CN112589012A (zh) * 2020-10-26 2021-04-02 浙江江山福鑫工艺品有限公司 一种铁艺卷花装置
CN113092739A (zh) * 2021-04-09 2021-07-09 塔里木大学 一种纺织加工用纤维成份在线检测仪器
CN117444276A (zh) * 2023-11-09 2024-01-26 南通市天能电机有限公司 一种电机机壳钻孔装置
CN119159419A (zh) * 2024-11-25 2024-12-20 山西灵石亨泰荣和金属压铸件有限公司 一种用于轮毂法兰钻孔加工用定位装置

Citations (3)

* Cited by examiner, † Cited by third party
Publication number Priority date Publication date Assignee Title
JPS6133450A (ja) * 1984-07-20 1986-02-17 Hitachi Metals Ltd 巻取紙類のチヤツキング方法
JPS6384052U (ja) * 1986-11-21 1988-06-02
JPH03100244U (ja) * 1990-01-31 1991-10-21

Patent Citations (3)

* Cited by examiner, † Cited by third party
Publication number Priority date Publication date Assignee Title
JPS6133450A (ja) * 1984-07-20 1986-02-17 Hitachi Metals Ltd 巻取紙類のチヤツキング方法
JPS6384052U (ja) * 1986-11-21 1988-06-02
JPH03100244U (ja) * 1990-01-31 1991-10-21

Cited By (5)

* Cited by examiner, † Cited by third party
Publication number Priority date Publication date Assignee Title
CN112589012A (zh) * 2020-10-26 2021-04-02 浙江江山福鑫工艺品有限公司 一种铁艺卷花装置
CN113092739A (zh) * 2021-04-09 2021-07-09 塔里木大学 一种纺织加工用纤维成份在线检测仪器
CN113092739B (zh) * 2021-04-09 2022-10-21 塔里木大学 一种纺织加工用纤维成份在线检测仪器
CN117444276A (zh) * 2023-11-09 2024-01-26 南通市天能电机有限公司 一种电机机壳钻孔装置
CN119159419A (zh) * 2024-11-25 2024-12-20 山西灵石亨泰荣和金属压铸件有限公司 一种用于轮毂法兰钻孔加工用定位装置

Similar Documents

Publication Publication Date Title
JP6771720B2 (ja) ケーブルの巻取り装置及びケーブルの巻取り装置の使い方
JP2020075813A (ja) 穴あけユニット用の自動化多芯動力ケーブル設備
KR100936547B1 (ko) 원자로 냉각재 펌프 케이싱의 고착 볼트 제거장치
CN203889517U (zh) 框绞机侧面上盘装置
CN217380403U (zh) 一种便于调节固定的勘察钻机用辅助装置
CN109849122A (zh) 一种木板切槽机
CN113428793B (zh) 一种起重机便于更换维护的绞盘
CN203582933U (zh) 钢丝绳扭力释放机
CN111455367A (zh) 一种加工生产线
CN220006939U (zh) 一种数控机床用刀具切换装置
CN217678995U (zh) 一种地基浇注夯实装置
CN214141318U (zh) 一种煤矿机电运输用起吊装置
CN114229305B (zh) 一种建筑模板取放装置
CN203986406U (zh) 一种关于鞋底的自动钻孔机
CN210305772U (zh) 一种用于车削提升机制动盘的装置
CN212503380U (zh) 一种电缆加工用牵引装置
CN218708510U (zh) 一种施工吊装装置
CN210909194U (zh) 一种冷轧模具圆弧镗床自动感应报警装置
CN108217302B (zh) 一种输电、配电工程施工用电线绕线装置
CN210059695U (zh) 一种螺栓加工用切断装置
CN218261882U (zh) 一种中心炉出口工件顶推设备的备用回程卷扬装置
CN215048005U (zh) 一种拉光圆加工用盘圆吊升工装
CN220930079U (zh) 石油装备高转速行星齿轮箱
CN212330607U (zh) 一种水利发电叶片加工的打磨装置
CN216922033U (zh) 一种矿用乳化液钻机的推进机构

Legal Events

Date Code Title Description
A131 Notification of reasons for refusal

Free format text: JAPANESE INTERMEDIATE CODE: A131

Effective date: 20191129

A521 Request for written amendment filed

Free format text: JAPANESE INTERMEDIATE CODE: A523

Effective date: 20200227

A131 Notification of reasons for refusal

Free format text: JAPANESE INTERMEDIATE CODE: A131

Effective date: 20200811

A521 Request for written amendment filed

Free format text: JAPANESE INTERMEDIATE CODE: A523

Effective date: 20200828

A01 Written decision to grant a patent or to grant a registration (utility model)

Free format text: JAPANESE INTERMEDIATE CODE: A01

Effective date: 20210122

A045 Written measure of dismissal of application [lapsed due to lack of payment]

Free format text: JAPANESE INTERMEDIATE CODE: A045

Effective date: 20210615