JP2020037560A - テトラフルオロプロペンの製造方法 - Google Patents
テトラフルオロプロペンの製造方法 Download PDFInfo
- Publication number
- JP2020037560A JP2020037560A JP2019191703A JP2019191703A JP2020037560A JP 2020037560 A JP2020037560 A JP 2020037560A JP 2019191703 A JP2019191703 A JP 2019191703A JP 2019191703 A JP2019191703 A JP 2019191703A JP 2020037560 A JP2020037560 A JP 2020037560A
- Authority
- JP
- Japan
- Prior art keywords
- reactor
- stream
- tetrafluoropropene
- supplying
- regeneration
- Prior art date
- Legal status (The legal status is an assumption and is not a legal conclusion. Google has not performed a legal analysis and makes no representation as to the accuracy of the status listed.)
- Granted
Links
Images
Classifications
-
- C—CHEMISTRY; METALLURGY
- C07—ORGANIC CHEMISTRY
- C07C—ACYCLIC OR CARBOCYCLIC COMPOUNDS
- C07C17/00—Preparation of halogenated hydrocarbons
- C07C17/093—Preparation of halogenated hydrocarbons by replacement by halogens
- C07C17/20—Preparation of halogenated hydrocarbons by replacement by halogens of halogen atoms by other halogen atoms
-
- C—CHEMISTRY; METALLURGY
- C07—ORGANIC CHEMISTRY
- C07C—ACYCLIC OR CARBOCYCLIC COMPOUNDS
- C07C17/00—Preparation of halogenated hydrocarbons
- C07C17/093—Preparation of halogenated hydrocarbons by replacement by halogens
- C07C17/20—Preparation of halogenated hydrocarbons by replacement by halogens of halogen atoms by other halogen atoms
- C07C17/202—Preparation of halogenated hydrocarbons by replacement by halogens of halogen atoms by other halogen atoms two or more compounds being involved in the reaction
- C07C17/206—Preparation of halogenated hydrocarbons by replacement by halogens of halogen atoms by other halogen atoms two or more compounds being involved in the reaction the other compound being HX
-
- B—PERFORMING OPERATIONS; TRANSPORTING
- B01—PHYSICAL OR CHEMICAL PROCESSES OR APPARATUS IN GENERAL
- B01J—CHEMICAL OR PHYSICAL PROCESSES, e.g. CATALYSIS OR COLLOID CHEMISTRY; THEIR RELEVANT APPARATUS
- B01J12/00—Chemical processes in general for reacting gaseous media with gaseous media; Apparatus specially adapted therefor
- B01J12/007—Chemical processes in general for reacting gaseous media with gaseous media; Apparatus specially adapted therefor in the presence of catalytically active bodies, e.g. porous plates
-
- C—CHEMISTRY; METALLURGY
- C07—ORGANIC CHEMISTRY
- C07C—ACYCLIC OR CARBOCYCLIC COMPOUNDS
- C07C21/00—Acyclic unsaturated compounds containing halogen atoms
- C07C21/02—Acyclic unsaturated compounds containing halogen atoms containing carbon-to-carbon double bonds
- C07C21/18—Acyclic unsaturated compounds containing halogen atoms containing carbon-to-carbon double bonds containing fluorine
-
- B—PERFORMING OPERATIONS; TRANSPORTING
- B01—PHYSICAL OR CHEMICAL PROCESSES OR APPARATUS IN GENERAL
- B01J—CHEMICAL OR PHYSICAL PROCESSES, e.g. CATALYSIS OR COLLOID CHEMISTRY; THEIR RELEVANT APPARATUS
- B01J2219/00—Chemical, physical or physico-chemical processes in general; Their relevant apparatus
- B01J2219/00002—Chemical plants
- B01J2219/00027—Process aspects
- B01J2219/00038—Processes in parallel
-
- B—PERFORMING OPERATIONS; TRANSPORTING
- B01—PHYSICAL OR CHEMICAL PROCESSES OR APPARATUS IN GENERAL
- B01J—CHEMICAL OR PHYSICAL PROCESSES, e.g. CATALYSIS OR COLLOID CHEMISTRY; THEIR RELEVANT APPARATUS
- B01J2219/00—Chemical, physical or physico-chemical processes in general; Their relevant apparatus
- B01J2219/00002—Chemical plants
- B01J2219/00027—Process aspects
- B01J2219/0004—Processes in series
-
- Y—GENERAL TAGGING OF NEW TECHNOLOGICAL DEVELOPMENTS; GENERAL TAGGING OF CROSS-SECTIONAL TECHNOLOGIES SPANNING OVER SEVERAL SECTIONS OF THE IPC; TECHNICAL SUBJECTS COVERED BY FORMER USPC CROSS-REFERENCE ART COLLECTIONS [XRACs] AND DIGESTS
- Y02—TECHNOLOGIES OR APPLICATIONS FOR MITIGATION OR ADAPTATION AGAINST CLIMATE CHANGE
- Y02P—CLIMATE CHANGE MITIGATION TECHNOLOGIES IN THE PRODUCTION OR PROCESSING OF GOODS
- Y02P20/00—Technologies relating to chemical industry
- Y02P20/50—Improvements relating to the production of bulk chemicals
- Y02P20/582—Recycling of unreacted starting or intermediate materials
-
- Y—GENERAL TAGGING OF NEW TECHNOLOGICAL DEVELOPMENTS; GENERAL TAGGING OF CROSS-SECTIONAL TECHNOLOGIES SPANNING OVER SEVERAL SECTIONS OF THE IPC; TECHNICAL SUBJECTS COVERED BY FORMER USPC CROSS-REFERENCE ART COLLECTIONS [XRACs] AND DIGESTS
- Y02—TECHNOLOGIES OR APPLICATIONS FOR MITIGATION OR ADAPTATION AGAINST CLIMATE CHANGE
- Y02P—CLIMATE CHANGE MITIGATION TECHNOLOGIES IN THE PRODUCTION OR PROCESSING OF GOODS
- Y02P20/00—Technologies relating to chemical industry
- Y02P20/50—Improvements relating to the production of bulk chemicals
- Y02P20/584—Recycling of catalysts
Landscapes
- Chemical & Material Sciences (AREA)
- Organic Chemistry (AREA)
- Chemical Kinetics & Catalysis (AREA)
- Organic Low-Molecular-Weight Compounds And Preparation Thereof (AREA)
- Catalysts (AREA)
- Low-Molecular Organic Synthesis Reactions Using Catalysts (AREA)
Abstract
Description
− フッ素化触媒の存在下における気相中での塩素化化合物とフッ化水素酸との反応の少なくとも1つの段階であって、場合により存在する酸素の割合は塩素化化合物に対して0.05モル%未満である段階;
− フッ素化触媒を酸化剤を含む再生流と接触させることによるフッ素化触媒の再生段階
を含む該方法に関する。
− 好ましくは、予備フッ素化触媒の存在下で予備化合物を気相中でフッ化水素酸と反応させる予備段階である塩素化化合物の製造の予備段階であって、場合により存在する酸素の割合は予備化合物に対して0.05モル%未満である該予備段階を含む。
− 予備フッ素化触媒を、酸化剤を含む再生流と接触させることによる予備フッ素化触媒の再生段階と交互に実施される。
− 予備反応段階の終了時に生成物の流れを回収すること;
− 生成物の流れを塩酸およびテトラフルオロプロペンを含む第1の流れと、フッ化水素酸および塩素化化合物を含む第2の流れとに分離すること;
− 塩素化化合物とフッ化水素酸との反応段階を実施するための前記第2の流れの使用;および
− 場合により、塩素化化合物とフッ化水素酸との反応段階の終了時に生成物の流れを回収し、予備反応段階で塩素化化合物およびフッ化水素酸を再循環させること
を含む。
− 塩素化化合物およびフッ化水素酸を含む反応流を供給するためのシステムであって、この反応流中に場合により存在する酸素の割合は、塩素化化合物に対して0.05モル%未満であるシステム;および
− 酸化剤を含む再生流を供給するためのシステム
によって交互に供給されるように構成されたテトラフルオロプロペンの製造プラントにも関する。
− 反応流を供給するためのシステムが底部で反応器に供給し、再生流を供給するためのシステムが底部で反応器に供給する;または
− 反応流を供給するためのシステムが底部で反応器に供給し、再生流を供給するためのシステムが頂部で反応器に供給する;または
− 反応流を供給するためのシステムが頂部で反応器に供給し、再生流を供給するためのシステムが底部で反応器に供給する;または
− 反応流を供給するためのシステムが頂部で反応器に供給し、再生流を供給するためのシステムが頂部で反応器に供給する
ように構成される。
− テトラフルオロプロペンは、2,3,3,3−テトラフルオロプロペンであり;または
− テトラフルオロプロペンは、1,3,3,3−テトラフルオロプロペンである。
− 塩素化化合物が、2−クロロ−3,3,3−トリフルオロプロペンであり、テトラフルオロプロペンが2,3,3,3−テトラフルオロプロペンである;または
− 塩素化化合物が、1,1,1,2,3−ペンタクロロプロパンおよび/または1,1,2,2,3−ペンタクロロプロパンであり、テトラフルオロプロペンが2,3,3,3−テトラフルオロプロペンである;または
− 塩素化化合物が、1−クロロ−3,3,3−トリフルオロプロペンであり、テトラフルオロプロペンが1,3,3,3−テトラフルオロプロペンである。
− 好ましくは少なくとも1つの予備フッ素化反応器である塩素化化合物の製造のための少なくとも1つの装置であって、以下によって供給されるように構成されている装置:
− 予備化合物およびフッ化水素酸を含む反応媒体を供給するためのシステムであって、この反応流中に場合により存在する酸素の割合は、予備化合物に対して0.05モル%未満であるシステム
を含む。
− 少なくとも1つの第1の触媒フッ素化反応器;
− 少なくとも1つの第2の触媒フッ素化反応器;
− 第1の触媒フッ素化反応器の出口に接続された生成物の流れを回収するためのシステム;
− 生成物の流れを回収するためにシステムによって供給される分離装置;
− 分離装置の出口に接続された第1の回収管および第2の回収管であって、第1の回収管は塩酸およびテトラフルオロプロペンを含む流れを輸送するように構成され、第2の回収管はフッ化水素酸および塩素化化合物を含む流れを輸送するように構成された回収管;
− 第2の反応器の出口に接続された中間回収システム;
− 第1の反応器に供給するように構成された反応媒体を供給するための第1のシステムであって、これはそれ自体が中間回収システムによって供給される第1のシステム;
− 第2の反応器に供給するように構成された反応媒体を供給するための第2のシステムであって、これはそれ自体が第2の回収管によって供給される第2のシステム;
− 第1の反応器および/または第2の反応器に供給するように構成された再生流を供給するためのシステム;および
− 再生から生じるガス流を回収するためのシステム
を含む。
− 100ppm未満のクロロメタン;および/または
− 100ppm未満の1,1−ジフルオロエタン;および/または
− 100ppm未満のフルオロメタン;および/または
− 100ppm未満のジフルオロメタン
を含む組成物に関する。
− 50ppm未満のクロロメタン;および/または
− 50ppm未満の1,1−ジフルオロエタン;および/または
− 50ppm未満のフルオロメタン;および/または
− 50ppm未満のジフルオロメタン
を含む。
本発明は、塩素化化合物からHFO−1234を製造することを可能にする少なくとも1つのフッ素化段階を提供する。
− 1:1から150:1、好ましくは3:1から100:1、より特に好ましくは5:1から50:1のHF/塩素化合物のモル比;
− 1から100秒、好ましくは1から50秒、より具体的には2から40秒の接触時間(運転温度および圧力に調整した流入流全体で割った触媒体積);
− 0.1から50バール、好ましくは0.3から15バールの範囲の絶対圧;
− 100から500℃、好ましくは200から450℃、より具体的には250から400℃の温度(触媒床の温度)
で行うことができる。
HFO−1234を与えるための塩素化化合物のフッ素化の実施に使用される各反応器では、前記フッ素化は、酸素の存在下で触媒の再生の段階と交互に行うことができる。
上述のフッ素化段階は、単一の反応器で行うことができる。この場合、後者は反応および再生において交互に操作される。従って、生産は非連続的である。
いくつかの実施形態では、本発明は、いくつかの連続した反応段階、好ましくは、まず、上記塩素化化合物の製造の予備段階;続いて塩素化化合物をフッ素化してHFO−1234を与える段階を提供する。
− 3:1から100:1、好ましくは5:1から50:1のHF/塩素化合物のモル比(「有機化合物」という用語は、1個以上の炭素原子を含む反応媒体の全ての化合物を意味する);
− 0.1から50バール、好ましくは0.3から15バールの範囲の絶対圧;
− 1から100秒、好ましくは1から50秒、より具体的には2から40秒の接触時間(運転温度および圧力に調整した流入流全体で割った触媒体積);
− 100から500℃、好ましくは200から450℃、より具体的には250から400℃の温度(触媒床の温度)
− 塩素化化合物を与えるために予備化合物のフッ素化と交互に行われる再生;
− またはHFO−1234を与えるための塩素化化合物のフッ素化と交互に行われる再生;
− または塩素化化合物を与えるために予備化合物のフッ素化と交互に行われる再生およびHFO−1234を与えるための塩素化化合物のフッ素化と交互に行われる再生の両方
のいずれかに適用される。
HCC−240db(代わりにHCC−240aaまたはその2つの混合物を使用することも可能であることが理解される)から始まる2段階:即ち、HCFO−1233xfを与えるためのHCC−240dbの転化の第1段階、次いでHFO−1234yfを与えるためのHCFO−1233xfの転化の第2段階(これらの段階は連続する反応器で行われる)でのHFO−1234yfの製造に関連する様々な実施形態について以下に説明する。
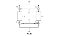
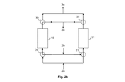
− 1つの段階では、第2の反応器の1つ48aがフッ素化モードで動作し、即ち、反応媒体を供給するための第2のシステム46によって供給され、中間回収システム47に供給し、第2の反応器の他方48bは再生モードで動作し、即ち、再生流を供給するためのシステム49によって供給され、それ自体が、再生から生じるガス流を回収するためのシステム50に供給し;
− 別の段階では、2つの反応器48a、48bの構成が逆転される
ことが準備される。
反応段階中に酸素が存在しないかまたは実質的に存在しないことの結果は、分子の燃焼または分解反応に関連する不純物の含有量の減少である。不純物は、酸化炭素または二酸化炭素であり、出発塩素化生成物よりも少ない炭素原子を含む分子でもある。
下記の操作条件下で試験を行う。即ち、触媒を新たに再生し、有機化合物に対するHFのモル比は25であり、気相接触時間は15秒であり、温度は350℃であり、導入された有機化合物の合計に対して10モル%の酸素を添加する。得られたHCFO−1233xfの経時にわたる転化率を以下の表1に示す。この試験の間、蒸留塔の頂部から出るガス流をガスクロマトグラフィーで分析する。分析を以下の表2に示す(GC面積の%としての値)。
補充酸素を気相に添加することなく、実施例1の手順に再び着手する。経時的な転化率について得られた結果を以下の表1に示す。蒸留塔から出るガス流の分析を以下の表2に示す(GC面積の%としての値)。酸化炭素およびC1およびC2不純物は著しく減少する。所望の生成物HFO−1234yfと再循環可能な副生成物HFC−245cbとの合計の純度が上昇する。
Claims (35)
- 交互に
− フッ素化触媒の存在下における気相中での塩素化化合物とフッ化水素酸との反応の少なくとも1つの段階であって、場合により存在する酸素の割合は塩素化化合物に対して0.05モル%未満である段階;
− フッ素化触媒を、酸化剤を含む再生流と接触させることによるフッ素化触媒の再生段階
を含むテトラフルオロプロペンの製造方法。 - 塩素化化合物とフッ化水素酸との反応の段階は、基本的に酸素の不存在下で、好ましくは基本的にあらゆる酸化剤の不存在下で行われる請求項1に記載の方法。
- 再生流は、全再生流に対して少なくとも1モル%の酸素を含む請求項1または2に記載の方法。
- 塩素化化合物とフッ化水素酸との反応の段階は、フッ素化触媒の再生段階に対して別々の時間で単一の反応器で行われる請求項1から3のいずれか一項に記載の方法。
- 塩素化化合物とフッ化水素酸との反応の段階は、少なくとも1つの第1の反応器で、少なくとも1つの第2の反応器でのフッ素化触媒の再生の段階の実施と同時に行われる請求項1から3のいずれか一項に記載の方法。
- テトラフルオロプロペンは、2,3,3,3−テトラフルオロプロペンである請求項1から5のいずれか一項に記載の方法。
- テトラフルオロプロペンは、1,3,3,3−テトラフルオロプロペンである請求項1から5のいずれか一項に記載の方法。
- 塩素化化合物は、テトラクロロプロペン、クロロトリフルオロプロペン、ペンタクロロプロパンおよびこれらの混合物から選択される請求項1から7のいずれか一項に記載の方法。
- 塩素化化合物は、2−クロロ−3,3,3−トリフルオロプロペンであり、テトラフルオロプロペンは、2,3,3,3−テトラフルオロプロペンである請求項1から6および8のいずれか一項に記載の方法。
- 塩素化化合物は、1,1,1,2,3−ペンタクロロプロパンおよび/または1,1,2,2,3−ペンタクロロプロパンであり、テトラフルオロプロペンは、2,3,3,3−テトラフルオロプロペンである請求項1から6および8のいずれか一項に記載の方法。
- 塩素化化合物は、1−クロロ−3,3,3−トリフルオロプロペンであり、テトラフルオロプロペンは、1,3,3,3−テトラフルオロプロペンである請求項1から5および7および8のいずれか一項に記載の方法。
- − 好ましくは、予備フッ素化触媒の存在下で予備化合物を気相中でフッ化水素酸と反応させる予備段階である塩素化化合物の製造の予備段階であって、場合により存在する酸素の割合は予備化合物に対して0.05モル%未満である該予備段階
を含む請求項1から11のいずれか一項に記載の方法。 - 反応の予備段階は、
− 予備フッ素化触媒を、酸化剤を含む再生流と接触させることによる予備フッ素化触媒の再生段階と交互に実施される請求項12に記載の方法。 - 予備化合物は、1,1,1,2,3−ペンタクロロプロパンおよび/または1,1,2,2,3−ペンタクロロプロパンであり、塩素化化合物は1−クロロ−3,3,3−トリフルオロプロペンであり、テトラフルオロプロペンは2,3,3,3−テトラフルオロプロペンである請求項12または13のいずれかに記載の方法。
- − 予備反応段階の終了時に生成物の流れを回収すること;
− 生成物の流れを塩酸およびテトラフルオロプロペンを含む第1の流れと、フッ化水素酸および塩素化化合物を含む第2の流れとに分離すること;
− 塩素化化合物とフッ化水素酸との反応段階を実施するための前記第2の流れの使用;および
− 場合により、塩素化化合物とフッ化水素酸との反応段階の終了時に生成物の流れを回収し、予備反応段階で塩素化化合物およびフッ化水素酸を再循環させること
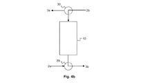
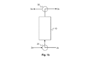
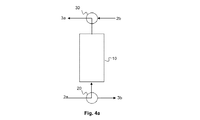
を含む請求項12から14のいずれか一項に記載の方法。 - フッ素化触媒の床を含む少なくとも1つの気相フッ素化反応器(10)を含み、気相フッ素化反応器(10)が、
− 塩素化化合物およびフッ化水素酸を含む反応流(2a)を供給するためのシステム(2a)であって、この反応流中に場合により存在する酸素の割合は、塩素化化合物に対して0.05モル%未満である該システム;および
− 酸化剤を含む再生流を供給するためのシステム(2b)
によって交互に供給されるように構成されたテトラフルオロプロペンの製造プラント。 - 反応流は、基本的に酸素を含まず、好ましくはあらゆる酸化剤を含まない請求項16に記載のプラント。
- 再生流は、全再生流に対して少なくとも1モル%の酸素を含む請求項16または17に記載のプラント。
- 反応流を供給するためのシステム(2a)と、再生流を供給するためのシステム(2b)とによって交互に供給されるように構成された単一の反応器(10)を含む請求項16から18のいずれか一項に記載のプラント。
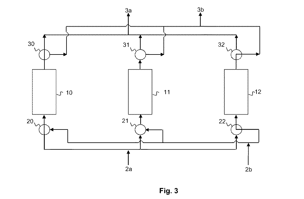
- 複数の反応器(10、11、12)の各々が反応流を供給するためのシステム(2a)と、再生流を供給するためのシステム(2b)とによって交互に供給されるように構成された該反応器を含む請求項16から18のいずれか一項に記載のプラント。
- 反応器(10)が反応流を供給するためのシステム(2a)によって供給されているとき、別の反応器(11)が再生流を供給するためのシステム(2b)によって供給されるように構成される請求項20に記載のプラント。
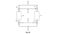
- − 反応流を供給するためのシステム(2a)が底部で反応器(10)に供給し、再生流を供給するためのシステム(2b)が底部で反応器(10)に供給する;または
− 反応流を供給するためのシステム(2a)が底部で反応器(10)に供給し、再生流を供給するためのシステム(2b)が頂部で反応器(10)に供給する;または
− 反応流を供給するためのシステム(2a)が頂部で反応器(10)に供給し、再生流を供給するためのシステム(2b)が底部で反応器(10)に供給する;または
− 反応流を供給するためのシステム(2a)が頂部で反応器(10)に供給し、再生流を供給するためのシステム(2b)が頂部で反応器(10)に供給する
ように構成される請求項16から21のいずれか一項に記載のプラント。 - − テトラフルオロプロペンは、2,3,3,3−テトラフルオロプロペンであり;または
− テトラフルオロプロペンは、1,3,3,3−テトラフルオロプロペンである
請求項16から22のいずれか一項に記載のプラント。 - 塩素化化合物は、テトラクロロプロペン、クロロトリフルオロプロペン、ペンタクロロプロパンおよびこれらの混合物から選択され; 好ましくは
− 塩素化化合物が、2−クロロ−3,3,3−トリフルオロプロペンであり、テトラフルオロプロペンが、2,3,3,3−テトラフルオロプロペンである;または
− 塩素化化合物が、1,1,1,2,3−ペンタクロロプロパンおよび/または1,1,2,2,3−ペンタクロロプロパンであり、テトラフルオロプロペンが、2,3,3,3−テトラフルオロプロペンである;または
− 塩素化化合物が、1−クロロ−3,3,3−トリフルオロプロペンであり、テトラフルオロプロペンが、1,3,3,3−テトラフルオロプロペンである
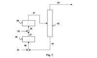
請求項16から23のいずれか一項に記載のプラント。 - − 好ましくは少なくとも1つの予備フッ素化反応器(40)である塩素化化合物の製造のための少なくとも1つの装置であって、
− 予備化合物およびフッ化水素酸を含む反応媒体を供給するためのシステム(39)であって、この反応流中に場合により存在する酸素の割合は、予備化合物に対して0.05モル%未満である該システム
によって供給されるように構成されている該装置を含む請求項16から24のいずれか一項に記載のプラント。 - 予備フッ素化反応器(40)は、酸化剤を含む再生流を供給するためのシステム(49)によって供給されるようにも構成されている請求項25に記載のプラント。
- 予備化合物は、1,1,1,2,3−ペンタクロロプロパンおよび/または1,1,2,2,3−ペンタクロロプロパンであり、塩素化化合物は、1−クロロ−3,3,3−トリフルオロプロペンであり、テトラフルオロプロペンは、2,3,3,3−テトラフルオロプロペンである請求項25または26のいずれかに記載のプラント。
- − 少なくとも1つの第1の触媒フッ素化反応器(40);
− 少なくとも1つの第2の触媒フッ素化反応器(48);
− 第1の触媒フッ素化反応器(40)の出口に接続された生成物の流れを回収するためのシステム(41);
− 生成物の流れを回収するためにシステム(41)によって供給される分離装置(42);
− 分離装置(42)の出口に接続された第1の回収管(43)および第2の回収管(44)であって、第1の回収管(43)は塩酸およびテトラフルオロプロペンを含む流れを輸送するように構成され、第2の回収管(44)はフッ化水素酸および塩素化化合物を含む流れを輸送するように構成された回収管;
− 第2の反応器(48)の出口に接続された中間回収システム(47);
− 第1の反応器(40)に供給するように構成された反応媒体を供給するための第1のシステム(39)であって、これはそれ自体が中間回収システム(47)によって供給される該第1のシステム;
− 第2の反応器(48)に供給するように構成された反応媒体を供給するための第2のシステム(46)であって、これはそれ自体は第2の回収管(44)によって供給される該第2のシステム;
− 第1の反応器(40)および/または第2の反応器(48)に供給するように構成された再生流を供給するためのシステム(49);および
− 再生(50)から生じるガス流を回収するためのシステム(50)
を含む請求項16から27のいずれか一項に記載のプラント。 - 少なくとも2つの第2の反応器(48a、48b)を含み、第2の反応器は、これらの反応器の1つ(48a)が反応流を供給するための第2のシステム(46)によって供給されているとき、他方の反応器(48b)が再生流を供給するためのシステム(49)によって供給されるように構成される請求項28に記載のプラント。
- 少なくとも2つの第1の反応器(40a、40b)および少なくとも2つの第2の反応器(48a、48b)を含み、これらの反応器は、第1の反応器の1つ(40a)および第2の反応器の1つ(48a)がそれぞれ反応流を供給するために第1のシステム(39)および反応流を供給するために第2のシステム(46)によって供給されているとき、他方の第1の反応器(40b)および他方の第2の反応器(48b)は、再生流を供給するためのシステム(49)によって供給され、好ましくは、再生流を供給するためのシステム(49)から生じる1つの同じ再生流が連続的に第1の反応器(40b)および次に第2の反応器(48b)を通過するように、または連続的に第2の反応器(48b)および次に第1の反応器(40b)を通過するように構成される請求項28に記載のプラント。
- 反応流を供給するための第2のシステム(46)または再生流を供給するためのシステム(49)のいずれかによって順次供給されるように構成された単一の第2の反応器(48)を含む請求項28に記載のプラント。
- 反応流を供給するための第2のシステム(46)または再生流を供給するためのシステム(49)のいずれかによって順次供給されるように構成され、好ましくは、再生流を供給するためのシステム(49)から生じる1つの同じ再生流が連続的に第1の反応器(40)および次に第2の反応器(48)を通過するように、または連続的に第2の反応器(48)および次に第1の反応器(40)を通過するように構成された単一の第1の反応器(40)および単一の第2の反応器(48)を含む請求項28に記載のプラント。
- テトラフルオロプロペンを含み、モル比で、
− 100ppm未満のクロロメタン;および/または
− 100ppm未満の1,1−ジフルオロエタン;および/または
− 100ppm未満のフルオロメタン;および/または
− 100ppm未満のジフルオロメタン
を含む組成物。 - テトラフルオロプロペンは、2,3,3,3−テトラフルオロプロペンである請求項33に記載の組成物。
- モル比で、
− 50ppm未満のクロロメタン;および/または
− 50ppm未満の1,1−ジフルオロエタン;および/または
− 50ppm未満のフルオロメタン;および/または
− 50ppm未満のジフルオロメタン
を含む請求項33または34に記載の組成物。
Applications Claiming Priority (2)
| Application Number | Priority Date | Filing Date | Title |
|---|---|---|---|
| FR1456303A FR3023286B1 (fr) | 2014-07-02 | 2014-07-02 | Procede de fabrication de tetrafluoropropene |
| FR1456303 | 2014-07-02 |
Related Parent Applications (1)
| Application Number | Title | Priority Date | Filing Date |
|---|---|---|---|
| JP2016575837A Division JP6677658B2 (ja) | 2014-07-02 | 2015-06-22 | テトラフルオロプロペンの製造方法 |
Publications (2)
| Publication Number | Publication Date |
|---|---|
| JP2020037560A true JP2020037560A (ja) | 2020-03-12 |
| JP6847182B2 JP6847182B2 (ja) | 2021-03-24 |
Family
ID=51726670
Family Applications (2)
| Application Number | Title | Priority Date | Filing Date |
|---|---|---|---|
| JP2016575837A Active JP6677658B2 (ja) | 2014-07-02 | 2015-06-22 | テトラフルオロプロペンの製造方法 |
| JP2019191703A Active JP6847182B2 (ja) | 2014-07-02 | 2019-10-21 | テトラフルオロプロペンの製造方法 |
Family Applications Before (1)
| Application Number | Title | Priority Date | Filing Date |
|---|---|---|---|
| JP2016575837A Active JP6677658B2 (ja) | 2014-07-02 | 2015-06-22 | テトラフルオロプロペンの製造方法 |
Country Status (8)
| Country | Link |
|---|---|
| US (2) | US10227275B2 (ja) |
| EP (2) | EP3495340A1 (ja) |
| JP (2) | JP6677658B2 (ja) |
| CN (1) | CN106660909B (ja) |
| CA (1) | CA2951023C (ja) |
| FR (2) | FR3023286B1 (ja) |
| MX (1) | MX384336B (ja) |
| WO (1) | WO2016001515A1 (ja) |
Families Citing this family (26)
| Publication number | Priority date | Publication date | Assignee | Title |
|---|---|---|---|---|
| FR3023286B1 (fr) | 2014-07-02 | 2018-02-16 | Arkema France | Procede de fabrication de tetrafluoropropene |
| US9302962B2 (en) | 2014-08-14 | 2016-04-05 | The Chemours Company Fc, Llc | Dehydrofluorination of 245fa to 1234ze |
| JP6822964B2 (ja) | 2014-10-16 | 2021-01-27 | スポレク プロ ヘミコウ アー フツニ ブイロブ,アクツィオバ スポレチェノスト | 高純度塩素化アルカンの製造方法 |
| CN107848915A (zh) * | 2015-08-05 | 2018-03-27 | 阿科玛股份有限公司 | 具有高氟化活性的氟氧化铬催化剂 |
| WO2017135443A1 (ja) * | 2016-02-03 | 2017-08-10 | ダイキン工業株式会社 | テトラフルオロプロペンの製造方法 |
| FR3048429B1 (fr) * | 2016-03-04 | 2019-09-27 | Arkema France | Composition azeotropique ou quasi-azeotropique comprenant de la trifluoropropyne |
| US20190127303A1 (en) * | 2016-04-13 | 2019-05-02 | Arkema France | Process for the manufacture of 2,3,3,3-tetrafluoropropene |
| JP2017193511A (ja) * | 2016-04-21 | 2017-10-26 | ダイキン工業株式会社 | ハイドロクロロフルオロカーボン及び/又はハイドロフルオロカーボンの製造方法 |
| FR3051468B1 (fr) * | 2016-05-19 | 2019-07-26 | Arkema France | Procede de fabrication de tetrafluoropropene. |
| FR3051469B1 (fr) | 2016-05-19 | 2018-05-11 | Arkema France | Procede de fabrication de tetrafluoropropene. |
| FR3066926B1 (fr) * | 2017-06-06 | 2020-05-22 | Arkema France | Procede de modification de la distribution en fluor dans un compose hydrocarbure. |
| FR3068970B1 (fr) * | 2017-07-17 | 2019-07-26 | Arkema France | Procede de production du 2,3,3,3-tetrafluoropropene. |
| US10450248B2 (en) * | 2017-11-22 | 2019-10-22 | Honeywell International Inc. | Method for producing 1,3,3,3-tetrafluoropropene (HFO-1234ze) from 1-chloro-3,3,3-trifluoropopene (HCFO-1233zd) |
| FR3078699B1 (fr) | 2018-03-07 | 2020-02-21 | Arkema France | Procede de production du 2,3,3,3-tetrafluoropropene |
| FR3078698B1 (fr) | 2018-03-07 | 2020-02-21 | Arkema France | Procede de production du 2-chloro-3,3,3-trifluoropropene |
| FR3078700B1 (fr) | 2018-03-07 | 2020-07-10 | Arkema France | Procede de production du 2,3,3,3-tetrafluoropropene |
| EP3540035A1 (en) | 2018-03-13 | 2019-09-18 | The Procter & Gamble Company | Hand dishwashing detergent composition |
| FR3081158B1 (fr) | 2018-05-16 | 2020-07-31 | Arkema France | Procede de production du 1-chloro-3,3,3-trifluoropropene. |
| FR3083232B1 (fr) | 2018-06-27 | 2021-11-12 | Arkema France | Procede de production du 1-chloro-3,3,3-trifluoropropene |
| EP3847145A2 (en) * | 2018-09-07 | 2021-07-14 | The Chemours Company FC, LLC | Fluorine removal from antimony fluorohalide catalyst using chlorocarbons |
| FR3086287B1 (fr) | 2018-09-26 | 2020-09-18 | Arkema France | Stabilisation du 1-chloro-3,3,3-trifluoropropene |
| US11209196B2 (en) | 2018-10-26 | 2021-12-28 | The Chemours Company Fc, Llc | HFO-1234ZE, HFO-1225ZC and HFO-1234YF compositions and processes for producing and using the compositions |
| BR112021022059A2 (pt) | 2018-10-26 | 2021-12-28 | Chemours Co Fc Llc | Composições de fluoropropeno, métodos de produção de uma mistura e de resfriamento, processos para transferência de calor, para tratamento de uma superfície e para formação de uma composição, sistema de refrigeração, aparelhos de refrigeração, uso da composição de fluoropropeno e método para substituição de um refrigerante |
| GB2580623A (en) * | 2019-01-17 | 2020-07-29 | Mexichem Fluor Sa De Cv | Method |
| FR3115786B1 (fr) * | 2020-11-03 | 2022-11-04 | Arkema France | Procédé de production du trifluoroéthylène |
| CN114644546A (zh) * | 2020-12-17 | 2022-06-21 | 陕西中蓝化工科技新材料有限公司 | 一种氟代烯烃的制备方法 |
Citations (7)
| Publication number | Priority date | Publication date | Assignee | Title |
|---|---|---|---|---|
| JP2011513227A (ja) * | 2008-02-21 | 2011-04-28 | イー・アイ・デュポン・ドウ・ヌムール・アンド・カンパニー | 共沸蒸留によるフッ化水素からの2,3,3,3−テトラフルオロプロペンの分離方法 |
| JP2012505279A (ja) * | 2008-10-08 | 2012-03-01 | アルケマ フランス | 熱伝導流体 |
| WO2013154059A1 (ja) * | 2012-04-09 | 2013-10-17 | 旭硝子株式会社 | 共沸または共沸様組成物、および2,3,3,3-テトラフルオロプロペンまたはクロロメタンの製造方法 |
| JP2013241390A (ja) * | 2012-04-27 | 2013-12-05 | Asahi Glass Co Ltd | フルオロオレフィンの精製方法、およびフルオロオレフィンの製造方法 |
| WO2014025065A1 (en) * | 2012-08-08 | 2014-02-13 | Daikin Industries, Ltd. | Process for producing 2,3,3,3-tetrafluoropropene |
| JP2014511351A (ja) * | 2011-01-21 | 2014-05-15 | アルケマ フランス | 気相触媒フッ素化 |
| JP2014511350A (ja) * | 2011-01-21 | 2014-05-15 | アルケマ フランス | 気相触媒フッ素化 |
Family Cites Families (44)
| Publication number | Priority date | Publication date | Assignee | Title |
|---|---|---|---|---|
| NL98704C (ja) * | 1953-04-09 | |||
| NL294955A (ja) | 1962-07-06 | |||
| JPH0685878B2 (ja) * | 1988-04-13 | 1994-11-02 | ダイキン工業株式会社 | クロム系フッ素化触媒の賦活方法 |
| US4902838A (en) | 1988-12-28 | 1990-02-20 | E. I. Du Pont De Nemours And Company | Isomerization of saturated fluorohydrocarbons |
| GB9007029D0 (en) | 1990-03-29 | 1990-05-30 | Ici Plc | Chemical process |
| US5227350A (en) * | 1990-09-14 | 1993-07-13 | Imperial Chemical Industries Plc | Fluorination catalyst regeneration |
| GB9224594D0 (en) * | 1991-12-10 | 1993-01-13 | Ici Plc | Water separation process |
| US5322597A (en) | 1992-07-30 | 1994-06-21 | Minnesota Mining And Manufacturing Company | Bipolar flow cell and process for electrochemical fluorination |
| EP0801980B1 (en) * | 1996-04-17 | 2002-09-11 | AUSIMONT S.p.A. | Catalyst for the fluorination of halogenated hydrocarbons |
| DE69909860T2 (de) | 1998-02-26 | 2004-05-27 | Central Glass Co., Ltd., Ube | Verfahren zur Herstellung von fluorierten Propanen |
| FR2808268B1 (fr) | 2000-04-26 | 2002-08-30 | Atofina | Liquides ioniques derives d'acides de lewis a base de titane, niobium, tantale, etain ou antimoine, et leurs applications |
| CN100343210C (zh) * | 2001-08-06 | 2007-10-17 | 昭和电工株式会社 | 六氟乙烷的生产方法及其应用 |
| US8067649B2 (en) | 2004-04-29 | 2011-11-29 | Honeywell International Inc. | Method for producing fluorinated organic compounds |
| US8058486B2 (en) | 2004-04-29 | 2011-11-15 | Honeywell International Inc. | Integrated process to produce 2,3,3,3-tetrafluoropropene |
| FI3336074T3 (fi) | 2006-01-03 | 2025-08-22 | Honeywell Int Inc | Menetelmä fluorattujen orgaanisten yhdisteiden tuottamiseksi |
| KR101397113B1 (ko) | 2006-10-03 | 2014-05-19 | 멕시켐 아만코 홀딩 에스.에이. 데 씨.브이. | 탄소수 3-6의 (하이드로)플루오로알켄의 생성을 위한 탈수소할로겐화 방법 |
| CN103553871A (zh) | 2006-10-31 | 2014-02-05 | 纳幕尔杜邦公司 | 氟丙烷、卤代丙烯以及2-氯-3,3,3-三氟-1-丙烯与hf的共沸组合物和1,1,1,2,2-五氟丙烷与hf的共沸组合物的制备方法 |
| FR2916755B1 (fr) | 2007-05-31 | 2009-08-21 | Arkema France | Procede de preparation d'(hydro)(chloro)(fluoro)olefines |
| WO2009003084A1 (en) | 2007-06-27 | 2008-12-31 | Arkema Inc. | Process for the manufacture of hydrofluoroolefins |
| FR2929271B1 (fr) | 2008-03-28 | 2010-04-16 | Arkema France | Procede pour la preparation du 1,2,3,3,3-pentafluoropropene- 1 |
| CA3008510C (en) | 2008-05-07 | 2021-03-09 | E. I. Du Pont De Nemours And Company | Compositions comprising 2,3-dichloro-1,1,1-trifluoropropane, 2-chloro-1,1,1-trifluoropropene, 2-chloro-1,1,1,2-tetrafluoropropane or 2,3,3,3-tetrafluoropropene |
| KR101374000B1 (ko) * | 2009-04-23 | 2014-03-12 | 다이킨 고교 가부시키가이샤 | 2,3,3,3-테트라플루오로프로펜의 제조 방법 |
| GB0918069D0 (en) * | 2009-10-15 | 2009-12-02 | Ineos Fluor Holdings Ltd | Process |
| WO2011077192A1 (en) | 2009-12-23 | 2011-06-30 | Arkema France | CATALYTIC GAS PHASE FLUORINATION OF 1233xf TO 1234yf |
| GB201010958D0 (en) | 2010-06-30 | 2010-08-11 | 3M Innovative Properties Co | Process for manufacturing perfluoroolefins by pyrolysis of perfluorocarbons in the presence of hydrogen |
| JP5747684B2 (ja) * | 2010-09-14 | 2015-07-15 | セントラル硝子株式会社 | ヒドロフルオロカーボンまたはヒドロクロロフルオロカーボンの脱水方法、および該脱水方法を用いた1,3,3,3−テトラフルオロプロペンの製造方法 |
| MX347872B (es) | 2010-10-22 | 2017-05-16 | Arkema France | Proceso para la preparacion de 2,3,3,3-tetrafluoropropeno. |
| FR2980474B1 (fr) | 2011-09-27 | 2013-08-30 | Arkema France | Procede de fabrication du 2,3,3,3-tetrafluoropropene |
| PL2791093T3 (pl) * | 2011-12-14 | 2018-01-31 | Arkema France | Sposób wytwarzania 2,3,3,3-tetrafluoropropenu |
| FR2986525B1 (fr) | 2012-02-03 | 2014-02-14 | Arkema France | Procede de production de 2,3,3,3-tetrafluoropropene |
| FR2991598B1 (fr) | 2012-06-08 | 2015-08-07 | Arkema France | Regeneration de catalyseur par injection de gaz chauffe |
| JP6107466B2 (ja) * | 2012-06-28 | 2017-04-05 | セントラル硝子株式会社 | トランス−1,3,3,3−テトラフルオロプロペンの精製方法 |
| US9708234B2 (en) * | 2012-07-10 | 2017-07-18 | Daikin Industries, Ltd. | Process for producing fluorine-containing olefin |
| FR3013606B1 (fr) | 2013-11-28 | 2015-11-13 | Arkema France | Procede de purification d'acide chlorhydrique |
| US9255045B2 (en) | 2014-01-13 | 2016-02-09 | Arkema France | E-1-chloro-3,3,3-trifluoropropene production process from 1,1,3,3-tetrachloropropene |
| FR3023286B1 (fr) | 2014-07-02 | 2018-02-16 | Arkema France | Procede de fabrication de tetrafluoropropene |
| FR3036398B1 (fr) | 2015-05-22 | 2019-05-03 | Arkema France | Compositions a base de 1,1,3,3-tetrachloropropene |
| US20190127303A1 (en) | 2016-04-13 | 2019-05-02 | Arkema France | Process for the manufacture of 2,3,3,3-tetrafluoropropene |
| FR3078699B1 (fr) | 2018-03-07 | 2020-02-21 | Arkema France | Procede de production du 2,3,3,3-tetrafluoropropene |
| FR3078700B1 (fr) | 2018-03-07 | 2020-07-10 | Arkema France | Procede de production du 2,3,3,3-tetrafluoropropene |
| FR3078698B1 (fr) | 2018-03-07 | 2020-02-21 | Arkema France | Procede de production du 2-chloro-3,3,3-trifluoropropene |
| FR3081158B1 (fr) | 2018-05-16 | 2020-07-31 | Arkema France | Procede de production du 1-chloro-3,3,3-trifluoropropene. |
| FR3083232B1 (fr) | 2018-06-27 | 2021-11-12 | Arkema France | Procede de production du 1-chloro-3,3,3-trifluoropropene |
| FR3086287B1 (fr) | 2018-09-26 | 2020-09-18 | Arkema France | Stabilisation du 1-chloro-3,3,3-trifluoropropene |
-
2014
- 2014-07-02 FR FR1456303A patent/FR3023286B1/fr active Active
-
2015
- 2015-06-22 JP JP2016575837A patent/JP6677658B2/ja active Active
- 2015-06-22 CN CN201580035389.6A patent/CN106660909B/zh not_active Expired - Fee Related
- 2015-06-22 EP EP19153219.1A patent/EP3495340A1/fr active Pending
- 2015-06-22 MX MX2016015875A patent/MX384336B/es unknown
- 2015-06-22 WO PCT/FR2015/051653 patent/WO2016001515A1/fr not_active Ceased
- 2015-06-22 US US15/321,462 patent/US10227275B2/en active Active
- 2015-06-22 EP EP15738402.5A patent/EP3164376B1/fr active Active
- 2015-06-22 CA CA2951023A patent/CA2951023C/fr active Active
-
2017
- 2017-12-11 FR FR1761894A patent/FR3059999B1/fr active Active
-
2019
- 2019-01-17 US US16/250,141 patent/US11459285B2/en active Active
- 2019-10-21 JP JP2019191703A patent/JP6847182B2/ja active Active
Patent Citations (7)
| Publication number | Priority date | Publication date | Assignee | Title |
|---|---|---|---|---|
| JP2011513227A (ja) * | 2008-02-21 | 2011-04-28 | イー・アイ・デュポン・ドウ・ヌムール・アンド・カンパニー | 共沸蒸留によるフッ化水素からの2,3,3,3−テトラフルオロプロペンの分離方法 |
| JP2012505279A (ja) * | 2008-10-08 | 2012-03-01 | アルケマ フランス | 熱伝導流体 |
| JP2014511351A (ja) * | 2011-01-21 | 2014-05-15 | アルケマ フランス | 気相触媒フッ素化 |
| JP2014511350A (ja) * | 2011-01-21 | 2014-05-15 | アルケマ フランス | 気相触媒フッ素化 |
| WO2013154059A1 (ja) * | 2012-04-09 | 2013-10-17 | 旭硝子株式会社 | 共沸または共沸様組成物、および2,3,3,3-テトラフルオロプロペンまたはクロロメタンの製造方法 |
| JP2013241390A (ja) * | 2012-04-27 | 2013-12-05 | Asahi Glass Co Ltd | フルオロオレフィンの精製方法、およびフルオロオレフィンの製造方法 |
| WO2014025065A1 (en) * | 2012-08-08 | 2014-02-13 | Daikin Industries, Ltd. | Process for producing 2,3,3,3-tetrafluoropropene |
Also Published As
| Publication number | Publication date |
|---|---|
| JP6677658B2 (ja) | 2020-04-08 |
| US20170210686A1 (en) | 2017-07-27 |
| MX384336B (es) | 2025-03-14 |
| CN106660909A (zh) | 2017-05-10 |
| FR3059999A1 (fr) | 2018-06-15 |
| US10227275B2 (en) | 2019-03-12 |
| JP2017525669A (ja) | 2017-09-07 |
| WO2016001515A1 (fr) | 2016-01-07 |
| EP3164376B1 (fr) | 2019-03-27 |
| FR3059999B1 (fr) | 2020-05-08 |
| EP3164376A1 (fr) | 2017-05-10 |
| FR3023286A1 (fr) | 2016-01-08 |
| CA2951023A1 (fr) | 2016-01-07 |
| EP3495340A1 (fr) | 2019-06-12 |
| MX2016015875A (es) | 2017-04-05 |
| CN106660909B (zh) | 2021-07-27 |
| US20190152883A1 (en) | 2019-05-23 |
| JP6847182B2 (ja) | 2021-03-24 |
| US11459285B2 (en) | 2022-10-04 |
| CA2951023C (fr) | 2022-06-21 |
| WO2016001515A9 (fr) | 2017-05-11 |
| FR3023286B1 (fr) | 2018-02-16 |
Similar Documents
| Publication | Publication Date | Title |
|---|---|---|
| JP6677658B2 (ja) | テトラフルオロプロペンの製造方法 | |
| US10329227B2 (en) | Process for the preparation of 2,3,3,3-tetrafluoropropene | |
| EP2665694B1 (en) | Process for the manufacture of 2,3,3,3- tetrafluoropropene by gas phase fluorination of pentachloropropane | |
| JP5748027B2 (ja) | 2−クロロ−3,3,3−トリフルオロプロペンの製造方法 | |
| CN105377797B (zh) | 2,3,3,3-四氟丙烯的制造方法 | |
| US20160237009A1 (en) | Method for producing 2,3,3,3-tetrafluoropropene | |
| CN107848916A (zh) | 用于制备2,3,3,3‑四氟丙烯(1234yf)的制程 | |
| EP3447041A1 (en) | Method for producing hydrochlorofluorocarbon and/or hydrofluorocarbon | |
| US20200223774A1 (en) | Method and plant for producing tetrafluoropropene | |
| EP3333145B1 (en) | Production method for composition containing 1,2-dichloro-3,3,3-trifluoropropene (hcfo-1223xd) and/or 1,1,2-trichloro-3,3,3-trifluoropropene (cfo-1213xa) | |
| JP6216832B2 (ja) | 2,3,3,3−テトラフルオロプロペンを調製する方法 | |
| US20200223773A1 (en) | Method for producing tetrafluoropropene |
Legal Events
| Date | Code | Title | Description |
|---|---|---|---|
| A521 | Request for written amendment filed |
Free format text: JAPANESE INTERMEDIATE CODE: A523 Effective date: 20191119 |
|
| A621 | Written request for application examination |
Free format text: JAPANESE INTERMEDIATE CODE: A621 Effective date: 20191119 |
|
| A131 | Notification of reasons for refusal |
Free format text: JAPANESE INTERMEDIATE CODE: A131 Effective date: 20200901 |
|
| A977 | Report on retrieval |
Free format text: JAPANESE INTERMEDIATE CODE: A971007 Effective date: 20200831 |
|
| A521 | Request for written amendment filed |
Free format text: JAPANESE INTERMEDIATE CODE: A523 Effective date: 20201127 |
|
| TRDD | Decision of grant or rejection written | ||
| A01 | Written decision to grant a patent or to grant a registration (utility model) |
Free format text: JAPANESE INTERMEDIATE CODE: A01 Effective date: 20210224 |
|
| A61 | First payment of annual fees (during grant procedure) |
Free format text: JAPANESE INTERMEDIATE CODE: A61 Effective date: 20210302 |
|
| R150 | Certificate of patent or registration of utility model |
Ref document number: 6847182 Country of ref document: JP Free format text: JAPANESE INTERMEDIATE CODE: R150 |
|
| R250 | Receipt of annual fees |
Free format text: JAPANESE INTERMEDIATE CODE: R250 |
|
| R250 | Receipt of annual fees |
Free format text: JAPANESE INTERMEDIATE CODE: R250 |
|
| S531 | Written request for registration of change of domicile |
Free format text: JAPANESE INTERMEDIATE CODE: R313531 |
|
| R350 | Written notification of registration of transfer |
Free format text: JAPANESE INTERMEDIATE CODE: R350 |
