JP2020031237A - 太陽電池複合型表示体 - Google Patents

太陽電池複合型表示体 Download PDF

Info

Publication number
JP2020031237A
JP2020031237A JP2019211729A JP2019211729A JP2020031237A JP 2020031237 A JP2020031237 A JP 2020031237A JP 2019211729 A JP2019211729 A JP 2019211729A JP 2019211729 A JP2019211729 A JP 2019211729A JP 2020031237 A JP2020031237 A JP 2020031237A
Authority
JP
Japan
Prior art keywords
solar cell
sheet member
cell panel
frame
display
Prior art date
Legal status (The legal status is an assumption and is not a legal conclusion. Google has not performed a legal analysis and makes no representation as to the accuracy of the status listed.)
Granted
Application number
JP2019211729A
Other languages
English (en)
Other versions
JP6863438B2 (ja
Inventor
鈴木 裕行
Hiroyuki Suzuki
裕行 鈴木
Current Assignee (The listed assignees may be inaccurate. Google has not performed a legal analysis and makes no representation or warranty as to the accuracy of the list.)
Dai Nippon Printing Co Ltd
Original Assignee
Dai Nippon Printing Co Ltd
Priority date (The priority date is an assumption and is not a legal conclusion. Google has not performed a legal analysis and makes no representation as to the accuracy of the date listed.)
Filing date
Publication date
Application filed by Dai Nippon Printing Co Ltd filed Critical Dai Nippon Printing Co Ltd
Priority to JP2019211729A priority Critical patent/JP6863438B2/ja
Publication of JP2020031237A publication Critical patent/JP2020031237A/ja
Application granted granted Critical
Publication of JP6863438B2 publication Critical patent/JP6863438B2/ja
Active legal-status Critical Current
Anticipated expiration legal-status Critical

Links

Images

Classifications

    • YGENERAL TAGGING OF NEW TECHNOLOGICAL DEVELOPMENTS; GENERAL TAGGING OF CROSS-SECTIONAL TECHNOLOGIES SPANNING OVER SEVERAL SECTIONS OF THE IPC; TECHNICAL SUBJECTS COVERED BY FORMER USPC CROSS-REFERENCE ART COLLECTIONS [XRACs] AND DIGESTS
    • Y02TECHNOLOGIES OR APPLICATIONS FOR MITIGATION OR ADAPTATION AGAINST CLIMATE CHANGE
    • Y02EREDUCTION OF GREENHOUSE GAS [GHG] EMISSIONS, RELATED TO ENERGY GENERATION, TRANSMISSION OR DISTRIBUTION
    • Y02E10/00Energy generation through renewable energy sources
    • Y02E10/50Photovoltaic [PV] energy
    • Y02E10/52PV systems with concentrators

Landscapes

  • Photovoltaic Devices (AREA)

Abstract

【課題】周囲の環境との調和を図ると共に、表示及び発電の両立が可能な太陽電池複合型表示体を提供する。【解決手段】太陽電池複合型表示体10は、第1面20a及び第2面20bを有するシート部材20と、シート部材20の第2面20bに対向して配置された太陽電池パネル50と、少なくとも太陽電池パネル50を保持する枠部材70と、を備える。シート部材20には、各々が太陽電池パネル50のパネル面に対して傾斜した複数の表示面12が一軸方向d1に沿って配列されている。【選択図】図2

Description

本発明は、表示を行うための表示面を含み、太陽電池パネルによる発電も行うことが可能な太陽電池複合型表示体に関する。
このような太陽電池複合型表示体の一例として、太陽電池パネルを併設した交通標識が特許文献1に記載されている。特許文献1に記載の交通標識では、昼間に太陽電池パネルにて発電した電力を蓄え、この蓄えた電力を照明用電源として利用し、夜間の視認性や昼間の注意喚起効果を向上させることができる。また、外部から電力を供給する配線ケーブル等が不要なため、電源設備がない地域であっても容易に設置することができる。このような背景から、近年太陽電池パネルを併設した交通標識の開発が進められてきている。
特開2000−54325号公報
特許文献1に記載の交通標識では、太陽電池パネルが表示面の上方に併設されている。多くの外光を受光して多くの発電量を得られるよう、太陽電池パネルの受光面は、外部に露出している。このため、交通標識を観察する観察者によって、太陽電池パネルの受光面は視認され易い位置にある。しかしながら、太陽電池パネルの受光面は濃紺色や黒色の単一色であるため、太陽電池パネルの外観は、周囲の環境になじまない。
本発明は、以上の点を考慮してなされたものであり、周囲の環境との調和を図ると共に、表示面による表示及び太陽電池パネルによる発電の両立が可能な太陽電池複合型表示体を提供することを目的とする。また、本発明は、このような太陽電池複合型表示体を設置する方法を提供することを目的とする。
本発明による太陽電池複合型表示体は、第1面及び前記第1面に対向する第2面を有するシート部材と、前記シート部材の第2面に対向して配置された太陽電池パネルと、少なくとも前記太陽電池パネルを保持する枠部材と、を備え、
前記シート部材には、各々が前記太陽電池パネルのパネル面に対して傾斜した複数の表示面が一軸方向に沿って配列されている。
本発明による太陽電池複合型表示体において、前記太陽電池パネルは、前記シート部材の前記第2面に対向する受光面と、前記受光面に対向する背面と、前記受光面と前記背面との間を延びる側面と、を有し、前記枠部材は、前記太陽電池パネルの側面に対向すると共に当該太陽電池パネルを保持する枠体を有し、前記枠体は、前記太陽電池パネルを基準として前記シート部材の反対側となる領域から前記シート部材の法線方向に沿って前記シート部材側に向かって延びていてもよい。
本発明による太陽電池複合型表示体において、前記太陽電池パネルは、前記シート部材の前記第2面に対向する受光面と、前記受光面に対向する背面と、前記受光面と前記背面との間を延びる側面と、を有し、前記枠部材は、前記太陽電池パネルの側面に対向すると共に当該太陽電池パネルを保持する枠体を有し、前記枠体は、前記太陽電池パネルを基準として前記シート部材の反対側となる領域から前記シート部材の法線方向に沿って前記シート部材側に向かって延びていてもよい。
本発明による太陽電池複合型表示体において、前記枠体は、前記太陽電池パネルの前記受光面を越えて前記シート部材側に突き出ていてもよい。
本発明による太陽電池複合型表示体において、前記枠体は、前記シート部材の法線方向に沿った方向を向く先端面を有し、前記枠体の前記先端面は、前記シート部材の前記第1面と、前記シート部材の法線方向に沿った位置が一致していてもよい。
本発明による太陽電池複合型表示体において、前記枠体は、前記シート部材の前記第2面側から前記第1面を越えて延び出し、当該第1面から前記シート部材の法線方向に突き出ていてもよい。
本発明による太陽電池複合型表示体において、前記枠体のうちの前記太陽電池パネルの前記受光面よりも前記シート部材側に突き出た領域の少なくとも一部が、光透過性をもってもよい。
本発明による太陽電池複合型表示体において、前記枠体のうちの前記太陽電池パネルの前記受光面よりも前記シート部材側に突き出た領域が、前記太陽電池パネルの前記側面と対向する面に、反射処理面をもってもよい。
本発明による太陽電池複合型表示体において、前記枠体は、前記太陽電池パネル及び前記シート部材を間隔を空けて保持していてもよい。
本発明による太陽電池複合型表示体において、前記枠体のうちの、前記シート部材の法線方向において前記太陽電池パネルと前記シート部材との間となる領域が、光透過性をもってもよい。
本発明による太陽電池複合型表示体において、前記枠体は、前記シート部材の法線方向に沿った方向を向く先端面を有し、前記枠体の前記先端面は、前記シート部材の法線方向において前記太陽電池パネルの前記受光面と前記背面との間となる位置に位置している、あるいは、前記太陽電池パネルの前記受光面と前記シート部材の法線方向に沿った位置が一致していてもよい。
本発明による太陽電池複合型表示体において、前記シート部材は、前記枠体の前記先端面を覆っていてもよい。
本発明による太陽電池複合型表示体において、前記太陽電池パネルと前記シート部材との相対的な傾きが変更可能となるように、前記太陽電池パネルが前記枠部材に支持されていてもよい。
本発明による太陽電池複合型表示体において、前記太陽電池パネルは、複数のパネル部品を並べることにより構成され、前記枠部材は、隣り合う2つのパネル部品の間を通る内枠を有していてもよい。
本発明による太陽電池複合型表示体において、前記内枠は、前記シート部材の法線方向に沿った方向を向く先端面を有し、前記シート部材は、前記内枠の前記先端面を覆っていってもよい。
本発明による太陽電池複合型表示体において、前記シート部材は、複数のシート部品を並べることにより構成され、各シート部品は、対応するパネル部品を覆っていてもよい。
本発明による太陽電池複合型表示体において、前記シート部材は、複数のシート部品を並べることにより構成されていてもよい。
本発明による太陽電池複合型表示体において、或る方向から前記太陽電池複合型表示体を観察すると前記表示面が観察され、前記或る方向とは異なる別の方向から前記太陽電池複合型表示体に入射した光が、隣り合う2つの表示面の間を通過して前記太陽電池パネルに到達してもよい。
本発明による太陽電池複合型表示体において、前記シート部材の前記第2面は、一軸方向に交互に配列された複数の向き調整面及び複数の光透過面と、を含み、前記向き調整面は、前記太陽電池パネルのパネル面に対して傾斜し、前記光透過面は、前記太陽電池パネルのパネル面に対して前記向き調整面とは異なる角度で傾斜し、前記向き調整面に前記表示面が配置されていてもよい。
本発明による太陽電池複合型表示体において、前記シート部材の第2面は、前記一軸方向に沿って配列された複数のレンズ面を含み、各表示面は、各々に対応するレンズ面の一部に沿って配置されていてもよい。
本発明による太陽電池複合型表示体において、前記複数の表示面は、前記シート部材内部に配置されていてもよい。
本発明による太陽電池複合型表示体において、各表示面に表示対象要素が付与され、前記表示対象要素の組み合わせで表示対象が形成されてもよい。
本発明によれば、周囲の環境との調和を図ると共に、表示面による表示及び太陽電池パネルによる発電の両立が可能な太陽電池複合型表示体を提供することができる。
図1は、一実施の形態を説明するための図であって、太陽電池複合型表示体を示す斜視図である。 図2は、図1のII−II線に沿った断面図である。 図3は、太陽電池複合型表示体に表示される表示対象の一例を示す図である。 図4は、図2と同様の断面において、太陽電池複合型表示体の作用を説明するための図である。 図5は、図2と同様の断面において、太陽電池複合型表示体の作用を説明するための図である。 図6は、太陽電池複合型表示体の製造方法を説明するための図である。 図7は、太陽電池複合型表示体の製造方法を説明するための図である。 図8は、太陽電池複合型表示体の製造方法を説明するための図である。 図9は、シート部材及び太陽電池パネルを支持する枠部材を説明するための図である。 図10は、枠部材の一変形例を示す図である。 図11は、枠部材の別の変形例を示す図である。 図12は、枠部材のさらに別の変形例を示す図である。 図13は、枠部材のさらに別の変形例を示す図である。 図14は、枠部材のさらに別の変形例を示す図である。 図15は、枠部材のさらに別の変形例を示す図である。 図16は、太陽電池パネルが複数のパネル部品の組み合わせとして構成された例を示す正面図である。 図17は、図16のXVII−XVII線に沿った断面図である。 図18は、太陽電池パネル及びシート部材がそれぞれ複数の部品の組み合わせとして構成された例を示す断面図である。 図19は、シート部材が複数のシート部品の組み合わせとして構成された例を示す正面図である。 図20は、図19のXX−XX線に沿った断面図である。 図21は、シート部材の一変形例を示す断面図である。 図22は、シート部材の別の変形例を示す断面図である。 図23は、シート部材のさらに別の変形例を示す断面図である。 図24は、シート部材のさらに別の変形例を示す断面図である。 図25は、シート部材のさらに別の変形例を示す断面図である。 図26は、シート部材のさらに別の変形例を示す断面図である。 図27は、シート部材のさらに別の変形例を示す断面図である。
以下、図面を参照して実施の形態について説明する。なお、本件明細書に添付する図面においては、図示と理解のしやすさの便宜上、適宜縮尺および縦横の寸法比等を、実物のそれらから変更し誇張してある。また、本明細書において用いる、形状や幾何学的条件並びにそれらの程度を特定する、例えば、「平行」、「直交」、「同一」等の用語や長さや角度の値等については、厳密な意味に縛られることなく、同様の機能を期待し得る程度の範囲を含めて解釈することとする。
図1〜図9は、一実施の形態を説明するための図である。このうち図1、図2は、太陽電池複合型表示体10の構成を示す斜視図または縦断面図であり、図3〜図5は、太陽電池複合型表示体10の作用を説明するため図であり、図6〜図8は、太陽電池複合型表示体10の製造方法の一例を説明するための図であり、図9は、枠部材70について説明するための図である。
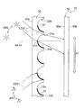
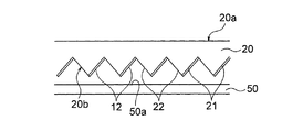
ここで説明する太陽電池複合型表示体10は、所定の表示機能及び外光を利用した発電機能の両方を発揮する。図1及び図2に示す太陽電池複合型表示体10において、第1軸方向d1に交互に配列された複数の向き調整面21及び複数の光透過面22が、太陽電池パネル50よりも入光側に設けられている。或る角度範囲AR1内の方向D21から太陽電池複合型表示体10を観察すると、主として向き調整面21に配置された表示面12が観察される。したがって、表示面12は、或る角度範囲AR1から太陽電池複合型表示体10を観察する観察者に対して表示機能を発揮する。一方、別の或る角度範囲AR2内の方向から入射した光L22は、主として光透過面22を通過して太陽電池パネル50に導かれる。したがって、太陽電池パネル50は、別の或る角度範囲AR2から太陽電池複合型表示体10へ入射する光に対して発電機能を発揮する。しかして、太陽電池複合型表示体10によれば、観察者からの観察方向と外光の入射方向との相違を利用して、観察者が表示面12を観察する際に太陽電池パネル50が視認されることを抑制し、周囲との調和を図ることを可能にしている。
以下、本実施の形態による太陽電池複合型表示体10の構成及び作用効果について詳述していく。図1及び図2によく示されているように、太陽電池複合型表示体10は、シート状のシート部材20と、シート部材20の背面に配置された太陽電池パネル50と、少なくとも太陽電池パネル50を保持する枠部材70と、を備えている。なお、枠部材70については、図9を参照して後述する。
シート状のシート部材20は、互いに対向する一対の主面として、第1面20a及び第2面20bを有している。第1面20aは、太陽電池複合型表示体10へ入射する太陽光等の外光等の入射面をなす。また、第1面20aは、表示対象13(図3参照)を可視化する表示面12からの光が太陽電池複合型表示体10から出射する出射面をなす。一方、第2面20bは、太陽電池パネル50に対向する面をなしている。
シート部材20の第2面20bは、第1軸方向d1に交互に配列された複数の向き調整面21及び複数の光透過面22と、を含んでいる。向き調整面21には、表示対象13を表示するための表示面12が配置されている。向き調整面21は、表示面12を支持すると共に、表示面12を観察し得る視野角を調整するべく設けられている。一方、光透過面22は、隣り合う表示面12の間で太陽電池複合型表示体10に入射する光L22を透過させて、太陽電池パネル50に導くために設けられている。なお、図示する例では、複数の向き調整面21は互いに同一に構成され、複数の光透過面22も互いに同一に構成されている。
なお、本明細書において、「シート」、「フィルム」、「板」等の用語は、呼称の違いのみに基づいて、互いから区別されるものではない。したがって、例えば、「シート」はフィルムや板とも呼ばれ得るような部材も含む概念である。
また、本明細書において、「シート面(フィルム面、板面、パネル面)」とは、対象となるシート状の部材を全体的かつ大局的に見た場合において対象となるシート状部材の平面方向と一致する面のことを指す。以下に説明する実施の形態においては、シート部材20のシート面、太陽電池パネル50のパネル面、並びに太陽電池パネル50の受光面50aは、互いに並行となっている。さらに、本明細書において、シート状(フィルム状、板状、パネル状)の部材に対して用いる「法線方向」とは、当該部材のシート面への法線方向のことを指す。
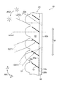
図1に示すように、各向き調整面21及び各光透過面22は、その配列方向である第1軸方向d1に対して交差する方向に線状に延びている。とりわけ図示された例において、各向き調整面21及び各光透過面22は、第1軸方向d1及びシート部材20の法線方向ndの両方と直交する第2軸方向d2に、直線状に延びている。また、図2に示す例では、各向き調整面21と各光透過面22とは、法線方向ndからみて互いにずれて配置されている。なお、本実施の形態において、第1軸方向d1及び第2軸方向d2は、シート部材20のシート面に沿っており、シート部材20の法線方向ndに直交している。図示された例において、太陽電池複合型表示体10は、第1軸方向d1が鉛直方向と平行になり第2軸方向d2が水平方向と平行になるようにして、配置されている。
各向き調整面21は、シート部材20のシート面、言い換えると、太陽電池パネル50のパネル面に対して傾斜し、シート部材20の法線方向ndに対しても傾斜している。すなわち、各向き調整面21は、シート部材20のシート面及びシート部材20の法線方向ndのいずれとも非平行になっている。向き調整面21と共に当該向き調整面21に配置された表示面12を太陽電池パネル50のパネル面に対して傾斜させることにより、表示面12に付与された表示対象13を観察し得る視野角となる第1角度範囲AR1を、高い自由度で調整することが可能となる。
図2に示すように、各向き調整面21は、第1軸方向d1において一側(図2における上側であって、鉛直方向における上側)に位置する一端部21aが、第1軸方向d1において他側(図2における下側であって、鉛直方向における下側)に位置する他端部21bよりも、シート部材20の法線方向ndにおいて太陽電池パネル50から離間するように、シート部材20のシート面に対して傾斜している。図2から理解され得るように、このような向き調整面21によれば、法線方向ndに対して他側に傾斜した角度範囲に向けて、光が出射しやすくなる。すなわち、向き調整面21に配置された表示面12からの表示機能は、法線方向ndに対して他側に傾斜した方向D21から観察されたときに、効果的に発揮されるようになる。
表示面12は、向き調整面21に重なるように当該向き調整面21に沿って配置されている。ゆえに、向き調整面21に配置された表示面12も、第1軸方向d1において一側に位置する一端部12aが、第1軸方向d1において他側に位置する他端部12bよりも、シート部材20の法線方向ndにおいて太陽電池パネル50から離間するように、シート部材20のシート面に対して傾斜している。
表示面12から第1角度範囲AR1へ向けて太陽電池複合型表示体10から出射する光は、表示面12に付与された表示対象13を可視化させる。すなわち、第1角度範囲AR1から表示面12が視認され、結果として、表示面12に形成された表示対象13を観察することができる。なお、表示面12によって動く表示対象13を表示する場合、太陽電池パネル50から発電された電気を駆動に用いることが簡便である。
図3に、表示面12に形成される表示対象13の一例が示されている。複数の表示面12が、第1軸方向d1に配列されるとともに、各表示面12は、第1軸方向d1に直交する第2軸方向d2に直線状に延びている。したがって、第1軸方向d1における各位置に位置する表示面12が、当該表示面12の第1軸方向d1における位置に応じた表示対象要素13aを付与されることによって、第2軸方向d2に細長く延びる各表示面12に形成された表示対象要素13aの組み合わせとして二次元的な表示対象13を表示することが可能となる。図3に示された例では、アルファベットの大文字の「N」が表示対象13として表示されている。このように、複数の表示対象要素13aの組み合わせとして表示対象13を表示することで、各向き調整面21のサイズを小さくできるため、第1角度範囲AR1を広げたり太陽電池複合型表示体10のサイズを大きくしたとしても、より良好な表示対象13を観察できるようになる。
上述のように、本実施の形態の太陽電池複合型表示体10は、表示対象13が連続して表示される角度範囲を高い自由度で調整可能である。そのため、本実施の形態の太陽電池複合型表示体10は、様々な用途で利用可能であり、例えば、屋外看板、道路情報掲示板、建築物の外壁面などで用いられる数m〜数十mサイズの大型パネル用途や、ポスター、標識、建築物の内壁面などで用いられる数十cm〜数mサイズの中型パネル用途や、卓上スタンド、携帯端末などで用いられる数cm〜数十cmの小型パネル用途などを例示することができる。
一方、隣り合う向き調整面21の間に位置する各光透過面22は、シート部材20のシート面、言い換えると、太陽電池パネル50のパネル面に対して傾斜し、シート部材20の法線方向ndに対しても傾斜している。すなわち、各向き調整面21は、シート部材20のシート面及びシート部材20の法線方向ndのいずれとも非平行になっている。光透過面22を太陽電池パネル50のパネル面に対して傾斜させることにより、太陽電池パネル50による発電が連続して安定して行われるようになる角度範囲である第2角度範囲AR2を、高い自由度で調整することが可能となる。
光透過面22がシート部材20のシート面に対して傾斜する角度は、向き調整面21が光制御シート20のシート面に対して傾斜する角度と異なっている。とりわけ、図2に示す太陽電池複合型表示体の主断面において、光透過面22は、シート部材20の法線方向ndに対して向き調整面21とは反対側に傾斜している。上述のように、各向き調整面21は、一端部21aが他端部21bよりもシート部材20の法線方向ndにおいて太陽電池パネル50から離間するように、シート部材20のシート面に対して傾斜している。したがって、各光透過面22は、第1軸方向d1において他側に位置する他端部22bが、第1軸方向d1において一側に位置する一端部22aよりも、シート部材20の法線方向ndにおいて太陽電池パネル50から離間するように、シート部材20のシート面に対して傾斜している。図2から理解され得るように、このような光透過面22は、法線方向ndに対して一側に傾斜した角度範囲からの光が、入射しやすくなる。したがって、法線方向ndに対して一側に傾斜した方向から太陽電池複合型表示体10に入射する光L22を、太陽電池パネル50により導きやすくなる。
次に、向き調整面21と光透過面22との関係について述べる。図2に示す太陽電池複合型表示体の主断面において、向き調整面21と、第1軸方向d1における他側で当該向き調整面21と隣り合う光透過面22と、の第1軸方向d1に沿った間隔dtは、シート部材20の法線方向ndにおいて太陽電池パネル50に接近していくにつれて、段階的又は連続的に狭くなっていく。したがって、向き調整面21の他端部21bは、他側に位置する光透過面22の一端部22aと最も接近する。図示された実施の形態では、向き調整面21の他端部21bは、他側に位置する光透過面22の一端部22aと繋がっている。もっとも、向き調整面21の他端部21bは、他側に位置する光透過面22の一端部22aから離間していてもよい。
一方、向き調整面21の一端部21aは、第1軸方向d1における一側で当該向き調整面21と隣り合う光透過面22の他端部22bと繋がっている。もっとも、向き調整面21の一端部21aは、第1軸方向d1における一側で当該向き調整面21と隣り合う光透過面22の他端部22bから離間していてもよい。
また、図2に示す主切断面において、向き調整面21は、当該向き調整面21と隣り合う光透過面22の長さと等しくなっている。したがって、シート部材20の第2面20bに占める向き調整面21の割合は、シート部材20の第2面20bに占める光透過面22の割合と等しい。ただし、図2に示す主切断面において、向き調整面21は、当該向き調整面21と隣り合う光透過面22の長さと異なっていてもよい。とりわけ、向き調整面21が当該向き調整面21と隣り合う光透過面22よりも短くなっている場合、シート部材20の第2面20bに占める向き調整面21の割合を、シート部材20の第2面20bに占める光透過面22の割合よりも小さくすることができる。この場合、相対的に多くの光を光透過面22に導き易くなる傾向となり、結果として、より多くの光を太陽電池パネル50に導くことに寄与し得る。
また、図2に示す例では、向き調整面21がシート部材20のシート面に対してなす角度θ1は、光透過面22がシート部材20のシート面に対してなす角度θ2と等しい。ただし、向き調整面21がシート部材20のシート面に対してなす角度θ1は、観察されることが意図された観察者による観察方向に応じて決定され、光透過面22がシート部材20のシート面に対してなす角度θ2は、取り込むことが意図された外光の入射方向に応じて決定される。したがって、向き調整面21がシート部材20のシート面に対してなす角度θ1は、光透過面22がシート部材20のシート面に対してなす角度θ2と異なっていてもよい。
また、図2に示す例では、各向き調整面21及び各光透過面22が、平坦面からなる。ただし、このような例に限定されず、各向き調整面21及び各光透過面22は、曲面からなってもよい。一例として、各向き調整面21及び各光透過面22は、レンズ面のような球面乃至湾曲面の一部をなしてもよい。より具体的には、各向き調整面21及び各光透過面22は、外方側に向かって凸となるように湾曲したレンズ面であってもよいし、内方側に向かって凹となるように湾曲したレンズ面であってもよい。
同様に、図2に示す例では、表示面12が平坦面からなる。ただし、このような例に限定されず、表示面12は、曲面からなってもよい。一例として、各表示面12は、レンズ面のような球面乃至湾曲面の一部をなしてもよい。より具体的には、各表示面12は、外方側に向かって凸となるように湾曲したレンズ面であってもよいし、内方側に向かって凹となるように湾曲したレンズ面であってもよい。本明細書において、表示面12が曲面からなる場合、「表示面12が平面に対して傾斜する」とは、図2に示す主切断面において、表示面12の両端部12a、12bを結ぶ直線が平面に対して傾斜することを意味する。
また、シート部材20の第2面20bと太陽電池パネル50との間に空気層30が形成されている。図2に示す例では、空気層30は、シート部材20の第2面20bと、太陽電池パネル50の受光面50aと、の間に形成されている。なお、シート部材20は、太陽電池パネル50と空気層30を介して配置された例に限定されず、太陽電池パネル50と接合層を介して接合されていてもよい。
太陽電池パネル50は、シート部材20の第2面20bに対向する受光面50aと、受光面50aに対向する背面50bと、受光面50aと背面50bとの間を延びる側面50cと、を有している。太陽電池パネル50は、受光面50aで受光した光を電気エネルギーに変換する発電装置である。太陽電池パネル50の受光面50aには、第2角度範囲AR2から光透過面22に取り込まれた光L22が導かれるようになっており、この光L22が発電に利用される。
図1に示すように、太陽電池パネル50の側面50cは、第1軸方向d1に対向する一対の上側面50d及び下側面50eと、第2軸方向d2に対向する一対の横側面50fと、を含んでいる。側面50cを構成する各面50d〜50fは、平坦な面として構成されている。
このような太陽電池パネル50として、種々の形態のものを使用することができる。例えば、単結晶シリコンまたは多結晶シリコン等からなる平板状のシリコン基板を含むシリコン系太陽電池パネル、薄膜太陽電池パネル、カルコパイライト系太陽電池等を、太陽電池パネル50として用いることができる。
次に、上述してきた太陽電池複合型表示体10の製造方法の一例について、主として図6〜図8を参照しながら説明する。
まず、図6に示すように、透明樹脂を成型することにより、シート部材20を作製する。成型は、熱溶融押出加工や射出成型等を採用することができる。図6に示すように、得られたシート部材20の第2面20bには、複数の向き調整面21と複数の光透過面22とが交互に形成されている。
次に、図7に示すように、シート部材20の向き調整面21に表示面12を形成する。一例として、インクジェット印刷によって、シート部材20の向き調整面21に表示面12を形成する。その後、図8に示すように、シート部材20の第2面20bに対向して太陽電池パネル50を配置する。これにより、太陽電池複合型表示体10が得られる。
次に、主として、図4及び図5を参照しながら、太陽電池複合型表示体10の作用について説明する。太陽電池複合型表示体10は、例えば、向き調整面21及び光透過面22の配列方向である第1軸方向d1が鉛直方向に沿うようにして、配置される。具体的には、第1軸方向d1における一側が、鉛直方向における上側に沿い、第1軸方向d1における他側が、鉛直方向における下側に沿うように、太陽電池複合型表示体10が配置される。
図4によく示されているように、傾斜した向き調整面21に配置された表示面12は、当該表示面12の正面方向から視認され易い。図4に示す例では、表示面12がシート部材20の法線方向ndに対して第1軸方向d1における一側に傾斜しているため、当該法線方向ndに対して第1軸方向d1における他側に傾斜した方向D41、D42、D43から太陽電池複合型表示体10を観察したときに表示面12を視認し易くなる。このように、向き調整面21をシート部材20の法線方向ndに対して傾斜させることにより、向き調整面21に位置する表示面12が観察される視野角となる第1角度範囲AR1を、高い自由度で調整することができる。したがって、観察者は、優れた視認性で表示対象13を観察することができ、且つ、優れた意匠性で表示対象13を表示することができる。
一方、向き調整面21とは異なる角度で傾斜した光透過面22は、向き調整面21を視認し易い方向D41、D42、D43とは異なる方向から入射する光L51、L52、L53を効率的に取り込むことが可能となる。図5に示す例では、光透過面22がシート部材20の法線方向ndに対して第1軸方向d1における他側に傾斜しているため、当該法線方向ndに対して第1軸方向d1における一側に傾斜した方向から太陽電池複合型表示体10に入射する光L51、L52、L53を効率的に取り込むことが可能となる。光透過面22に取り込まれた光L51、L52、L53は、空気層30内を進行して太陽電池パネル50に導かれる。このように、光透過面22を向き調整面21とは異なる角度でシート部材20の法線方向ndに対して傾斜させることにより、太陽電池パネル50に導かれるようになる太陽電池複合型表示体10への入射方向の角度範囲である第2角度範囲AR2を、高い自由度で調整することができる。したがって、本実施の形態による太陽電池複合型表示体10では、時間帯や季節に応じて入射方向を変化させる太陽光を効率的に受光して、太陽電池パネル50での発電に利用することが可能となる。
以上のように、本実施の形態によれば、第1面20a及び第1面20aに対向する第2面20bを有するシート部材20と、シート部材20の第2面20bに対向して配置された太陽電池パネル50と、を備え、シート部材20には、各々が太陽電池パネル50のパネル面に対して傾斜した複数の表示面12が一軸方向d1に沿って配列されている。このような太陽電池複合型表示体10によれば、表示面12が太陽電池パネル50のパネル面に対して傾斜しているため、傾斜した表示面12がその正面方向となる方向D21、D41〜D43から観察され易くなる。一方、表示面12を視認し易い方向D21、D41〜D43とは異なる別の方向から太陽電池複合型表示体10に入射する光束L23、L51〜L53は、隣り合う2つの表示面12の間を透過して太陽電池パネル50に導かれる。このように、観察者からの観察方向D21、D41〜D43と外光L23、L51〜L53の入射方向との相違を利用して、周囲の環境との調和を図ると共に、表示面12による表示及び太陽電池パネル50による発電の両立が効果的に可能となる。その上、太陽電池パネル50がシート部材20の第2面20bに対向して配置されているため、太陽電池パネル50の受光面50aが外部に露出していない。このため、太陽電池パネル50をさらに目立たなくさせることができる。
また、本実施の形態によれば、シート部材20の第2面20bは、一軸方向d1に交互に配列された複数の向き調整面21及び複数の光透過面22と、を含み、向き調整面21は、太陽電池パネル50のパネル面に対して傾斜し、光透過面22は、太陽電池パネル50のパネル面に対して向き調整面21とは異なる角度で傾斜し、向き調整面21に表示面12が配置されている。このような形態によれば、向き調整面21及び光透過面22が太陽電池パネル50のパネル面に対して傾斜しているため、傾斜した向き調整面21及び光透過面22が、各々の正面方向から入射する光を有効に利用し易くなる。とりわけ、光透過面22は、向き調整面21と異なる角度で太陽電池パネル50のパネル面に対して傾斜している。このため、向き調整面21に配置された表示面12は、光透過面22に取り込まれ易い光L22、L51〜L53の傾斜する方向とは異なる方向D21、D41〜D43から太陽電池複合型表示体10を観察したときに視認され易くなり、光透過面22は、向き調整面21を視認し易い方向D21、D41〜D43とは異なる方向から太陽電池複合型表示体10に入射する光L22、L51〜L53を有効に取り込む。この結果、表示面12による表示及び太陽電池パネル50による発電の両立が効果的に可能となる。
ところで、向き調整面21に配置された表示面12にて形成される表示対象13を観察している際に、表示対象13とともに光透過面22を介して太陽電池パネル50が観察されると、表示対象13の視認性や意匠性を著しく害することになる。したがって、表示面12が観察され得る第1角度範囲AR1は、太陽電池パネル50が観察されるようになる第2角度範囲AR2と区分けされていること、すなわち重なり合っていないことが好ましい。
そこで、本実施の形態の太陽電池複合型表示体10では、図2に示す主切断面において、向き調整面21は、シート部材20の法線方向ndに対して光透過面22とは逆側に傾斜している。このような形態によれば、向き調整面21に配置された表示面12は、光透過面22に取り込まれ易い光L22、L51〜L53の傾斜する方向とは逆の方向D21、D41〜D43から太陽電池複合型表示体10を観察したときに選択的に観察され易くすることができ、光透過面22は、向き調整面21を視認し易い方向D21、D41〜D43とは逆の方向から太陽電池複合型表示体10に入射する光L22、L51〜L53を選択的に取り込むことができる。具体的には、向き調整面21は、一端部21aが他端部21bよりもシート部材20の法線方向ndにおいて太陽電池パネル50から離間するように、シート部材20のシート面に対して傾斜し、光透過面22は、他端部22bが一端部22aよりもシート部材20の法線方向ndにおいて太陽電池パネル50から離間するように、シート部材20のシート面に対して傾斜している。この場合、シート部材20の法線方向ndに対して第1軸方向d1における他側に傾斜した方向D21、D41〜D43から太陽電池複合型表示体10を観察したときに、光透過面22よりも向き調整面21に配置された表示面12を選択的に観察し易くすることができる。また、シート部材20の法線方向ndに対して第1軸方向d1における一側に傾斜した方向から太陽電池複合型表示体10へ入射する光L22、L51〜L53を、向き調整面21よりも光透過面22に選択に導くことができる。
つまり、このような形態によれば、向き調整面21に配置された表示面12を観察し得る視野角となる第1角度範囲AR1が、シート部材20の法線方向ndに対して第1軸方向d1における他側に傾斜した方向に対応し、光透過面22を介して太陽電池パネル50に導かれるようになる太陽電池複合型表示体10への入射方向の角度範囲である第2角度範囲AR2が、シート部材20の法線方向ndに対して第1軸方向d1における一側に傾斜した方向に対応する。言い換えると、一軸方向d1において他側に傾斜した方向から太陽電池複合型表示体10を観察したときに表示面12が観察され、一軸方向d1において一側に傾斜した方向から太陽電池複合型表示体10に入射した光が、隣り合う2つの表示面12の間を通過して太陽電池パネル50に到達する。この場合、第1角度範囲AR1と第2角度範囲AR2とが、区分けされやすくなる。言い換えると、第1角度範囲AR1と第2角度範囲AR2とが、重なり合いにくくなる。
このように第1角度範囲AR1と第2角度範囲AR2との重なり合いが少なくなれば、表示面12による表示機能及び太陽電池パネル50での発電機能が、互いに悪影響を及ぼすことなく、より有効に発揮されるようになる。本実施の形態においては、表示面12に付与された表示対象13を観察している際に、表示対象13とともに光透過面22を介して太陽電池パネル50が観察されることを抑制することが可能となる。この場合、表示対象13の視認性や表示対象13の意匠性を改善することができる。
とりわけ、本実施の形態による太陽電池複合型表示体10では、表示面12を観察し得る視野角となる第1角度範囲AR1を鉛直方向における下側に傾斜した方向に設定し、太陽電池パネル50に導かれるようになる太陽電池複合型表示体10への入射方向の角度範囲である第2角度範囲AR2を鉛直方向における上側に傾斜した方向に設定している。この場合、典型的な利用として想定される表示板としての用途において太陽電池複合型表示体10を目線よりも高い位置に設置する場合に有効である。観察者は、鉛直方向における上側に見上げながら太陽電池複合型表示体10を観察するため、第1角度範囲AR1から表示面12に付与された表示対象13を観察することができる。一方、太陽光は、時間帯や季節に応じて入射方向が変化するが、鉛直方向における下側に傾斜した方向、あるいは、略水平方向に進みながら太陽電池複合型表示体10に入射する。このため、太陽光は、時間帯や季節に応じて入射方向が変化しても、第2角度範囲AR2から光透過面22に入射して太陽電池パネル50に向かうことができる。したがって、このような形態によれば、太陽電池パネル50による太陽光の受光及び表示面12による表示を効果的に両立させることができる。
また、本実施の形態によれば、太陽電池複合型表示体10の主切断面において、向き調整面21と、第1軸方向d1における他側で当該向き調整面21と隣り合う光透過面22と、の第1軸方向d1に沿った間隔dtは、シート部材20の法線方向ndにおいて太陽電池パネル50に接近していくにつれて、狭くなっていく。このような形態によれば、向き調整面21に配置された表示面12が、光透過面22へ入射すべき光を遮ってしまうこと、あるいは、光透過面22が、向き調整面21に配置された表示面12の観察を遮ってしまうこと、を効果的に抑制することができる。このため、表示面12が、第1角度範囲AR1内の方向から太陽電池複合型表示体10を観察したときに、より確実に表示機能を発揮することができる。また、光透過面22が、第2角度範囲AR2から太陽電池複合型表示体10へ入射する光をより確実に太陽電池パネル50へ導くことができる。
ところで、下記の表1は、世界の幾つかの国の主要な都市における季節ごとの南中高度(°)を示している。使用が想定される国の主要な都市における春分秋分の南中高度が第2角度範囲AR2に含まれることが好ましい。その国で有効に使用できる可能性が高いからである。例えば、使用されることが想定される国が日本の場合は54°から56°までの高度が第2角度範囲AR2に含まれるようにすればよい。さらに、49°から61°までの高度が第2角度範囲AR2に含まれるようにすれば、世界の多くの国で有効に使用できる可能性が高いため、好ましい。また、使用が想定される国の主要な都市における夏至の南中高度から冬至の南中高度までが第2角度範囲AR2に含まれることがさらに好ましい。その国で一年を通して有効に使用できる可能性が高いからである。例えば、使用されることが想定される国が日本の場合は31°から79°までの高度が第2角度範囲AR2に含まれるようにすればよい。さらに、25°から84°までの高度が第2角度範囲AR2に含まれるようにすれば、世界の多くの国で有効に使用できる可能性が高いため、好ましい。なお、所望の高度が第2角度範囲AR2に含まれることを容易にするために、第2角度範囲AR2の角度範囲が45°程度以上連続していることが好ましい。もっとも、太陽電池複合型表示体10を傾けて配置することによって、所望の高度を第2角度範囲AR2に含まれるようにすることも可能である。一方、第2角度範囲AR2の角度範囲の上限については、第1角度範囲AR1とのバランスで適宜設定すればよいが、135°程度未満とすることによって、本実施の形態の太陽電池複合型表示体10の特長をより発揮させることができる。
Figure 2020031237
上述のように、太陽電池複合型表示体10は、観察方向と外光の入射方向との相違を利用して、表示面12による表示及び太陽電池パネル50による発電の両立を実現しているため、設置対象物に対して精度よく位置合わせすることが要求される。そこで、本実施の形態の太陽電池複合型表示体10は、シート部材20及び太陽電池パネル50を意図した姿勢で保持すべく、枠部材70を有している。なお、枠部材70は、少なくとも太陽電池パネル50を支持すればよく、シート部材20については直接支持してもよいし、太陽電池パネル50を介して間接的に支持してもよいし、シート部材20を支持せず他の部材にシート部材20を支持させてもよい。
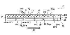
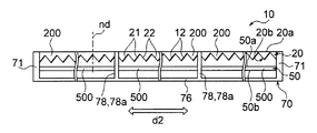
図9は、枠部材70がシート部材20及び太陽電池パネル50を保持したようすを示す断面図である。図9に示すように、枠部材70は、太陽電池パネル50の背面50bに対向して配置された背面板76と、背面板76からシート部材20の法線方向ndに沿って延び出し、シート部材20及び太陽電池パネル50の周りに位置する枠体71と、を有している。
背面板76は、太陽電池パネル50の背面50bから離間して配置され、背面板76と太陽電池パネル50の背面50bとの間となる空間に、太陽電池パネル50に接続された電気機器55が収容されている。電気機器55は、太陽電池パネル50にて発電された電気エネルギーを蓄えるバッテリーや太陽電池パネル50を監視する制御機器等にて構成される。
枠体71は、太陽電池パネル50の側面50cに対向すると共に当該太陽電池パネル50を保持する。さらに、枠体71は、シート部材20の側面20cに対向すると共に当該シート部材20をも保持している。なお、シート部材20の側面20cとは、第1面20aと第2面20bとの間を延びる面であり、図示する例では、第1軸方向d1に対向する一対の面と、第2軸方向d2に対向する一対の面と、によって構成されている。
各枠体71は、背面板76からシート部材20の法線方向ndに沿ってシート部材20側に向かって延び出している。換言すれば、枠体71は、太陽電池パネル50を基準としてシート部材20の反対側となる領域からシート部材20の法線方向ndに沿ってシート部材20側に向かって延び出している。そして、この延び出した先端に、シート部材20の法線方向ndを向く先端面74を形成している。
さらに、図9に示す枠体71は、太陽電池パネル50の受光面50aよりもシート部材20側に延び出し、その上、シート部材20の第1面20aをも越えて、当該第1面20aからシート部材20の法線方向ndに突き出ている。ゆえに、枠体71の先端面74は、シート部材20の第1面20aを基準として、太陽電池パネル50の反対側に位置している。このように、枠体71をシート部材20の第1面20aを越えて突き出せることにより、シート部材20及び太陽電池パネル50を障害物との衝突から保護することができる。
ただし、この突き出た部分は、シート部材20に入射する太陽光L91を遮る要因ともなり得る。そこで、本実施の形態では、枠体71のうちの太陽電池パネル50の受光面50aよりもシート部材20側に延び出した領域71aの少なくとも一部に、光透過性をもたせている。このような形態によれば、受光面50aよりも延び出た領域71aがシート部材20に入射する光L91を遮るおそれを低減することが可能となる。図9に示す例では、受光面50aよりも延び出た領域71aの全域が、光透過性をもつ透明な材料にて構成されている。このような材料の一例として、ガラスや透明な樹脂材料が挙げられる。
とりわけ、図9に示す枠体71は、第1軸方向d1に対向して配置された第1フレーム72及び第2フレーム73を含んでいる。第1フレーム72は、第1軸方向d1における一側に位置し、一側からシート部材20の側面20c及び太陽電池パネル50の側面50cに対向する。第2フレーム73は、第1軸方向d1における他側に位置し、他側からシート部材20の側面20c及び太陽電池パネル50の側面50cに対向する。ただし、枠体71の構成は、このような例に限定されない。枠体71は、第1フレーム72及び第2フレーム73に加えて、第2軸方向d2に対向して配置された一対のフレームをさらに含んでもよいし、第1フレーム72及び第2フレーム73に換えて、第2軸方向d2に対向する一対のフレームを含んでもよい。
図9に示す例では、第1フレーム72及び第2フレーム73に複数の溝81が形成されていて、シート部材20及び太陽電池パネル50が各々に対応する溝81に嵌め込まれている。溝81を利用することで、シート部材20及び太陽電池パネル50を枠部材70に取り外し可能に装着することができる。
また、枠体71は、太陽電池パネル50及びシート部材20を間隔を空けて保持し、これらの間に上述の空気層30を介在させている。さらに、枠体71のうちの太陽電池パネル50の受光面50aよりもシート部材20側に延び出した領域71aの全域が、光透過性をもつため、当然に、枠体71のうちの、シート部材20の法線方向ndにおいて太陽電池パネル50とシート部材20との間となる領域71bも、光透過性をもっている。このため、この間の領域71bからも太陽電池パネル50に向かう光L92を取り込むことができる。
以上のように、本実施の形態によれば、少なくとも太陽電池パネル50を保持する枠部材70をさらに備える。枠部材70を備えることにより、太陽電池パネル50を設置対象に安定して設置することに寄与する。
また、本実施の形態によれば、太陽電池パネル50は、シート部材20の第2面20bに対向する受光面50aと、受光面50aに対向する背面50bと、受光面50aと背面50bとの間を延びる側面50cと、を有し、枠部材70は、太陽電池パネル50の側面50cに対向すると共に当該太陽電池パネル50を保持する枠体71を有し、枠体71は、太陽電池パネル50を基準としてシート部材20の反対側となる領域からシート部材20の法線方向ndに沿ってシート部材20側に向かって延びている。このような形態によれば、太陽電池パネル50を側面50cにて保持することができるため、受光面50aを枠部材70によって遮るおそれを低減することができる。結果として、太陽電池パネル50による発電を効果的に行うことができる点で優れる。
また、本実施の形態によれば、枠体71は、太陽電池パネル50の受光面50aよりもシート部材20側に突き出ている。枠体71を受光面50aを越えて突き出させることにより、太陽電池パネル50を障害物との衝突から保護することができる。その上、枠体71は、シート部材20の第2面20b側から第1面20aを越えて延び出し、当該第1面20aからシート部材20の法線方向ndに突き出ている。枠体71をシート部材20の第1面20aを越えて突き出させることにより、太陽電池パネル50に加えてシート部材20をも障害物との衝突から保護することができる。
また、本実施の形態によれば、枠体71は、太陽電池パネル50及びシート部材20を間隔を空けて保持している。この場合、太陽電池パネル50の受光面50aとシート部材20の第2面20bとの接触によるキズや摩耗を回避することができる。その上、枠体71のうちの、シート部材20の法線方向ndにおいて太陽電池パネル50とシート部材50との間となる領域71bが、光透過性をもつ。このため、太陽電池パネル50とシート部材50との間となる領域71bから、シート部材20を介さずとも太陽電池パネル50に向かう一部の光L92を取り込むことができる。
また、本実施の形態によれば、枠体71のうちの太陽電池パネル50の受光面50aよりもシート部材20側に延び出した領域71aの少なくとも一部が、光透過性をもつ。このような形態によれば、受光面50aよりも延び出た領域71aがシート部材20に入射する光L91を遮るおそれを低減することが可能となる。
≪枠部材70の変形例≫
なお、上述した形態に対して様々な変更を加えることが可能である。以下、図面を参照しながら、変形の一例について説明する。以下の説明および以下の説明で用いる図面では、上述した実施の形態と同様に構成され得る部分について、上述の実施の形態における対応する部分に対して用いた符号と同一の符号を用いることとし、重複する説明を省略する。
上述した実施の形態では、図2に示すように、枠体71のうちの太陽電池パネル50よりもシート部材20側に延び出した領域71aの全域が光透過性をもつ例を示したが、枠体71の構成は、上述した構成に限定されない。図10及び図11に、枠体71の他の構成例をそれぞれ示す。図10に示す例では、枠体71のうちの太陽電池パネル50の受光面50aよりもシート部材20側に延び出した領域71aが、太陽電池パネル50の側面50cと対向する面に、反射処理面75を有している。図10に示す例では、第1フレーム72に設けられた反射処理面75は、第1軸方向d1における一側からシート部材20の側面20cに対向し、第2フレーム73に設けられた反射処理面75は、第1軸方向d1における他側からシート部材20の側面20cに対向している。
一例として、かかる反射処理面75は、高い反射率を有した材料、例えばアルミニウムのような金属からなる薄膜によって形成される。また、太陽電池パネル50の受光面50aの広い範囲に反射処理面75にて反射した光を導くためには、反射処理面75は、光拡散機能をもつのがよい。このような反射処理面75の一例として、白色インキからなる層が挙げられる。
反射処理面75によれば、枠体71のうちの太陽電池パネル50の受光面50aよりもシート部材20側に延び出した領域71aに入射した光L101、L102を、シート部材20または太陽電池パネル50に向かわせることができるため、光の利用効率を向上させることができる。
また、図10に示す例では、シート部材20が太陽電池パネル50に低屈折率樹脂層35を介して接合されている。低屈折率樹脂層35は、シート部材20をなす材料よりも屈折率の低い材料から構成され、一例として、透明な熱可塑性樹脂が挙げられる。
一方、図11に示す例では、枠体71のうちの、シート部材20の法線方向ndにおいて太陽電池パネル50とシート部材50との間となる領域71bが、光を透過させる材料にて構成される一方で、枠体71のうちの、シート部材20の側面20cと重なる領域71cが、光を透過させない材料にて構成されている。具体的には、前者の領域71bがガラスや透明な樹脂材料にて構成され、後者の領域71cが木枠や黒色に着色された樹脂材料にて構成されている。
図11に示す形態であっても、枠体71は、太陽電池パネル50及びシート部材20を間隔を空けて保持している。この場合、太陽電池パネル50の受光面50aとシート部材20の第2面20bとの接触によるキズや摩耗を回避することができる。その上、枠体71のうちの、シート部材20の法線方向ndにおいて太陽電池パネル50とシート部材50との間となる領域71bが、光透過性をもつ。このため、太陽電池パネル50とシート部材50との間となる領域71bから、シート部材20を介さずとも太陽電池パネル50に向かう一部の光L92を取り込むことができる。
また、図11に示す例では、枠体71の先端面74は、シート部材20の第1面20aと、シート部材20の法線方向ndに沿った位置が一致している。すなわち、枠体71の先端面74は、シート部材20の第1面20aとの間に段差を形成せず、滑らかに繋がって平坦面を形成している。このような形態によれば、枠体71によって太陽電池パネル50を保持した上で、枠体71によってシート部材20に入射すべき光L121を遮るおそれを低減することができる。
また、上述した実施の形態では、図2に示すように、枠体71が太陽電池パネル50の受光面50aよりもシート部材20側に延び出した例を示したが、枠体71の構成は、上述した構成に限定されない。図12及び図13に、枠体71の他の構成例をそれぞれ示す。このうち、図12に示す例では、枠体71の先端面74は、シート部材20の法線方向ndにおいて太陽電池パネル50の受光面50aと背面50bとの間となる位置に位置している。
図12に示す例では、枠体71は、太陽電池パネル50の側面50cを保持している。また、シート部材20が太陽電池パネル50に低屈折率樹脂層35を介して接合されている。低屈折率樹脂層35は、シート部材20をなす材料よりも屈折率の低い材料から構成され、一例として、透明な熱可塑性樹脂が挙げられる。
図12に示す形態によれば、枠体71によって太陽電池パネル50を保持した上で、枠体71によってシート部材20に入射すべき光L121を遮るおそれを低減することができる。また、太陽電池パネル50とシート部材50との間となる低屈折率樹脂層35から、シート部材20を介さずとも太陽電池パネル50に向かう一部の光L122を取り込むことができる。
一方、図13に示す例では、枠体71の先端面74が、太陽電池パネル50の受光面50aとシート部材20の法線方向ndに沿った位置が一致している。すなわち、枠体71の先端面74は、太陽電池パネル50の受光面50aと滑らかに繋がって平坦面を形成し、受光面50aとの間に段差を形成していない。このような形態によれば、枠体71によって太陽電池パネル50を保持した上で、枠体71によってシート部材20に入射すべき光L131を遮るおそれを低減することができる。また、太陽電池パネル50とシート部材50との間となる低屈折率樹脂層35から、シート部材20を介さずとも太陽電池パネル50に向かう一部の光L132を取り込むことができる。
また、図13に示す例では、シート部材20が、枠体71の先端面74を覆っている。この場合、複数の表示面12が配列されたシート部材20によって、枠体71の先端面74を隠すことができるため、見映えを良くすることができる。
また、上述した実施の形態では、図9に示すように、シート部材20と太陽電池パネル50とを互いに平行となるように枠体71に保持させた例を示したが、枠体71の構成は、上述した構成に限定されない。図14及び図15に、枠体71の他の構成例をそれぞれ示す。このうち、図14に示す例では、枠体71は、シート部材20を取り外し可能に保持すると共に、太陽電池パネル50を向きを調整可能に保持している。
枠体71を構成する第1フレーム72及び第2フレーム73に、複数の溝81が形成されている。各フレーム72、73に形成された複数の溝81は、シート部材20の法線方向ndに沿って並べられている。各溝81は、太陽電池パネル50を意図された向きにて保持するよう、当該向きの太陽電池パネル50の形状に合わせて加工されている。
このような形態によれば、第1フレーム72の溝81と第2フレーム73の溝81とを適宜選択することによって、太陽電池パネル50とシート部材20との相対的な傾きが変更可能となる。具体的には、図14に二点鎖線で示すように、第1フレーム72の最も背面板76から離れた溝81と、第2フレーム73の最も背面板76から離れた溝81とを選択することによって、太陽電池パネル50とシート部材20とを平行に保持することができる。また、図14に実線で示すように、第1フレーム72の最も背面板76に接近した溝81と、第2フレーム73の中央の溝81とを選択することによって、図14に示す主切断面において太陽電池パネル50のパネル面をシート部材20のシート面に対して傾けることができる。
一方、図15に示す例では、太陽電池パネル50と背面板76との間に一対の調整支持具82が設けられている。一対の調整支持具82は、第1軸方向d1に間隔を空けて配置されていて、各調整支持具82が設けられた位置における太陽電池パネル50と背面板76との間の間隔を調節するようになっている。とりわけ、図15に示す各調整支持具82は、シート部材20の法線方向ndに沿った自身の長さを調整することができるようになっている。各調整支持具82が自身の長さを変化させることにより、太陽電池パネル50と背面板76との間の間隔を調整することが可能となる。ただし、太陽電池パネル50と背面板76との間の間隔の調整は、このような例に限定されない。他の例として、長さが異なる複数の調整支持具82を準備して目的に応じて所望の長さの調整支持具82を選択することにより、太陽電池パネル50と背面板76との間の間隔を調整してもよい。
図14及び図15に示す形態によれば、太陽電池パネル50とシート部材20との相対的な傾きが変更可能となるように、太陽電池パネル50が枠部材70に支持されている。この場合、太陽電池複合型表示体10が向く方角に合わせて太陽電池パネル50の傾きを調整することにより、太陽光を効率よく取り込むことが可能となる。
また、上述した実施の形態では、図2に示すように、枠部材70がシート部材20及び太陽電池パネル50の周りに位置する枠体71にて構成された例を示したが、枠部材70の構成は、上述した構成に限定されない。図16乃至図20に、枠部材70の他の構成例を示す。
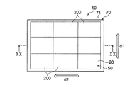
このうち、図16及び図17に示す例では、シート部材20及び太陽電池パネル50の周りを枠体71が取り囲み、枠体71内で太陽電池パネル50がタイリングされている。すなわち、太陽電池パネル50が複数のパネル部品500を並べて組み付けることにより構成されている。図16に示す例では、複数のパネル部品500は、第1軸方向d1及び第2軸方向d2の両方に平行な面内にて、正方配列されている。より詳細には、第1軸方向d1に並んだ3つのパネル部品500からなる列が、第2軸方向d2に3行並べられ、合計で9つのパネル部品500が設けられている。
隣り合う2つのパネル部品500の間を内枠78が通り抜けている。図16に示す例では、第2軸方向d2に隣り合う2つのパネル部品500の間を内縦枠78aが通り抜け、第1軸方向d1に隣り合う2つのパネル部品500の間を内横枠78bが通り抜けている。内縦枠78aは、パネル部品500の配列に対応して2本設けられ、各々が第1軸方向d1に長手軸をもつ。内横枠78bも、パネル部品500の配列に対応して2本設けられ、各々が第2軸方向d2に長手軸をもつ。
各内縦枠78a及び各内横枠78bは、自身の両側に位置するパネル部品500を取り外し可能に支持している。図16に示す各内縦枠78a及び各内横枠78bは、その両端部にて枠体71に接続されている。さらに、図17から理解されるように、各内縦枠78a及び各内横枠78bは、背面板76に接続され、当該背面板76からシート部材20の法線方向ndに延び出している。
図17に示す例では、シート部材20は、一体に構成されている。シート部材20は、各パネル部品500及び内枠78のうちのシート部材20の法線方向ndに沿った方向を向く先端面79を覆っている。
以上のように、図16及び図17に示す形態によれば、太陽電池パネル50が、複数のパネル部品500を並べることにより構成され、枠部材70は、隣り合う2つのパネル部品500の間を通る内枠78を有している。この場合、太陽電池パネル50の一部が故障したとしても、その故障したパネル部品500を取り替えることで復旧させることができるため、メンテナンス性に優れる。
また、図16及び図17に示す形態によれば、内枠78は、シート部材20の法線方向ndに沿った方向を向く先端面79を有し、シート部材20は、内枠78の先端面79を覆っている。この場合、複数の表示面12が配列されたシート部材20によって、内枠78の先端面79を隠すことができるため、見映えを良くすることができる。
また、図16及び図17に示す形態によれば、内枠78の幅W2は、枠体71の幅W1よりも狭い。これにより、枠部材70に必要な剛性を確保しつつ、枠部材70を軽量に構成することができる。
図18は、太陽電池パネル50に加えてシート部材20もタイリングされた例を示す断面図である。図18に示す例では、シート部材20及び太陽電池パネル50の周りを枠体71が取り囲み、枠体71内で太陽電池パネル50及びシート部材20がタイリングされている。太陽電池パネル50のタイリングは図17に示す例と同様である。
シート部材20は、複数のシート部品200を並べて組み付けることにより構成されている。図18に示す例では、複数のシート部品200は、第1軸方向d1及び第2軸方向d2の両方に平行な面内にて、正方配列されている。より詳細には、第1軸方向d1に並んだ3つのシート部品200からなる列が、第2軸方向d2に3行並べられ、合計で9つのシート部品200が設けられている。各シート部品200は、1つのパネル部品500に対応している。より詳細には、各シート部品200は、シート部材20の法線方向ndからみたときに、1つのパネル部品500と重なり合っている。
隣り合う2つのシート部品200の間をも内枠78が通り抜けている。すなわち、各内縦枠78a及び各内横枠78bは、隣り合う2つのパネル部品500並びにこれらの上に積み重ねられた隣り合う2つのシート部品200の間を通り抜けている。各内縦枠78a及び各内横枠78bは、自身の両側に位置するパネル部品500及びシート部品200を取り外し可能に支持している。
以上のように、図18に示す形態によれば、シート部材20は、複数のシート部品200を並べることにより構成され、各シート部品200は、対応するパネル部品500を覆っている。この場合、シート部品200とパネル部品500とを組み合わせて取り扱うことができるため、取り扱い性に優れる。
さらに、図19及び図20は、シート部材20がタイリングされた例を示す図である。図19及び図20に示す例では、シート部材20及び太陽電池パネル50の周りを枠体71が取り囲み、枠体71内でシート部材20がタイリングされている。すなわち、シート部材20が複数のシート部品200を並べて組み付けることにより構成されている。図19に示す例では、複数のシート部品200は、第1軸方向d1及び第2軸方向d2の両方に平行な面内にて、正方配列されている。より詳細には、第1軸方向d1に並んだ3つのシート部品200からなる列が、第2軸方向d2に3行並べられ、合計で9つのシート部品200が設けられている。
各シート部品200は、太陽電池パネル50に貼り付けられている。図19及び図20に示す太陽電池パネル50は、一体に構成された大型のパネルからなる。
以上のように、図19及び図20に示す形態によれば、シート部材20は、複数のシート部品200を並べることにより構成されている。この場合、シート部材20の一部が破損した場合であっても、その破損したシート部品200を取り替えることで復元させることができるため、メンテナンス性に優れる。
≪シート部材20の変形例≫
また、上述した実施の形態では、図2に示すように、複数の表示面12がシート部材20の第2面20b上の向き調整面21に配置された例を示したが、シート部材20の構成及び表示面12の配置は、上述した構成に限定されない。図21乃至図27に、シート部材20の他の構成及び表示面12の他の配置例を示す。
このうち、図21に示す太陽電池複合型表示体10は、シート状のシート部材20と、シート部材20の第2面20bに接合された太陽電池パネル50と、を有する。シート部材20の第1面20aは、第1軸方向d1に交互に配列された複数の向き調整面21及び複数の光透過面22と、を含んでいる。向き調整面21には、表示対象13を表示するための表示面12が配置されている。
各向き調整面21及び各光透過面12は、その配列方向である第1軸方向d1に対して交差する方向、より詳細には、第1軸方向d1及び法線方向ndの両方と直交する第2軸方向d2に、直線状に延びている。各向き調整面21及び各光透過面12は、シート部材120のシート面、言い換えると、太陽電池パネル50のパネル面に対して互いに異なる角度で傾斜し、シート部材120の法線方向ndに対しても互いに異なる角度で傾斜している。
次に、図21に示す太陽電池複合型表示体10の作用について説明する。
図21によく示されているように、傾斜した向き調整面21に配置された表示面12は、当該表示面12の正面方向から視認され易い。図21に示す例では、表示面12がシート部材20の法線方向ndに対して第1軸方向d1における一側に傾斜しているため、当該法線方向ndに対して第1軸方向d1における他側に傾斜した方向D211から太陽電池複合型表示体100を観察したときに表示面12を視認し易くなる。
一方、向き調整面21とは異なる角度で傾斜した光透過面22は、向き調整面21を視認し易い方向D211とは異なる方向から入射する光L212を効率的に取り込むことが可能となる。図21に示す例では、光透過面22がシート部材20の法線方向ndに対して第1軸方向d1における他側に傾斜しているため、当該法線方向ndに対して第1軸方向d1における一側に傾斜した方向から太陽電池複合型表示体10に入射する光L212を効率的に取り込むことが可能となる。光透過面22に取り込まれた光L212は、シート部材20内を進行して太陽電池パネル50に導かれる。
以上のように、図21に示す形態によれば、第1面20a及び第1面20aに対向する第2面20bを有するシート部材20と、シート部材20の第2面20bに対向して配置された太陽電池パネル50と、を備え、シート部材20には、各々が太陽電池パネル50のパネル面に対して傾斜した複数の表示面12が一軸方向d1に沿って配列されている。このような太陽電池複合型表示体10によれば、表示面12が太陽電池パネル50のパネル面に対して傾斜しているため、傾斜した表示面12がその正面方向となる方向D211から観察され易くなる。一方、表示面12を視認し易い方向D211とは異なる別の方向から太陽電池複合型表示体10に入射する光束L212は、隣り合う2つの表示面12の間を透過して太陽電池パネル50に導かれる。このように、観察者からの観察方向D211と外光L212の入射方向との相違を利用して、周囲の環境との調和を図ると共に、表示面12による表示及び太陽電池パネル50による発電の両立が効果的に可能となる。その上、太陽電池パネル50がシート部材20の第2面20bに対向して配置されているため、太陽電池パネル50の受光面50aが外部に露出していない。このため、太陽電池パネル50をさらに目立たなくさせることができる。
また、本実施の形態によれば、シート部材20の第1面20aは、一軸方向d1に交互に配列された複数の向き調整面21及び複数の光透過面22と、を含み、向き調整面21は、太陽電池パネル50のパネル面に対して傾斜し、光透過面22は、太陽電池パネル50のパネル面に対して向き調整面21とは異なる角度で傾斜し、向き調整面21に表示面12が配置されている。このような形態によれば、向き調整面21及び光透過面22が太陽電池パネル50のパネル面に対して傾斜しているため、傾斜した向き調整面21及び光透過面22が、各々の正面方向から入射する光を有効に利用し易くなる。とりわけ、光透過面22は、向き調整面21と異なる角度で太陽電池パネル50のパネル面に対して傾斜している。このため、向き調整面21に配置された表示面12は、光透過面22に取り込まれ易い光L212の傾斜する方向とは異なる方向D211から太陽電池複合型表示体10を観察したときに視認され易くなり、光透過面22は、向き調整面21を視認し易い方向D211とは異なる方向から太陽電池複合型表示体10に入射する光L212を有効に取り込む。この結果、表示面12による表示及び太陽電池パネル50による発電の両立が効果的に可能となる。
次に、図22を参照して太陽電池複合型表示体10の別の変形例について説明する。図22に示す例では、シート部材20の第2面20bは、第1軸方向d1に沿って配列された複数のレンズ面31を含み、各表示面12は、各々に対応するレンズ面31の一部に沿って配置されている。各レンズ面31及び表示面12は、第1軸方向d1に交差する方向、より詳細には第1軸方向d1に直交する第2軸方向d2に沿って延びている。
ここで、レンズ面31の両端部のうち、第1軸方向d1において一側(図22における上側であって、鉛直方向における上側)に位置する端部を一端部31aと呼び、第1軸方向d1において他側(図22における下側であって、鉛直方向における下側)に位置する端部を他端部31bと呼び、一端部31a及び他端部31bからシート部材20の法線方向ndに沿って最も離れた地点を頂部31cと呼ぶこととする。本実施の形態の頂部31cは、レンズ面31のうちの太陽電池パネル50から最も離間した地点となる。そして、この頂部31cをレンズ面31の光軸odが通過している。
図22に示す各表示面12は、対応するレンズ面31のうちの、一端部31aと頂部31cとの間となる領域の一部または全部を覆い、他端部31bと頂部31cとの間となる領域を覆っていない。このため、表示面12は、第1軸方向d1において一側に位置する一端部12aが、第1軸方向d1において他側に位置する他端部12bよりも、シート部材20の法線方向ndにおいて太陽電池パネル50から離間するように、シート部材20のシート面に対して傾斜している。
以上のように、図22に示す形態によれば、第1面20a及び第1面20aに対向する第2面20bを有するシート部材20と、シート部材20の第2面20bに対向して配置された太陽電池パネル50と、を備え、シート部材20には、各々が太陽電池パネル50のパネル面に対して傾斜した複数の表示面12が一軸方向d1に沿って配列されている。このような太陽電池複合型表示体10によれば、表示面12が太陽電池パネル50のパネル面に対して傾斜しているため、傾斜した表示面12がその正面方向となる方向D221から観察され易くなる。一方、表示面12を視認し易い方向D221とは異なる別の方向から太陽電池複合型表示体10に入射する光束L222は、隣り合う2つの表示面12の間を透過して太陽電池パネル50に導かれる。このように、観察者からの観察方向D221と外光L222の入射方向との相違を利用して、周囲の環境との調和を図ると共に、表示面12による表示及び太陽電池パネル50による発電の両立が効果的に可能となる。その上、太陽電池パネル50がシート部材20の第2面20bに対向して配置されているため、太陽電池パネル50の受光面50aが外部に露出していない。このため、太陽電池パネル50をさらに目立たなくさせることができる。
また、本実施の形態によれば、シート部材20の第2面20bは、一軸方向d1に沿って配列された複数のレンズ面31を含み、各表示面12は、各々に対応するレンズ面31の一部に沿って配置されている。この場合、各レンズ面31の一部に表示面12を配置することで実現することができるため、太陽電池複合型表示体10の製造が容易である。
なお、図22に示す太陽電池複合型表示体10では、レンズ面31が太陽電池パネル50側に向かって突出する凸レンズからなる例を示したが、レンズ面31の形態はこのような例に限定されない。図23に、レンズ面31が第1面20a側に向かって凹む凹レンズからなる例を示す。
図23に示す各表示面12は、対応するレンズ面31のうちの、他端部31bと頂部31cとの間となる領域の一部または全部を覆い、一端部31aと頂部31cとの間となる領域を覆っていない。このため、表示面12は、第1軸方向d1において一側に位置する一端部12aが、第1軸方向d1において他側に位置する他端部12bよりも、シート部材20の法線方向ndにおいて太陽電池パネル50から離間するように、シート部材20のシート面に対して傾斜している。このような形態であっても、上述の形態と同様な作用効果を奏することができる。
次に、図24を参照して太陽電池複合型表示体10の別の変形例について説明する。図24に示す例では、シート部材20の第1面20aが、第1軸方向d1に沿って配列された複数のレンズ面31を含み、各表示面12は、各々に対応するレンズ面31の一部に沿って配置されている。各レンズ面31及び表示面12は、第1軸方向d1に交差する方向、より詳細には第1軸方向d1に直交する第2軸方向d2に沿って延びている。
ここで、レンズ面31の両端部のうち、第1軸方向d1において一側(図24における上側であって、鉛直方向における上側)に位置する端部を一端部31aと呼び、第1軸方向d1において他側(図24における下側であって、鉛直方向における下側)に位置する端部を他端部31bと呼び、一端部31a及び他端部31bからシート部材20の法線方向ndに沿って最も離れた地点を頂部31cと呼ぶこととする。本実施の形態の頂部31cは、レンズ面31のうちの太陽電池パネル50から最も離間した地点となる。そして、この頂部31cをレンズ面31の光軸odが通過している。
図24に示す各表示面12は、対応するレンズ面31のうちの、他端部31bと頂部31cとの間となる領域の一部または全部を覆い、一端部31aと頂部31cとの間となる領域を覆っていない。このため、表示面12は、第1軸方向d1において一側に位置する一端部12aが、第1軸方向d1において他側に位置する他端部12bよりも、シート部材20の法線方向ndにおいて太陽電池パネル50から離間するように、シート部材20のシート面に対して傾斜している。
以上のように、図24に示す形態によれば、第1面20a及び第1面20aに対向する第2面20bを有するシート部材20と、シート部材20の第2面20bに対向して配置された太陽電池パネル50と、を備え、シート部材20には、各々が太陽電池パネル50のパネル面に対して傾斜した複数の表示面12が一軸方向d1に沿って配列されている。このような太陽電池複合型表示体10によれば、表示面12が太陽電池パネル50のパネル面に対して傾斜しているため、傾斜した表示面12がその正面方向となる方向D241から観察され易くなる。一方、表示面12を視認し易い方向D241とは異なる別の方向から太陽電池複合型表示体10に入射する光束L242は、隣り合う2つの表示面12の間を透過して太陽電池パネル50に導かれる。このように、観察者からの観察方向D241と外光L242の入射方向との相違を利用して、周囲の環境との調和を図ると共に、表示面12による表示及び太陽電池パネル50による発電の両立が効果的に可能となる。その上、太陽電池パネル50がシート部材20の第2面20bに対向して配置されているため、太陽電池パネル50の受光面50aが外部に露出していない。このため、太陽電池パネル50をさらに目立たなくさせることができる。
また、本実施の形態によれば、シート部材20の第1面20aは、一軸方向d1に沿って配列された複数のレンズ面31を含み、各表示面12は、各々に対応するレンズ面31の一部に沿って配置されている。この場合、各レンズ面31の一部に表示面12を配置することで実現することができるため、太陽電池複合型表示体10の製造が容易である。
なお、図24に示す太陽電池複合型表示体10では、レンズ面31が太陽電池パネル50とは反対側に向かって突出する凸レンズからなる例を示したが、レンズ面31の形態はこのような例に限定されない。図25に、レンズ面31が第2面20b側に向かって凹む凹レンズからなる例を示す。
図25に示す各表示面12は、対応するレンズ面31のうちの、一端部31aと頂部31cとの間となる領域の一部または全部を覆い、他端部31bと頂部31cとの間となる領域を覆っていない。このため、表示面12は、第1軸方向d1において一側に位置する一端部12aが、第1軸方向d1において他側に位置する他端部12bよりも、シート部材20の法線方向ndにおいて太陽電池パネル50から離間するように、シート部材20のシート面に対して傾斜している。このような形態であっても、上述の形態と同様な作用効果を奏することができる。
次に、図26を参照して太陽電池複合型表示体10のさらに別の変形例について説明する。図26に示す例では、シート部材20は、複数の表示面12が配列されたルーバーシートを構成している。図26に示すシート部材20の第1面20a及び第2面20bは、平坦な面になっており、シート部材20内に複数の表示面12が配列されている。複数の表示面12は、第1軸方向d1に沿って配列されており、第1軸方向d1に交差する方向、より詳細には直交する第2軸方向d2に延びている。シート部材20のうち、隣り合う2つの表示面12の間となる領域は、光透過領域25を規定する。
シート部材20の第1面20aに支持シート40が貼り合わせられている。支持シート40は、シート部材20を補強し当該シート部材20を支持するために設けられている。
次に、太陽電池複合型表示体10の作用について説明する。
図26によく示されているように、シート部材20のシート面に対して傾斜した表示面表示面12は、当該表示面12の正面方向から視認され易い。図26に示す例では、表示面12がシート部材20の法線方向ndに対して第1軸方向d1における一側に傾斜しているため、当該法線方向ndに対して第1軸方向d1における他側に傾斜した方向D261から太陽電池複合型表示体10を観察したときに表示面12を視認し易くなる。
一方、表示面12に対してなす角度がより小さい方向からシート部材20内を進行する光L262ほど、表示面12に受光され難い。このことから、傾斜した表示面12に遮られずに光透過領域25を有効に通過する光L262は、図26に示すように、表示面12を視認しやすい方向D261とは逆側に傾斜した光L262となる。つまり、第1軸方向d1において他側に進みながらシート部材20へ入射する光、図示する例では、鉛直方向における下方に進みながらシート部材20へ入射する光L262が、光透過領域25を通過して太陽電池パネル50に導かれ易くなる。
以上のように、図26に示す形態によれば、第1面20a及び第1面20aに対向する第2面20bを有するシート部材20と、シート部材20の第2面20bに対向して配置された太陽電池パネル50と、を備え、シート部材20には、各々が太陽電池パネル50のパネル面に対して傾斜した複数の表示面12が一軸方向d1に沿って配列されている。このような太陽電池複合型表示体10によれば、表示面12が太陽電池パネル50のパネル面に対して傾斜しているため、傾斜した表示面12がその正面方向となる方向D261から観察され易くなる。一方、表示面12を視認し易い方向D261とは異なる別の方向から太陽電池複合型表示体10に入射する光束L262は、隣り合う2つの表示面12の間を透過して太陽電池パネル50に導かれる。このように、観察者からの観察方向D261と外光L262の入射方向との相違を利用して、周囲の環境との調和を図ると共に、表示面12による表示及び太陽電池パネル50による発電の両立が効果的に可能となる。その上、太陽電池パネル50がシート部材20の第2面20bに対向して配置されているため、太陽電池パネル50の受光面50aが外部に露出していない。このため、太陽電池パネル50をさらに目立たなくさせることができる。
また、本実施の形態によれば、複数の表示面12は、シート部材20内部に配置されている。この場合、シート部材20をなす材料にて表示面12を保護することができる点で有利である。
次に、図27を参照して太陽電池複合型表示体10のさらに別の変形例について説明する。図27に示す例では、太陽電池複合型表示体10は、シート状のシート部材20と、シート部材20の第2面20bに対向して配置された太陽電池パネル50と、を有する。
シート部材20の第1面20aは、第1軸方向d1に配列された複数のレンズ面31を含んでいる。複数のレンズ面31は、その光軸odが互いに平行となるようにして、並べられている。とりわけ図示された例において、レンズ面31は、その光軸odが、太陽電池複合型表示体10の法線方向ndと平行となるよう配置されている。
レンズ面31は、いわゆるレンチキュラーレンズまたはシリンドリカルレンズを構成している。すなわち、各レンズ面31は、その配列方向である第1軸方向d1に対して交差する方向、より詳細には第1軸方向d1に直交する第2方向d2に、直線状に延びている。
複数の表示面12が、レンズ面31に対応して、シート部材20内で第1軸方向d1に沿って配列されている。図27に示すように、各表示面12は、対応するレンズ面31と法線方向ndに沿って少なくとも部分的に対面するようにして、配置されている。本実施の形態では、表示面12は、レンズ面31と同様に、配列方向である第1軸方向d1と交差する方向、より厳密には、第1軸方向d1と直交する第2方向d2に直線状に延びている。また、各表示面12は、太陽電池パネル50のパネル面及びシート部材20の法線方向ndに対して傾斜している。
次に、本実施の形態による太陽電池複合型表示体10の作用について説明する。
図27によく示されているように、傾斜した表示面12は、当該表示面12の正面方向から視認され易い。本実施の形態では、表示面12がシート部材20の法線方向ndに対して第1軸方向d1における一側に傾斜しているため、当該法線方向ndに対して第1軸方向d1における他側に傾斜した方向D271、D272から太陽電池複合型表示体10を観察したときに表示面12を視認し易くなる。とりわけ、法線方向ndに対して第1軸方向d1における他側に大きく傾斜した方向D272から太陽電池複合型表示体10を観察した場合であっても、レンズ面31の集光作用によって、入射したレンズ面31に対向する表示面12を観察することができるようになる。仮に、複数の表示面12がシート部材20の第2面20b上に、当該第2面20bに沿って並べられていた場合、図27に点線で示すように、観察するレンズ面31と隣り合うレンズ面31に対向する表示面12を観察してしまい、意図された表示機能が発現されなくおそれがある。すなわち、表示面12を太陽電池パネル50のパネル面に対して傾斜させることにより、表示面12が観察される視野角となる第1角度範囲AR1を、言い換えると、表示面12からの光の出射方向の角度範囲である第1角度範囲AR1を、高い自由度で調整することができる。
一方、表示面12に対してなす角度がより小さい方向からシート部材20内を進行する光束L273ほど、表示面12に受光され難い。このことから、傾斜した表示面12に遮られずに太陽電池パネル50に向かう光束L273は、図27に示すように、表示面12を有効に観察し得る方向D271、D272とは逆側に傾斜した光束L273となる。つまり、第1軸方向d1において他側に進みながらレンズ面31へ入射する光、図示する例では、鉛直方向における下方に進みながらレンズ面31へ入射する光束L273が、2つの表示面12の間となる領域60を通過して太陽電池パネル50に導かれ易くなる。
以上のように、図27に示す形態によれば、第1面20a及び第1面20aに対向する第2面20bを有するシート部材20と、シート部材20の第2面20bに対向して配置された太陽電池パネル50と、を備え、シート部材20には、各々が太陽電池パネル50のパネル面に対して傾斜した複数の表示面12が一軸方向d1に沿って配列されている。このような太陽電池複合型表示体10によれば、表示面12が太陽電池パネル50のパネル面に対して傾斜しているため、傾斜した表示面12がその正面方向となる方向D271、D272から観察され易くなる。一方、表示面12を視認し易い方向D271、D272とは異なる別の方向から太陽電池複合型表示体10に入射する光束L273は、隣り合う2つの表示面12の間を透過して太陽電池パネル50に導かれる。このように、観察者からの観察方向D271、D272と外光L273の入射方向との相違を利用して、周囲の環境との調和を図ると共に、表示面12による表示及び太陽電池パネル50による発電の両立が効果的に可能となる。その上、太陽電池パネル50がシート部材20の第2面20bに対向して配置されているため、太陽電池パネル50の受光面50aが外部に露出していない。このため、太陽電池パネル50をさらに目立たなくさせることができる。
また、本実施の形態によれば、複数の表示面12は、シート部材20内部に配置されている。この場合、シート部材20をなす材料にて表示面12を保護することができる点で有利である。
また、シート部材20の第1面20aは、一軸方向d1に配列された複数のレンズ面31を含み、レンズ面31は、或る方向D271、D272から向かってくる光を表示面12に導き、或る方向D271、D272とは異なる別の方向から入射した光L273を隣り合う2つの表示面12の間を透過させて太陽電池パネル50に導く。このような形態によれば、レンズ面31の集光作用によって、表示面12が観察される視野角となる第1角度範囲AR1及び太陽電池パネル50による発電が有効に行われる第2角度範囲AR2を、高い自由度で調整することが可能となる。
なお、図21乃至図27に示すシート部材20は、当然に図9乃至図20を参照して説明した枠部材70と組み合わせて用いられ得る。すなわち、図21乃至図27に示す太陽電池複合型表示体10は、少なくとも太陽電池パネル50を保持する上述の枠部材70をさらに備えることができる。枠部材70を備えることにより、太陽電池パネル50を設置対象に安定して設置することに寄与する。
また、図21乃至図27に示す太陽電池複合型表示体10によれば、太陽電池パネル50は、シート部材20の第2面20bに対向する受光面50aと、受光面50aに対向する背面50bと、受光面50aと背面50bとの間を延びる側面50cと、を有し、枠部材70は、太陽電池パネル50の側面50cに対向すると共に当該太陽電池パネル50を保持する枠体71を有し、枠体71は、太陽電池パネル50を基準としてシート部材20の反対側となる領域からシート部材20の法線方向ndに沿ってシート部材20側に向かって延びていてもよい。このような形態によれば、太陽電池パネル50を側面50cにて保持することができるため、受光面50aを枠部材70によって遮るおそれを低減することができる。結果として、太陽電池パネル50による発電を効果的に行うことができる点で優れる。
10 太陽電池複合型表示体
12 表示面
12a 一端部
12b 他端部
13 表示対象
20 シート部材
20a 第1面
20b 第2面
21 向き調整面
22 光透過面
200 シート部品200
31 レンズ面
50 太陽電池パネル
50a 受光面
50b 背面50b
50c 側面50c
500 パネル部品
70 枠部材
71 枠体
71a 領域
71b 領域
74 先端面
75 反射処理面
76 背面板
78 内枠
79 先端面

Claims (12)

  1. 第1面及び前記第1面に対向する第2面を有するシート部材と、
    前記シート部材の第2面に対向して配置された太陽電池パネルと、
    少なくとも前記太陽電池パネルを保持する枠部材と、
    を備え、
    前記シート部材には、各々が前記太陽電池パネルのパネル面に対して傾斜した複数の表示面が一軸方向に沿って配列され、
    前記太陽電池パネルは、前記シート部材の前記第2面に対向する受光面と、前記受光面に対向する背面と、前記受光面と前記背面との間を延びる側面と、を有し、
    前記枠部材は、前記太陽電池パネルの側面に対向すると共に当該太陽電池パネルを保持する枠体を有し、
    前記枠体は、前記太陽電池パネルを基準として前記シート部材の反対側となる領域から前記シート部材の法線方向に沿って前記シート部材側に向かって延び、
    前記枠体は、前記太陽電池パネルの前記受光面を越えて前記シート部材側に突き出ており、
    前記枠体は、前記シート部材の前記第2面側から前記第1面を越えて延び出し、当該第1面から前記シート部材の法線方向に突き出ている、太陽電池複合型表示体。
  2. 前記枠体のうちの前記太陽電池パネルの前記受光面よりも前記シート部材側に突き出た領域の少なくとも一部が、光透過性をもつ、請求項1に記載の太陽電池複合型表示体。
  3. 第1面及び前記第1面に対向する第2面を有するシート部材と、
    前記シート部材の第2面に対向して配置された太陽電池パネルと、
    少なくとも前記太陽電池パネルを保持する枠部材と、
    を備え、
    前記シート部材には、各々が前記太陽電池パネルのパネル面に対して傾斜した複数の表示面が一軸方向に沿って配列され、
    前記太陽電池パネルは、前記シート部材の前記第2面に対向する受光面と、前記受光面に対向する背面と、前記受光面と前記背面との間を延びる側面と、を有し、
    前記枠部材は、前記太陽電池パネルの側面に対向すると共に当該太陽電池パネルを保持する枠体を有し、
    前記枠体は、前記太陽電池パネルを基準として前記シート部材の反対側となる領域から前記シート部材の法線方向に沿って前記シート部材側に向かって延び、
    前記枠体は、前記太陽電池パネルの前記受光面を越えて前記シート部材側に突き出ており、
    前記枠体のうちの前記太陽電池パネルの前記受光面よりも前記シート部材側に突き出た領域の少なくとも一部が、光透過性をもつ、太陽電池複合型表示体。
  4. 前記枠体のうちの前記太陽電池パネルの前記受光面よりも前記シート部材側に突き出た領域が、前記太陽電池パネルの前記側面と対向する面に、反射処理面をもつ、請求項1又は2に記載の太陽電池複合型表示体。
  5. 第1面及び前記第1面に対向する第2面を有するシート部材と、
    前記シート部材の第2面に対向して配置された太陽電池パネルと、
    少なくとも前記太陽電池パネルを保持する枠部材と、
    を備え、
    前記シート部材には、各々が前記太陽電池パネルのパネル面に対して傾斜した複数の表示面が一軸方向に沿って配列され、
    前記太陽電池パネルは、前記シート部材の前記第2面に対向する受光面と、前記受光面に対向する背面と、前記受光面と前記背面との間を延びる側面と、を有し、
    前記枠部材は、前記太陽電池パネルの側面に対向すると共に当該太陽電池パネルを保持する枠体を有し、
    前記枠体は、前記太陽電池パネルを基準として前記シート部材の反対側となる領域から前記シート部材の法線方向に沿って前記シート部材側に向かって延び、
    前記枠体は、前記太陽電池パネルの前記受光面を越えて前記シート部材側に突き出ており、
    前記枠体のうちの前記太陽電池パネルの前記受光面よりも前記シート部材側に突き出た領域が、前記太陽電池パネルの前記側面と対向する面に、反射処理面をもつ、太陽電池複合型表示体。
  6. 前記枠体は、前記太陽電池パネル及び前記シート部材を間隔を空けて保持し、
    前記枠体のうちの、前記シート部材の法線方向において前記太陽電池パネルと前記シート部材との間となる領域が、光透過性をもつ、請求項1乃至5のいずれか一項に記載の太陽電池複合型表示体。
  7. 第1面及び前記第1面に対向する第2面を有するシート部材と、
    前記シート部材の第2面に対向して配置された太陽電池パネルと、
    少なくとも前記太陽電池パネルを保持する枠部材と、
    を備え、
    前記シート部材には、各々が前記太陽電池パネルのパネル面に対して傾斜した複数の表示面が一軸方向に沿って配列され、
    前記太陽電池パネルは、前記シート部材の前記第2面に対向する受光面と、前記受光面に対向する背面と、前記受光面と前記背面との間を延びる側面と、を有し、
    前記枠部材は、前記太陽電池パネルの側面に対向すると共に当該太陽電池パネルを保持する枠体を有し、
    前記枠体は、前記太陽電池パネルを基準として前記シート部材の反対側となる領域から前記シート部材の法線方向に沿って前記シート部材側に向かって延び、
    前記枠体は、前記太陽電池パネルの前記受光面を越えて前記シート部材側に突き出ており、
    前記枠体は、前記太陽電池パネル及び前記シート部材を間隔を空けて保持し、
    前記枠体のうちの、前記シート部材の法線方向において前記太陽電池パネルと前記シート部材との間となる領域が、光透過性をもつ、太陽電池複合型表示体。
  8. 第1面及び前記第1面に対向する第2面を有するシート部材と、
    前記シート部材の第2面に対向して配置された太陽電池パネルと、
    少なくとも前記太陽電池パネルを保持する枠部材と、
    を備え、
    前記シート部材には、各々が前記太陽電池パネルのパネル面に対して傾斜した複数の表示面が一軸方向に沿って配列され、
    前記太陽電池パネルは、前記シート部材の前記第2面に対向する受光面と、前記受光面に対向する背面と、前記受光面と前記背面との間を延びる側面と、を有し、
    前記枠部材は、前記太陽電池パネルの側面に対向すると共に当該太陽電池パネルを保持する枠体を有し、
    前記枠体は、前記太陽電池パネルを基準として前記シート部材の反対側となる領域から前記シート部材の法線方向に沿って前記シート部材側に向かって延び、
    前記枠体は、前記シート部材の法線方向に沿った方向を向く先端面を有し、
    前記枠体の前記先端面は、前記シート部材の法線方向において前記太陽電池パネルの前記受光面と前記背面との間となる位置に位置している、あるいは、前記太陽電池パネルの前記受光面と前記シート部材の法線方向に沿った位置が一致している、太陽電池複合型表示体。
  9. 前記シート部材は、前記枠体の前記先端面を覆っている、請求項8に記載の太陽電池複合型表示体。
  10. 前記太陽電池パネルと前記シート部材との相対的な傾きが変更可能となるように、前記太陽電池パネルが前記枠部材に支持されている、請求項1乃至9のいずれか一項に記載の太陽電池複合型表示体。
  11. 前記太陽電池パネルの前記一軸方向における端部を受け入れる溝が、前記シート部材の法線方向に並べられて前記枠体に複数設けられ、
    前記太陽電池パネルの前記端部を収容する溝を選択することで、前記太陽電池パネルと前記シート部材との相対的な傾きを変更することができる、請求項10に記載の太陽電池複合型表示体。
  12. 前記シート部材は、複数のシート部品を並べることにより構成されている、請求項1乃至11のいずれか一項に記載の太陽電池複合型表示体。
JP2019211729A 2019-11-22 2019-11-22 太陽電池複合型表示体 Active JP6863438B2 (ja)

Priority Applications (1)

Application Number Priority Date Filing Date Title
JP2019211729A JP6863438B2 (ja) 2019-11-22 2019-11-22 太陽電池複合型表示体

Applications Claiming Priority (1)

Application Number Priority Date Filing Date Title
JP2019211729A JP6863438B2 (ja) 2019-11-22 2019-11-22 太陽電池複合型表示体

Related Parent Applications (1)

Application Number Title Priority Date Filing Date
JP2015165955A Division JP6728597B2 (ja) 2015-08-25 2015-08-25 太陽電池複合型表示体

Publications (2)

Publication Number Publication Date
JP2020031237A true JP2020031237A (ja) 2020-02-27
JP6863438B2 JP6863438B2 (ja) 2021-04-21

Family

ID=69624359

Family Applications (1)

Application Number Title Priority Date Filing Date
JP2019211729A Active JP6863438B2 (ja) 2019-11-22 2019-11-22 太陽電池複合型表示体

Country Status (1)

Country Link
JP (1) JP6863438B2 (ja)

Cited By (2)

* Cited by examiner, † Cited by third party
Publication number Priority date Publication date Assignee Title
KR20220006361A (ko) * 2020-07-08 2022-01-17 한국전기연구원 테셀레이션 구조의 태양전지
KR102626878B1 (ko) * 2023-03-29 2024-01-17 심주현 디스플레이 기능을 구비하는 건물 일체형 태양광 발전 시스템

Citations (9)

* Cited by examiner, † Cited by third party
Publication number Priority date Publication date Assignee Title
JP2000323740A (ja) * 1999-05-11 2000-11-24 Hitachi Ltd 集光型太陽光発電装置
JP2005101519A (ja) * 2003-09-05 2005-04-14 Hitachi Chem Co Ltd 太陽電池ユニット及び太陽電池モジュール
JP2010073887A (ja) * 2008-09-18 2010-04-02 Sanyo Electric Co Ltd 太陽電池モジュール
US20110023282A1 (en) * 2009-07-31 2011-02-03 Palo Alto Research Center Incorporated Solar energy converter assembly incorporating display system and method of fabricating the same
JP3172292U (ja) * 2011-09-13 2011-12-15 エコフューチャー株式会社 ソーラー一体型表示パネルシステム、およびソーラー一体型表示パネル
JP2012018367A (ja) * 2010-07-07 2012-01-26 Hirofumi Matsumura 太陽電池を内蔵した電飾看板システム
JP3189696U (ja) * 2014-01-10 2014-03-27 エコフューチャー株式会社 ソーラーサインパネル装置
JP2014072479A (ja) * 2012-10-01 2014-04-21 Panasonic Corp 太陽電池パネル
JP2015069115A (ja) * 2013-09-30 2015-04-13 大日本印刷株式会社 情報表示装置

Patent Citations (9)

* Cited by examiner, † Cited by third party
Publication number Priority date Publication date Assignee Title
JP2000323740A (ja) * 1999-05-11 2000-11-24 Hitachi Ltd 集光型太陽光発電装置
JP2005101519A (ja) * 2003-09-05 2005-04-14 Hitachi Chem Co Ltd 太陽電池ユニット及び太陽電池モジュール
JP2010073887A (ja) * 2008-09-18 2010-04-02 Sanyo Electric Co Ltd 太陽電池モジュール
US20110023282A1 (en) * 2009-07-31 2011-02-03 Palo Alto Research Center Incorporated Solar energy converter assembly incorporating display system and method of fabricating the same
JP2012018367A (ja) * 2010-07-07 2012-01-26 Hirofumi Matsumura 太陽電池を内蔵した電飾看板システム
JP3172292U (ja) * 2011-09-13 2011-12-15 エコフューチャー株式会社 ソーラー一体型表示パネルシステム、およびソーラー一体型表示パネル
JP2014072479A (ja) * 2012-10-01 2014-04-21 Panasonic Corp 太陽電池パネル
JP2015069115A (ja) * 2013-09-30 2015-04-13 大日本印刷株式会社 情報表示装置
JP3189696U (ja) * 2014-01-10 2014-03-27 エコフューチャー株式会社 ソーラーサインパネル装置

Cited By (3)

* Cited by examiner, † Cited by third party
Publication number Priority date Publication date Assignee Title
KR20220006361A (ko) * 2020-07-08 2022-01-17 한국전기연구원 테셀레이션 구조의 태양전지
KR102706604B1 (ko) 2020-07-08 2024-09-12 한국전기연구원 테셀레이션 구조의 태양전지
KR102626878B1 (ko) * 2023-03-29 2024-01-17 심주현 디스플레이 기능을 구비하는 건물 일체형 태양광 발전 시스템

Also Published As

Publication number Publication date
JP6863438B2 (ja) 2021-04-21

Similar Documents

Publication Publication Date Title
JP6663578B2 (ja) 太陽電池複合型表示体
US7635214B2 (en) Modular system for luminous signals, particularly for road signals
WO2015151819A1 (ja) 太陽電池複合型表示体及びパネル部材
CN105866935A (zh) 光学装置和照明装置
TW201239394A (en) Head-up display (HUD)
JP6863438B2 (ja) 太陽電池複合型表示体
JP6728597B2 (ja) 太陽電池複合型表示体
JP6331478B2 (ja) 太陽電池複合体
JP6488789B2 (ja) 太陽電池複合型表示体
JP6395035B2 (ja) 太陽光発電装置
JP6331476B2 (ja) 太陽電池複合体
JP6331477B2 (ja) 太陽電池複合体
JP6414726B2 (ja) パネル部材
JP2015179237A (ja) パネル部材
JP6551050B2 (ja) 太陽電池複合型表示体
JP6641790B2 (ja) 太陽電池複合型表示体及び太陽電池複合型表示体を設置する方法
JP2015163910A (ja) パネル部材
JP6497256B2 (ja) 太陽電池複合型表示体
JP6287550B2 (ja) 太陽電池パネル付き表示体
JP6672628B2 (ja) 太陽電池複合型表示体
JP6287551B2 (ja) 太陽電池パネル付き表示体
CN202583653U (zh) 利用阳光作为辅助背光源的户外液晶显示装置
JP6365044B2 (ja) 太陽電池複合型表示体
JP6528991B2 (ja) 太陽電池複合型表示体
JP6774640B2 (ja) 太陽電池複合型表示体

Legal Events

Date Code Title Description
A621 Written request for application examination

Free format text: JAPANESE INTERMEDIATE CODE: A621

Effective date: 20191122

A977 Report on retrieval

Free format text: JAPANESE INTERMEDIATE CODE: A971007

Effective date: 20201027

A131 Notification of reasons for refusal

Free format text: JAPANESE INTERMEDIATE CODE: A131

Effective date: 20201106

A601 Written request for extension of time

Free format text: JAPANESE INTERMEDIATE CODE: A601

Effective date: 20210104

A521 Request for written amendment filed

Free format text: JAPANESE INTERMEDIATE CODE: A523

Effective date: 20210107

TRDD Decision of grant or rejection written
A01 Written decision to grant a patent or to grant a registration (utility model)

Free format text: JAPANESE INTERMEDIATE CODE: A01

Effective date: 20210302

A61 First payment of annual fees (during grant procedure)

Free format text: JAPANESE INTERMEDIATE CODE: A61

Effective date: 20210315

R150 Certificate of patent or registration of utility model

Ref document number: 6863438

Country of ref document: JP

Free format text: JAPANESE INTERMEDIATE CODE: R150