JP2019213402A - 温度差発電装置及び測定システム - Google Patents

温度差発電装置及び測定システム Download PDF

Info

Publication number
JP2019213402A
JP2019213402A JP2018109437A JP2018109437A JP2019213402A JP 2019213402 A JP2019213402 A JP 2019213402A JP 2018109437 A JP2018109437 A JP 2018109437A JP 2018109437 A JP2018109437 A JP 2018109437A JP 2019213402 A JP2019213402 A JP 2019213402A
Authority
JP
Japan
Prior art keywords
pipe
temperature difference
temperature
exchange element
power generation
Prior art date
Legal status (The legal status is an assumption and is not a legal conclusion. Google has not performed a legal analysis and makes no representation as to the accuracy of the status listed.)
Granted
Application number
JP2018109437A
Other languages
English (en)
Other versions
JP6953365B2 (ja
Inventor
新井 崇
Takashi Arai
崇 新井
吉田 勇作
Yusaku Yoshida
勇作 吉田
佐藤 秀一
Shuichi Sato
秀一 佐藤
占部宏生
Hiroo Urabe
宏生 占部
武藤 佳恭
Yoshiyasu Muto
佳恭 武藤
Current Assignee (The listed assignees may be inaccurate. Google has not performed a legal analysis and makes no representation or warranty as to the accuracy of the list.)
Collective Intelligence
Yokogawa Electric Corp
Original Assignee
Collective Intelligence
Yokogawa Electric Corp
Priority date (The priority date is an assumption and is not a legal conclusion. Google has not performed a legal analysis and makes no representation as to the accuracy of the date listed.)
Filing date
Publication date
Application filed by Collective Intelligence, Yokogawa Electric Corp filed Critical Collective Intelligence
Priority to JP2018109437A priority Critical patent/JP6953365B2/ja
Priority to CN201910480141.0A priority patent/CN110581674B/zh
Priority to US16/431,804 priority patent/US11839156B2/en
Priority to EP19178533.6A priority patent/EP3579287B1/en
Publication of JP2019213402A publication Critical patent/JP2019213402A/ja
Application granted granted Critical
Publication of JP6953365B2 publication Critical patent/JP6953365B2/ja
Active legal-status Critical Current
Anticipated expiration legal-status Critical

Links

Images

Classifications

    • HELECTRICITY
    • H10SEMICONDUCTOR DEVICES; ELECTRIC SOLID-STATE DEVICES NOT OTHERWISE PROVIDED FOR
    • H10NELECTRIC SOLID-STATE DEVICES NOT OTHERWISE PROVIDED FOR
    • H10N10/00Thermoelectric devices comprising a junction of dissimilar materials, i.e. devices exhibiting Seebeck or Peltier effects
    • H10N10/10Thermoelectric devices comprising a junction of dissimilar materials, i.e. devices exhibiting Seebeck or Peltier effects operating with only the Peltier or Seebeck effects
    • H10N10/17Thermoelectric devices comprising a junction of dissimilar materials, i.e. devices exhibiting Seebeck or Peltier effects operating with only the Peltier or Seebeck effects characterised by the structure or configuration of the cell or thermocouple forming the device
    • GPHYSICS
    • G01MEASURING; TESTING
    • G01DMEASURING NOT SPECIALLY ADAPTED FOR A SPECIFIC VARIABLE; ARRANGEMENTS FOR MEASURING TWO OR MORE VARIABLES NOT COVERED IN A SINGLE OTHER SUBCLASS; TARIFF METERING APPARATUS; MEASURING OR TESTING NOT OTHERWISE PROVIDED FOR
    • G01D21/00Measuring or testing not otherwise provided for
    • G01D21/02Measuring two or more variables by means not covered by a single other subclass
    • HELECTRICITY
    • H10SEMICONDUCTOR DEVICES; ELECTRIC SOLID-STATE DEVICES NOT OTHERWISE PROVIDED FOR
    • H10NELECTRIC SOLID-STATE DEVICES NOT OTHERWISE PROVIDED FOR
    • H10N10/00Thermoelectric devices comprising a junction of dissimilar materials, i.e. devices exhibiting Seebeck or Peltier effects
    • H10N10/10Thermoelectric devices comprising a junction of dissimilar materials, i.e. devices exhibiting Seebeck or Peltier effects operating with only the Peltier or Seebeck effects
    • H10N10/13Thermoelectric devices comprising a junction of dissimilar materials, i.e. devices exhibiting Seebeck or Peltier effects operating with only the Peltier or Seebeck effects characterised by the heat-exchanging means at the junction
    • GPHYSICS
    • G01MEASURING; TESTING
    • G01KMEASURING TEMPERATURE; MEASURING QUANTITY OF HEAT; THERMALLY-SENSITIVE ELEMENTS NOT OTHERWISE PROVIDED FOR
    • G01K7/00Measuring temperature based on the use of electric or magnetic elements directly sensitive to heat ; Power supply therefor, e.g. using thermoelectric elements
    • G01K7/02Measuring temperature based on the use of electric or magnetic elements directly sensitive to heat ; Power supply therefor, e.g. using thermoelectric elements using thermoelectric elements, e.g. thermocouples
    • HELECTRICITY
    • H02GENERATION; CONVERSION OR DISTRIBUTION OF ELECTRIC POWER
    • H02NELECTRIC MACHINES NOT OTHERWISE PROVIDED FOR
    • H02N11/00Generators or motors not provided for elsewhere; Alleged perpetua mobilia obtained by electric or magnetic means
    • H02N11/002Generators
    • HELECTRICITY
    • H10SEMICONDUCTOR DEVICES; ELECTRIC SOLID-STATE DEVICES NOT OTHERWISE PROVIDED FOR
    • H10NELECTRIC SOLID-STATE DEVICES NOT OTHERWISE PROVIDED FOR
    • H10N10/00Thermoelectric devices comprising a junction of dissimilar materials, i.e. devices exhibiting Seebeck or Peltier effects
    • H10N10/10Thermoelectric devices comprising a junction of dissimilar materials, i.e. devices exhibiting Seebeck or Peltier effects operating with only the Peltier or Seebeck effects
    • HELECTRICITY
    • H10SEMICONDUCTOR DEVICES; ELECTRIC SOLID-STATE DEVICES NOT OTHERWISE PROVIDED FOR
    • H10NELECTRIC SOLID-STATE DEVICES NOT OTHERWISE PROVIDED FOR
    • H10N10/00Thermoelectric devices comprising a junction of dissimilar materials, i.e. devices exhibiting Seebeck or Peltier effects
    • H10N10/80Constructional details
    • GPHYSICS
    • G01MEASURING; TESTING
    • G01FMEASURING VOLUME, VOLUME FLOW, MASS FLOW OR LIQUID LEVEL; METERING BY VOLUME
    • G01F15/00Details of, or accessories for, apparatus of groups G01F1/00 - G01F13/00 insofar as such details or appliances are not adapted to particular types of such apparatus
    • G01F15/06Indicating or recording devices
    • G01F15/061Indicating or recording devices for remote indication
    • G01F15/063Indicating or recording devices for remote indication using electrical means
    • GPHYSICS
    • G01MEASURING; TESTING
    • G01KMEASURING TEMPERATURE; MEASURING QUANTITY OF HEAT; THERMALLY-SENSITIVE ELEMENTS NOT OTHERWISE PROVIDED FOR
    • G01K7/00Measuring temperature based on the use of electric or magnetic elements directly sensitive to heat ; Power supply therefor, e.g. using thermoelectric elements
    • G01K7/003Measuring temperature based on the use of electric or magnetic elements directly sensitive to heat ; Power supply therefor, e.g. using thermoelectric elements using pyroelectric elements

Landscapes

  • Physics & Mathematics (AREA)
  • General Physics & Mathematics (AREA)
  • Measuring Volume Flow (AREA)
  • General Electrical Machinery Utilizing Piezoelectricity, Electrostriction Or Magnetostriction (AREA)

Abstract

【課題】高温流体が腐食性を有する流体であっても長期間に亘って温度差発電を継続することが可能な温度差発電装置及び測定システムの提供。【解決手段】温度差により熱エネルギーを電気エネルギーに変換する熱電交換素子10と、熱電交換素子10の低温部側10bに熱的に接続され、外気に触れる放熱フィン20と、熱電交換素子10の高温部側10aに熱的に接続され、内部に外気よりも高温な温水が流通可能なパイプ30と、を有する、温度差発電装置1を採用する。【選択図】図2

Description

本発明は、温度差発電装置及び測定システムに関するものである。
従来から温度差発電装置として、例えば、特許文献1に記載されているような発電システムが知られている。この発電システムは、温泉等の排熱エネルギーの温度差を利用して電気エネルギーに変換する装置であり、トムソン効果、ペルチェ効果、ゼーベック効果などを伴う熱電変換素子を組み込んでいる。温泉等の排熱エネルギーで発電する比較的小規模な発電装置では、この中で特にゼーベック効果を伴う熱電変換素子を組み込んだ装置が注目されている。ゼーベック効果とは、物体の温度差を電力に変換させる現象の効果をいう。これは熱エネルギーの高温部と低温部の間にゼーベック素子即ち、p型熱電材料とn型熱電材料を交互に配置して構成される素子に、熱エネルギーの温度差が生じたときに電子が活性化され、n型熱電材料は高温側、p型熱電材料は低温側へ拡散し電流が流れ、電気エネルギーに変換される現象をいう。
特許文献1に記載の発電システムは、温度差により熱エネルギーを電気エネルギーに変換する熱電変換素子と、前記熱電変換素子を挟んで張り合わされ、且つ高温側流体に設置される第1ヒートパイプと、前記熱電変換素子を挟んで張り合わされ、且つ前記第1ヒートパイプに対峙し低温側流体に設置される第2ヒートパイプと、前記熱電変換素子を前記第1ヒートパイプと前記第2ヒートパイプに保持する保持体と、前記第1ヒートパイプの浸される前記高温側流体と前記第2ヒートパイプの浸される前記低温側流体とを遮断する隔壁体とからなる発電システムであって、前記高温側流体と前記低温側流体は、温度の異なる同一温水であり、前記低温側流体は、前記高温側流体の水位より相対的に低い水位に配置され、自然流で高温側から低温側に流れる流体である、ことを特徴としている。
特許第5989302号公報
ところで、上記従来技術では、自然流で高温側から低温側に流れる温水の温度差を利用するため、温泉が流れる温泉流路(河川または水路)に発電システムを設置している。しかしながら、当該温泉流路では、強酸性あるいは強アルカリ性の温水が湯気として立ち上っており、熱電交換素子、ヒートパイプ、及び放熱フィンなどが腐食し易く、例えば1カ月ほどの短期間でメンテナンスや交換を要することが課題となっている。
本発明は、上記課題点に鑑みてなされたものであり、高温流体が腐食性を有する流体であっても長期間に亘って温度差発電を継続することが可能な温度差発電装置及び測定システムの提供を目的とする。
上記の課題を解決するために、本発明は、温度差により熱エネルギーを電気エネルギーに変換する熱電交換素子と、前記熱電交換素子の低温部側に熱的に接続され、外気に触れる放熱フィンと、前記熱電交換素子の高温部側に熱的に接続され、内部に前記外気よりも高温な高温流体が流通可能なパイプと、を有する、温度差発電装置を採用する。
この構成によれば、熱電交換素子は、パイプを流通する高温流体と、当該高温流体に対して比較的低温の外気との温度差により、熱エネルギーを電気エネルギーに変換することができる。高温流体は、パイプの内部を流通するため、熱電交換素子や放熱フィンが高温流体の湯気に曝されることはない。このため、熱電交換素子や放熱フィンが腐食し難くなり、長期間に亘って温度差発電を継続することができる。
また、本発明においては、前記熱電交換素子の高温部側を、前記パイプ側に押し付ける押付機構を有し、前記押付機構には、前記パイプ側からの伝熱を遮断する断熱部が設けられていてもよい。
この場合には、押付機構による押し付けによって熱電交換素子に対するパイプ側からの伝熱効率が向上するため、効率よく発電することが可能となる。また、押付機構には、断熱部が設けられ、パイプ側からの伝熱を遮断するため、押付機構の設置によって熱電交換素子に対するパイプ側からの伝熱効率が低下することはない。
また、本発明においては、前記パイプの外周面には、平面部が形成されており、前記熱電交換素子の高温部側が、前記平面部に接していてもよい。
この場合には、熱電交換素子の高温部側とパイプとが密着し易くなり、伝熱効率が向上し、効率よく発電することが可能となる。
また、本発明においては、前記熱電交換素子の高温部側と前記パイプは、ヒートパイプを介して熱的に接続されていてもよい。
この場合には、ヒートパイプの封入液の気化潜熱を利用して熱を輸送できるため、伝熱効率が向上し、効率よく発電することが可能となる。
また、本発明においては、前記ヒートパイプの一部は、前記パイプに埋設されていてもよい。
この場合には、ヒートパイプと高温流体が流通するパイプとの接触面積が増えるため、伝熱効率が向上し、効率よく発電することが可能となる。
また、本発明においては、前記パイプの内周面には、前記高温流体に対する耐腐食性を有するライニング材が内装されており、前記ヒートパイプの一部は、前記パイプを貫通し、前記ライニング材に埋設されていてもよい。
この場合には、ヒートパイプの一部がパイプの内部に挿入されるため、ヒートパイプと高温流体との距離が近くなり、伝熱効率が向上し、効率よく発電することが可能となる。また、パイプの内部に挿入されたヒートパイプは、ライニング材に埋設されるため、腐食性の高温流体でも効率よく発電することが可能となる。
また、本発明においては、前記熱電交換素子及び前記放熱フィンを含む発電ユニットが、前記パイプの周方向に間隔をあけて複数設けられていてもよい。
この場合には、パイプを長くしなくても発電ユニットを密集して設置できるため、小スペースで高い電圧の発電が可能となる。
また、本発明においては、先に記載の温度差発電装置と、前記高温流体の状態量を測定する測定部、及び、前記測定部の測定結果を外部に提供する通信部を備えるフィールド機器と、を備え、前記温度差発電装置が、前記フィールド機器に電力を供給する、測定システムを採用する。
この構成によれば、高温流体によって自家発電しつつ、発電した電力によって高温流体の状態量を測定し、その測定結果を外部に通信できるため、例えば、高温流体が山奥の僻地で湧き出る場合、当該僻地に電力線を引いたり、人が出向いて行かなくても高温流体の状態量をモニタリングすることが可能となる。
上記本発明の態様によれば、高温流体が腐食性を有する流体であっても長期間に亘って温度差発電を継続することができる。
一実施形態に係る温度差発電装置を有する測定システムを示す概略図である。 一実施形態に係る温度差発電装置の断面構成図である。 図2における矢視A−A図である。 一実施形態の応用例に係る温度差発電装置の断面構成図である。 一実施形態の応用例に係る温度差発電装置の断面構成図である。 一実施形態の応用例に係る温度差発電装置の断面構成図である。 一実施形態の応用例に係る温度差発電装置の断面構成図である。 一実施形態の応用例に係る温度差発電装置の断面構成図である。 一実施形態の応用例に係る温度差発電装置の発電ユニットのパイプに対する取付状態を示す図である。
以下、本発明の一実施形態について図面を参照して説明する。
図1は、一実施形態に係る温度差発電装置1を有する測定システム100を示す概略図である。
測定システム100は、温度差発電装置1と、フィールド機器101と、を含んで構成されている。フィールド機器101は、通信ネットワーク102を介して、端末103と接続されている。本実施形態においては、温度差発電装置1及びフィールド機器101が、例えば、温泉(温水)が湧き出る山奥の水源近くに設置され、温泉配管104を流れる温水(高温流体)の状態量を測定する。ここでいう「高温流体」とは、外気よりも高温な流体を意味する。
フィールド機器101は、測定対象物の状態量を測定する測定部101aと、測定部101aの測定結果を外部に提供する通信部101b(フィールド機器本体)と、を有する。本実施形態において、測定部101aは、通信部101bが取り付けられた配管部を含み、温泉配管104を流通する温水の状態量を測定する。このような測定部101aは、例えば、温度センサー、圧力センサー、流量センサー、またはpHセンサー等を有してもよい。
通信部101bと測定部101aとは、伝送線101cを介して接続されている。なお、図1においては、伝送線101cは、フィールド機器101の本体部および測定部101aの外部を通して配線されているが、これに限られるものではない。伝送線101cは、フィールド機器101の本体部の内部を通して配線されてもよい。
伝送線101cは、例えば、「4〜20mA」のアナログ信号の伝送に用いられる伝送線、「0〜1kHz」のパルス信号の伝送に用いられる伝送線、およびフィールド機器101の内部に設けられた接点(図示せず)をオン/オフすることによりHigh信号/Low信号を送信する伝送線を含む。
通信部101bは、測定部101aから取得した測定値(例えば、温度、圧力、流量、またはpH値等)に基づく測定結果情報を記憶することができる。また、通信部101bは、記憶した測定結果情報を用いて様々な統計処理を行い、当該統計処理の結果に基づく統計情報を記憶することができる。
端末103は、コンピュータ装置、例えば、パーソナルコンピュータ等である。通信部101bと端末103とは、通信ネットワーク102(例えば、インターネット、またはLAN(Local Area Network;構内通信網)等)を介して通信接続されている。
通信部101bは、通信ネットワーク102を介して端末103と通信接続するための通信インターフェースとなる。通信部101bは、無線通信を介して通信ネットワーク102に通信接続し、記憶した測定結果情報および統計情報を、端末103(外部の機器)へ送信する。なお、ここでいう無線通信は、例えば、Wi−Fi(登録商標)、WiMAX(登録商標)、または3G/LTE(登録商標)等の無線通信規格に準拠した無線通信である。
なお、本実施形態においては、通信部101bは、無線通信を介して通信ネットワーク102に通信接続するものとしたが、有線通信を介して通信ネットワーク102に通信接続する構成であっても構わない。
端末103は、通信部101bから送信された情報、例えば、測定部101aによって測定された測定値(例えば、温度、圧力値、流量、またはpH値等)に基づく測定結果情報、および、上述した統計処理の結果に基づく統計情報を受信して、表示することができる。
なお、端末103から通信部101bへの情報の送信は、端末103から通信部101bに対して要求が行われた際に送信が行われるような構成であってもよいし、通信部101bが自ら定期的に送信を行うような構成であってもよい。
このようなフィールド機器101は、その隣に付設された温度差発電装置1から図示しない電力線を介して電力を供給されている。すなわち、フィールド機器101は、自前のバッテリーを有せず、また、周辺から電力線を引かずとも、上述した動作を継続することができる。すなわち、フィールド機器101と温度差発電装置1との間以外は、配線をする必要がない。但し、フィールド機器101は、メンテナンス時や非常用バッテリーとして、バッテリーを搭載していてもよい。
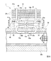
図2は、一実施形態に係る温度差発電装置1の断面構成図である。図3は、図2における矢視A−A図である。
温度差発電装置1は、図2に示すように、熱電交換素子10と、放熱フィン20と、パイプ30と、押付機構40と、を有する。
熱電交換素子10は、外気(例えば20℃程度)と温水(例えば90℃程度)との温度差により熱エネルギーを電気エネルギーに変換するものである。本実施形態においては、熱電交換素子10として、ゼーベック効果を伴うゼーベック素子を用いる。熱電交換素子10の高温部側10aは、パイプ30と熱的に接続されている。また、熱電交換素子10の低温部側10bは、高温部側10aと反対側にあり、放熱フィン20と熱的に接続されている。なお、熱電交換素子10は、トムソン効果やペルチェ効果などを伴う素子であってもよい。
放熱フィン20は、熱電交換素子10の低温部側10bにヒートパイプ21を介して熱的に接続されている。放熱フィン20は、高い放熱性を有する金属材、例えば、アルミニウムやアルミニウム合金などから形成するとよい。放熱フィン20は、矩形板状に形成され、それらが隙間をあけて積層された積層構造を有する。放熱フィン20は、ヒートパイプ21の一端部21aに支持されている。ヒートパイプ21の一端部21aは、積層された複数の放熱フィン20を貫通し、複数の放熱フィン20と接合されている。
ヒートパイプ21の他端部21bは、熱電交換素子10の低温部側10bにベースプレート22を介して熱的に接続されている。ベースプレート22は、高い熱伝導率を有する銅や銅合金などから形成するとよい。ベースプレート22は、熱電交換素子10の低温部側10bに接している。図3に示すように、ベースプレート22の幅は、熱電交換素子10の幅と略同一である。なお、ベースプレート22と熱電交換素子10との間には、放熱グリスなどを塗布するとよい。
ベースプレート22には、複数のヒートパイプ21が植設されている。本実施形態においては、ベースプレート22に4本のヒートパイプ21が植設され、それら4本のヒートパイプ21がベースプレート22の幅方向両側の側端面から幅方向両側に延在し、放熱フィン20の四隅を支持する構成となっている。なお、ヒートパイプ21は、ベースプレート22にさらに複数本設けられていてもよい。
パイプ30は、図1に示すように、温泉配管104と接続され、内部に温水が流通する。このパイプ30は、温水に対して耐腐食性を有する材料、例えば、ステンレス鋼材などから形成するとよい。なお、パイプ30は、温水に対して耐腐食性を有する樹脂材などで形成してもよい。このパイプ30の外周面30bには、図3に示すように、平面部31が形成されている。平面部31は、パイプ30の外周面30bの一部を、外周面30bの接線に対し平行に切り欠いたものである。
熱電交換素子10の高温部側10aは、平面部31と接している。平面部31は、鏡面仕上げするとよい。これにより、平面部31における表面粗さ(凹凸)が小さくなり、熱電交換素子10の高温部側10aとの接触面積が増加する。なお、平面部31と熱電交換素子10との間には、放熱グリスなどを塗布するとよい。
押付機構40は、図2に示すように、熱電交換素子10の高温部側10aを、パイプ30側に押し付けるものである。押付機構40は、押付プレート41と、ネジ部材42と、樹脂ワッシャー43(断熱部)と、を有する。押付プレート41は、図3に示すように、左右のヒートパイプ21の間を通ってパイプ30の長手方向に沿って延び、図2に示すように、ベースプレート22の外側(反熱電交換素子側)を跨ぐように配置されている。
図3に示すように、押付プレート41の幅は、熱電交換素子10(ベースプレート22)の幅よりも大きくするとよい。これにより、熱電交換素子10の高温部側10aの全域を平面部31に押し付けることができる。この押付プレート41の両端部には、図2に示すように、パイプ30側に向かって屈曲する第1曲部41aと、第1曲部41aの先端からパイプ30の長手方向に沿って屈曲する第2曲部41bと、が形成されている。
第1曲部41aは、パイプ30の長手方向におけるベースプレート22の端面に対向し、接している。第2曲部41bは、パイプ30の長手方向に沿って平行に延び、挿通孔41cが形成されている。挿通孔41cには、ネジ部材42が挿通されている。ネジ部材42は、パイプ30の平面部31に形成されたネジ孔32に螺合している。なお、挿通孔41cは、ネジ部材42のシャフト部よりも径を大きくし、当該シャフト部との間に隙間を確保するとよい。
樹脂ワッシャー43は、ネジ部材42のヘッド部の裏側に配置されている。この樹脂ワッシャー43は、ネジ部材42と押付プレート41との間に介在し、パイプ30からネジ部材42、押付プレート41を通り、熱電交換素子10の低温部側10bに至る伝熱経路を遮断する。すなわち、パイプ30から熱電交換素子10の高温部側10aに至る伝熱経路以外の伝熱経路を遮断する。なお、樹脂ワッシャー43の一部は、ネジ部材42のシャフト部と挿通孔41cとの隙間に挿入されるように延在していてもよい。また、樹脂ワッシャー43の代わりに、押付プレート41ないしネジ部材42自体が断熱材(樹脂材など)から形成されていてもよい。
上記構成の温度差発電装置1によれば、パイプ30を流通する温水と、当該温水に対して比較的低温の外気との温度差により、熱電交換素子10が熱エネルギーを電気エネルギーに変換する。温水は、パイプ30の内部を流通するため、熱電交換素子10や放熱フィン20などが温水の湯気に曝されることはない。このため、熱電交換素子10や放熱フィン20などが腐食し難くなり、長期間に亘ってメンテナスフリーで温度差発電を継続することができる。
また、本実施形態においては、図2に示すように、熱電交換素子10の高温部側10aを、パイプ30側に押し付ける押付機構40を有する。この構成によれば、押付機構40による押し付けによって熱電交換素子10に対するパイプ30側からの伝熱効率が向上するため、効率よく発電することが可能となる。また、押付機構40には、樹脂ワッシャー43(断熱部)が設けられており、パイプ30側からネジ部材42及び押付プレート41を介した伝熱を遮断するため、熱電交換素子10に対するパイプ30側からの伝熱効率が低下することはない。
さらに、本実施形態においては、図3に示すように、パイプ30の外周面30bには、平面部31が形成されており、熱電交換素子10の高温部側10aが、平面部31に接している。この構成によれば、熱電交換素子10の高温部側10aとパイプ30とが密着し易くなり、伝熱効率が向上し、効率よく発電することが可能となる。
このように、上述の本実施形態によれば、温度差により熱エネルギーを電気エネルギーに変換する熱電交換素子10と、熱電交換素子10の低温部側10bに熱的に接続され、外気に触れる放熱フィン20と、熱電交換素子10の高温部側10aに熱的に接続され、内部に温水が流通可能なパイプ30と、を有する、温度差発電装置1を採用することによって、高温流体が腐食性を有する温水であっても長期間に亘って温度差発電を継続することができる。
また、本実施形態の測定システム100は、図1に示すように、上述の温度差発電装置1と、温水の状態量を測定する測定部101a、及び、測定部101aの測定結果を外部に提供する通信部101bを備えるフィールド機器101と、を備え、温度差発電装置1が、フィールド機器101に電力を供給する。この構成によれば、温水によって自家発電しつつ、発電した電力によって温水の状態量を測定し、その測定結果を外部に通信できるため、例えば、温水が山奥の僻地で湧き出る場合、当該僻地に電力線を引いたり、人が出向いて行かなくても温水の状態量をモニタリングすることが可能となる。
以上、図面を参照しながら本発明の好適な実施形態について説明したが、本発明は上記実施形態に限定されるものではない。上述した実施形態において示した各構成部材の諸形状や組み合わせ等は一例であって、本発明の主旨から逸脱しない範囲において設計要求等に基づき種々変更可能である。
例えば、本発明では、図4〜図10に示すような形態を採用することができる。なお、以下の説明において、上述の実施形態と同一又は同等の構成については同一の符号を付し、その説明を簡略若しくは省略する。
図4に示す形態では、熱電交換素子10の高温部側10aとパイプ30が、ヒートパイプ50を介して熱的に接続されている。この構成によれば、ヒートパイプ50の封入液の気化潜熱を利用して熱を輸送できるため、伝熱効率が向上し、効率よく発電することが可能となる。また、ヒートパイプ50の一端部50a(一部)は、パイプ30に埋設するとよい。この構成によれば、ヒートパイプ50とパイプ30との接触面積が増えるため、伝熱効率が向上し、効率よく発電することが可能となる。
なお、この形態では、ヒートパイプ50以外の伝熱経路を遮断するために、熱電交換素子10をヒートパイプ50で支持し、熱電交換素子10とパイプ30との間に隙間をあけて(浮かせて)配置するとよい。このヒートパイプ50の他端部50bは、熱電交換素子10の高温部側10aにベースプレート51を介して熱的に接続されている。ベースプレート51は、ベースプレート22と同様に、高い熱伝導率を有する銅や銅合金などから形成するとよい。
図5に示す形態では、ヒートパイプ50の一端部50aが、パイプ30を貫通して配置されている。この構成によれば、ヒートパイプ50を直接温水に接触させることができるため、さらに効率よく発電することができる。なお、この場合、ヒートパイプ50を耐腐食性の材料から形成するとよい。
図6に示す形態では、ヒートパイプ50の一端部50aが、パイプ30の内部で折り曲げられている。この構成によれば、図5に示す形態と同様に、ヒートパイプ50を直接温水に接触させることができると共に、図5に示す形態よりも折り曲げによって温水に接触する面積が増えるため、さらに効率よく発電することができる。なお、ヒートパイプ50の折り曲げ方向は、温水の流れに対して上流側、下流側のいずれであってもよい。
図7に示す形態では、ヒートパイプ50の一端部50aが折り曲げられた状態で、パイプ30に埋設されている。この構成によれば、ヒートパイプ50が直接温水に接触することがないので、ヒートパイプ50を耐腐食性の材料から形成する必要がない。また、ヒートパイプ50と温水との距離が近くなり、伝熱効率が向上し、効率よく発電することが可能となる。
図8に示す形態では、ヒートパイプ50の一端部50aが、パイプ30を貫通し、パイプ30に内装されたライニング材60に埋設されている。ライニング材60は、温水に対する耐腐食性を有する樹脂材などから形成されている。この構成によれば、パイプ30の内部に挿入されたヒートパイプ50は、ライニング材60に埋設されるため、腐食性の温水でも効率よく発電することが可能となる。また、この構成は、図7に示す形態(例えば鋳造)よりも、安価に製造できる。また、ヒートパイプ50と温水との距離が近くなり、伝熱効率が向上し、効率よく発電することが可能となる。
図9に示す形態では、熱電交換素子10、放熱フィン20、押付機構40を含む発電ユニット2が、パイプ30の周方向に間隔をあけて複数(図9の例では4つ)設けられていている。この構成によれば、パイプ30を長くしなくても発電ユニット2を密集して設置できるため、小スペースで高い電圧の発電が可能となる。なお、この場合、複数の発電ユニット2に対応して、パイプ30に複数の平面部31を形成するとよい。
また、上記実施形態では、高温流体として温泉を例示したが、温泉以外の高温流体に対しても本発明を適用することができる。
また、上述した図4〜図8に示す形態では、ヒートパイプ50の一部がパイプ30に埋設され、または、ヒートパイプ50がパイプ30を貫通して配置されていたが、例えば、ヒートパイプ50をロウ付けによりパイプ30の外周面30bに、U字状ないしΩ字状に巻き付ける形態を採用してもよい。この構成によれば、パイプ30に貫通孔を設けたり、また、パイプ30にヒートパイプ50を埋設しなくても、ヒートパイプ50とパイプ30との接触面積を増やし、効率よく発電することが可能となる。
1 温度差発電装置
2 発電ユニット
10 熱電交換素子
10a 高温部側
10b 低温部側
20 放熱フィン
30 パイプ
30b 外周面
31 平面部
40 押付機構
42 ネジ部材
43 樹脂ワッシャー(断熱部)
50 ヒートパイプ
60 ライニング材
100 測定システム
101 フィールド機器
101a 測定部
101b 通信部
101c 伝送線

Claims (8)

  1. 温度差により熱エネルギーを電気エネルギーに変換する熱電交換素子と、
    前記熱電交換素子の低温部側に熱的に接続され、外気に触れる放熱フィンと、
    前記熱電交換素子の高温部側に熱的に接続され、内部に前記外気よりも高温な高温流体が流通可能なパイプと、を有する、ことを特徴とする温度差発電装置。
  2. 前記熱電交換素子の高温部側を、前記パイプ側に押し付ける押付機構を有し、
    前記押付機構には、前記パイプ側からの伝熱を遮断する断熱部が設けられている、ことを特徴とする請求項1に記載の温度差発電装置。
  3. 前記パイプの外周面には、平面部が形成されており、
    前記熱電交換素子の高温部側が、前記平面部に接している、ことを特徴とする請求項1または2に記載の温度差発電装置。
  4. 前記熱電交換素子の高温部側と前記パイプは、ヒートパイプを介して熱的に接続されている、ことを特徴とする請求項1〜3のいずれか一項に記載の温度差発電装置。
  5. 前記ヒートパイプの一部は、前記パイプに埋設されている、ことを特徴とする請求項4に記載の温度差発電装置。
  6. 前記パイプには、前記高温流体に対する耐腐食性を有するライニング材が内装されており、
    前記ヒートパイプの一部は、前記パイプを貫通し、前記ライニング材に埋設されている、ことを特徴とする請求項4に記載の温度差発電装置。
  7. 前記熱電交換素子及び前記放熱フィンを含む発電ユニットが、前記パイプの周方向に間隔をあけて複数設けられている、ことを特徴とする請求項1〜6のいずれか一項に記載の温度差発電装置。
  8. 請求項1〜7のいずれか一項に記載の温度差発電装置と、
    前記高温流体の状態量を測定する測定部、及び、前記測定部の測定結果を外部に提供する通信部を備えるフィールド機器と、を備え、
    前記温度差発電装置が、前記フィールド機器に電力を供給する、ことを特徴とする測定システム。
JP2018109437A 2018-06-07 2018-06-07 温度差発電装置及び測定システム Active JP6953365B2 (ja)

Priority Applications (4)

Application Number Priority Date Filing Date Title
JP2018109437A JP6953365B2 (ja) 2018-06-07 2018-06-07 温度差発電装置及び測定システム
CN201910480141.0A CN110581674B (zh) 2018-06-07 2019-06-04 温差发电装置及测定系统
US16/431,804 US11839156B2 (en) 2018-06-07 2019-06-05 Temperature difference power generation apparatus and measurement system
EP19178533.6A EP3579287B1 (en) 2018-06-07 2019-06-05 Temperature difference power generation apparatus and measurement system

Applications Claiming Priority (1)

Application Number Priority Date Filing Date Title
JP2018109437A JP6953365B2 (ja) 2018-06-07 2018-06-07 温度差発電装置及び測定システム

Publications (2)

Publication Number Publication Date
JP2019213402A true JP2019213402A (ja) 2019-12-12
JP6953365B2 JP6953365B2 (ja) 2021-10-27

Family

ID=66770403

Family Applications (1)

Application Number Title Priority Date Filing Date
JP2018109437A Active JP6953365B2 (ja) 2018-06-07 2018-06-07 温度差発電装置及び測定システム

Country Status (4)

Country Link
US (1) US11839156B2 (ja)
EP (1) EP3579287B1 (ja)
JP (1) JP6953365B2 (ja)
CN (1) CN110581674B (ja)

Cited By (2)

* Cited by examiner, † Cited by third party
Publication number Priority date Publication date Assignee Title
JP2019220654A (ja) * 2018-06-22 2019-12-26 三菱電機エンジニアリング株式会社 熱電発電装置、及び冷却装置
CN111664956A (zh) * 2020-06-15 2020-09-15 上海烟草集团有限责任公司 一种加热元件的测温系统

Families Citing this family (5)

* Cited by examiner, † Cited by third party
Publication number Priority date Publication date Assignee Title
CN113765435B (zh) * 2021-07-23 2024-05-07 重庆燃气集团股份有限公司 一种基于温差发电的管道流体信号发射系统
EP4276017B1 (en) * 2022-05-10 2026-01-07 Airbus SAS Fluid transport device and method for manufacturing a fluid transport device
US20240125522A1 (en) * 2022-10-18 2024-04-18 Artyc PBC Temperature-Controlled Shipping Container
CN115664258B (zh) * 2022-11-08 2025-05-16 三峡大学 一种利用余热发电的水壶及其发电方法
CN116951769A (zh) * 2022-11-24 2023-10-27 广东万和新电气股份有限公司 连通阀及热水系统

Citations (7)

* Cited by examiner, † Cited by third party
Publication number Priority date Publication date Assignee Title
JPH10113845A (ja) * 1996-10-08 1998-05-06 Mitsubishi Heavy Ind Ltd スピンドル
JPH11215867A (ja) * 1998-01-23 1999-08-06 Tokyo Gas Co Ltd 熱電発電素子構造体及び熱電発電システム
JP3079577U (ja) * 2001-02-14 2001-08-24 邦博 山本 高温水用パイプの非直線接続構造
JP2002030717A (ja) * 2000-07-18 2002-01-31 Ace Plan:Kk 下水利用熱源設備構築用の下水用管
JP2010505383A (ja) * 2006-09-28 2010-02-18 ローズマウント インコーポレイテッド フィールドプロセス装置のための熱電発電機アセンブリ
WO2010090350A1 (ja) * 2009-02-05 2010-08-12 ティーエス ヒートロニクス株式会社 発電装置
JP2013045929A (ja) * 2011-08-25 2013-03-04 Science Park Corp 温度差発電装置

Family Cites Families (16)

* Cited by examiner, † Cited by third party
Publication number Priority date Publication date Assignee Title
US4520305A (en) 1983-08-17 1985-05-28 Cauchy Charles J Thermoelectric generating system
GB2145876A (en) * 1983-08-24 1985-04-03 Shlomo Beitner DC power generation for telemetry and like equipment from geothermal energy
JPH11121816A (ja) * 1997-10-21 1999-04-30 Morikkusu Kk 熱電モジュールユニット
US6880346B1 (en) * 2004-07-08 2005-04-19 Giga-Byte Technology Co., Ltd. Two stage radiation thermoelectric cooling apparatus
US9184364B2 (en) * 2005-03-02 2015-11-10 Rosemount Inc. Pipeline thermoelectric generator assembly
US20080142067A1 (en) 2006-12-14 2008-06-19 Robert Dell Thermoelectric power generation device
TWI421148B (zh) 2009-06-02 2014-01-01 珍通能源技術股份有限公司 具研磨受熱平面之散熱器及其研磨方法與設備
GB2483293A (en) 2010-09-03 2012-03-07 Spirax Sarco Ltd Steam flow meter with thermoelectric power source
JP5989302B2 (ja) 2011-02-07 2016-09-07 サイエンスパーク株式会社 発電システム
US20130005372A1 (en) * 2011-06-29 2013-01-03 Rosemount Inc. Integral thermoelectric generator for wireless devices
US20160146083A1 (en) * 2014-11-25 2016-05-26 Hyundai Motor Company Clamp mounted thermoelectric generator
CN204390843U (zh) * 2014-12-27 2015-06-10 浙江宝威电气有限公司 具有温差发电功能的变压器
JP2018109437A (ja) 2017-01-05 2018-07-12 常正 船津 無制御磁気浮上方法及び無制御磁気浮上装置
CN107528499A (zh) * 2017-09-05 2017-12-29 上海电力学院 应用于锅炉尾部烟道的热管式温差发电储能及输电系统
CN207304412U (zh) * 2017-10-13 2018-05-01 大连海事大学 热管式船舶主机废气余热利用温差发电装置
CN107592035B (zh) * 2017-10-13 2020-05-05 大连海事大学 一种基于温差发电以及脉动热管技术的尾气余热利用方法

Patent Citations (7)

* Cited by examiner, † Cited by third party
Publication number Priority date Publication date Assignee Title
JPH10113845A (ja) * 1996-10-08 1998-05-06 Mitsubishi Heavy Ind Ltd スピンドル
JPH11215867A (ja) * 1998-01-23 1999-08-06 Tokyo Gas Co Ltd 熱電発電素子構造体及び熱電発電システム
JP2002030717A (ja) * 2000-07-18 2002-01-31 Ace Plan:Kk 下水利用熱源設備構築用の下水用管
JP3079577U (ja) * 2001-02-14 2001-08-24 邦博 山本 高温水用パイプの非直線接続構造
JP2010505383A (ja) * 2006-09-28 2010-02-18 ローズマウント インコーポレイテッド フィールドプロセス装置のための熱電発電機アセンブリ
WO2010090350A1 (ja) * 2009-02-05 2010-08-12 ティーエス ヒートロニクス株式会社 発電装置
JP2013045929A (ja) * 2011-08-25 2013-03-04 Science Park Corp 温度差発電装置

Cited By (3)

* Cited by examiner, † Cited by third party
Publication number Priority date Publication date Assignee Title
JP2019220654A (ja) * 2018-06-22 2019-12-26 三菱電機エンジニアリング株式会社 熱電発電装置、及び冷却装置
JP7305313B2 (ja) 2018-06-22 2023-07-10 三菱電機エンジニアリング株式会社 熱電発電装置
CN111664956A (zh) * 2020-06-15 2020-09-15 上海烟草集团有限责任公司 一种加热元件的测温系统

Also Published As

Publication number Publication date
CN110581674A (zh) 2019-12-17
CN110581674B (zh) 2023-01-10
EP3579287B1 (en) 2021-02-17
EP3579287A1 (en) 2019-12-11
US20190376848A1 (en) 2019-12-12
JP6953365B2 (ja) 2021-10-27
US11839156B2 (en) 2023-12-05

Similar Documents

Publication Publication Date Title
JP6953365B2 (ja) 温度差発電装置及び測定システム
CN106463903B (zh) 具有主动式冷却的滑环
CN101884120A (zh) 热电发电装置
CN107528499A (zh) 应用于锅炉尾部烟道的热管式温差发电储能及输电系统
CN111835231A (zh) 一种应用于智能水表的柔性温差取能模块
JP5444787B2 (ja) 熱電発電装置
JP5611739B2 (ja) 熱電発電システム
JP5677519B2 (ja) 温度検出装置
JP2014225509A (ja) 排熱発電装置
JP2011192759A (ja) 熱電発電システム
CN214959331U (zh) 流量计
RU2676551C1 (ru) Автономный термоэлектрогенератор на трубопроводе
JP2009272327A (ja) 熱電変換システム
JP2009216222A (ja) 液化ガス気化器
JP6149407B2 (ja) 熱電発電システム
JP2012164815A (ja) 発電システム
JP2006217756A (ja) 熱電発電装置
JP2015005615A (ja) 配管への熱電発電素子の設置方法および熱電発電装置
CN111446887A (zh) 热能转化结构及井下温差发电装置
CN208690302U (zh) 一种有机无机复合材料热电发电装置
KR20170033940A (ko) 전기 기기용 냉각 장치
JP2011027190A (ja) 伸縮継手
TW201442550A (zh) 加熱器
TWM496191U (zh) 熱工系統監控器之熱能發電機組
JP2019090640A (ja) 蒸気流量計測装置

Legal Events

Date Code Title Description
A521 Request for written amendment filed

Free format text: JAPANESE INTERMEDIATE CODE: A523

Effective date: 20180705

A621 Written request for application examination

Free format text: JAPANESE INTERMEDIATE CODE: A621

Effective date: 20190618

A977 Report on retrieval

Free format text: JAPANESE INTERMEDIATE CODE: A971007

Effective date: 20200624

A131 Notification of reasons for refusal

Free format text: JAPANESE INTERMEDIATE CODE: A131

Effective date: 20200630

A521 Request for written amendment filed

Free format text: JAPANESE INTERMEDIATE CODE: A523

Effective date: 20200827

A131 Notification of reasons for refusal

Free format text: JAPANESE INTERMEDIATE CODE: A131

Effective date: 20201201

A521 Request for written amendment filed

Free format text: JAPANESE INTERMEDIATE CODE: A523

Effective date: 20210120

A02 Decision of refusal

Free format text: JAPANESE INTERMEDIATE CODE: A02

Effective date: 20210518

A521 Request for written amendment filed

Free format text: JAPANESE INTERMEDIATE CODE: A523

Effective date: 20210803

C60 Trial request (containing other claim documents, opposition documents)

Free format text: JAPANESE INTERMEDIATE CODE: C60

Effective date: 20210803

A911 Transfer to examiner for re-examination before appeal (zenchi)

Free format text: JAPANESE INTERMEDIATE CODE: A911

Effective date: 20210811

C21 Notice of transfer of a case for reconsideration by examiners before appeal proceedings

Free format text: JAPANESE INTERMEDIATE CODE: C21

Effective date: 20210817

TRDD Decision of grant or rejection written
A01 Written decision to grant a patent or to grant a registration (utility model)

Free format text: JAPANESE INTERMEDIATE CODE: A01

Effective date: 20210914

A61 First payment of annual fees (during grant procedure)

Free format text: JAPANESE INTERMEDIATE CODE: A61

Effective date: 20210929

R150 Certificate of patent or registration of utility model

Ref document number: 6953365

Country of ref document: JP

Free format text: JAPANESE INTERMEDIATE CODE: R150

R250 Receipt of annual fees

Free format text: JAPANESE INTERMEDIATE CODE: R250

R250 Receipt of annual fees

Free format text: JAPANESE INTERMEDIATE CODE: R250