JP2017519902A - スパッタリング・ターゲット用の金属中の無線周波数識別装置(rfid)の設置及び絶縁 - Google Patents
スパッタリング・ターゲット用の金属中の無線周波数識別装置(rfid)の設置及び絶縁 Download PDFInfo
- Publication number
- JP2017519902A JP2017519902A JP2016569883A JP2016569883A JP2017519902A JP 2017519902 A JP2017519902 A JP 2017519902A JP 2016569883 A JP2016569883 A JP 2016569883A JP 2016569883 A JP2016569883 A JP 2016569883A JP 2017519902 A JP2017519902 A JP 2017519902A
- Authority
- JP
- Japan
- Prior art keywords
- plug
- backing plate
- hole
- composite
- alloy
- Prior art date
- Legal status (The legal status is an assumption and is not a legal conclusion. Google has not performed a legal analysis and makes no representation as to the accuracy of the status listed.)
- Pending
Links
Images
Classifications
-
- H—ELECTRICITY
- H01—ELECTRIC ELEMENTS
- H01J—ELECTRIC DISCHARGE TUBES OR DISCHARGE LAMPS
- H01J37/00—Discharge tubes with provision for introducing objects or material to be exposed to the discharge, e.g. for the purpose of examination or processing thereof
- H01J37/32—Gas-filled discharge tubes
- H01J37/32917—Plasma diagnostics
- H01J37/32935—Monitoring and controlling tubes by information coming from the object and/or discharge
-
- C—CHEMISTRY; METALLURGY
- C23—COATING METALLIC MATERIAL; COATING MATERIAL WITH METALLIC MATERIAL; CHEMICAL SURFACE TREATMENT; DIFFUSION TREATMENT OF METALLIC MATERIAL; COATING BY VACUUM EVAPORATION, BY SPUTTERING, BY ION IMPLANTATION OR BY CHEMICAL VAPOUR DEPOSITION, IN GENERAL; INHIBITING CORROSION OF METALLIC MATERIAL OR INCRUSTATION IN GENERAL
- C23C—COATING METALLIC MATERIAL; COATING MATERIAL WITH METALLIC MATERIAL; SURFACE TREATMENT OF METALLIC MATERIAL BY DIFFUSION INTO THE SURFACE, BY CHEMICAL CONVERSION OR SUBSTITUTION; COATING BY VACUUM EVAPORATION, BY SPUTTERING, BY ION IMPLANTATION OR BY CHEMICAL VAPOUR DEPOSITION, IN GENERAL
- C23C14/00—Coating by vacuum evaporation, by sputtering or by ion implantation of the coating forming material
- C23C14/22—Coating by vacuum evaporation, by sputtering or by ion implantation of the coating forming material characterised by the process of coating
- C23C14/34—Sputtering
- C23C14/3407—Cathode assembly for sputtering apparatus, e.g. Target
-
- G—PHYSICS
- G06—COMPUTING OR CALCULATING; COUNTING
- G06K—GRAPHICAL DATA READING; PRESENTATION OF DATA; RECORD CARRIERS; HANDLING RECORD CARRIERS
- G06K19/00—Record carriers for use with machines and with at least a part designed to carry digital markings
- G06K19/06—Record carriers for use with machines and with at least a part designed to carry digital markings characterised by the kind of the digital marking, e.g. shape, nature, code
- G06K19/067—Record carriers with conductive marks, printed circuits or semiconductor circuit elements, e.g. credit or identity cards also with resonating or responding marks without active components
- G06K19/07—Record carriers with conductive marks, printed circuits or semiconductor circuit elements, e.g. credit or identity cards also with resonating or responding marks without active components with integrated circuit chips
- G06K19/077—Constructional details, e.g. mounting of circuits in the carrier
- G06K19/07749—Constructional details, e.g. mounting of circuits in the carrier the record carrier being capable of non-contact communication, e.g. constructional details of the antenna of a non-contact smart card
-
- H—ELECTRICITY
- H01—ELECTRIC ELEMENTS
- H01J—ELECTRIC DISCHARGE TUBES OR DISCHARGE LAMPS
- H01J37/00—Discharge tubes with provision for introducing objects or material to be exposed to the discharge, e.g. for the purpose of examination or processing thereof
- H01J37/32—Gas-filled discharge tubes
- H01J37/34—Gas-filled discharge tubes operating with cathodic sputtering
-
- H—ELECTRICITY
- H01—ELECTRIC ELEMENTS
- H01J—ELECTRIC DISCHARGE TUBES OR DISCHARGE LAMPS
- H01J37/00—Discharge tubes with provision for introducing objects or material to be exposed to the discharge, e.g. for the purpose of examination or processing thereof
- H01J37/32—Gas-filled discharge tubes
- H01J37/34—Gas-filled discharge tubes operating with cathodic sputtering
- H01J37/3402—Gas-filled discharge tubes operating with cathodic sputtering using supplementary magnetic fields
- H01J37/3405—Magnetron sputtering
-
- H—ELECTRICITY
- H01—ELECTRIC ELEMENTS
- H01J—ELECTRIC DISCHARGE TUBES OR DISCHARGE LAMPS
- H01J37/00—Discharge tubes with provision for introducing objects or material to be exposed to the discharge, e.g. for the purpose of examination or processing thereof
- H01J37/32—Gas-filled discharge tubes
- H01J37/34—Gas-filled discharge tubes operating with cathodic sputtering
- H01J37/3411—Constructional aspects of the reactor
- H01J37/3414—Targets
- H01J37/3417—Arrangements
Landscapes
- Chemical & Material Sciences (AREA)
- Engineering & Computer Science (AREA)
- Physics & Mathematics (AREA)
- Plasma & Fusion (AREA)
- Analytical Chemistry (AREA)
- Chemical Kinetics & Catalysis (AREA)
- Materials Engineering (AREA)
- Mechanical Engineering (AREA)
- Metallurgy (AREA)
- Organic Chemistry (AREA)
- Microelectronics & Electronic Packaging (AREA)
- General Physics & Mathematics (AREA)
- Theoretical Computer Science (AREA)
- Computer Hardware Design (AREA)
- Physical Vapour Deposition (AREA)
Abstract
スパッタ・ターゲット/バッキング・プレート組立体のためのRFIDタグ格納複合体。穴は、ターゲットとバッキング・プレートのいずれかに設けられて、栓の密着収容に適応している。栓は、RFIDタグを中に支承するように構成された凹状部分を含む。【選択図】 図1
Description
関連出願の相互参照
本出願は、2014年5月30日出願の米国仮特許出願番号第62/004,939号と2014年12月16日出願の米国仮特許出願第62/092,419号の優先権の利益を享受する。
本出願は、2014年5月30日出願の米国仮特許出願番号第62/004,939号と2014年12月16日出願の米国仮特許出願第62/092,419号の優先権の利益を享受する。
本発明は、スパッタ・ターゲット(sputter target)/バッキング・プレート(backing plate)組立体(assembly)に関するが、栓(plug)及びこれに対応する穴(bore)によって、当該ターゲットあるいは当該バッキング・プレートのいずれかに埋め込まれるRFIDタグ(RFID tag)を備えており、RFID読取器(RFID reader)との読取り/書込み通信のため、当該チップを正確に位置決めするように構成されている。
無線周波数識別(radio frequency identification: RFID)技術は、多様な環境で使用されて、多様な物品の無線自動識別装置及び機能を提供する。RFIDシステムは一般的に、識別される物品または装置に取り付けられる「タグ(tag)」と呼ばれるトランスポンダー(transponder)あるいは応答器と、当該トランスポンダーと通信する「タグ」読取器(tag reader)と、を含む。
多くの場合、タグまたはトランスポンダーは、アンテナを介してRFタグ読取器によって当該トランスポンダーに送信されてきたワイヤレス質問信号(a wireless interrogation signal)に応答する。この応答がコンピュータへ転送されて、当該応答は使用可能なフォーマットに変換される。
スパッタ被覆法または物理的成膜法は、多様な基板の上に材料薄層の付着に広く使用されている。基本的に、このプロセスは、基板上の薄膜または薄層として付着される材料で形成される面を有するスパッタ・ターゲットへのガス・イオン照射を必要とする。ターゲットへのイオン照射により、スパッタされるターゲット材料の原子または分子が生ずるばかりでなく、ターゲットにかなりの熱エネルギーが付与される。ターゲットとの熱交換関係で配置されている熱伝導バッキング・プレートの真下または周囲を一般的に循環する冷却流体の使用により、この熱が放散される。
カソード組立体(cathode assembly)は、付着面で真空室(evacuated chamber)と接し、その対向面で冷却水と接している。各表面は、セラミック・リングによって圧縮されてシールを完成させるOリングを有する必要がある。これらのシールはカソード組立体の性能にとって不可欠であるので、カソード組立体への追加特徴はこれらのシールを低下させてはならない。
ターゲットは、不活性ガス、好ましくはアルゴンを含有する真空室にアノードとともに載置されるカソード組立体の一部を形成する。カソード及びアノードには高圧電界が印加される。カソードから噴射された電子との衝突により、不活性ガスがイオン化される。正電荷のガス・イオンがカソードに誘引され、ターゲット表面との衝突時にターゲット材料を放散する。放散されたターゲット材料は、真空容器(evacuated enclosure)を横切って、普通はアノードに近接している所望の基板の上に薄膜として付着する。
典型的なターゲット・カソード組立体では、非磁性バッキング・プレートにターゲットが装着される。ターゲットへのイオン照射により発生される熱を取り除くように、バッキング・プレートは普通、水冷される。ターゲットの露出面の周囲に延在するループまたはトンネルの形の磁界を形成するために、磁石は、典型的には、周知の配置でバッキング・プレートの直下に配設される。
過去においては、ターゲットのフランジ部分の近くにタグまたはチップを封入するためにエポキシを利用して、RFIDタグが接着されていた。これらのエポキシ構造を設けるのは手作業工程で行われていたため、側壁からチップまでの距離は不均一となり、複数の組立体の間で均一な最適化は行われなかった。さらに、エポキシの配合は変動し、気泡を含有することが多く、RF信号の受信及び送信に悪影響を与えていた。
一つの例示的実施形態においては、RFIDタグが組立体に埋め込まれるタイプのものとして、スパッタ・ターゲット/バッキング・プレート組立体が提供される。そのため、バッキング・プレートまたはスパッタ・ターゲットの一方に形成された穴と、穴への密着挿入に適した栓とを含む格納複合体(containment combination)が示されている。栓は、外面と凹状部分(recessed part)とを含む。栓の凹状部分の少なくとも一部分と境界を接する栓の中実部が設けられている。栓の凹状部分は、RFIDタグを中に確実に収容するように構成されている。Oリングは、RFIDタグが穴に収容された時に、栓を密封する。
他の例示的実施形態において、バッキング・プレートまたはターゲットの穴は、Oリングが圧縮されて真空シールまたは水密シールを形成するように求められている。表面の一方に単に装着されるRFIDタグは、適切なシールを形成できない。
他の例示的実施形態においては、バッキング・プレートの表面部分の周囲に沿って穴が配置されている。場合によっては、バッキング・プレートのこの表面は、冷却水の衝突に適したバッキング・プレートの裏側または水側に設けられている。
他の実施形態においては、栓及びOリングはわずかな変位を可能にしている。場合によっては、真空シールと水密シールのいずれかに有効なシールを形成するのに、これは不可欠であろう。
その他の実施形態においては、栓の外面とバッキング・プレートの周囲部分とは、平面状表面を共に画定する。
その他の実施形態において、栓は周囲溝部を有している。穴の表面には別の溝部が形成されている。栓の周囲溝部と穴に設けられたこの第2溝部とは、穴への栓の密着挿入時に、面相互が組み合わされた表面を画定する。
当該栓の凹状部分(recess portion)は、当該凹状部分での当該チップの載置及び除去を容易にするように小型工具その他の挿入に適した工具設置空洞(a tool installation concavity)を含んでいる。さらに、ある実施形態においては、当該栓の凹状部分は平行四辺形により画定され、その各辺は丸み部で別の辺に接続されている。さらに、ある実施形態において、当該凹状部分の各辺は、当該栓の断面境界から等距離にある。
さらなる実施形態では、当該平行四辺形、つまり当該栓の凹状エリアの四辺による形態は、長方形である。
好適な実施形態において、栓は穴にスナップ嵌めされ、当該栓はプラスチック材料、すなわち「Delrin」アセタール・ホモポリマーから成る。
別の好適な実施形態において、Oリング・シールは、エポキシ溶液のように養生時間(cure time)を必要としない。
バッキング・プレートは、アルミニウム合金または銅合金などの金属から成る。
以降、本発明のある実施形態についての添付図面を参照して、本発明がさらに説明される。これらの図面は、ある発明実施形態を例示するものであって、本発明の限定と解釈されるべきではない。
図1は、RFIDチップと、チップ収納栓(chip housing plug)と、チップ及び栓を受け入れるバッキング・プレートの穴と、の複合体を示す、ターゲット/バッキング・プレート組立体の裏側または水側の斜視図である。
図2は、バッキング・プレートの穴の底部に沿って配置するのに適した栓の開放端部側から見たチップ収納栓の底面図である。
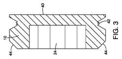
図3は、図2の直線及び矢印3−3に沿った栓の断面図である。
図4は、栓の凹状エリアにチップが密着状態で封入された状態で示されていることを除いて、図2に示されているものと類似した平面図である。
図1には、バッキング・プレート2の水側または裏側が示されている。当該バッキング・プレート2の裏側に対して反対の側に沿ってスパッタ・ターゲット(不図示)が載置され、当該ターゲットのフランジが当該バッキング・プレート2の外周囲を被覆していることに注目すべきである。図1に示された当該バッキング・プレート2の側面は、冷却水回路や類似の設計がここで当該バッキング・プレートに衝突して当該被覆状態のターゲットから動作中に熱を除去するので、一般的に水側と呼ばれる。
図1をさらに検討すると、バッキング・プレートのこの水側には穴4が設けられている。当該穴は、当該穴の周囲に形成されている溝部6を含む。RFIDチップはこの図では8として示されており、見て分かるように、チップ収納具(つまり栓)10と穴4の底面との間に配置されている。Oリング12が栓の周囲に設けられ、当該バッキング・プレートに形成された溝部6への収容に適している。
図2は、栓10のさらなる特徴を図示している。当該栓は、凹状部分24を取り囲む中実部20を含む。当該凹状部分は、チップの密着収容に適している。図のように、当該凹状部分は概ね、辺が交わる各々の部分に丸すみ部26、28、30、32が設けられた平行四辺形として形成されている。付加的に、辺の一つには設置用空洞34が設けられている。この空洞34は、凹状部分24に対するチップの載置及び除去を助けるように小型工具その他の挿入に適している。
図3に図示された実施形態では、栓の外面40が示されている。栓が穴4に完全に収容された時に、この外面40により、バッキング・プレート2の裏側に滑らかな平面状表面が得られる。外面40の近くにある栓の上側部分には、溝部42が設けられている。この溝部42は、図1に示されたOリング12を収容し、スパッタリング工程の動作中または中断中にバッキング・プレート2と衝突する冷却水その他からRFIDチップを密封する水密シールとなるように、図1に示された穴の溝部6と係合する。バッキング・プレートの穴4への栓10の摩擦嵌めまたはスナップ嵌めを容易にするように、栓10の底側には傾斜エッジ44が形成されている。こうして当該穴での当該栓の摩擦嵌めまたはスナップ嵌めのため、当該穴内での当該栓の確実な装着を行うのに、溶接や他の広範囲接合技術は必要とされない。
図4において、RFIDチップは凹状部分24の中へ密着されて示されている。当該栓の中実部20は凹状部分24を取り囲み、中実部と凹状部分との間の境界は、線形表面50、52、54、56と上述した丸すみ部26、28、30、32とにより画定されている。本発明のこの実施形態において、チップ8の側方部分の各々が、図面では60として示された栓の断面周囲境界からほぼ等距離であることに注意してほしい。
こうして、本発明では、スパッタリング工程で見られる要素、とりわけ液体、からのRFIDタグの隔離とともに最大の読取り/書込み範囲を可能にするのに最適な位置が、スパッタリング・ターゲットのフランジ部分と下方にあるバッキング・プレートの周囲とで維持されることが、上記から明白である。スナップ嵌めは、人が栓及び関連のチップを両手のみで確実に押圧して所定箇所にスナップ結合できるように設計されている。これは、好ましくは「Derlin」ポリアセタール・ホモポリマーから作られて、収納部にチップを密封するOリングと嵌合する。こうしてチップは、精密に予定通りの寸法で水平方向と垂直方向の両方において最適な形で載置された状態となる。
上記のように、以前提案された設計では、チップをフランジに封入するのにエポキシが利用されていた。この先行技術設計は、側壁からの最適な距離を保証できず、エポキシの正確な配合も保証していない。エポキシ生成の準備に必要とされる手作業工程のため、エポキシには気泡形成が結果的に生じることが多い。
本発明の設計では、市販の識別タグを保持するのに「Darlin」を利用する。比較すると、エポキシは3.6の誘電率を有するのに対して、Darlinは3.1の誘電率を有する。誘電率が高くなるほど、それが反射するRFエネルギーは多くなり、そしてアンテナの性能をより低下させる。
本発明の設計では、市販の識別タグを保持するのに「Derlin」を利用する。比較すると、エポキシは、現場で利用可能となる前に必要とされる養生時間を有するのに対して、Derlin組立体は養生時間を必要としない。一般的な養生時間は20分から24時間である。養生時間が不要になると、製造中に組立体を汚損するリスクが低くなり、サイクル時間を短縮する。
スパッタリング・ターゲットでの使用について我々が知っている他の金属中の収納(in-metal housings)は他にない。この収納は、質問器(interrogator)への最適な信号強度での応答を可能にして、最大の読取り/書込み能力を与えるように設計されている。さらに、市販の従来の加工設計は、要素、とりわけ水、を製造から隔離するという要求を考慮していない。本発明の設計では、Oリングの利用により、RFID室へ水が流入するのを防止しながら、必要とされる正確な距離にチップを保持している。
本発明によるRFIDチップを備えるスパッタリング・ターゲット/バッキング・プレート組立体は、結果的にポケットの最適化をもたらす。これは、本来の装置製造者の設計指示に反することなく、最大の読取り/書込み範囲にわたってスパッタリング室との最適な二方向通信を必要とする。本発明は、適切な機能性についての本来の装置製造者による要求の設計空間を犠牲にしないように、金属表面に埋め込まれる必要がある。ポケット表面は外部アンテナの送信路に対して垂直にチップを維持し、またポケットはターゲット外径に一点で接しなければならない。
2 バッキング・プレート
4 穴
6 溝部
8 RFIDチップ
10 栓
12 Oリング
20 中実部
24 凹状部分
26、28、30、32 丸すみ部
34 設置空洞
40 栓の外面
42 溝部
44 傾斜エッジ
50、52、54、56 線形表面
60 断面周囲境界
4 穴
6 溝部
8 RFIDチップ
10 栓
12 Oリング
20 中実部
24 凹状部分
26、28、30、32 丸すみ部
34 設置空洞
40 栓の外面
42 溝部
44 傾斜エッジ
50、52、54、56 線形表面
60 断面周囲境界
Claims (14)
- バッキング・プレートまたはスパッタ・ターゲットの一方に形成された穴と、当該穴への密着挿入に適した栓と、を含み、
当該栓が外面と凹状部分と中実部とを含み、当該栓の当該中実部が当該凹状部分の少なくとも一部分と境界を接し、
当該凹状部分が、当該RFIDタグを中に確実に収容するように構成されている、
スパッタ・ターゲット/バッキング・プレート組立体におけるRFIDタグ格納複合体。 - 当該バッキング・プレートの周囲部分に当該穴が配置される、請求項1に記載の複合体。
- 当該栓の当該外面と当該バッキング・プレートの当該周囲部分とが共に平面状表面を画定する、請求項2に記載の複合体。
- 当該穴に当該栓を密封するOリングをさらに含み、当該栓が周囲溝部を含み、当該穴の表面に第2溝部が形成されて、当該周囲溝部と当該第2溝部とが、当該穴への当該栓の密着挿入時に係合界面となり、当該Oリングが当該界面に嵌着する、請求項3に記載の複合体。
- 当該凹部への当該チップの載置を容易にする工具の挿入に適した工具設置空洞を当該栓の凹部が含む、請求項4に記載の複合体。
- 当該栓の凹部が平行四辺形により画定され、当該平行四辺形の各辺が丸み部で互いに接続される、請求項5に記載の複合体。
- 当該辺の各々が、当該栓の当該断面境界から等しい距離にある、請求項6に記載の複合体。
- 当該平行四辺形が長方形である、請求項7に記載の複合体。
- 当該栓が当該穴にスナップ嵌めされる、請求項1に記載の複合体。
- 当該栓がプラスチックから成る、請求項9に記載の複合体。
- 当該プラスチックがアセタール・ホモポリマーである、請求項10に記載の複合体。
- 当該バッキング・プレートが金属から成る、請求項9に記載の複合体。
- 当該金属が、Al、Al合金、Cu、Cu合金、Ti、Ti合金、Mo、Mo合金、Ta、Ta合金、Ni、Ni合金、Co、またはCo合金である、請求項12に記載の複合体。
- 当該Al合金がAl0.5Cuである、請求項13に記載の複合体。
Applications Claiming Priority (5)
| Application Number | Priority Date | Filing Date | Title |
|---|---|---|---|
| US201462004939P | 2014-05-30 | 2014-05-30 | |
| US62/004,939 | 2014-05-30 | ||
| US201462092419P | 2014-12-16 | 2014-12-16 | |
| US62/092,419 | 2014-12-16 | ||
| PCT/US2015/030561 WO2015183554A1 (en) | 2014-05-30 | 2015-05-13 | Radio frequency identification in-metal installation and isolation for sputtering target |
Publications (1)
| Publication Number | Publication Date |
|---|---|
| JP2017519902A true JP2017519902A (ja) | 2017-07-20 |
Family
ID=54699542
Family Applications (1)
| Application Number | Title | Priority Date | Filing Date |
|---|---|---|---|
| JP2016569883A Pending JP2017519902A (ja) | 2014-05-30 | 2015-05-13 | スパッタリング・ターゲット用の金属中の無線周波数識別装置(rfid)の設置及び絶縁 |
Country Status (6)
| Country | Link |
|---|---|
| US (1) | US20170098529A1 (ja) |
| JP (1) | JP2017519902A (ja) |
| KR (1) | KR20170012274A (ja) |
| CN (1) | CN106462789A (ja) |
| TW (1) | TW201544615A (ja) |
| WO (1) | WO2015183554A1 (ja) |
Cited By (1)
| Publication number | Priority date | Publication date | Assignee | Title |
|---|---|---|---|---|
| JP2023507093A (ja) * | 2019-12-19 | 2023-02-21 | ラム リサーチ コーポレーション | 消耗チャンバ部品におけるカプセル化rfid |
Families Citing this family (4)
| Publication number | Priority date | Publication date | Assignee | Title |
|---|---|---|---|---|
| WO2015138091A1 (en) * | 2014-03-14 | 2015-09-17 | Applied Materials, Inc. | Smart chamber and smart chamber components |
| WO2018140369A1 (en) * | 2017-01-25 | 2018-08-02 | Materion Corporation | Sputtering target having rfid information |
| BE1026859B1 (nl) * | 2018-10-22 | 2020-07-14 | Soleras Advanced Coatings Bv | Magnetron met geïntegreerd circuit voor het monitoren en controle |
| KR102165392B1 (ko) * | 2019-05-15 | 2020-10-16 | 와이엠씨 주식회사 | 임계소모상태의 검출이 가능한 스퍼터링장치용 타겟 |
Family Cites Families (13)
| Publication number | Priority date | Publication date | Assignee | Title |
|---|---|---|---|---|
| US5284561A (en) * | 1991-11-13 | 1994-02-08 | Materials Research Corporation | Method and apparatus for sputter coating employing machine readable indicia carried by target assembly |
| JPH09176849A (ja) * | 1995-12-22 | 1997-07-08 | Applied Materials Inc | スパッタリングターゲットのアッセンブリ |
| FR2784364B1 (fr) * | 1998-10-13 | 2000-12-15 | Plastic Omnium Cie | Bac pour la collecte de dechets, equipe d'un transpondeur |
| KR100793464B1 (ko) * | 2000-11-20 | 2008-01-14 | 시게이트 테크놀로지 엘엘씨 | Rfid 태그 및 이를 디스크 드라이브에 부착하는 방법 |
| DE60136098D1 (de) * | 2000-12-18 | 2008-11-20 | Tosoh Smd Inc | Niedrigtemperaturverfahren zur sputtertarget/grundungen |
| US6708870B2 (en) * | 2002-05-24 | 2004-03-23 | Praxair S.T. Technology, Inc. | Method for forming sputter target assemblies |
| US20050051606A1 (en) * | 2003-09-09 | 2005-03-10 | Rene Perrot | Method of manufacturing an extended life sputter target assembly and product thereof |
| US7861931B2 (en) * | 2006-11-06 | 2011-01-04 | Mastercard International, Inc. | Method, apparatus, assembly and kit for identification token |
| US7901552B2 (en) * | 2007-10-05 | 2011-03-08 | Applied Materials, Inc. | Sputtering target with grooves and intersecting channels |
| US8133368B2 (en) * | 2008-10-31 | 2012-03-13 | Applied Materials, Inc. | Encapsulated sputtering target |
| KR20140015367A (ko) * | 2011-02-14 | 2014-02-06 | 토소우 에스엠디, 인크 | 확산-접합 스퍼터링 타겟 조립체 및 그 제조 방법 |
| US8776644B2 (en) * | 2012-01-23 | 2014-07-15 | Stanley Black & Decker, Inc. | Electronic identifier attachment for inventory items |
| WO2015138091A1 (en) * | 2014-03-14 | 2015-09-17 | Applied Materials, Inc. | Smart chamber and smart chamber components |
-
2015
- 2015-05-12 TW TW104115002A patent/TW201544615A/zh unknown
- 2015-05-13 WO PCT/US2015/030561 patent/WO2015183554A1/en not_active Ceased
- 2015-05-13 US US15/314,554 patent/US20170098529A1/en not_active Abandoned
- 2015-05-13 KR KR1020167033267A patent/KR20170012274A/ko not_active Withdrawn
- 2015-05-13 CN CN201580028521.0A patent/CN106462789A/zh active Pending
- 2015-05-13 JP JP2016569883A patent/JP2017519902A/ja active Pending
Cited By (2)
| Publication number | Priority date | Publication date | Assignee | Title |
|---|---|---|---|---|
| JP2023507093A (ja) * | 2019-12-19 | 2023-02-21 | ラム リサーチ コーポレーション | 消耗チャンバ部品におけるカプセル化rfid |
| JP7657802B2 (ja) | 2019-12-19 | 2025-04-07 | ラム リサーチ コーポレーション | 消耗チャンバ部品におけるカプセル化rfid |
Also Published As
| Publication number | Publication date |
|---|---|
| US20170098529A1 (en) | 2017-04-06 |
| WO2015183554A1 (en) | 2015-12-03 |
| KR20170012274A (ko) | 2017-02-02 |
| TW201544615A (zh) | 2015-12-01 |
| CN106462789A (zh) | 2017-02-22 |
Similar Documents
| Publication | Publication Date | Title |
|---|---|---|
| JP2017519902A (ja) | スパッタリング・ターゲット用の金属中の無線周波数識別装置(rfid)の設置及び絶縁 | |
| US10930479B2 (en) | Smart chamber and smart chamber components | |
| JP5651145B2 (ja) | 物理蒸着用ターゲット構造物 | |
| KR101505017B1 (ko) | 안테나용 전자파 차폐 시트 및 그 제조방법과, 이를 포함하는 안테나 및 안테나를 구비하는 휴대 단말용 배터리 팩 | |
| US7561015B2 (en) | Magnet secured in a two part shell | |
| WO2007146502A3 (en) | Bonded chip assembly with a micro-mover for microelectromechanical systems | |
| GB2147916A (en) | Cathodic evaporation of ferromagnetic targets | |
| US20100213048A1 (en) | Magnetron sputtering cathode, magnetron sputtering apparatus, and method of manufacturing magnetic device | |
| CN115023777A (zh) | 屏蔽磁铁的制造方法及基于其制造的屏蔽磁铁 | |
| US20060017520A1 (en) | Ferrite circulator having alignment members | |
| JPH06108241A (ja) | スパッタリング装置 | |
| CN105470181A (zh) | 一种遮蔽盘传输装置及反应腔室 | |
| KR101597956B1 (ko) | 이동통신용 안테나 복합체 | |
| TWI515322B (zh) | A magnetic material sputtering target is provided on the back of the target | |
| US20070007130A1 (en) | Enhanced magnetron sputtering target | |
| TWI457456B (zh) | 介電射頻濺射靶上的腐蝕輪廓控制 | |
| US20090127107A1 (en) | Magnetron sputtering cathode mechanism | |
| JP2009062568A (ja) | マグネトロンスパッタリング成膜装置 | |
| US20250243578A1 (en) | Mask and Preparation Method Thereof | |
| WO2007066204A2 (en) | Apparatus and method for adapting a conductive object to accept a communication device | |
| US10115574B2 (en) | Hermetically sealed magnetic keeper cathode | |
| JP2016003388A (ja) | 板状部材の固定機構、pvd処理装置及び板状部材の固定方法 | |
| JP2015218382A (ja) | 部品収納具および部品保持具 | |
| JP2602807B2 (ja) | スパツタ用ターゲツトアセンブリ | |
| JPH0368766A (ja) | スパッタリング装置 |