JP2017190815A - 配管構造、及びボイラシステム - Google Patents

配管構造、及びボイラシステム Download PDF

Info

Publication number
JP2017190815A
JP2017190815A JP2016079791A JP2016079791A JP2017190815A JP 2017190815 A JP2017190815 A JP 2017190815A JP 2016079791 A JP2016079791 A JP 2016079791A JP 2016079791 A JP2016079791 A JP 2016079791A JP 2017190815 A JP2017190815 A JP 2017190815A
Authority
JP
Japan
Prior art keywords
pipe
piping
deformation
cross
steel frame
Prior art date
Legal status (The legal status is an assumption and is not a legal conclusion. Google has not performed a legal analysis and makes no representation as to the accuracy of the status listed.)
Granted
Application number
JP2016079791A
Other languages
English (en)
Other versions
JP6809807B2 (ja
Inventor
邦宏 森下
Kunihiro Morishita
邦宏 森下
基規 加藤
Motoki Kato
基規 加藤
将樹 下野
Masaki Shimono
将樹 下野
Current Assignee (The listed assignees may be inaccurate. Google has not performed a legal analysis and makes no representation or warranty as to the accuracy of the list.)
Mitsubishi Power Ltd
Original Assignee
Mitsubishi Hitachi Power Systems Ltd
Priority date (The priority date is an assumption and is not a legal conclusion. Google has not performed a legal analysis and makes no representation as to the accuracy of the date listed.)
Filing date
Publication date
Application filed by Mitsubishi Hitachi Power Systems Ltd filed Critical Mitsubishi Hitachi Power Systems Ltd
Priority to JP2016079791A priority Critical patent/JP6809807B2/ja
Priority to PCT/JP2017/014982 priority patent/WO2017179620A1/ja
Priority to TW106112132A priority patent/TWI628374B/zh
Publication of JP2017190815A publication Critical patent/JP2017190815A/ja
Application granted granted Critical
Publication of JP6809807B2 publication Critical patent/JP6809807B2/ja
Active legal-status Critical Current
Anticipated expiration legal-status Critical

Links

Images

Classifications

    • EFIXED CONSTRUCTIONS
    • E04BUILDING
    • E04HBUILDINGS OR LIKE STRUCTURES FOR PARTICULAR PURPOSES; SWIMMING OR SPLASH BATHS OR POOLS; MASTS; FENCING; TENTS OR CANOPIES, IN GENERAL
    • E04H5/00Buildings or groups of buildings for industrial or agricultural purposes
    • E04H5/02Buildings or groups of buildings for industrial purposes, e.g. for power-plants or factories
    • FMECHANICAL ENGINEERING; LIGHTING; HEATING; WEAPONS; BLASTING
    • F16ENGINEERING ELEMENTS AND UNITS; GENERAL MEASURES FOR PRODUCING AND MAINTAINING EFFECTIVE FUNCTIONING OF MACHINES OR INSTALLATIONS; THERMAL INSULATION IN GENERAL
    • F16FSPRINGS; SHOCK-ABSORBERS; MEANS FOR DAMPING VIBRATION
    • F16F15/00Suppression of vibrations in systems; Means or arrangements for avoiding or reducing out-of-balance forces, e.g. due to motion
    • F16F15/02Suppression of vibrations of non-rotating, e.g. reciprocating systems; Suppression of vibrations of rotating systems by use of members not moving with the rotating systems
    • F16F15/04Suppression of vibrations of non-rotating, e.g. reciprocating systems; Suppression of vibrations of rotating systems by use of members not moving with the rotating systems using elastic means
    • F16F15/08Suppression of vibrations of non-rotating, e.g. reciprocating systems; Suppression of vibrations of rotating systems by use of members not moving with the rotating systems using elastic means with rubber springs ; with springs made of rubber and metal
    • FMECHANICAL ENGINEERING; LIGHTING; HEATING; WEAPONS; BLASTING
    • F16ENGINEERING ELEMENTS AND UNITS; GENERAL MEASURES FOR PRODUCING AND MAINTAINING EFFECTIVE FUNCTIONING OF MACHINES OR INSTALLATIONS; THERMAL INSULATION IN GENERAL
    • F16LPIPES; JOINTS OR FITTINGS FOR PIPES; SUPPORTS FOR PIPES, CABLES OR PROTECTIVE TUBING; MEANS FOR THERMAL INSULATION IN GENERAL
    • F16L27/00Adjustable joints; Joints allowing movement
    • FMECHANICAL ENGINEERING; LIGHTING; HEATING; WEAPONS; BLASTING
    • F16ENGINEERING ELEMENTS AND UNITS; GENERAL MEASURES FOR PRODUCING AND MAINTAINING EFFECTIVE FUNCTIONING OF MACHINES OR INSTALLATIONS; THERMAL INSULATION IN GENERAL
    • F16LPIPES; JOINTS OR FITTINGS FOR PIPES; SUPPORTS FOR PIPES, CABLES OR PROTECTIVE TUBING; MEANS FOR THERMAL INSULATION IN GENERAL
    • F16L27/00Adjustable joints; Joints allowing movement
    • F16L27/10Adjustable joints; Joints allowing movement comprising a flexible connection only
    • FMECHANICAL ENGINEERING; LIGHTING; HEATING; WEAPONS; BLASTING
    • F22STEAM GENERATION
    • F22BMETHODS OF STEAM GENERATION; STEAM BOILERS
    • F22B37/00Component parts or details of steam boilers
    • F22B37/02Component parts or details of steam boilers applicable to more than one kind or type of steam boiler
    • F22B37/10Water tubes; Accessories therefor

Landscapes

  • Engineering & Computer Science (AREA)
  • General Engineering & Computer Science (AREA)
  • Mechanical Engineering (AREA)
  • Architecture (AREA)
  • Physics & Mathematics (AREA)
  • Aviation & Aerospace Engineering (AREA)
  • Combustion & Propulsion (AREA)
  • Acoustics & Sound (AREA)
  • Chemical & Material Sciences (AREA)
  • Thermal Sciences (AREA)
  • Civil Engineering (AREA)
  • Structural Engineering (AREA)
  • Vibration Prevention Devices (AREA)
  • Buildings Adapted To Withstand Abnormal External Influences (AREA)
  • Joints Allowing Movement (AREA)
  • Supports For Pipes And Cables (AREA)

Abstract

【課題】免震装置によって支持されている第一の設備と、免震装置によって支持されていない第二の設備との間の相対位置が大きく変動した場合においても、配管に発生する変形を吸収する。【解決手段】第一の設備11を支持する支持鉄骨16と支持鉄骨16を支持する免震装置17を有する支持構造体14に固定された配管2であって、第一の設備11と、免震装置によって支持されていない第二の設備とを接続する配管2を有する配管構造1であって、配管2と、配管2に設けられた変形吸収部3と、を有する配管構造1を提供する。【選択図】図2

Description

本発明は、免震装置を有する支持構造体に固定されている配管を有する配管構造、及びボイラシステムに関する。
発電用石炭焚きボイラ、重油焚きボイラといった大型ボイラは、通常、脱硝装置、エアヒータをはじめとする附帯機器とともに支持構造体の支持鉄骨に支持されている。
ボイラの支持構造体としては、積層ゴム等によって形成されて、支持構造体を構成する支持鉄骨を支持する免震装置を有するものが知られている。特許文献1には、作用する地震力を低減するために、支持鉄骨を構成する柱に生じる水平反力の大きさに応じて免震特性が設定されている免震装置が記載されている。
特開2015−121045号公報
ところで、ボイラには、例えば、タービンのような設備へ供給する高温・高圧の蒸気が流れる配管が接続される。ボイラが免震装置を有する支持構造体によって支持されている場合、免震装置によって支持されている支持鉄骨の水平方向の変位が大きくなるため、ボイラ側の配管とタービン側の配管との間の配管に大きな変形が生じる。
このような変形を吸収するために、ユニバーサルジョイント等を用いて変形を許容する構造等が知られているが、配管を流れる流体が高圧であると、流体の漏れが生じる可能性があるという課題があった。
この発明は、免震装置によって支持されている第一の設備と、免震装置によって支持されていない第二の設備との間の相対位置が大きく変動した場合においても、配管にかかる変形を吸収することができる配管構造、及びボイラシステムを提供することを目的とする。
本発明の第一の態様によれば、配管構造は、第一の設備を支持する支持鉄骨と前記支持鉄骨を支持する免震装置を有する支持構造体に固定された配管であって、前記第一の設備と、前記免震装置によって支持されていない第二の設備とを接続する配管を有する配管構造であって、前記配管と、前記配管に設けられた変形吸収部と、を有する。
このような構成によれば、地震により第一の設備と第二の設備との間の相対位置が大きく変動した場合においても、変形吸収部によって配管構造にかかる変形を吸収することができる。
上記配管構造において、前記配管は、前記第一の設備側の第一の配管と、前記第二の設備側の第二の配管と、を有し、前記変形吸収部は、前記第一の配管の端部から前記第一の配管と交差する方向に延在する第一交差配管と、前記第二の配管の端部から前記第二の配管と交差する方向に延在する第二交差配管と、前記第一交差配管の端部と前記第二交差配管の端部とを接続する接続配管と、を有してよい。
このような構成によれば、それぞれの配管の曲げ変形、ねじれ変形によって、配管に生じる変形を吸収することができる。
上記配管構造において、前記第一の配管と前記第一交差配管とのなす角、前記第一交差配管と前記接続配管とのなす角、前記接続配管と前記第二交差配管とのなす角、及び前記第二交差配管と前記第二の配管とのなす角は、それぞれ直角であってよい。
このような構成によれば、変形吸収部をコンパクトに形成することができる。
上記配管構造において、前記第一の配管と前記第一交差配管とのなす角、及び前記第二交差配管と前記第二の配管とのなす角は、鈍角であり、前記接続配管は、前記第一の配管及び前記第二の配管に沿う方向に延在してよい。
このような構成によれば、配管を流れる流体の圧力損失を低減することができる。
上記配管構造において、前記配管と前記第一交差配管、前記第一交差配管と前記接続配管、前記接続配管と前記第二交差配管、及び第二交差配管と前記配管は、エルボによって接続されており、前記エルボのうち少なくとも一つは、前記配管よりも剛性が低い挙動を示してよい。
このような構成によれば、変形吸収部をよりコンパクトに形成することができる。
本発明の第二の態様によれば、ボイラシステムは、第一の設備を支持する支持鉄骨と、前記支持鉄骨を支持する免震装置を有する支持構造体と、前記免震装置によって支持されていない第二の設備と、上下方向に延在する上下配管と、水平方向に延在する水平配管と、を有する配管を有する上記配管構造と、を有し、前記変形吸収部は、前記上下配管と前記水平配管との接続部の近傍に設けられている。
上記ボイラシステムにおいて、前記支持鉄骨と前記配管との間のクリアランスが、解析に基づいて算定した前記配管の変形量の1.0−1.5倍程度に設定されてよい。
このような構成によれば、地震による変形を許容できるとともに、配管が最大限に変形した場合においても、確実に配管と支持鉄骨との接触を回避することができる。
上記ボイラシステムにおいて、解析に基づいて決定された前記配管の最大変形部と、前記支持鉄骨における前記最大変形部の対応箇所との少なくとも一方に、緩衝装置が設けられてよい。
このような構成によれば、想定外の地震が発生して配管と支持鉄骨とが接触する場合においても、配管の損傷を防止することができる。
本発明によれば、地震により第一の設備と第二の設備との間の相対位置が大きく変動した場合においても、変形吸収部によって配管構造にかかる変形を吸収することができる。
本発明の第一の実施形態のボイラシステムの概略構成図である。 本発明の第一の実施形態のボイラの斜視図である。 本発明の第一の実施形態の配管構造の斜視図である。 本発明の第一の実施形態の配管構造の作用を説明する側面図であり、支持鉄骨がX方向に移動した様子を示す図である。 本発明の第一の実施形態の配管構造の作用を説明する側面図であり、支持鉄骨がY方向に移動した様子を示す図である。 本発明の第二の実施形態のボイラの斜視図である。 本発明の第二の実施形態の配管構造の作用を説明する上面図であり、支持鉄骨がX方向に移動した様子を示す図である。 本発明の第三の実施形態の配管構造の正面図である。 本発明の第四の実施形態の配管構造の正面図である。 本発明の第五の実施形態の配管構造の概略側面図である。 本発明の第六の実施形態の配管構造の概略側面図である。 本発明の第六の実施形態の第一の変形例の配管構造の概略側面図である。 本発明の第六の実施形態の第二の変形例の配管構造の概略側面図である。
〔第一の実施形態〕
以下、本発明の第一の実施形態のボイラシステムについて図面を参照して詳細に説明する。
図1に示すように、本実施形態のボイラシステム10は、ボイラ11(第一の設備)と、タービン12(第二の設備)と、ボイラ11とタービン12とを接続する配管2を有する配管構造1と、を備えている。ボイラ11は、ボイラ本体13と、ボイラ本体13を支持するボイラ支持構造体14と、を有している。
ボイラ支持構造体14は、基礎15の上に設けられるものであり、支持鉄骨16と、支持鉄骨16を支持する複数の免震装置17と、を有している。
支持鉄骨16は、鉛直方向に延びる複数本の柱18と、水平方向に延びる複数本の梁19と、複数本の鉛直ブレース20と、を組み合わせて構成されている。ボイラ支持構造体14は、支持鉄骨16を構成する柱18の末端部分である柱脚18aを介して基礎15に立設されている。
ボイラ支持構造体14は、運転中の熱膨張を拘束しないようにするために、最上層の梁19に固定される複数本の吊棒22を介して、ボイラ本体13を支持鉄骨16の頂部から吊り下げている。ボイラ支持構造体14は、ボイラ本体13を水平方向への変位を規制するために、ボイラ本体13と支持鉄骨16の最外周に位置する柱18との間に水平方向に架け渡されるサポート23を介在させている。
ボイラ支持構造体14は、各々の柱脚18aの基部と基礎15の間に免震装置17を設置している。免震装置17は、例えば、積層ゴムなどによって形成されており、基礎15と支持鉄骨16とを分離し、地震が発生した場合に、支持鉄骨16の振動周期を長周期化することにより、地震による慣性力を低減させ、支持鉄骨16への地震による入力エネルギーを低減する装置である。
免震装置17としては、積層ゴムを利用した装置、すべり材を利用した装置、転がり支承を利用した装置等を採用することができる。免震装置17は、オイルダンパー等のダンパーを有してよい。
配管構造1は、ボイラ11と、免震装置17によって支持されていないタービン12とを接続する配管2を有している。配管2は、支持鉄骨16の柱18に沿って延在している。配管2は、配管固定具24によって支持鉄骨16の柱18に固定されている。配管2には、例えば、高温(例えば、550℃程度を超える)かつ高圧(例えば、15MPa程度を超える)の蒸気が流れている。
図2に示すように、配管構造1は、配管2と、配管2に設けられた変形吸収部3と、を有している。変形吸収部3は、地震が発生した場合に配管2に生じる変形を吸収する部位である。
なお、以下の説明において、上下方向をZ方向、Z方向に直交する一の水平方向をX方向、Z方向及びX方向に直交する水平方向をY方向とする。
配管2は、水平方向に延在する水平配管25と、上下方向に延在する上下配管26と、を有している。
水平配管25は、上下方向において、免震装置17に近い位置に配置されて、基礎15(図1参照)又はタービン12に固定されている。上下配管26は、配管固定具24を介して支持鉄骨16に固定されている。上下配管26と水平配管25とは、配管固定具24の下方にて互いに接続されている。上下配管26は、配管固定具24及び支持鉄骨16を介して免震装置17に支持されている。
地震が発生した場合、上下配管26は、水平方向(X方向とY方向の少なくとも一方)に大きく移動するが、水平配管25は、上下配管26と比較するとほとんど水平方向に移動することはない。
本実施形態の変形吸収部3は、上下配管26における配管固定具24の下方に設けられている。
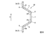
図3に示すように、配管構造1は、円筒形状の配管2と、配管2に設けられた変形吸収部3と、を有している。本実施形態において、配管2は、上下配管26(図2参照)である。
配管2は、ボイラ11側の第一の配管2aと、タービン12側の第二の配管2bと、を有している。第一の配管2a及び第二の配管2bは、同一線上に配置されて上下方向に延在している。第一の配管2aは第二の配管2bの上方に配置されている。変形吸収部3は、第一の配管2aと、第二の配管2bとの間に設けられている。
変形吸収部3は、第一の配管2aの端部(下端)から第一の配管2aと交差する方向に延在する第一交差配管5と、第二の配管2bの端部(上端)から第二の配管2bと交差する方向に延在する第二交差配管6と、第一交差配管5の端部と第二交差配管6の端部とを接続する接続配管7と、を有している。
配管2と配管2とは、エルボ8によって接続されている。エルボ8は、湾曲した円筒状の部材であり、本実施形態のエルボ8は、90°の角度で交差する配管同士を接続可能に形成されている。
本実施形態の変形吸収部3において、第一の配管2aと第一交差配管5とのなす角θ1、第一交差配管5と接続配管7とのなす角θ2、接続配管7と第二交差配管6とのなす角θ3、及び第二交差配管6と第二の配管2bとのなす角θ4は、それぞれ略直角(90°)である。
配管2及びエルボ8は、例えば、550℃程度を超えるような温度で使用可能な材料によって形成されている。また、配管2及びエルボ8のサイズは、15MPa程度を超えるような圧力に耐えうるサイズが選択されている。
次に、本実施形態の変形吸収部3の作用について説明する。
地震が発生すると、配管2が固定されている支持鉄骨16は、X方向、及びY方向に移動する。
図4に示すように、支持鉄骨16(図2参照)がX方向に移動すると、第一の配管2aがX方向に移動する。一方、第二の配管2bは、ほとんど移動しない。
第一の配管2aのX方向の変位は、変形吸収部3によって吸収される。第一の配管2aのX方向の変位は、第一の配管2a、第二の配管2b、及び接続配管7の曲げ変形と、第一交差配管5、及び第二交差配管6のねじり変形などによって吸収される。
図5に示すように、支持鉄骨16(図2参照)がY方向に移動すると、第一の配管2aがY方向に移動する。一方、第二の配管2bは、ほとんど移動しない。
第一の配管2aのY方向の変位は、変形吸収部3によって吸収される。第一の配管2aのY方向の変位は、第一の配管2a、第二の配管2b、第一交差配管5、第二交差配管6、接続配管7、及びエルボ8の曲げ変形によって吸収される。
即ち、変形吸収部3は、配管2の曲げ変形及びねじれ変形、エルボ8の曲げ変形等によって、地震時の水平方向の二方向に変位を吸収する。
上記実施形態によれば、配管構造1に変形吸収部3を設けることによって、地震により免震装置17によって支持されているボイラ11と、免震装置17によって支持されていないタービン12との間の相対位置が大きく変動した場合においても、配管2にかかる変形を吸収して配管2の変形量を許容することが可能となる。
また、変形吸収部3として、第一の配管2aの端部から第一の配管2aと交差する方向に延在する第一交差配管5と、第二の配管2bの端部から第二の配管2bと交差する方向に延在する第二交差配管6と、第一交差配管5の端部と第二交差配管6の端部とを接続する接続配管7と、を有する構造としたことによって、それぞれの配管の曲げ変形、ねじれ変形によって、配管2に生じる変形を吸収することができる。
また、第一の配管2aと第一交差配管5とのなす角θ1、第一交差配管5と接続配管7とのなす角θ2、接続配管7と第二交差配管6とのなす角θ3、及び第二交差配管6と第二の配管2bとのなす角θ4を、略直角としたことによって、変形吸収部3をコンパクトに形成することができる。
また、本実施形態の配管構造1は、配管2とエルボ8のみによって構成されている。これにより、ユニバーサルジョイント等を用いて変形を吸収する構造と比較して、蒸気の漏れを防ぐことができる。
〔第二の実施形態〕
以下、本発明の第二の実施形態の配管構造1について図面を参照して詳細に説明する。なお、本実施形態では、上述した第一の実施形態との相違点を中心に述べ、同様の部分についてはその説明を省略する。
図6に示すように、本実施形態の変形吸収部3は、水平配管25における上下配管26との接続部近傍に設けられている。本実施形態の第一の配管2a及び第二の配管2bは、水平方向に延在している。即ち、変形吸収部3は、上下配管26のみならず、上下配管26との接続部に近接していれば、水平配管25に設けてもよい。
図7に示すように、支持鉄骨16(図2参照)がX方向に移動すると、第一の配管2aがX方向に移動する。一方、第二の配管2bは、ほとんど移動しない。
第一の配管2aのX方向の変位は、変形吸収部3によって吸収される。第一の配管2aのX方向の変位は、第一の配管2a、及び第二の配管2bの軸方向の変形と、第一交差配管5、第二交差配管6、接続配管7、及びエルボ8の曲げ変形によって吸収される。
支持鉄骨16(図2参照)のY方向の移動は、図5に示す作用と同様の作用によって吸収される。
上記実施形態によれば、水平方向に延在する配管2に変形吸収部3を設けた場合においても、地震によりボイラ11とタービン12との間の相対位置が大きく変動した場合においても、配管2にかかる変形を吸収して配管2の変形量を許容することが可能となる。
〔第三の実施形態〕
以下、本発明の第三の実施形態の配管構造1について図面を参照して詳細に説明する。なお、本実施形態では、上述した第一の実施形態との相違点を中心に述べ、同様の部分についてはその説明を省略する。
図8に示すように、本実施形態の変形吸収部3Cは、第一の配管2aと第一交差配管5とのなす角θ1、第一交差配管5と接続配管7とのなす角θ2、接続配管7と第二交差配管6とのなす角θ3、及び第二交差配管6と第二の配管2bとのなす角θ4は、それぞれ鈍角(例えば、約120°)である。エルボ8は、この角度に対応する形状を有している。
接続配管7は、第一の配管2a及び第二の配管2bに沿う方向に延在している。即ち、第一の配管2aと第二の配管2bと接続配管7とは互いに平行である。
上記実施形態によれば、配管2を流れる蒸気の圧力損失を低減することができる。
なお、上記実施形態では、各々の配管2をエルボ8を介して接続する構成としたが、これに限ることはない。即ち、エルボ8を用いず、配管2及び変形吸収部3を継ぎ目のない構造としてもよい。これにより、各々の配管2をより滑らかに接続して、より蒸気の圧力損失を低減することができる。
〔第四の実施形態〕
以下、本発明の第四の実施形態の配管構造1について図面を参照して詳細に説明する。なお、本実施形態では、上述した第一の実施形態との相違点を中心に述べ、同様の部分についてはその説明を省略する。
図9に示すように、本実施形態の変形吸収部3Dの第一交差配管5、第二交差配管6、及び接続配管7の長さL2は、第一の実施形態の変形吸収部3の第一交差配管5、第二交差配管6、及び接続配管7の長さL1(図3参照)よりも短い。
本実施形態のエルボ8は、第一交差配管5、第二交差配管6、及び接続配管7よりも剛性が低い挙動を示すように形成されている。
本実施形態のエルボ8は、第一交差配管5、第二交差配管6、及び接続配管7よりも薄肉である。本実施形態のエルボ8は、第一の実施形態のエルボ8よりも低剛性である。
上記実施形態によれば、第一の実施形態の変形吸収部3と同じ変位量D(図5も参照)を確保しながら、変形吸収部3をよりコンパクトに形成することができる。
なお、エルボ8の剛性を下げる手法はこれに限ることはない。例えば、エルボ8の材質を、より、曲がり易い材質に変更してもよい。また、エルボ8の部分のみ、径を小さくしてもよい。さらに、弾塑性挙動も含めて、第一の実施形態のエルボ8よりも低剛性の挙動を示す状態としてもよい。
なお、変形吸収部3の大きさ、即ち、第一交差配管5、第二交差配管6、及び接続配管7の長さは、地震応答解析等に基づき算定した配管2の変形量や、ボイラシステム10の規模等に応じて適宜変更することができる。即ち、変形吸収部3を構成する配管2の長さを長くする程、ねじれ変形、曲げ変形を大きくすることができるので、許容変形量を大きくすることができる。
また、配管構造1に複数の変形吸収部3を設けてもよい。
また、変形吸収部3の配管2に対する突出方向は、いずれの方向でもよい。図2に示す変形吸収部3は、支持鉄骨16の面に沿う方向に突出しているが、例えば、変形吸収部3を、支持鉄骨16の内側に突出させてもよい。
また、二つの変形吸収部3を設けて、各々の変形吸収部3の突出方向を逆にしてもよい。即ち、二つの変形吸収部3のうち一の変形吸収部3の交差配管5,6を配管2に略直交する一方向に突出させるとともに、二つの変形吸収部3のうち他の変形吸収部3の交差配管5,6を配管2に略直交する一方向とは異なる方向に突出させてもよい。
〔第五の実施形態〕
以下、本発明の第五の実施形態の配管構造1について図面を参照して詳細に説明する。
本実施形態のボイラシステム10の配管構造1は、支持鉄骨16と配管2との間のクリアランスCが、地震応答解析等に基づき算定した配管2の変形量D2の1.0−1.5倍程度に設定されている。
図10に示すように、配管2の変形は、地震応答解析等によって、点線で示すように算定される。
本実施形態の配管固定具24は、配管2と支持鉄骨16(柱18)との間のクリアランスCが、地震応答解析等によって算定された配管2の変形量D2の1.0−1.5倍程度となるように形成されている。
上記実施形態によれば、地震による配管2の水平方向の変形を許容できるとともに、配管2が図10のX方向に最大限に変形した場合においても、確実に配管2と支持鉄骨16との接触を回避することができる。
〔第六の実施形態〕
以下、本発明の第六の実施形態の配管構造1について図面を参照して詳細に説明する。なお、本実施形態では、上述した第五の実施形態との相違点を中心に述べ、同様の部分についてはその説明を省略する。
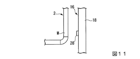
図11に示すように、本実施形態のボイラシステム10は、支持鉄骨16の柱18に緩衝装置28が設けられている。
緩衝装置28は、例えば、ブロック形状のゴム等によって形成されている。緩衝装置28は、地震応答解析等によって決定された配管2の最大変形部Mの対応箇所に設けられている。
上記実施形態によれば、想定外の地震が発生して配管2と支持鉄骨16とが接触する場合においても、配管2の損傷を防止することができる。
なお、緩衝装置28として、減衰機構を有する高減衰ゴムを使用することによって、より接触する際のエネルギーを吸収することができる。
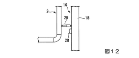
また、緩衝装置28は、配管2側(配管2の最大変形部M)に設けてもよい。
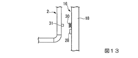
また、図12の第一の例に示すように、緩衝装置28として、オイルダンバー29等の粘性減衰機構を並列して設けてもよい。図12には、ゴム等によって形成されている緩衝装置28も示されているが、配管2と支持鉄骨16との間のクリアランスCに余裕があれば、この緩衝装置28は省略することもできる。
また、図13の第二の例に示すように、緩衝装置28として、鋼材系ダンパー30等(ハニカムダンパなど)の履歴減衰機構を設けてもよい。この場合、配管2側には、鋼材系ダンパー30に荷重を伝達する荷重伝達部材31を設けることが好ましい。
以上、本発明の実施形態について詳細を説明したが、本発明の技術的思想を逸脱しない範囲内において、種々の変更を加えることが可能である。
例えば、上記実施形態では、ボイラとタービンとの間に延在する配管2に変形吸収部3を設けたがこれに限ることはない。即ち、本発明の配管構造は、免震装置を有する支持構造体によって支持されている第一の設備と、免震装置によって支持されていない第二の設備との間を接続する配管に採用することができる。
1 配管構造
2 配管
2a 第一の配管
2b 第二の配管
3 変形吸収部
5 第一交差配管
6 第二交差配管
7 接続配管
8 エルボ
10 ボイラシステム
11 ボイラ(第一の設備)
12 タービン(第二の設備)
13 ボイラ本体
14 ボイラ支持構造体
15 基礎
16 支持鉄骨
17 免震装置
18 柱
19 梁
20 鉛直ブレース
22 吊下げバー
23 サポート
24 配管固定具
25 水平配管
26 上下配管
28 緩衝装置
29 オイルダンバー
30 鋼材系ダンパー
31 荷重伝達部材
C クリアランス

Claims (8)

  1. 第一の設備を支持する支持鉄骨と前記支持鉄骨を支持する免震装置を有する支持構造体に固定された配管であって、前記第一の設備と、前記免震装置によって支持されていない第二の設備とを接続する配管を有する配管構造であって、
    前記配管と、前記配管に設けられた変形吸収部と、を有する配管構造。
  2. 前記配管は、前記第一の設備側の第一の配管と、前記第二の設備側の第二の配管と、を有し、
    前記変形吸収部は、前記第一の配管の端部から前記第一の配管と交差する方向に延在する第一交差配管と、
    前記第二の配管の端部から前記第二の配管と交差する方向に延在する第二交差配管と、
    前記第一交差配管の端部と前記第二交差配管の端部とを接続する接続配管と、を有する請求項1に記載の配管構造。
  3. 前記第一の配管と前記第一交差配管とのなす角、前記第一交差配管と前記接続配管とのなす角、前記接続配管と前記第二交差配管とのなす角、及び前記第二交差配管と前記第二の配管とのなす角は、それぞれ直角である請求項2に記載の配管構造。
  4. 前記第一の配管と前記第一交差配管とのなす角、及び前記第二交差配管と前記第二の配管とのなす角は、鈍角であり、
    前記接続配管は、前記第一の配管及び前記第二の配管に沿う方向に延在している請求項2に記載の配管構造。
  5. 前記配管と前記第一交差配管、前記第一交差配管と前記接続配管、前記接続配管と前記第二交差配管、及び第二交差配管と前記配管は、エルボによって接続されており、
    前記エルボのうち少なくとも一つは、前記配管よりも剛性が低い挙動を示す請求項2から請求項4のいずれか一項に記載の配管構造。
  6. 第一の設備を支持する支持鉄骨と、
    前記支持鉄骨を支持する免震装置を有する支持構造体と、
    前記免震装置によって支持されていない第二の設備と、
    上下方向に延在する上下配管と、水平方向に延在する水平配管と、を有する配管を有する請求項1から請求項5のいずれか一項に記載の配管構造と、を有し、
    前記変形吸収部は、前記上下配管と前記水平配管との接続部の近傍に設けられているボイラシステム。
  7. 前記支持鉄骨と前記配管との間のクリアランスが、解析に基づいて算定した前記配管の変形量の1.0−1.5倍に設定されている請求項6に記載のボイラシステム。
  8. 解析に基づいて決定された前記配管の最大変形部と、前記支持鉄骨における前記最大変形部の対応箇所との少なくとも一方に、緩衝装置が設けられている請求項7に記載のボイラシステム。
JP2016079791A 2016-04-12 2016-04-12 配管構造、及びボイラシステム Active JP6809807B2 (ja)

Priority Applications (3)

Application Number Priority Date Filing Date Title
JP2016079791A JP6809807B2 (ja) 2016-04-12 2016-04-12 配管構造、及びボイラシステム
PCT/JP2017/014982 WO2017179620A1 (ja) 2016-04-12 2017-04-12 配管構造、及びボイラシステム
TW106112132A TWI628374B (zh) 2016-04-12 2017-04-12 配管構造及鍋爐系統

Applications Claiming Priority (1)

Application Number Priority Date Filing Date Title
JP2016079791A JP6809807B2 (ja) 2016-04-12 2016-04-12 配管構造、及びボイラシステム

Publications (2)

Publication Number Publication Date
JP2017190815A true JP2017190815A (ja) 2017-10-19
JP6809807B2 JP6809807B2 (ja) 2021-01-06

Family

ID=60042145

Family Applications (1)

Application Number Title Priority Date Filing Date
JP2016079791A Active JP6809807B2 (ja) 2016-04-12 2016-04-12 配管構造、及びボイラシステム

Country Status (3)

Country Link
JP (1) JP6809807B2 (ja)
TW (1) TWI628374B (ja)
WO (1) WO2017179620A1 (ja)

Families Citing this family (2)

* Cited by examiner, † Cited by third party
Publication number Priority date Publication date Assignee Title
JP6791890B2 (ja) * 2018-01-09 2020-11-25 三菱パワー株式会社 ボイラ構造
JP6766202B2 (ja) * 2019-03-13 2020-10-07 三菱パワー株式会社 ボイラ装置

Citations (16)

* Cited by examiner, † Cited by third party
Publication number Priority date Publication date Assignee Title
JPS56116980A (en) * 1980-02-15 1981-09-14 Nippon Bulge Ind Bend for pipings
JPS58178583U (ja) * 1982-05-26 1983-11-29 三菱重工業株式会社 高温高圧の配管構造
JPS5981889U (ja) * 1982-11-24 1984-06-02 片山 裕 エルボ管
JPS6124889A (ja) * 1984-07-13 1986-02-03 日揮株式会社 二重管構造の配管
JPH062805A (ja) * 1992-06-18 1994-01-11 Babcock Hitachi Kk ボイラ装置
JPH11280124A (ja) * 1998-03-30 1999-10-12 Nkk Corp 免震建物内の配管
JP2000028043A (ja) * 1998-07-13 2000-01-25 Mitsubishi Heavy Ind Ltd 配管継手装置
JP2000304202A (ja) * 1999-04-15 2000-11-02 Babcock Hitachi Kk ボイラ本体の制振構造体及び制振方法
JP2000356295A (ja) * 1999-06-16 2000-12-26 Ork:Kk 免震配管システムおよび脚部付きベローズ形伸縮管継手
JP2002031266A (ja) * 2000-07-13 2002-01-31 Fujita Corp 免震配管接続構造およびそれにおける固定構造
JP2004270751A (ja) * 2003-03-06 2004-09-30 Fujita Corp 免震構造物用配管構造
JP2011252755A (ja) * 2010-06-01 2011-12-15 Toshiba Corp 地震スクラム方法及びその装置
WO2012133904A1 (ja) * 2011-03-31 2012-10-04 日揮株式会社 硫黄回収装置及び硫黄回収方法
JP2014240556A (ja) * 2013-06-11 2014-12-25 株式会社東芝 制振方法およびこれを用いた発電プラント、ならびに制振振動系
JP2015059685A (ja) * 2013-09-18 2015-03-30 三菱日立パワーシステムズ株式会社 ボイラ制振用のサイスミックタイおよびこれを用いたボイラ耐震構造体
JP2015121045A (ja) * 2013-12-24 2015-07-02 三菱日立パワーシステムズ株式会社 ボイラの支持構造体

Patent Citations (16)

* Cited by examiner, † Cited by third party
Publication number Priority date Publication date Assignee Title
JPS56116980A (en) * 1980-02-15 1981-09-14 Nippon Bulge Ind Bend for pipings
JPS58178583U (ja) * 1982-05-26 1983-11-29 三菱重工業株式会社 高温高圧の配管構造
JPS5981889U (ja) * 1982-11-24 1984-06-02 片山 裕 エルボ管
JPS6124889A (ja) * 1984-07-13 1986-02-03 日揮株式会社 二重管構造の配管
JPH062805A (ja) * 1992-06-18 1994-01-11 Babcock Hitachi Kk ボイラ装置
JPH11280124A (ja) * 1998-03-30 1999-10-12 Nkk Corp 免震建物内の配管
JP2000028043A (ja) * 1998-07-13 2000-01-25 Mitsubishi Heavy Ind Ltd 配管継手装置
JP2000304202A (ja) * 1999-04-15 2000-11-02 Babcock Hitachi Kk ボイラ本体の制振構造体及び制振方法
JP2000356295A (ja) * 1999-06-16 2000-12-26 Ork:Kk 免震配管システムおよび脚部付きベローズ形伸縮管継手
JP2002031266A (ja) * 2000-07-13 2002-01-31 Fujita Corp 免震配管接続構造およびそれにおける固定構造
JP2004270751A (ja) * 2003-03-06 2004-09-30 Fujita Corp 免震構造物用配管構造
JP2011252755A (ja) * 2010-06-01 2011-12-15 Toshiba Corp 地震スクラム方法及びその装置
WO2012133904A1 (ja) * 2011-03-31 2012-10-04 日揮株式会社 硫黄回収装置及び硫黄回収方法
JP2014240556A (ja) * 2013-06-11 2014-12-25 株式会社東芝 制振方法およびこれを用いた発電プラント、ならびに制振振動系
JP2015059685A (ja) * 2013-09-18 2015-03-30 三菱日立パワーシステムズ株式会社 ボイラ制振用のサイスミックタイおよびこれを用いたボイラ耐震構造体
JP2015121045A (ja) * 2013-12-24 2015-07-02 三菱日立パワーシステムズ株式会社 ボイラの支持構造体

Also Published As

Publication number Publication date
WO2017179620A1 (ja) 2017-10-19
JP6809807B2 (ja) 2021-01-06
TWI628374B (zh) 2018-07-01
TW201736752A (zh) 2017-10-16

Similar Documents

Publication Publication Date Title
KR100756416B1 (ko) 배관의 진동저감장치
Mao et al. Bending vibration control of pipes conveying fluids by nonlinear torsional absorbers at the boundary
JP2017517659A (ja) エネルギー吸収装置
KR20160001755U (ko) 내진 흔들림 방지버팀대
JP6529557B2 (ja) 耐震用フレキシブルスリップジョイント装置
KR102010316B1 (ko) 다축진동 감쇄기능을 갖는 천장용 배관거치대
JP6809807B2 (ja) 配管構造、及びボイラシステム
CN204785099U (zh) 带有缓冲拉伸碟簧的防振支架
JP6122744B2 (ja) ボイラ制振用のサイスミックタイおよびこれを用いたボイラ耐震構造体
WO2016143773A1 (ja) 復水器
JP5843732B2 (ja) ボイラ制振用のサイスミックタイおよびこれを用いたボイラ耐震構造体
JPH07150810A (ja) 制振装置
JP2022100767A (ja) 制振システム
JP3021031B2 (ja) 3軸制御型粘弾性ダンパ
TWI744815B (zh) 鍋爐裝置
JP7370827B2 (ja) 配管とその施工方法
CN102537579A (zh) 一种波纹管补偿器
TW201638544A (zh) 鍋爐
JP5291609B2 (ja) 配管支持構造物
JP3845140B2 (ja) 構造物の免振装置
JP2005179936A (ja) 制振構造
JP2011220074A (ja) 塔状構造物の制震構造
JP2014156889A (ja) 構造物の防震構造
CN207945667U (zh) 一种汽包管线系统及煤气化系统
IT202300009123A1 (it) Dispositivo di restrizione sismica per elementi sospesi

Legal Events

Date Code Title Description
A521 Request for written amendment filed

Free format text: JAPANESE INTERMEDIATE CODE: A821

Effective date: 20160413

A625 Written request for application examination (by other person)

Free format text: JAPANESE INTERMEDIATE CODE: A625

Effective date: 20180926

RD03 Notification of appointment of power of attorney

Free format text: JAPANESE INTERMEDIATE CODE: A7423

Effective date: 20181109

A131 Notification of reasons for refusal

Free format text: JAPANESE INTERMEDIATE CODE: A131

Effective date: 20190611

A521 Request for written amendment filed

Free format text: JAPANESE INTERMEDIATE CODE: A523

Effective date: 20190809

A131 Notification of reasons for refusal

Free format text: JAPANESE INTERMEDIATE CODE: A131

Effective date: 20191203

A521 Request for written amendment filed

Free format text: JAPANESE INTERMEDIATE CODE: A523

Effective date: 20200203

A02 Decision of refusal

Free format text: JAPANESE INTERMEDIATE CODE: A02

Effective date: 20200623

A521 Request for written amendment filed

Free format text: JAPANESE INTERMEDIATE CODE: A523

Effective date: 20200923

C60 Trial request (containing other claim documents, opposition documents)

Free format text: JAPANESE INTERMEDIATE CODE: C60

Effective date: 20200923

A911 Transfer to examiner for re-examination before appeal (zenchi)

Free format text: JAPANESE INTERMEDIATE CODE: A911

Effective date: 20200930

C21 Notice of transfer of a case for reconsideration by examiners before appeal proceedings

Free format text: JAPANESE INTERMEDIATE CODE: C21

Effective date: 20201006

TRDD Decision of grant or rejection written
A01 Written decision to grant a patent or to grant a registration (utility model)

Free format text: JAPANESE INTERMEDIATE CODE: A01

Effective date: 20201201

A61 First payment of annual fees (during grant procedure)

Free format text: JAPANESE INTERMEDIATE CODE: A61

Effective date: 20201210

R150 Certificate of patent or registration of utility model

Ref document number: 6809807

Country of ref document: JP

Free format text: JAPANESE INTERMEDIATE CODE: R150