JP2017190618A - 型枠保持部材 - Google Patents

型枠保持部材 Download PDF

Info

Publication number
JP2017190618A
JP2017190618A JP2016080857A JP2016080857A JP2017190618A JP 2017190618 A JP2017190618 A JP 2017190618A JP 2016080857 A JP2016080857 A JP 2016080857A JP 2016080857 A JP2016080857 A JP 2016080857A JP 2017190618 A JP2017190618 A JP 2017190618A
Authority
JP
Japan
Prior art keywords
slit
piece
flange
main body
locking piece
Prior art date
Legal status (The legal status is an assumption and is not a legal conclusion. Google has not performed a legal analysis and makes no representation as to the accuracy of the status listed.)
Granted
Application number
JP2016080857A
Other languages
English (en)
Other versions
JP6865529B2 (ja
Inventor
秋田 享男
Yukio Akita
享男 秋田
Current Assignee (The listed assignees may be inaccurate. Google has not performed a legal analysis and makes no representation or warranty as to the accuracy of the list.)
Individual
Original Assignee
Individual
Priority date (The priority date is an assumption and is not a legal conclusion. Google has not performed a legal analysis and makes no representation as to the accuracy of the date listed.)
Filing date
Publication date
Application filed by Individual filed Critical Individual
Priority to JP2016080857A priority Critical patent/JP6865529B2/ja
Publication of JP2017190618A publication Critical patent/JP2017190618A/ja
Application granted granted Critical
Publication of JP6865529B2 publication Critical patent/JP6865529B2/ja
Expired - Fee Related legal-status Critical Current
Anticipated expiration legal-status Critical

Links

Images

Landscapes

  • Forms Removed On Construction Sites Or Auxiliary Members Thereof (AREA)

Abstract

【課題】型枠保持部材に枠体を装着後、係止端面におけるフランジの外縁を保持する強度が高く、かつ、係止端面とフランジの外縁との間に、がたつきも生じ難い型枠保持部材を提供する。
【解決手段】セパレータ1は型枠90を保持するものである。セパレータ1は、長手方向に延び載置面11Aを形成する本体片10と、本体片の一端で載置面11Aから立ち上がる外側係止片20と、外側係止片20と対面するように載置面11Aから立ち上がる内側係止片30とを有している。外側係止片20は、外側本体部21と、主スリット23Uと、案内部25と、係止端面27とを含んでいる。係止端面27は、幅方向の中央に位置し外側本体部21から離れた頂部27Aと、幅方向の一端に位置し外側本体部21に近づく左裾部27Bと、幅方向の他端に位置し前記外側本体部に近づく右裾部27Cとが形成されている。係止端面27は、山形状又は湾曲形状をなしている。
【選択図】図1

Description

本発明は型枠保持部材に関する。
特許文献1に従来の型枠保持部材としてのセパレータが開示されている。このセパレータは型枠を保持するものである。
型枠は、堰板部とフランジとを有している。堰板部は、生コンクリートを堰き止める堰止面を形成している。フランジは、堰板部の一端に設けられ、堰止面と直交する方向に延びる被載置面を形成する。例えば、堰止面が矩形である鋼製の型枠は、その堰止面を上下に配置した場合、堰板部の下端、上端、右端及び左端にフランジを有している。堰板部の下端及び上端のフランジは、堰止面と直交する方向に延びる延出部と、延出部から堰止面と平行に延びるリブとからなることが一般的である。下端のフランジの延出部の底面は被載置面とされる。
セパレータは、本体片と、外側係止片と、内側係止片とを有している。本体片は、長手方向に延び、被載置面と当接される載置面を形成している。外側係止片は、本体片の一端で載置面から立ち上がり、フランジの外縁に係止可能となっている。内側係止片は、外側係止片と対面するように載置面から立ち上がり、フランジの内縁と当接することによってフランジの内縁に係止可能になっている。一般的なセパレータでは、本体片の両端に各々外側係止片が設けられ、本体片における各外側係止片の内側に各々内側係止片が設けられている。
より詳細には、特許文献1の図2や図3に開示されたセパレータでは、外側係止片は、外側本体部と、スリットと、案内部と、係止端面とを含んでいる。外側本体部は、本体片と一体をなし、本体片から垂直に延びている。スリットは、外側本体部に貫設された主スリット、左スリット及び右スリットからなる。主スリットは幅方向に延びている。左スリットは、主スリットの一端と連続して外側本体部の先端側に延びている。右スリットは、主スリットの他端と連続して外側本体部の先端側に延びている。
案内部は、主スリットよりも外側本体部の先端側において、外側本体部から内側係止片に向かって突設されている。案内部は、主スリット、左スリット及び右スリットの間で舌状に形成されている。案内部は、載置面に近づくに従って、フランジを案内可能な矩形の案内面を形成している。係止端面は、案内部における載置面側により主スリットにおける先端側を形成している。係止端面は、被載置面が載置面と当接することにより、弾性力に屈してフランジの抜け止めを行う。
これらのセパレータの係止端面は、幅方向に延びる主係止端面と、主係止端面の一端から直角に屈曲して外側本体部に近づくように延びる左係止端面と、主係止部の他端から直角に屈曲して外側本体部に近づくように延びる右係止端面とからなる。つまり、係止端面は、主係止端面、左係止端面及び右係止端面により、コの字状をなしている。
このセパレータは、住宅等のコンクリート基礎の施工時に用いられる。すなわち、まず、例えば砕石地盤上に複数の支持部材を載置し、複数のセパレータを各支持部材に支持させる。セパレータ付きの支持部材が用いられる場合もある。これにより、複数のセパレータが一定間隔をおいて砕石地盤の上方に配設される。この際、各セパレータの本体片は、施工しようとするコンクリート基礎の立ち上がり基礎の幅方向に沿うように設けられる。そして、各支持部材上のセパレータの両外側係止片及び内側係止片間に型枠が保持される。また、各支持部材上のセパレータの間及び型枠上には、さらに複数のセパレータが型枠に装着される。
この際、型枠の下に装着されるセパレータは、案内部が自身の弾性力により内側に復帰して、係止端面がフランジの外縁に係合することによって、型枠から外れないようにされる。こうして、互いに対向する複数の型枠が連続的に設けられ、型枠内に立ち上がり空間が形成される。砕石地盤上に生コンクリートが充填されると同時に、立ち上がり空間内に生コンクリートが充填され、さらに、その生コンクリートが固化することによってコンクリート基礎とされる。コンクリート基礎上に住宅等が建設されることとなる。
特開平05−195622号公報
ところで、従来の型枠保持部材では、係止端面がコの字状に形成されており、左係止端面と右係止端面との幅方向の距離が長くされている。このため、型枠保持部材に枠体を装着後、係止端面におけるフランジの外縁を保持する強度が構造上弱い。
本発明は、上記従来の実情に鑑みてなされたものであって、型枠保持部材に枠体を装着後、係止端面におけるフランジの外縁を保持する強度が高い型枠保持部材を提供することを解決すべき課題としている。
本発明の型枠保持部材は、型枠を保持する型枠保持部材において、
前記型枠は、生コンクリートを堰き止める堰止面を形成する堰板部と、前記堰板部の一端に設けられ、前記堰止面と直交する方向に延びる被載置面を形成するフランジとを有し、
前記型枠保持部材は、長手方向に延び、前記被載置面と当接される載置面を形成する本体片と、
前記本体片の一端で前記載置面から立ち上がり、前記フランジの外縁に係止可能な外側係止片と、
前記外側係止片と対面するように前記載置面から立ち上がり、前記フランジの内縁に係止可能な内側係止片とを有し、
前記外側係止片は、前記本体片と一体をなし、前記本体片から垂直に延びる外側本体部と、
前記外側本体部に貫設され、幅方向に延びる主スリットと、
前記主スリットよりも前記外側本体部の先端側において、前記外側本体部から前記内側係止片に向かって突設され、前記載置面に近づくに従って前記内側係止片に近づくように延びて前記フランジを案内可能な案内面を形成する案内部と、
前記案内部における前記載置面側により前記主スリットにおける前記先端側を形成し、前記被載置面が前記載置面と当接することにより弾性力に屈して前記フランジの抜け止めを行う係止端面とを含み、
前記係止端面は、前記幅方向の中央に位置し、前記外側本体部から離れた頂部と、前記幅方向の一端に位置し、前記外側本体部に近づく左裾部と、前記幅方向の他端に位置し、前記外側本体部に近づく右裾部とが形成された山形状又は湾曲形状をなしていることを特徴とする。
本発明の型枠保持部材によってコンクリート基礎を施工する場合、まず、例えば砕石地盤上に複数の支持部材を載置し、複数の型枠保持部材を各支持部材に支持させる。型枠保持部材付きの支持部材が用いられる場合もある。これにより、複数の型枠保持部材が一定間隔をおいて砕石地盤の上方に配設される。この際、各型枠保持部材の本体片は、施工しようとするコンクリート基礎の立ち上がり基礎の幅方向に沿うように設けられる。そして、各支持部材上の型枠保持部材の外側係止片及び内側係止片間に型枠が保持される。また、各支持部材上の型枠保持部材の間及び型枠上には、さらに複数の型枠保持部材が型枠に装着される。
本発明の型枠保持部材を型枠の下に装着する場合、外側係止片及び内側係止片間に型枠を挿入すれば、型枠のフランジが外側係止片の案内部の案内面に案内される。この際、案内面はフランジによって外側に押圧される。そして、型枠の被載置面が本体片の載置面と当接すれば、案内部は自身の弾性力により内側に復帰して、係止端面がフランジの抜け止めを行う。こうして、型枠が型枠保持部材から外れないようにされる。
この型枠保持部材の係止端面は、山形状又は湾曲形状をなしている。このため、係止端面は、従来技術と比較して、フランジの外縁と当接する左係止端面と右係止端面との幅方向の距離が短くされている。これにより、型枠保持部材に型枠を装着後、係止端面におけるフランジの外縁を保持する強度が構造上強くされている。
したがって、本発明の型枠保持部材は、型枠保持部材に枠体を装着後、係止端面におけるフランジの外縁を保持する強度が高い。
外側係止片は、外側本体部に貫設され、主スリットの一端と連続して先端側に延びる左スリットと、外側本体部に貫設され、主スリットの他端と連続して先端側に延びる右スリットとを含んでいることが好ましい。また、案内部は主スリット、左スリット及び右スリットの間で舌状に形成されていることが好ましい。
この場合、左スリット及び右スリットが外側係止片に貫設されることにより、案内部が舌状に加工され易い。このため、この型枠保持部材は、製造コストの低廉化を実現できる。
案内面は、左スリットの先端側から頂部に延びる左稜線と、右スリットの先端側から頂部に延びる右稜線とを有していることが好ましい。
この場合、案内面には、頂部、左稜線及び右稜線により三角形状の案内面が形成され、係止端面が山形状になる。この三角形状の案内面に枠体のフランジが案内されるため、フランジを型枠保持部材に入れ易い。
本発明の型枠保持部材によれば、型枠保持部材に枠体を装着後、係止端面におけるフランジの外縁を保持する強度が高く、かつ、係止端面とフランジの外縁との間にがたつきが生じ難い。
図1は、実施例1のセパレータにおける第1本体部材の斜視図である。 図2は、実施例1のセパレータに係り、砕石地盤の上方で複数枚の型枠を保持することにより、生コンクリートが充填される空間を形成した状態を示す側面図である。 支持部材で支持した実施例1のセパレータに係り、図2のA−A断面を示す断面図である。 実施例1のセパレータに係り、図2のB−B断面を示す要部拡大断面図であって、型枠に装着される前の状態を示す図である。 実施例1のセパレータに係り、図4と同様の要部拡大断面図であって、型枠のフランジが外側係止片及び内側係止片間に挿入される途中の状態を示す図である。 実施例1のセパレータに係り、図5と同様の要部拡大断面図であって、型枠に装着された状態を示す図である。 実施例1のセパレータに係り、空間内に充填された生コンクリートが固化した後に、型枠のフランジを取り外す途中の状態を示す要部拡大断面図である。 実施例1のセパレータに係り、外側本体部の一部を示す要部拡大正面図である。 実施例1のセパレータに係り、係止端面とフランジとの関係を示す断面図である。 実施例2のセパレータに係り、係止端面とフランジとの関係を示す断面図である。
以下、本発明を具体化した実施例1、2を図面を参照しつつ説明する。
(実施例1)
図1〜3に示すように、実施例のセパレータ1は、本発明の型枠保持部材の具体的態様の一例である。図1では、セパレータ1における第1、2本体部材2、3の外側係止片20が位置する側をセパレータ1の前方と規定し、外側係止片20に向かった場合に左手に来る側を左方と規定して、前後、左右及び上下の各方向を表示する。そして、図2以降の各図に示す各方向は、全て図1に示す各方向に対応させて表示する。
セパレータ1は、図2及び図3に示すように、住宅等のコンクリート基礎としての布基礎17(図7参照)の施工時に用いられ、型枠90を保持するものである。型枠90は鋼製である。
図3に示すように、枠体90は、布基礎17(図7参照)の施工時において、前方側及び後方側にそれぞれ配置される。前方側に配置される枠体90と後方側に配置される枠体90とは、勝手違いの形状である。このため、以下では、前方側に配置される枠体90について説明し、後方側に配置される枠体90についての説明は省略する。
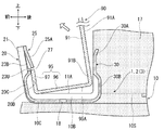
図3及び図4に示すように、型枠90は、堰板部91とフランジ95とを有している。堰板部91は、生コンクリートを堰き止める堰止面91Aを形成している。堰止面91Aは、上下方向及び左右方向に延在する矩形状をなしている。
フランジ95は、延出部96とリブ97とにより構成されている。延出部96は、堰板部91の下端部91B及び上端部から直角に屈曲して、前方に向かって延びている。延出部96は、前後方向及び左右方向に延在する矩形状をなしている。特に、下端部91B側の延出部96の底面には、堰止面91Aと直交する前後方向に延びる被載置面95Aが形成されている。堰止部91における下端部91Bは、本発明の「フランジの内縁」の一例である。
上側のリブ97は、延出部96の前端から屈曲して、下方に向かって堰止面91Aと平行に延びている。また、下側のリブ97は、延出部96の前端から直角に屈曲して、上方に向かって堰止面91Aと平行に延びている。各リブ97は、上下方向及び左右方向に延在する矩形状をなしている。ここで、リブ97は、本発明の「フランジの外縁」の一例である。
一方、セパレータ1は、図3に示すように、第1本体部材2と、第2本体部材3と、長尺部材40とからなる。長尺部材40は鋼製の直径6mmの丸棒である。セパレータ1は、第1本体部材2と長尺部材40と第2本体部材3とが接合され、一体化されている。第1本体部材2と長尺部材40との間はスポット溶接され、長尺部材40と第2本体部材3との間もスポット溶接されている。第1本体部材2と第2本体部材3とは、勝手違いの形状である。このため、以下では、第1本体部材2について説明し、第2本体部材3についての説明は省略する。
図1に示すように、第1本体部材2は、本体片10と、外側係止片20と、内側係止片30とを有している。本体片10と、外側係止片20と、内側係止片30とは、1枚の鋼板を打ち抜き、かつ、屈曲することにより一体に形成されている。1種類の本体部材を多数形成し、2個の本体部材を第1、2本体部材2、3とし、それらを長さが異なる長尺部材40で接合することにより、異なる長さのセパレータ1が得られる。こうして、このセパレータ1は製造コストの低廉化が実現されている。
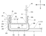
本体片10は長手方向(前後方向)の前端から後端まで細長く延びている。本体片10は、内側係止片30と後端との中間部分において、幅方向(左右方向)の長さが徐々に縮幅し、狭幅となっている。本体片10は、その狭幅の位置から後端まで延びている。本体片10における幅方向の両側には、それぞれ平坦な面10Aが形成されている。ここで、本体片10の前端は、本発明の「本体片の一端」の一例である。
本体片10における幅方向の中央には、面10Aより上方に突出する凸部10Bが形成されている。凸部10Bの後端部分に長尺部材40がスポット溶接される。凸部10Bには、後述するスリット10Sよりもやや後方に上下方向に貫通する高さ調整孔19が形成されている。高さ調整穴19は、図2及び図3に示すように、セパレータ1を例えば砕石地盤9上に載置された支持部材119に固定する際に用いられる。
図1に示すように、本体片10における外側係止片20と内側係止片30との間には、凸部10Bの中央が凹んだ谷部10Cが形成されている。谷部10Cによって左右に分断された凸部10Bは、被載置面95Aと当接される載置面11Aとなっている。谷部10Cには上下方向に貫通する固定孔18が形成されている。固定穴18は、セパレータ1を捨てコンクリート等の上に直接釘等で固定する際に用いられる。
外側係止片20は、本体片10に連続する略平板形状とされている。外側係止片20は、本体片10における長手方向の前端から上方に向けて直角に屈曲し、載置面11Aから立ち上がっている。外側係止片20の幅方向の両側にも、本体片10の面10Aから連続するそれぞれ平坦な面20Aが形成されている。
外側係止片20における幅方向の中央には、後述する主スリット23Uより下方において、面20Aより後方に突出する凸部20Bが形成されている。外側係止片20には、凸部20Bの中央が凹んだ膨出部20Cが形成されている。膨出部20Cは谷部10Cと連続し、谷部20Cによって左右に分断された凸部20Bは凸部10Bと連続している。
内側係止片30は、本体片10における長手方向の前端と後端との間に設けられている。内側係止片30は、本体片10に切り欠かれた略「コ」字形状のスリット10Sの内側が上方に向けて直角に屈曲することにより形成されている。これにより、内側係止片30は外側係止片20と対面するように載置面11Aから立ち上がっている。
内側係止片30は、上端に斜め後方に屈曲した傾斜部30Aを有している。また、内側係止片30は、本体片10の谷部10Cと連続して、下端部から中央部にかけて後方に湾曲して膨らむ膨出部30Bを有している。
次に、外側係止片20について、図1及び図8を参照しながら、より詳しく説明する。外側係止片20は、本体片10から見て略矩形状をなしている。外側係止片20は、外側本体部21と、主スリット23Uと、左スリット23Aと、右スリット23Bと、案内部25とを含んでいる。
外側係止片20は、主スリット23U、左スリット23A及び右スリット23Bが形成された外側本体部21を有している。主スリット23U、左スリット23A及び右スリット23Bは、略「コ」字形状に形成されている。主スリット23Uは、外側本体部21における上下方向の略中央に貫設され、幅方向に細長く延びている。また、左スリット23Aは、主スリット23Uの左端と連続して、外側本体部21の上方の先端側に向かって延びている。また、右スリット23Bは、主スリット23Uの右端と連続して、外側本体部21の上方の先端側に向かって延びている。
案内部25は、主スリット23U、左スリット23A及び右スリット23Bの間で舌状に形成されている。案内部25は、主スリット23Uよりも外側本体部21の先端側において、外側本体部21から内側係止片30に向かって突設されている。つまり、案内部25は、主スリット23Uの上端縁側から内側係止片30に向かって突設されている。
図8に示すように、外側本体部21と案内部25との間には幅方向に水平に延びる境界線L1が形成されている。また、案内部25には、左稜線L2と、右稜線L3とが形成されている。左稜線L2は、左スリット23Aの先端側から案内部25の中央下端、つまり頂部27Aに向かって延びている。右稜線L2は、右スリット23Bの先端側から頂部27Aに向かって延びている。こうして、案内部25には、境界線L1、左稜線L2及び右稜線L3で囲まれた二等辺三角形状の案内面25Aが形成されている。案内面25Aの中央下端が頂部27Aである。案内面25Aは、載置面11Aに近づくに従って内側係止片30に近づくように延びている。
案内部25における載置面11A側の端面が係止端面27とされている。この係止端面27は主スリット23Uにおける先端側を区画している。つまり、係止端面27は、案内部25における載置面11A側に形成された先端面である。係止端面27は、主スリット23Uの上端縁側に形成されている。
図1及び図9に示すように、係止端面27は、頂部27Aと、左裾部27Bと、右裾部27Cとを有している。頂部27Aは、係止端面27における幅方向の中央に位置し、外側本体部21から離れている。左裾部27Bは、係止端面27における幅方向の左端に位置し、外側本体部21に近づように位置している。右裾部27Cは、係止端面27における幅方向の右端に位置し、外側本体部21に近づように位置している。こうして、係止端面27は、頂部27A、左裾部27B及び右裾部27Cにより、山形形状をなしている。
主スリット23U、左スリット23A及び右スリット23B並びに案内部25も、本体片10、外側係止片20及び内側係止片30と同時に鋼板を打ち抜き、かつ、屈曲することにより一体に形成されている。
上記セパレータ1は、布基礎17を施工する場合において、以下のようにして型枠90を保持する。まず、図2及び図3に示すように、例えば、砕石地盤9上に複数の支持部材119を載置し、複数のセパレータ1を各支持部材119に支持させる。支持部材119は、セパレータ1を一体にしたものを採用することもできる。また、支持部材119は、高さ調整が可能なものであってもよい。
支持部材119上のセパレータは、セパレータ1より簡素な公知のセパレータ13(図3参照)が用いられる。これにより、図2に示すように、複数のセパレータ1が一定間隔をおいて砕石地盤9の上方に配設される。この際、図3に示すように、各セパレータ1における第1、2本体部材2、3の各本体片10は、施工しようとする布基礎17の立ち上がり基礎の幅方向(前後方向)に沿うように設けられる。そして、各セパレータ1における第1、2本体部材2、3の各外側係止片20と各内側係止片30との間に型枠90が保持される。
図2に示すように、各支持部材119上のセパレータ1の間では、さらに複数のセパレータ1が型枠90に装着される。この際、二点鎖線でセパレータ1を示すように、各支持部材119上のセパレータ1の間において、作業者が別のセパレータ1を型枠90の下方に位置させる。
図3に示すように、布基礎17(図7参照)の施工時において、セパレータ1の第1、2本体部材2、3に枠体90がそれぞれ装着される。以下では、第1本体部材2に枠体90が装着される場合について説明し、第2本体部材3に枠体90が装着される場合についての説明は省略する。
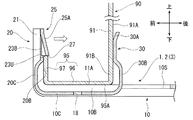
図4に示すように、型枠90における下端側のフランジ95の延出部96は、セパレータ1の載置面11A等に対して上方に離間した状態となっている。この状態では、セパレータ1の案内面25Aは、載置面11Aに近づくに従って内側係止片30に近づくように延びている。
次に、作業者が図2に二点鎖線で示すセパレータ1を型枠90に向けて上昇させる。そうすると、図5に示すように、フランジ95のリブ97が案内面25Aに沿いながら、案内面25Aを前方側に押圧する。また、案内部25は、リブ97に押圧されて自身の弾性力に抗しながら前方側に押圧される。一方、堰止部91の下端部91Bは、内側係止片30の傾斜部30Aに案内され、内側係止片30の前面に沿いながら摺接し、フランジ95における延出部96の被載置面95Aは、第1本体部材2の載置面11Aに接近する。
次に、作業者が図2に二点鎖線で示すセパレータ1を型枠90に向けてさらに上昇させる。図6に示すように、型枠90の被載置面95Aが本体片10の載置面11Aと当接すると、案内部25は、自身の弾性力により後方側に復帰して、内側係止片30に近づくように延びる。こうして、係止端面27がフランジ95の外縁に係合することによって、フランジ95の抜け止めを行う。また、内側係止片30は、直角に屈曲したフランジ95の内縁に係止可能となっている。こうして、型枠90がセパレータ1から外れないようにされる。
この際、このセパレータ1は、図9に示すように、係止端面27が山形状をなしている。このため、係止端面27は、従来のセパレータと比較して幅方向の距離が短くされている。これにより、セパレータ1に型枠90を装着後、係止端面27におけるフランジ95の外縁を保持する強度が構造上強くされている。
したがって、実施例1のセパレータ1は、セパレータ1に枠体90を装着後、係止端面27におけるフランジ95の外縁を保持する強度が高い。
特に、図1及び図9に示すように、外側係止片20の外側本体部21には、幅方向に延びる主スリット23Uと、主スリット23Uの左端と連続して先端側に延びる左スリット23Aと、主スリット23Uの右端と連続して先端側に延びる右スリット23Bとが貫設されている。主スリット23Uと、左スリット23Aと、右スリット23Bとは、外側係止片20を構成する鋼板を打ち抜き、かつ、屈曲することにより一体に形成されているため、案内部25が舌状に加工され易い。このため、セパレータ1は、製造コストの低廉化を実現できる。
案内面25Aは、外側本体部21と案内部25との間には幅方向に水平に延びる境界線L1と、左スリット23Aの先端側から頂部27Aに延びる左稜線L2と、右スリット23Bの先端側から頂部27Aに延びる右稜線L3とを有している。これにより、案内面25Aには、境界線L1、左稜線L2及び右稜線L3で囲まれた二等辺三角形状の案内面が形成されている。このため、セパレータ1が型枠90に装着される際、この二等辺三角形状の案内面25Aに枠体90のフランジ95が案内されるため、フランジ95をセパレータ1に入れ易い。
こうして、図2及び図3に示すように、複数の型枠90が互いに対向しつつ連続的に設けられる。これにより、各型枠90内には、立ち上がり空間8a及び水平空間8bからなる空間が形成される。立ち上がり空間8aの下方に砕石地盤9上に位置する水平空間8bが形成されている。この際、互いに対向する型枠90の上端においては、セパレータ1より簡素な公知のセパレータ13が嵌め込まれる。こうして、両型枠90の上端の間隔が一定に保たれる。
そして、水平空間8b内に生コンクリートが充填されると同時に、立ち上がり空間8a内に生コンクリートが充填され、さらに、その生コンクリートが固化することによって、図7に示すように、布基礎17とされる。こうして、実施例1のセパレータ1は、高強度に型枠90を保持し、かつ型枠90とのがたつきも抑制しているため、優れた布基礎17が得られる。布基礎17上に住宅等が建設されることとなる。
布基礎17の施工後、型枠90を取り外す場合には、図7に示すように、型枠90における下端側のフランジ95側を支点とし、型枠90の上端側を力点として、「てこ」の要領で、作業者が型枠90を布基礎17から離間させるように揺動させる。そうすると、外側係止片20に大きな力が作用し、図7に矢印で示すように、外側係止片20がやや塑性変形する。その結果、外側係止片20と載置面11Aとの角度が直角よりも大きくなる。そして、作業者が型枠90をそのまま倒すようにすれば、係止端面27からリブ97の上端縁から離間し、係止端面27によるフランジ95の抜け止めが解除される。こうして、型枠90を布基礎17及び第1本体部材2から取り外すことができる。
(実施例2)
図10に示すように、実施例2のセパレータ50は、実施例1のセパレータ1の係止端面27の形状が湾曲形状となっている。このセパレータ50も、実施例1のセパレータ1と同様に、以下の作用効果を奏する。
実施例2のセパレータ50も、係止端面27におけるフランジ95の外縁を保持する強度が高い。また、このセパレータ50も、案内部25が舌状に加工され易く、製造コストの低廉化を実現できる。
以上において、本発明を実施例1、2に即して説明したが、本発明は上記実施例に制限されるものではなく、その趣旨を逸脱しない範囲で適宜変更して適用できることはいうまでもない。
例えば、型枠は、鋼製のものであってもよく、木製や樹脂製のものであってもよい。
本発明は、例えば住宅等のコンクリート基礎に利用可能である。
1、50…セパレータ(型枠保持部材)
90…型枠
91A…堰止面
91…堰板部
91B…堰板部の下端部(フランジの内縁)
95A…被載置面
95…フランジ
11A…載置面
10…本体片
10B…本体片の前端(本体片の一端)
97…リブ(フランジの外縁)
20…外側係止片
30…内側係止片
21…外側本体部
23U…主スリット
25A…案内面
25…案内部
27…係止端面
27A…頂部
27B…左裾部
27C…右裾部
23A…左スリット
23B…右スリット
L2…左稜線
L3…右稜線

Claims (3)

  1. 型枠を保持する型枠保持部材において、
    前記型枠は、生コンクリートを堰き止める堰止面を形成する堰板部と、前記堰板部の一端に設けられ、前記堰止面と直交する方向に延びる被載置面を形成するフランジとを有し、
    前記型枠保持部材は、長手方向に延び、前記被載置面と当接される載置面を形成する本体片と、
    前記本体片の一端で前記載置面から立ち上がり、前記フランジの外縁に係止可能な外側係止片と、
    前記外側係止片と対面するように前記載置面から立ち上がり、前記フランジの内縁に係止可能な内側係止片とを有し、
    前記外側係止片は、前記本体片と一体をなし、前記本体片から垂直に延びる外側本体部と、
    前記外側本体部に貫設され、幅方向に延びる主スリットと、
    前記主スリットよりも前記外側本体部の先端側において、前記外側本体部から前記内側係止片に向かって突設され、前記載置面に近づくに従って前記内側係止片に近づくように延びて前記フランジを案内可能な案内面を形成する案内部と、
    前記案内部における前記載置面側により前記主スリットにおける前記先端側を形成し、前記被載置面が前記載置面と当接することにより弾性力に屈して前記フランジの抜け止めを行う係止端面とを含み、
    前記係止端面は、前記幅方向の中央に位置し、前記外側本体部から離れた頂部と、前記幅方向の一端に位置し、前記外側本体部に近づく左裾部と、前記幅方向の他端に位置し、前記外側本体部に近づく右裾部とが形成された山形状又は湾曲形状をなしていることを特徴とする型枠保持部材。
  2. 前記外側係止片は、前記外側本体部に貫設され、前記主スリットの一端と連続して前記先端側に延びる左スリットと、
    前記外側本体部に貫設され、前記主スリットの他端と連続して前記先端側に延びる右スリットとを含み、
    前記案内部は前記主スリット、前記左スリット及び前記右スリットの間で舌状に形成されている請求項1記載の型枠保持部材。
  3. 前記案内面は、前記左スリットの前記先端側から前記頂部に延びる左稜線と、前記右スリットの前記先端側から前記頂部に延びる右稜線とを有している請求項2記載の型枠保持部材。
JP2016080857A 2016-04-14 2016-04-14 型枠保持部材 Expired - Fee Related JP6865529B2 (ja)

Priority Applications (1)

Application Number Priority Date Filing Date Title
JP2016080857A JP6865529B2 (ja) 2016-04-14 2016-04-14 型枠保持部材

Applications Claiming Priority (1)

Application Number Priority Date Filing Date Title
JP2016080857A JP6865529B2 (ja) 2016-04-14 2016-04-14 型枠保持部材

Publications (2)

Publication Number Publication Date
JP2017190618A true JP2017190618A (ja) 2017-10-19
JP6865529B2 JP6865529B2 (ja) 2021-04-28

Family

ID=60085791

Family Applications (1)

Application Number Title Priority Date Filing Date
JP2016080857A Expired - Fee Related JP6865529B2 (ja) 2016-04-14 2016-04-14 型枠保持部材

Country Status (1)

Country Link
JP (1) JP6865529B2 (ja)

Citations (3)

* Cited by examiner, † Cited by third party
Publication number Priority date Publication date Assignee Title
JPS5768865U (ja) * 1980-10-15 1982-04-24
JPS5899442U (ja) * 1981-12-26 1983-07-06 オ−エム工業株式会社 コンクリ−ト型枠の間隔保持具
JPH05195622A (ja) * 1992-01-20 1993-08-03 N S P:Kk コンクリート型枠用間隔保持具

Patent Citations (3)

* Cited by examiner, † Cited by third party
Publication number Priority date Publication date Assignee Title
JPS5768865U (ja) * 1980-10-15 1982-04-24
JPS5899442U (ja) * 1981-12-26 1983-07-06 オ−エム工業株式会社 コンクリ−ト型枠の間隔保持具
JPH05195622A (ja) * 1992-01-20 1993-08-03 N S P:Kk コンクリート型枠用間隔保持具

Also Published As

Publication number Publication date
JP6865529B2 (ja) 2021-04-28

Similar Documents

Publication Publication Date Title
JP3225112U (ja) 接続ターミナルおよび接続アッセンブリ
US9091096B2 (en) Security fence
EP1621417A1 (en) Guide anchor for seat belt of vehicle and method for manufacturing the same
EP1676752B1 (en) Bumper beam structure having support walls for center gusset
WO2009131013A1 (ja) 係止脚及びそれを用いたクランプ
JP2014218113A (ja) 車両前部構造
JP5829857B2 (ja) ステアリング装置における操作レバー
JP2017190618A (ja) 型枠保持部材
JP4075793B2 (ja) コネクタ及びコネクタの製造方法
JP6927107B2 (ja) コネクタ
JP2004190369A (ja) 防音壁の遮音板留め金具
JP6380844B2 (ja) 車両前部構造
JPH057074U (ja) 釣糸ガイド
JP7213229B2 (ja) 歩行者保護装置
JP3727190B2 (ja) グレッチングの固定金具
JP3985794B2 (ja) コネクタ及びコネクタの製造方法
JP6807098B2 (ja) 押さえ具
JP6511765B2 (ja) 車両前部構造
CN223062460U (zh) 可调式预埋槽道
JP2009035019A (ja) 車両用バンパ構造
JP5991811B2 (ja) 外装材取付金具
JP2018123584A (ja) パネルフェンス及びこれが備えた金属パネル
JP6085112B2 (ja) Alcパネル用アンカー金具及びalcパネル
JP2001040841A (ja) 雪止め金具
JP4766677B2 (ja) コネクタ

Legal Events

Date Code Title Description
A621 Written request for application examination

Free format text: JAPANESE INTERMEDIATE CODE: A621

Effective date: 20190404

A977 Report on retrieval

Free format text: JAPANESE INTERMEDIATE CODE: A971007

Effective date: 20200225

A131 Notification of reasons for refusal

Free format text: JAPANESE INTERMEDIATE CODE: A131

Effective date: 20200303

A521 Request for written amendment filed

Free format text: JAPANESE INTERMEDIATE CODE: A523

Effective date: 20200507

A131 Notification of reasons for refusal

Free format text: JAPANESE INTERMEDIATE CODE: A131

Effective date: 20200616

A521 Request for written amendment filed

Free format text: JAPANESE INTERMEDIATE CODE: A523

Effective date: 20200806

A131 Notification of reasons for refusal

Free format text: JAPANESE INTERMEDIATE CODE: A131

Effective date: 20201222

A521 Request for written amendment filed

Free format text: JAPANESE INTERMEDIATE CODE: A523

Effective date: 20201228

TRDD Decision of grant or rejection written
A01 Written decision to grant a patent or to grant a registration (utility model)

Free format text: JAPANESE INTERMEDIATE CODE: A01

Effective date: 20210309

A61 First payment of annual fees (during grant procedure)

Free format text: JAPANESE INTERMEDIATE CODE: A61

Effective date: 20210406

R150 Certificate of patent or registration of utility model

Ref document number: 6865529

Country of ref document: JP

Free format text: JAPANESE INTERMEDIATE CODE: R150

LAPS Cancellation because of no payment of annual fees