JP2017166317A - 車両用ドアチェッカ - Google Patents

車両用ドアチェッカ Download PDF

Info

Publication number
JP2017166317A
JP2017166317A JP2017078647A JP2017078647A JP2017166317A JP 2017166317 A JP2017166317 A JP 2017166317A JP 2017078647 A JP2017078647 A JP 2017078647A JP 2017078647 A JP2017078647 A JP 2017078647A JP 2017166317 A JP2017166317 A JP 2017166317A
Authority
JP
Japan
Prior art keywords
door checker
vehicle door
stopper
arm
tip
Prior art date
Legal status (The legal status is an assumption and is not a legal conclusion. Google has not performed a legal analysis and makes no representation as to the accuracy of the status listed.)
Granted
Application number
JP2017078647A
Other languages
English (en)
Other versions
JP6495367B2 (ja
Inventor
充男 池之嶌
Mitsuo Ikenoshima
Current Assignee (The listed assignees may be inaccurate. Google has not performed a legal analysis and makes no representation or warranty as to the accuracy of the list.)
Tims Corp
Original Assignee
Tims Corp
Priority date (The priority date is an assumption and is not a legal conclusion. Google has not performed a legal analysis and makes no representation as to the accuracy of the date listed.)
Filing date
Publication date
Application filed by Tims Corp filed Critical Tims Corp
Priority to JP2017078647A priority Critical patent/JP6495367B2/ja
Publication of JP2017166317A publication Critical patent/JP2017166317A/ja
Application granted granted Critical
Publication of JP6495367B2 publication Critical patent/JP6495367B2/ja
Active legal-status Critical Current
Anticipated expiration legal-status Critical

Links

Images

Landscapes

  • Body Structure For Vehicles (AREA)

Abstract

【課題】ストッパ部における割れやひびの発生を抑制する。【解決手段】芯金26を樹脂28で包んでドアチェッカ20のアーム24を形成し、アーム24のストッパ部24bを、芯金26の先端面、先端面から連続する2つの面取り端面(2つの面取り端面のうちの一つが面取り端面26c)とが露出するよう形成する。これにより、ストッパ部24bを形成する樹脂28における残留応力を低減することができ、ストッパ部24bにおける割れやひびの発生を抑制することができる。【選択図】図5

Description

本発明は、車両用ドアチェッカに関し、詳しくは、車体とドアとに取り付けられる車両用ドアチェッカに関する。
従来、この種の車両用ドアチェッカとしては、一端が自動車のボディに回動可能に取り付けられ先端に全開ストッパが設けられたチェックレバーと、チェックレバーが貫通されると共にドアに固着されるケースと、ケースに収納されチェックレバーの表面に摺接するシューとを備えるものが提案されている(例えば、特許文献1参照)。この車両用ドアチェッカでは、チェックレバーを、鋼板製の芯板と芯板を被覆する合成樹脂製の外皮とにより構成し、全開ストッパを、芯板の先端部に形成したピン穴に嵌合するアンカピンとチェックレバーの外皮に一体成形されアンカピンを被覆する合成樹脂製の膨大部とにより構成し、チェックレバーと全開ストッパとを一体成形している。これにより、全開ストッパをチェックレバーに取り付ける工程を行なう必要がないから、組立工程数の削減を図ることができる。
特開2004−190431号公報
上述の車両用ドアチェッカでは、全開ストッパの樹脂の内部に残留応力が生じ、製造時に割れやひびが生じる場合がある。製造時に割れやひびが生じない場合でも、残留応力により耐久期間を経過する前に割れやひびが生じて、所望の耐久性を発揮できない場合もある。こうした割れやひびは、製造歩留まりや製品の耐久性の低下を招くため、抑制されるのが望ましい。
本発明の車両用ドアチェッカは、ストッパ部における割れやひびの発生を抑制することを主目的とする。
本発明の車両用ドアチェッカは、上述の主目的を達成するために以下の手段を採った。
本発明の車両用ドアチェッカは、
車体とドアとに取り付けられる車両用ドアチェッカであって、
板状の芯金を樹脂で包むように形成され、前記車体に回動可能に取り付けられる取付部と、ドアの開角度を制限するストッパ部と、前記取付部と前記ストッパ部とを連結するアーム部と、を有するアームと、
前記ストッパ部が通過不能な貫通孔を有し、該貫通孔に前記アーム部を挿通した状態でドアに取り付けられるケースと、
前記アーム部に摺動可能に前記ケースに収納される摺動部材と、
を備え、
前記ストッパ部は、前記芯金の先端面が露出するように形成されている、
ことを要旨とする。
この本発明の車両用ドアチェッカでは、板状の芯金を樹脂で包むように形成されて車体に回動可能に取り付けられる取付部とドアの開角度を制限するストッパ部と取付部とストッパ部とを連結するアーム部とを有するアームと、ストッパ部が通過不能な貫通孔にアーム部を挿通した状態でドアに取り付けられるケースと、アーム部に摺動可能にケースに収納された摺動部材と、により構成されている。そして、アームのストッパ部は、芯金の先端面が露出するように形成されている。ストッパ部を形成する樹脂には、製造する過程で残留応力が生じる場合があるが、芯金の先端面が露出しているため、露出部縁部の樹脂には残留応力は発生せず、その近傍の樹脂には残留応力が発生してもその値は小さい。このため、製造時および使用時におけるストッパ部における割れやひびの発生を抑制することができる。
こうした本発明の車両用ドアチェッカにおいて、前記芯金は、前記ストッパ部において前記アーム部より幅広となる幅広部が先端から連続して形成されており、前記ストッパ部は、前記幅広部の端面のうちの前記先端面から連続する一部の端面が前記先端面から連続して露出するよう形成されている、ものとすることもできる。こうすれば、芯金の露出部分が大きくなり、残留応力を発生しない樹脂部分や残留応力が発生してもその値が小さい樹脂部分を多くすることができる。この結果、製造時および使用時におけるストッパ部における割れやひびの発生をより抑制することができる。この態様の本発明の車両用ドアチェッカにおいて、前記先端面は、前記芯金の長さ方向に対して略垂直面となるよう形成されており、前記先端面から連続する端面は、前記先端面に対して面取りするように前記先端面の方向と前記芯金の長さ方向とに対して30度から60度の角度をもつ平面により形成されている、ものとすることもできる。
また、本発明の車両用ドアチェッカにおいて、前記ストッパ部は、前記芯金の先端面を有する先端部と、前記先端部から連続して樹脂が前記アーム部より肉厚になるように形成され前記ケースが当接する台座部と、を有する、ものとすることもできる。このようにケースが当接する台座部をアーム部より肉厚になるよう形成することにより、ストッパ部の強度をより高くすることができる。この場合、前記先端部は、略四角錐台形状となるよう形成されており、前記台座部は、略四角柱形状となるよう形成されている、ものとすることもできる。
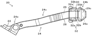
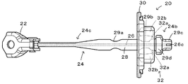
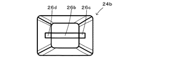
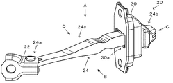
本発明の一実施例としてのドアチェッカ20が車体とドアとに取り付けられている様子を示す説明図である。 ドアチェッカ20の構成の概略を示す説明図である。 ドアチェッカ20を図2におけるA方向から視た外観の概略を示す上面図である。 図3のストッパ部24bを拡大した部分拡大図である。 ドアチェッカ20を図2におけるB方向から視た外観の概略を示す側面図である。 ストッパ部24bを図2におけるC方向から視た外観の概略を示す説明図である。 変形例のドアチェッカ120のストッパ部124bを拡大して図2におけるA方向から視た外観を示す部分拡大図である。
次に、本発明を実施するための形態を実施例を用いて説明する。
図1は、本発明の一実施例としてのドアチェッカ20が車体とドアとに取り付けられている様子を示す説明図であり、図2は、ドアチェッカ20の構成の概略を示す説明図であり、図3は、ドアチェッカ20を図2におけるA方向から視た外観の概略を示す上面図であり、図4は、図3のストッパ部24bを拡大した部分拡大図であり、図5は、ドアチェッカ20を図2におけるB方向から視た外観の概略を示す側面図であり、図6は、ストッパ部24bを図2におけるC方向から視た外観の概略を示す説明図である。
ドアチェッカ20は、車体とドアとに取り付けられる装置であり、図1に示すように、車体の取付部Bの中央とドアの取付部Dの中央とに取り付けられている。なお、ドアは、ドアチェッカ20の上方および下方で車体の取付部Bとドアの取付部Dに取り付けられた2つのドアヒンジH1,H2により、開閉可能に支持されている。
ドアチェッカ20は、図1〜図3,図5に示すように、ステンレスなどの金属材料により形成された板状の芯金26をプラスチックなどの樹脂28で包んで形成されたアーム24と、ドアDに取り付けられたケース30と、ケース30に収納された摺動部材32と、により構成されている。
アーム24は、図2,図3,図5に示すように、図中左端から右端まで延在するように芯金26を樹脂28で包んで形成されており、ブラケット22により車体Bに回動可能に取り付けられた取付部24aと、ドアの開角度を制限するストッパ部24bと、取付部24aとストッパ部24bとを連結するアーム部24cと、を有する。
アーム部24cは、全体として樹脂28が取付部24aからストッパ部24bに向かって徐々に肉厚になるように形成されており、中央より若干ストッパ部24b側の位置にドアを中間開度で保持するための凹部29aと、ストッパ部24bの近傍の位置にドアを全開角度で保持するための凹部29bとが形成されている。
ストッパ部24bは、図2〜図6に示すように、芯金26の先端面26bと後述する面取り端面26c,26dとが露出するように略四角錐台形状に形成された先端部29cと、この先端部29cに連続するように且つアーム部24cより肉厚になるように略四角柱形状に形成された台座部29dと、により構成されている。このように、台座部29dの樹脂をアーム部24cより肉厚となるよう形成することにより、台座部29dの強度を高めることができる。
ストッパ部24bの芯金26は、図3,図4に示すように、台座部29dの中央から先端に向かってアーム部24cより幅広となるよう幅広部26aとして形成されており、その先端面26b側の端部は幅広の矩形端部の角が面取りされた形状となるように形成されている。即ち、芯金26の先端面26bは芯金26の長さ方向に対して直交する垂直面として形成されており、この先端面に連続する両側の面取り端面26c,26dは芯金26の長さ方向に対して略45度の角度をもった垂直面として形成されている。そして、この面取り端面26c,26dは共に先端面26bと同様に露出するように樹脂28が形成されている。このように、芯金26の先端面26bやこれに連続する面取り端面26c,26dを露出するのは、その近傍の樹脂に残留応力を生じさせないようにしたり残留応力が生じてもその値を小さなものとするためである。樹脂の内部に発生する残留応力は、樹脂が硬化する際の部位による温度差や樹脂と芯金との熱膨張率の差などに基づいて生じるが、芯金26の先端面26bや面取り端面26c,26dの縁部では樹脂は開放端となるために残留応力は生じない。また、その近傍では、残留応力が生じてもその値は小さくなる。このため、残留応力によって生じる樹脂の割れやひびを抑制することができる。
ケース30は、図2に示すように、アーム24のストッパ部24bの最大径より小さい径の貫通孔30aを備え、貫通孔30aにアーム24のアーム部24cを挿通した状態でドアDに取り付けられている。
摺動部材32は、図3,図5に示すように、プラスチックなどにより形成されてアーム部24cを挟むように配置された2つのスライダ32aと、ゴムなどの弾性材料により形成されて2つのスライダ32aを図3,5における上下方向外側から押圧するダンパ32bとを備えている。スライダ32aは、ダンパ32bに押圧されることによりアーム部24cの表面を図3,図5における左右方向に摺動する。こうしたダンパ32bによるスライダ32aの押圧により、スライダ32aがアーム部24cの凹部29aに位置するとき(例えば、30度の中間開度のとき)にドアを中間開度で保持し、スライダ32aがアーム部24cの凹部29bに位置するとき(例えば、60度の全開角度のとき)にドアを全開角度で保持することができる。なお、スライダ32aがアーム部24cの凹部29bより図3,図5における右に摺動すると、ケース30がストッパ部24bに当接して、ドアの開角度が全開角度を大きく超えないよう制限される。
以上説明した実施例のドアチェッカ20では、ストッパ部24bにおいて、芯金26の先端面26bや面取り端面26c,26dを露出するよう形成することにより、樹脂内部の残留応力を小さくすることができる。この結果、製造時や使用時に残留応力によって生じる樹脂の割れやひびを抑制することができる。
また、ストッパ部24bの台座部29dの樹脂がアーム部24cより肉厚になるように形成したから、台座部29dの強度をより高めることができる。
実施例のドアチェッカ20では、ストッパ部24bにおいて、芯金26の先端面26bを芯金26の長さ方向に対して直交する垂直面として形成し、この先端面26bに連続する両側の面取り端面26c,26dを芯金26の長さ方向に対して略45度の角度をもった垂直面として形成したが、面取り端面26c,26dの芯金26の長さ方向に対する角度は45度に限定されるものではなく、30度から60度の範囲の角度をもった垂直面として形成するものとしてもよい。また、図7の変形例のストッパ部124bに例示するように、先端面126bを曲面に形成し、この曲面の一部または全部が露出するようストッパ部124bを形成するものとしてもよい。
実施例のドアチェッカ20では、ストッパ部24bを、芯金26の先端面26b,面取り端面26c,26dが露出するよう形成するものとしたが、先端面26bと面取り端面26c,26dの一部とが露出するものとしてもよいし、面取り端面26c,26dは露出せずに先端面26bのみが露出するものとしてもよい。
実施例のドアチェッカ20では、ストッパ部24bの先端部29cを略四角錐台形状となるよう形成し、台座部29dを略四角柱形状となるよう形成するものとしたが、先端部29c,台座部29dの形状は適宜変更することができ、例えば、先端部29cを略四角柱形状となるよう形成し、台座部29dを先端部29cから連続する四角錘台形状となるよう形成してもよい。また、ストッパ部24bを先端部29cおよび台座部29dから形成するものに限定されるものではなく、例えば、ストッパ部24bの全体を四角錐台形状や四角柱形状に形成するものとしてもよい。
実施例の主要な要素と課題を解決するための手段の欄に記載した発明の主要な要素との対応関係について説明する。実施例では、芯金26が「芯金」に相当し、樹脂28が「樹脂」に相当し、取付部24aが「取り付け部」に相当し、ストッパ部24bが「ストッパ部」に相当し、アーム部24cが「アーム部」に相当し、アーム24が「アーム」に相当し、ケース30が「ケース」に相当し、摺動部材32が「摺動部材」に相当する。
なお、実施例の主要な要素と課題を解決するための手段の欄に記載した発明の主要な要素との対応関係は、実施例が課題を解決するための手段の欄に記載した発明を実施するための形態を具体的に説明するための一例であることから、課題を解決するための手段の欄に記載した発明の要素を限定するものではない。即ち、課題を解決するための手段の欄に記載した発明についての解釈はその欄の記載に基づいて行なわれるべきものであり、実施例は課題を解決するための手段の欄に記載した発明の具体的な一例に過ぎないものである。
以上、本発明を実施するための形態について実施例を用いて説明したが、本発明はこうした実施例に何等限定されるものではなく、本発明の要旨を逸脱しない範囲内において、種々なる形態で実施し得ることは勿論である。
本発明は、車両用ドアチェッカの製造産業などに利用可能である。
20,120 ドアチェッカ、22 ブラケット、24 アーム、24a,B,D 取付部、24b,124b ストッパ部、24c アーム部,26 芯金、26a 幅広部、26b 先端面、26c,26d 面取り端面、28 樹脂、29a,29b 凹部、29c 先端部、29d 台座部、30 ケース、30a 貫通孔、32 摺動部材、32a スライダ、32b ダンパ、126b 先端面、H1,H2 ドアヒンジ。

Claims (6)

  1. 車体とドアとに取り付けられる車両用ドアチェッカであって、
    板状の芯金を樹脂で包むように形成され、前記車体に回動可能に取り付けられる取付部と、ドアの開角度を制限するストッパ部と、前記取付部と前記ストッパ部とを連結するアーム部と、を有するアームと、
    前記ストッパ部が通過不能な貫通孔を有し、該貫通孔に前記アーム部を挿通した状態でドアに取り付けられるケースと、
    前記アーム部に摺動可能に前記ケースに収納される摺動部材と、
    を備え、
    前記ストッパ部は、前記芯金の先端面が露出するように形成されている、
    ことを特徴とする車両用ドアチェッカ。
  2. 請求項1記載の車両用ドアチェッカであって、
    前記芯金は、前記ストッパ部において前記アーム部より幅広となる幅広部が先端から連続して形成されており、
    前記ストッパ部は、前記幅広部の端面のうちの前記先端面から連続する一部の端面が前記先端面から連続して露出するよう形成されている、
    車両用ドアチェッカ。
  3. 請求項2記載の車両用ドアチェッカであって、
    前記先端面は、前記芯金の長さ方向に対して略垂直面となるよう形成されており、
    前記先端面から連続する端面は、前記先端面に対して面取りするように前記先端面の方向と前記芯金の長さ方向とに対して30度から60度の角度をもつ平面により形成されている、
    車両用ドアチェッカ。
  4. 請求項2または3記載の車両用ドアチェッカであって、
    前記ストッパ部は、前記芯金のアーム部における幅以上の幅に亘って前記芯金の端面が露出している、
    車両用ドアチェッカ。
  5. 請求項1ないし4のうちのいずれか1つの請求項に記載の車両用ドアチェッカであって、
    前記ストッパ部は、前記芯金の先端面を有する先端部と、前記先端部から連続して樹脂が前記アーム部より肉厚になるように形成され前記ケースが当接する台座部と、を有する、
    車両用ドアチェッカ。
  6. 請求項5記載の車両用ドアチェッカであって、
    前記先端部は、略四角錐台形状となるよう形成されており、
    前記台座部は、略四角柱形状となるよう形成されている、
    車両用ドアチェッカ。
JP2017078647A 2017-04-12 2017-04-12 車両用ドアチェッカ Active JP6495367B2 (ja)

Priority Applications (1)

Application Number Priority Date Filing Date Title
JP2017078647A JP6495367B2 (ja) 2017-04-12 2017-04-12 車両用ドアチェッカ

Applications Claiming Priority (1)

Application Number Priority Date Filing Date Title
JP2017078647A JP6495367B2 (ja) 2017-04-12 2017-04-12 車両用ドアチェッカ

Related Parent Applications (1)

Application Number Title Priority Date Filing Date
JP2014005191U Continuation JP3194829U (ja) 2014-09-30 2014-09-30 車両用ドアチェッカ

Publications (2)

Publication Number Publication Date
JP2017166317A true JP2017166317A (ja) 2017-09-21
JP6495367B2 JP6495367B2 (ja) 2019-04-03

Family

ID=59909901

Family Applications (1)

Application Number Title Priority Date Filing Date
JP2017078647A Active JP6495367B2 (ja) 2017-04-12 2017-04-12 車両用ドアチェッカ

Country Status (1)

Country Link
JP (1) JP6495367B2 (ja)

Cited By (1)

* Cited by examiner, † Cited by third party
Publication number Priority date Publication date Assignee Title
JP2024072074A (ja) * 2022-11-15 2024-05-27 スズキ株式会社 車両用ドア開度規定機構及びそのレバーを製造するレバー製造方法

Citations (3)

* Cited by examiner, † Cited by third party
Publication number Priority date Publication date Assignee Title
JP2001317259A (ja) * 2000-05-08 2001-11-16 Fec Chain:Kk ドアチェック装置のアームおよびその製造方法
US20060150366A1 (en) * 2005-01-13 2006-07-13 Katsuhiro Matsuki Door checker for automobile
JP2013217077A (ja) * 2012-04-06 2013-10-24 Mitsui Kinzoku Act Corp チェックリンク装置

Patent Citations (3)

* Cited by examiner, † Cited by third party
Publication number Priority date Publication date Assignee Title
JP2001317259A (ja) * 2000-05-08 2001-11-16 Fec Chain:Kk ドアチェック装置のアームおよびその製造方法
US20060150366A1 (en) * 2005-01-13 2006-07-13 Katsuhiro Matsuki Door checker for automobile
JP2013217077A (ja) * 2012-04-06 2013-10-24 Mitsui Kinzoku Act Corp チェックリンク装置

Cited By (2)

* Cited by examiner, † Cited by third party
Publication number Priority date Publication date Assignee Title
JP2024072074A (ja) * 2022-11-15 2024-05-27 スズキ株式会社 車両用ドア開度規定機構及びそのレバーを製造するレバー製造方法
JP7811331B2 (ja) 2022-11-15 2026-02-05 スズキ株式会社 車両用ドア開度規定機構及びそのレバーを製造するレバー製造方法

Also Published As

Publication number Publication date
JP6495367B2 (ja) 2019-04-03

Similar Documents

Publication Publication Date Title
JP5239101B2 (ja) 自動車用ドアチェックリンク装置
JP3194829U (ja) 車両用ドアチェッカ
KR101636135B1 (ko) 자동차용 암레스트 힌지
JP2014034865A (ja) チェックリンク装置
JP6495367B2 (ja) 車両用ドアチェッカ
JP5382542B2 (ja) チェックリンク装置
CN101603390B (zh) 门窗隔扇用支撑件及具备该支撑件的门窗隔扇
CN206380061U (zh) 一种耳机的拉伸结构及具有该结构的头戴式耳机
EP3173560A1 (en) Covering member for concealed hinges
CN107489324B (zh) 用于车辆的门限位器设备
JP4522977B2 (ja) インサイドドアハンドル装置
JP6175692B2 (ja) 自動車用ドアチェックリンク装置
JP6951588B2 (ja) ヒンジ装置
JP6060838B2 (ja) 自動車用のストッパー治具
CN216128112U (zh) 车辆用车门开度限位装置
JP6481358B2 (ja) 車両の内装トリム
KR102109386B1 (ko) 차량 룸미러 고정 브라켓용 인써트 및 브라켓
JP5007711B2 (ja) 自動車用ドアチェッカ
CN209538969U (zh) 限位链接件装置
JP6226806B2 (ja) ヒンジの位置決め構造
JP6354250B2 (ja) ドア開度調整装置
EP3990731B1 (en) Hinge for furniture
CN106458016A (zh) 用于关闭通向机动车辆供能接口的入口的舱盖
JP6736219B2 (ja) 鎖錠装置
CN213742823U (zh) 汽车用车门开度限位装置

Legal Events

Date Code Title Description
A521 Request for written amendment filed

Free format text: JAPANESE INTERMEDIATE CODE: A523

Effective date: 20170721

A977 Report on retrieval

Free format text: JAPANESE INTERMEDIATE CODE: A971007

Effective date: 20180115

A131 Notification of reasons for refusal

Free format text: JAPANESE INTERMEDIATE CODE: A131

Effective date: 20180313

A02 Decision of refusal

Free format text: JAPANESE INTERMEDIATE CODE: A02

Effective date: 20181113

A521 Request for written amendment filed

Free format text: JAPANESE INTERMEDIATE CODE: A523

Effective date: 20181227

A911 Transfer to examiner for re-examination before appeal (zenchi)

Free format text: JAPANESE INTERMEDIATE CODE: A911

Effective date: 20190109

TRDD Decision of grant or rejection written
A01 Written decision to grant a patent or to grant a registration (utility model)

Free format text: JAPANESE INTERMEDIATE CODE: A01

Effective date: 20190205

A61 First payment of annual fees (during grant procedure)

Free format text: JAPANESE INTERMEDIATE CODE: A61

Effective date: 20190306

R150 Certificate of patent or registration of utility model

Ref document number: 6495367

Country of ref document: JP

Free format text: JAPANESE INTERMEDIATE CODE: R150

R250 Receipt of annual fees

Free format text: JAPANESE INTERMEDIATE CODE: R250

R250 Receipt of annual fees

Free format text: JAPANESE INTERMEDIATE CODE: R250

R250 Receipt of annual fees

Free format text: JAPANESE INTERMEDIATE CODE: R250

R250 Receipt of annual fees

Free format text: JAPANESE INTERMEDIATE CODE: R250