JP2017166314A - 締切構造物 - Google Patents

締切構造物 Download PDF

Info

Publication number
JP2017166314A
JP2017166314A JP2017047359A JP2017047359A JP2017166314A JP 2017166314 A JP2017166314 A JP 2017166314A JP 2017047359 A JP2017047359 A JP 2017047359A JP 2017047359 A JP2017047359 A JP 2017047359A JP 2017166314 A JP2017166314 A JP 2017166314A
Authority
JP
Japan
Prior art keywords
water blocking
work space
water
blocking wall
embankment
Prior art date
Legal status (The legal status is an assumption and is not a legal conclusion. Google has not performed a legal analysis and makes no representation as to the accuracy of the status listed.)
Granted
Application number
JP2017047359A
Other languages
English (en)
Other versions
JP6266821B2 (ja
Inventor
山下 徹
Toru Yamashita
徹 山下
浩一朗 安野
Koichiro Yasuno
浩一朗 安野
慎 塚本
Shin Tsukamoto
慎 塚本
敦夫 木井
Atsuo Kii
敦夫 木井
Current Assignee (The listed assignees may be inaccurate. Google has not performed a legal analysis and makes no representation or warranty as to the accuracy of the list.)
Penta Ocean Construction Co Ltd
Original Assignee
Penta Ocean Construction Co Ltd
Priority date (The priority date is an assumption and is not a legal conclusion. Google has not performed a legal analysis and makes no representation as to the accuracy of the date listed.)
Filing date
Publication date
Application filed by Penta Ocean Construction Co Ltd filed Critical Penta Ocean Construction Co Ltd
Priority to JP2017047359A priority Critical patent/JP6266821B2/ja
Publication of JP2017166314A publication Critical patent/JP2017166314A/ja
Application granted granted Critical
Publication of JP6266821B2 publication Critical patent/JP6266821B2/ja
Active legal-status Critical Current
Anticipated expiration legal-status Critical

Links

Images

Landscapes

  • Revetment (AREA)

Abstract

【課題】流れのある水中において、水中構造物周囲の水中部に所望のドライな作業空間を確保する手段を提供する。【解決手段】締切構造物1は、橋脚Pの周囲の作業空間Sに外側から作用する流体力を減勢する築堤11と、築堤11の内側に間隔をあけて配置され、作業空間Sの下面(台座Fの上面)の高さから上に向かい延伸する縦部材121を有し、橋脚Pからの反力を受けることなく自立するフレーム12と、隣り合う2本の縦部材121の間に各々挿入され、内部に水を収容できる中空の函体である複数の止水壁13を備える。主として止水壁13に加わる海水Wの流体力は、築堤11により減勢されている。そのため、止水壁13を支持するフレーム21は、短い横部材122によって自立しつつ、止水壁13に加わる力に抗して止水壁13を支持することができる。そのため、橋脚Pとフレーム12の間に切梁を配置する必要がなく、作業性の高い作業空間Sが確保される。【選択図】図2

Description

本発明は、水中構造物周囲の水中部にドライな作業空間を形成する技術に関する。
水中構造物の周囲を止水壁で囲い、水中構造物周囲の水中部にドライな作業空間を形成する技術が知られている。例えば、特許文献1には、水中構造物の水面下にある床台の上に所定の間隔で立設された複数の支柱の間に分割止水プレートを挿入し、締結手段で床台と分割止水プレートの間、及び、支柱と分割止水プレートの間の少なくとも一方を止水用のシール材を介在して締結して締切用壁体を構築した後、締切用壁体の内側の水を排水することで、水中構造物周囲の水中部にドライな作業空間を形成する技術が提案されている。
特開2013−108316号公報
沿岸部や河川等の流れのある水中において、例えば既設の橋脚周りの補修、補強等のために、作業対象の水中構造物の周囲に所望のドライな作業空間を確保したい場合がある。流れのある水中において特許文献1に記載の発明を用いると、床台の上に立設された支柱に対し作業空間の外側から作用する静水圧のみでなく、水流による力(流体力)も加わる。その結果、支柱がその合力に抗しきれず、締切用壁体が容易に破損してしまう、という問題がある。
本発明は、上記の事情に鑑み、流れのある水中において、水中構造物周囲の水中部にドライな作業空間を確保する手段を提供することを目的とする。
上記の目的を達成するため、本発明は、水中構造物周囲の水中部にドライな作業空間を形成する締切構造物であって、前記作業空間に外側から作用する流体力を減勢する築堤と、前記築堤の内側に間隔をあけて配置され、前記作業空間の少なくとも下面の高さから上に向かい延伸する複数の縦部材と、前記複数の縦部材のうち隣り合う2本の間に各々挿入され、内部に水を収容できる中空の函体である複数の止水壁とを備える締切構造物を第1の態様として提案する。
上記の第1の態様に係る締切構造物によれば、築堤により流体力が減勢された環境下に配置された縦部材により止水壁が支持されるため、流れのある水中においても、水中構造物周囲の水中部にドライな作業空間を確保することができる。また、止水壁が軽量な中空の函体であるため、その配置の作業が容易である。
また、上記の第1の態様に係る締切構造物において、前記縦部材と一体化されたフレームを構成する横部材と斜部材とを備え、前記作業空間をドライにした状態において、前記フレーム及び前記止水壁が前記水中構造物からの反力を受けることなく自立する、という構成が本発明の第2の態様として採用されてもよい。
上記の第2の態様に係る締切構造物によれば、縦部材と水中構造物の間に切梁を配置する必要がなく、作業性の高い作業空間が確保される。
また、本発明は、水中構造物周囲の水中部にドライな作業空間を形成する締切方法であって、前記作業空間に外側から作用する流体力を減勢する築堤を配置した後、前記築堤の内側に間隔をあけて、前記作業空間の少なくとも下面の高さから上に向かい延伸する複数の縦部材を配置し、前記複数の縦部材のうち隣り合う2本の縦部材の間の各々に、内部に水を収容できる中空の函体である止水壁を挿入し、前記止水壁の各々に水を注入し、前記作業空間内の水を排出する締切方法を第3の態様として提案する。
上記の第3の態様に係る締切方法によれば、流れのある水中においても、水中構造物周囲の水中部にドライな作業空間を確保することができる。また、止水壁の配置の作業が容易である。
本発明によれば、流れのある水中において、水中構造物周囲の水中部に所望のドライな作業空間が確保される。
一実施形態に係る締切構造物及び消波構造物の平面図。 一実施形態に係る締切構造物の断面図。 一実施形態に係る消波構造物の断面図。 一実施形態に係るシール材の配置位置を示した図。 一実施形態に係るシール材の配置位置を示した図。 一実施形態に係るシール材の配置位置を示した図。 一実施形態に係るシール材の配置位置を示した図。 一実施形態に係る締切構造物の構築が開始される前の状態の断面図。 一実施形態に係る締切構造物の構築途中の状態の断面図。 一実施形態に係る締切構造物の構築途中の状態の断面図。 一実施形態に係る締切構造物の構築が完了した状態の断面図。 一実施形態に係る消波構造物の構築が開始される前の状態の断面図。 一実施形態に係る消波構造物の構築途中の状態の断面図。 一実施形態に係る消波構造物の構築途中の状態の断面図。 一実施形態に係る消波構造物の構築途中の状態の断面図。 一実施形態に係る消波構造物の構築途中の状態の断面図。 一実施形態に係る消波構造物の構築途中の状態の断面図。 一実施形態に係る消波構造物の構築が完了した状態の断面図。
[実施形態]
以下に本発明の一実施形態に係る締切構造物1及び消波構造物2を説明する。図1は締切構造物1及び消波構造物2の平面図である。図2は図1に示すA−A線における締切構造物1の断面図(以下、A−A断面図という)である。図3は図1に示すB−B線における消波構造物2の断面図(以下、B−B断面図という)である。ただし、図2において、締切構造物1の後方に位置する消波構造物2の図示は省略されている。また、図3において、消波構造物2の後方に位置する締切構造物1の図示は省略されている。
以下に、図1〜図3に示される構造物等を説明する。Gは地盤であり、Wは海水である。本図において海底地盤とは、地盤Gのうち上面を海水Wに覆われている部分を意味する。図1に示される地盤Gは上面を海水Wで覆われていない陸部分の地盤である。図1及び図2における左側が陸側、右側が沖側である。
1及びP2は橋脚である。橋脚P1及び橋脚P2は作業対象の水中構造物の一例であり、橋脚P1及び橋脚P2に対して、例えば耐震補強等の作業が行われる。Fは台座であり、台座Fの上に橋脚P1及び橋脚P2が配置されている。以下、橋脚P1及び橋脚P2を橋脚Pと総称する。
締切構造物1は、橋脚P周囲の水中部に所望のドライな作業空間Sを形成する構造物である。締切構造物1は、作業空間Sに外側から作用する流体力を減勢する築堤11と、築堤11の内側に間隔をあけて配置される複数のフレーム12と、複数のフレーム12のうち隣り合う2つのフレーム12の間に各々挿入される複数の止水壁13と、止水壁13と台座Fの間及び止水壁13と縦部材121の間に配置されるシール材14を備える。
築堤11は、図2に示すように、海底地盤の上に配置された基礎マウンド111と、基礎マウンド111の2つの法面のうち作業空間Sからみて外側の法面を覆うように配置される複数の築堤マット112と、基礎マウンド111の平坦な上面を覆う粒度調整砕石113を有する。
基礎マウンド111は、A−A断面図において概ね等脚台形となるように海底地盤上に石材を積み上げて築造された構造物であり、築堤11による流体力の減勢機能の主要部分を担う。築堤マット112は、樹脂製、金属製等の籠に多数の石材を収容したもので、基礎マウンド111の外側の法面の波浪による破損のリスクを低減する。粒度調整砕石113は、基礎マウンド111を構成する石材より粒径の小さい石材であり、基礎マウンド111の平坦な上面を覆うことにより、その上を重機等が通行可能とする。
フレーム12は、台座Fの上に配置され、止水壁13を台座F上で支持する役割を果たす。図1に示す例では、フレーム12は平面図において概ね矩形の作業空間Sの陸側の端辺と、当該陸側の端辺に隣接する2つの端辺に概ね等間隔で配置されている。
フレーム12の各々は、作業空間Sの少なくとも下面の高さから上に向かい延伸する縦部材121と、縦部材121の下端部から作業空間Sの内側に向かい延伸する横部材122と、縦部材121と横部材122に架け渡すように斜めに配置される斜部材123とが一体化された部材である。縦部材121、横部材122及び斜部材123の材料はH鋼であり、互いに溶接等により連結されている。また、横部材122はアンカーボルト等により台座Fに固定されている。
図1に示されるように、縦部材121は、H形状の開口部分が隣接する他の縦部材121のH形状の開口部分と互いに対向する方向となるように、横部材122に対し連結されている。縦部材121は、隣接する他の縦部材121との間に挿入される止水壁13をその凹部に受容し、止水壁13を台座F上に起立した状態で支持する。
横部材122と斜部材123は、縦部材121を台座F上に起立した状態で支持する役割を果たす。作業空間Sをドライにした状態において、フレーム12及び止水壁13には作業空間Sの外側から内側へ向かい海水Wの水圧力が加わるが、横部材122と斜部材123があるため、フレーム12及び止水壁13は海水Wの水圧力に抗することができる。すなわち、フレーム12及び止水壁13は橋脚Pからの反力を受けることなく自立するため、例えば橋脚Pとフレーム12の間に切梁を配置する必要はない。
止水壁13の各々は、内部に水を収容できる中空の函体である。止水壁13は、隣り合う2本の縦部材121の間に挿入され、作業空間Sがドライにされた状態において、作業空間Sに対する海水Wの浸入を遮断する役割を果たす。
なお、図1に示されるように、止水壁13のうち作業空間Sの陸側の隅角部に配置される止水壁13は、平面図において概ねL字形状を示す。その他の止水壁13は、平面図において概ね直線形状(細長い矩形)を示す。ただし、止水壁13の形状は作業空間Sの形状に応じて適宜変更されてよい。
シール材14は、止水壁13と台座Fの隙間、及び、止水壁13とフレーム12の隙間を水密に塞ぐことにより、ドライにされた作業空間Sに対し海水Wが漏れ入ることを防止する。シール材14の材料としては、例えば弾性のあるスポンジゴム等が用いられる。
図4及び図5は、シール材14が配置される位置を示した図である。シール材14は、台座Fの上面のうち、止水壁13の底面が接する部分に配置されるシール材141と、縦部材121の表面のうち、止水壁13の作業空間S側の面が接する部分に配置されるシール材142を含む。
隣り合う2本の縦部材121の間に、内部に水の注入されていない止水壁13が挿入された後、止水壁13の内部に水(例えば、止水壁13の周りの海水W)が注入されると、内部に水を収容した状態の止水壁13の底面は、止水壁13の自重によりシール材141に対し下方に強く押しつけられる。その際、シール材141は変形し、台座Fと止水壁13の隙間を塞ぐ。
その後、作業空間S内の海水Wが排水されると、止水壁13に対し作業空間Sの外側から内側に向かう方向に、海水Wの水圧力が加わる。この力を受けて、止水壁13が縦部材121に対し水平方向に強く押しつけられる。その際、シール材142は変形し、縦部材121と止水壁13の隙間を塞ぐ。
続いて、図1及び図3を参照しつつ、消波構造物2の構成を説明する。消波構造物2は、沿岸部の海底地盤の上方に配置されるフレーム21と、フレーム21を安定させ、かつ消波機能を有する築堤22と、フレーム21の陸側に隣接して配置される複数の縦方向支持部材23と、縦方向支持部材23とフレーム21とを連結する連結部材24と、隣り合う2本の縦方向支持部材23の間の各々に挿入される止水壁25と、止水壁25と台座Fの間及び止水壁25と縦方向支持部材23の間に配置されるシール材26を備える。
フレーム21は、陸側から沖側に向かい延伸する複数の横部材211と、各々がいずれかの横部材211の陸側の端部から上に向かい延伸する複数の縦部材212と、互いに連結される横部材211と縦部材212に架け渡すように斜めに配置される斜部材213と、縦部材212に取り付けられる壁状部材214と、隣り合う2本の横部材211に架け渡すように配置される複数の横方向補強部材215とが一体化された部材である。
横部材211の底面はフレーム21及びその上の基礎マウンド221の重力を受けて築堤22を構成する石材に接する。従って、横部材211の底面と築堤22の石材との摩擦力が大きい程、フレーム21が築堤22に埋設された状態で安定するため望ましい。従って、石材との摩擦力を増すために、横部材211の底面がコンクリート等で被覆されていてもよい。
なお、図1の例では、消波構造物2が備えるフレーム21の数は4つであるが、この数は作業空間Sの沖側の辺の長さに応じて適宜変更される。また、図1の例では、1つのフレーム21が備える横部材211、縦部材212及び斜部材213は各3本であるが、この数も適宜変更されてよい。
横部材211、縦部材212及び斜部材213の材料はH鋼であり、横方向補強部材215の材料は溝形鋼であり、これらは互いに溶接等により連結されている。壁状部材214の材料は鋼板又は木製等の板状部材である。本実施形態において、壁状部材214は、隣り合う2本の縦部材212の間に挿入された状態で、それらの縦部材212に取り付けられる。従って、図1の例では、1つのフレーム21は2枚の壁状部材214を有する。
壁状部材214が縦部材212に取り付けられる、とは、壁状部材214が沖側から陸側に向かう方向に移動しないように縦部材212によって支持されることを意味し、壁状部材214が縦部材212に固定連結されている必要はない。従って、本実施形態では、上述したように、隣り合う2本の縦部材212の間に壁状部材214が挿入される構成が採用されている。ただし、壁状部材214が2本の縦部材212の間に挿入される代わりに、壁状部材214が、例えば縦部材212の作業空間S側の面上に、溶接等により取り付けられてもよい。
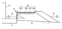
築堤22は、海底地盤の上に配置された基礎マウンド221と、基礎マウンド221の平坦な上面を覆うように配置される複数の築堤マット222と、築堤マット222の上面を覆う粒度調整砕石223と、基礎マウンド221の沖側の法面を覆うように配置される複数の消波ブロック224を有する。
フレーム21の少なくとも横部材211は、基礎マウンド221に埋設されている。すなわち、築堤22は、海底面から横部材211の上面以上までの高さ範囲に配置されている。
基礎マウンド221は、B−B断面図における陸側の底角が概ね90度、沖側の底角が鋭角の台形となるように海底地盤上に石材を積み上げて築造された構造物であり、築堤22による消波機能の主要部分を担う。基礎マウンド221の陸側の側面は、下方部分が台座Fの沖側の側面によって支持され、また、上方部分がフレーム21の壁状部材214によって支持されて、概ね鉛直に切り立っている。
築堤マット222は、樹脂製、金属製等の籠に多数の石材を収容したもので、基礎マウンド221の上面の波浪による破損のリスクを低減する。粒度調整砕石223は、築堤マット222の籠に収容される石材より粒径の小さい石材であり、基礎マウンド221の上に平坦に配置されている築堤マット222の上面を覆うことにより、その上を重機等が通行可能とする。消波ブロック224は、築堤22の消波機能を増強するとともに、基礎マウンド221の沖側の法面の波浪による破損のリスクを低減する。
縦方向支持部材23は、台座Fの上に配置され、止水壁25を台座F上で支持する役割を果たす。図1に示す例では、縦方向支持部材23は平面図において概ね矩形の作業空間Sの沖側の端辺に概ね等間隔で配置されている。
縦方向支持部材23の材料はH鋼であり、台座F上に起立した状態で連結部材24によりいずれかのフレーム21の縦部材212に連結されている。図1に示されるように、縦方向支持部材23は、H形状の開口部分が隣接する他の縦方向支持部材23のH形状の開口部分と互いに対向する方向となるように配置されている。縦方向支持部材23は、隣接する他の縦方向支持部材23との間に挿入される止水壁25をその凹部に受容し、止水壁25を台座F上に起立した状態で支持する。
連結部材24は縦方向支持部材23とフレーム21を連結する。図3の例では、連結部材24の各々は2本の横方向連結部材241と3つのチェーンブロック242を有しているが、これらの数は適宜変更されてよい。
横方向連結部材241は長さ調整が可能であり、縦方向支持部材23の沖側の側面と、その側面に対向する位置にあるフレーム21の縦部材212の陸側の側面の間に配置され、フレーム21に対する縦方向支持部材23の位置決めを行う役割を果たす。
チェーンブロック242は横方向連結部材241が間に配置された状態の縦部材212と縦方向支持部材23に架け渡されたチェーンを締め上げ、縦方向支持部材23をフレーム21に対し固定する役割を果たす。
上記のように、縦方向支持部材23は連結部材24によりフレーム21に連結された状態で台座F上に起立した状態で支持される。作業空間Sをドライにした状態において、縦方向支持部材23及び止水壁25には作業空間Sの外側から内側へ向かい海水Wの水圧力が加わるが、縦方向支持部材23がフレーム21に連結されているため、縦方向支持部材23及び止水壁25は海水Wの水圧力に抗することができる。従って、例えば海水Wの水圧力に抗するために橋脚Pと縦方向支持部材23の間に切梁を配置する必要はない。
止水壁25の各々は、内部に水を収容できる中空の函体である。止水壁25は、隣り合う2本の縦方向支持部材23の間に挿入され、作業空間Sがドライにされた状態において、作業空間Sに対する海水Wの浸入を遮断する役割を果たす。なお、図1に示されるように、止水壁25は平面図において概ね直線形状(細長い矩形)を示す。ただし、止水壁25の形状は作業空間Sの形状に応じて適宜変更されてよい。
シール材26は、止水壁25と台座Fの隙間、及び、止水壁25と縦方向支持部材23の隙間を水密に塞ぐことにより、ドライにされた作業空間Sに対し海水Wが漏れ入ることを防止する。シール材26の材料としては、例えば弾性のあるスポンジゴム等が用いられる。
図6及び図7は、シール材26が配置される位置を示した図である。シール材26は、台座Fの上面のうち、止水壁25の底面が接する部分に配置されるシール材261と、縦方向支持部材23の表面のうち、止水壁25の作業空間S側の面が接する部分に配置されるシール材262を含む。
隣り合う2本の縦方向支持部材23の間に、内部に水の注入されていない止水壁25が挿入された後、止水壁25の内部に水(例えば、止水壁25の周りの海水W)が注入されると、内部に水を収容した状態の止水壁25の底面は、止水壁25の自重によりシール材261に対し下方に強く押しつけられる。その際、シール材261は変形し、台座Fと止水壁25の隙間を塞ぐ。
その後、作業空間S内の海水Wが排水されると、止水壁25に対し作業空間Sの外側から内側に向かう方向に、海水Wの水圧力が加わる。この水圧力を受けて、止水壁25が縦方向支持部材23に対し水平方向に強く押しつけられる。その際、シール材262は変形し、縦方向支持部材23と止水壁25の隙間を塞ぐ。
図1に示されるように、締切構造物1が備える止水壁13は作業空間Sの陸側の側面と当該側面に隣接する2つの側面を囲むように配置される。また、消波構造物2が備える止水壁25は作業空間Sの沖側の側面を囲むように配置される。これらの止水壁に加え、締切構造物1の最も沖側に配置される縦部材121と、それらの縦部材121に隣り合う消波構造物2の縦方向支持部材23との間には、止水壁31が挿入される。また、止水壁31と台座Fの間及び止水壁31と縦部材121又は縦方向支持部材23の間には、シール材32が配置される。
なお、止水壁31は平面図において概ねL字形状を示す。ただし、止水壁31の形状は作業空間Sの形状に応じて適宜変更されてよい。
止水壁31は、止水壁13及び止水壁25と同様に、内部に水を収容できる中空の函体である。シール材32は、シール材14及びシール材26と同様に、スポンジゴム等の弾性体であり、止水壁31と台座Fの隙間及び止水壁31と縦部材121又は縦方向支持部材23の隙間を塞ぐ。作業空間Sは、止水壁13、止水壁25及び止水壁31によってその全周を囲まれ、外側からの海水Wの浸入を受けることなくドライな状態が保たれる。
以上が、締切構造物1及び消波構造物2の構成の説明である。続いて、上記の構成を備える締切構造物1及び消波構造物2の構築方法を説明する。以下、便宜的に締切構造物1の構築方法を説明した後、消波構造物2の構築方法を説明するが、これらの構造物の構築が同時並行で行われてもよい。
図8は、締切構造物1の構築が開始される前の状態のA−A断面図である。まず、台座Fの近傍の海底地盤の上に石材を投下し、均して、基礎マウンド111を築造する。続いて、基礎マウンド111の外側の法面の上に、当該法面を覆うように築堤マット112を並べて配置する。続いて、基礎マウンド111の上面の平坦な部分に粒度調整砕石113を投下し、均す。なお、築堤マット112の配置と粒度調整砕石113の配置の順序は問わない。これにより、築堤11の配置が完了する。図9は、築堤11の配置が完了した状態のA−A断面図である。
続いて、台座F上にフレーム12を配置し、アンカーボルト等で固定する。続いて、シール材14を配置する。図10は、フレーム12とシール材14の配置が完了した状態のA−A断面図である。
続いて、隣り合うフレーム12の間に、まだ水の注入されていない止水壁13を挿入する。続いて、止水壁13に水(例えば、周りの海水W)を注入する。図11は、止水壁13の配置が完了した状態のA−A断面図である。これにより、締切構造物1の構築が完了する。
図12は、消波構造物2の構築が開始される前の状態のB−B断面図である。まず、台座Fに近接する海底地盤の上に、上面の高さが台座Fの上面と概ね同じ高さとなるまで石材を投下し、均して、基礎マウンド221の下層部分2211を築造する。図13は、基礎マウンド221の下層部分2211の築造が完了した状態のB−B断面図である。
続いて、下層部分2211の上にフレーム21を配置する。続いて、フレーム21に連結部材24の横方向連結部材241を取り付ける。なお、横方向連結部材241が予め取り付けられた状態のフレーム21が下層部分2211の上に配置されてもよい。図14は、フレーム21の配置及び横方向連結部材241の取り付けが完了した状態のB−B断面図である。
続いて、下層部分2211の上に配置されたフレーム21の横部材211と、斜部材213の少なくとも一部が基礎マウンド221内に埋設されるように、下層部分2211の上に石材を投下し、均して、基礎マウンド221の上層部分2212を築造する。これにより、基礎マウンド221の築造が完了する。図15は、基礎マウンド221の築造が完了した状態のB−B断面図である。
続いて、基礎マウンド221の上面の平坦な部分を覆うように築堤マット222を並べて配置した後、築堤マット222の上に粒度調整砕石223を投下し、均す。続いて、基礎マウンド221の沖側の法面を覆うように消波ブロック224を配置する。これにより、築堤22の配置が完了する。図16は、築堤22の配置が完了した状態のB−B断面図である。
続いて、台座F上に縦方向支持部材23を配置し、チェーンブロック242で縦方向支持部材23をフレーム21に対し固定する。続いて、シール材26を配置する。図17は、縦方向支持部材23とシール材26の配置が完了した状態のB−B断面図である。
続いて、隣り合う縦方向支持部材23の間に、まだ水の注入されていない止水壁25を挿入する。続いて、止水壁25に水(例えば、周りの海水W)を注入する。図18は、止水壁25の配置が完了した状態のB−B断面図である。これにより、消波構造物2の構築が完了する。
続いて、作業空間Sの沖側の隅角部の縦部材121と縦方向支持部材23、及びそれらの間の台座F上にシール材32を配置する。続いて、作業空間Sの沖側の隅角部の縦部材121と縦方向支持部材23の間に止水壁31を挿入する。続いて、止水壁31に水(例えば、周りの海水W)を注入する。これにより、作業空間Sの側面の全周が、止水壁13、止水壁25及び止水壁31によって止水された状態で囲まれることになる。
続いて、作業空間S内の水を排出する。これにより、図2及び図3に示されるように、作業空間Sがドライな状態となる。
以上が、締切構造物1及び消波構造物2の構築方法の説明である。締切構造物1及び消波構造物2の撤去方法は、上述した構築方法における順序と概ね逆の作業を行う方法となり、上述した締切構造物1及び消波構造物2の構築方法に照らせば当業者にとって自明であるため、その説明を省略する。
締切構造物1によれば、水流を伴う水中において、ドライな状態の作業空間Sが確保される。また、止水壁13が軽量な中空の函体であるため、その配置の作業が容易である。さらに、フレーム12は自立するため、橋脚Pとフレーム12の間に切梁を配置する必要がなく、高い作業性の作業空間Sが確保される。
上述の実施形態は本発明に一具体例であって、本発明の技術的思想の範囲内において様々に変形可能である。例えば、締切構造物1は沿岸部、すなわち波浪を伴う海域に配置されるものとしたが、水流を伴う水域であれば、例えば河川等に配置されてもよい。また、上述の実施形態において採用されている部材の数、配置位置、形状、大きさ等は例示であって、適宜変更されてよい。例えば、上述した実施形態において縦部材121及び縦方向支持部材23の材料として採用されているH鋼に代えて、2本の溝形鋼を溶接等により接合した材料等の他の材料が採用されてもよい。
築堤マット112、築堤マット222、粒度調整砕石113、粒度調整砕石223についても本発明の技術的思想の範囲内において様々に変形可能である。例えば流体力の減勢に直接寄与しない築堤マット112、築堤マット222、粒度調整砕石113、粒度調整砕石223は、それらの機能を代替する他の材料に置き換えられてもよいし、それらの材料そのものが省略されてもよい。
1…締切構造物、2…消波構造物、11…築堤、12…フレーム、13…止水壁、14…シール材、21…フレーム、22…築堤、23…縦方向支持部材、24…連結部材、25…止水壁、26…シール材、31…止水壁、32…シール材、111…基礎マウンド、112…築堤マット、113…粒度調整砕石、121…縦部材、122…横部材、123…斜部材、211…横部材、212…縦部材、213…斜部材、214…壁状部材、215…横方向補強部材、221…基礎マウンド、222…築堤マット、223…粒度調整砕石、224…消波ブロック、241…横方向連結部材、242…チェーンブロック

Claims (3)

  1. 水中構造物周囲の水中部にドライな作業空間を形成する締切構造物であって、
    前記作業空間に外側から作用する流体力を減勢する築堤と、
    前記築堤の内側に間隔をあけて配置され、前記作業空間の少なくとも下面の高さから上に向かい延伸する複数の縦部材と、
    前記複数の縦部材のうち隣り合う2本の間に各々挿入され、内部に水を収容できる中空の函体である複数の止水壁と
    を備える締切構造物。
  2. 前記縦部材と一体化されたフレームを構成する横部材と斜部材とを備え、
    前記作業空間をドライにした状態において、前記フレーム及び前記止水壁が前記水中構造物からの反力を受けることなく自立する
    請求項1に記載の締切構造物。
  3. 水中構造物周囲の水中部にドライな作業空間を形成する締切方法であって、
    前記作業空間に外側から作用する流体力を減勢する築堤を配置した後、
    前記築堤の内側に間隔をあけて、前記作業空間の少なくとも下面の高さから上に向かい延伸する複数の縦部材を配置し、
    前記複数の縦部材のうち隣り合う2本の縦部材の間の各々に、内部に水を収容できる中空の函体である止水壁を挿入し、
    前記止水壁の各々に水を注入し、
    前記作業空間内の水を排出する
    締切方法。
JP2017047359A 2017-03-13 2017-03-13 締切構造物及び締切方法 Active JP6266821B2 (ja)

Priority Applications (1)

Application Number Priority Date Filing Date Title
JP2017047359A JP6266821B2 (ja) 2017-03-13 2017-03-13 締切構造物及び締切方法

Applications Claiming Priority (1)

Application Number Priority Date Filing Date Title
JP2017047359A JP6266821B2 (ja) 2017-03-13 2017-03-13 締切構造物及び締切方法

Publications (2)

Publication Number Publication Date
JP2017166314A true JP2017166314A (ja) 2017-09-21
JP6266821B2 JP6266821B2 (ja) 2018-01-24

Family

ID=59908682

Family Applications (1)

Application Number Title Priority Date Filing Date
JP2017047359A Active JP6266821B2 (ja) 2017-03-13 2017-03-13 締切構造物及び締切方法

Country Status (1)

Country Link
JP (1) JP6266821B2 (ja)

Cited By (6)

* Cited by examiner, † Cited by third party
Publication number Priority date Publication date Assignee Title
CN108570997A (zh) * 2018-06-07 2018-09-25 深圳市市政设计研究院有限公司 海底隧道分仓施工的回筑围堰及施工方法
CN109853477A (zh) * 2018-12-21 2019-06-07 长江勘测规划设计研究有限责任公司 廊道中化动水为静水的集中渗漏封堵结构及方法
CN112982457A (zh) * 2021-02-22 2021-06-18 中国十九冶集团有限公司 用于沉箱围堰的箱体连接装置
CN113529762A (zh) * 2021-06-30 2021-10-22 中铁十九局集团第五工程有限公司 桥梁深基坑围堰结构及施工方法
CN114215093A (zh) * 2021-12-30 2022-03-22 中铁大桥局集团有限公司 一种承台基础施工方法
JP2022059200A (ja) * 2020-10-01 2022-04-13 株式会社熊谷組 仮締切構造物及び仮締切構造物を用いた河川内工事の施工方法

Families Citing this family (2)

* Cited by examiner, † Cited by third party
Publication number Priority date Publication date Assignee Title
CN110761307B (zh) * 2019-10-12 2021-07-23 中国水利电力对外有限公司 一种土石围堰渗水处理结构及施工方法
CN110792089A (zh) * 2019-10-17 2020-02-14 龙德建设有限公司 一种土石坝坝坡上块石、厚塑料布及袋装粘土围堰施工方法

Citations (6)

* Cited by examiner, † Cited by third party
Publication number Priority date Publication date Assignee Title
JPS5629712A (en) * 1979-08-13 1981-03-25 Porigurafu Buerunaa Ramuberuts Level adjuster for paste coater doe back of book* etc*
JPS5758728A (en) * 1980-09-22 1982-04-08 Nippon Steel Metal Prod Co Ltd Temporary coffering work for river
JP2001040630A (ja) * 1999-07-29 2001-02-13 Chugoku Electric Power Co Inc:The ケーソン式海洋構造物
JP2003113608A (ja) * 2001-07-19 2003-04-18 Penta Ocean Constr Co Ltd 遮水壁構造及び該遮水壁を用いた遮水護岸構造
JP2011208389A (ja) * 2010-03-29 2011-10-20 Nippon Steel & Sumikin Metal Products Co Ltd 自立式仮締切構造および自立式仮締切工法
JP2013108316A (ja) * 2011-11-24 2013-06-06 Daiho Constr Co Ltd 締切用止水壁体及びこれを用いた締切工法

Patent Citations (6)

* Cited by examiner, † Cited by third party
Publication number Priority date Publication date Assignee Title
JPS5629712A (en) * 1979-08-13 1981-03-25 Porigurafu Buerunaa Ramuberuts Level adjuster for paste coater doe back of book* etc*
JPS5758728A (en) * 1980-09-22 1982-04-08 Nippon Steel Metal Prod Co Ltd Temporary coffering work for river
JP2001040630A (ja) * 1999-07-29 2001-02-13 Chugoku Electric Power Co Inc:The ケーソン式海洋構造物
JP2003113608A (ja) * 2001-07-19 2003-04-18 Penta Ocean Constr Co Ltd 遮水壁構造及び該遮水壁を用いた遮水護岸構造
JP2011208389A (ja) * 2010-03-29 2011-10-20 Nippon Steel & Sumikin Metal Products Co Ltd 自立式仮締切構造および自立式仮締切工法
JP2013108316A (ja) * 2011-11-24 2013-06-06 Daiho Constr Co Ltd 締切用止水壁体及びこれを用いた締切工法

Cited By (10)

* Cited by examiner, † Cited by third party
Publication number Priority date Publication date Assignee Title
CN108570997A (zh) * 2018-06-07 2018-09-25 深圳市市政设计研究院有限公司 海底隧道分仓施工的回筑围堰及施工方法
CN108570997B (zh) * 2018-06-07 2023-11-17 深圳市市政设计研究院有限公司 海底隧道分仓施工的回筑围堰及施工方法
CN109853477A (zh) * 2018-12-21 2019-06-07 长江勘测规划设计研究有限责任公司 廊道中化动水为静水的集中渗漏封堵结构及方法
CN109853477B (zh) * 2018-12-21 2024-02-02 长江勘测规划设计研究有限责任公司 廊道中化动水为静水的集中渗漏封堵结构及方法
JP2022059200A (ja) * 2020-10-01 2022-04-13 株式会社熊谷組 仮締切構造物及び仮締切構造物を用いた河川内工事の施工方法
JP7492423B2 (ja) 2020-10-01 2024-05-29 株式会社熊谷組 仮締切構造物及び仮締切構造物を用いた河川内工事の施工方法
CN112982457A (zh) * 2021-02-22 2021-06-18 中国十九冶集团有限公司 用于沉箱围堰的箱体连接装置
CN113529762A (zh) * 2021-06-30 2021-10-22 中铁十九局集团第五工程有限公司 桥梁深基坑围堰结构及施工方法
CN114215093A (zh) * 2021-12-30 2022-03-22 中铁大桥局集团有限公司 一种承台基础施工方法
CN114215093B (zh) * 2021-12-30 2023-09-19 中铁大桥局集团有限公司 一种承台基础施工方法

Also Published As

Publication number Publication date
JP6266821B2 (ja) 2018-01-24

Similar Documents

Publication Publication Date Title
JP6266821B2 (ja) 締切構造物及び締切方法
US9797110B1 (en) Cofferdam
CN103741725B (zh) 一种沉管隧道最终接头及其岸边干作施工方法
CN108343094A (zh) 一种地下室底板格构柱的防水结构及其施工方法
JP5885099B2 (ja) 柱状物周囲の仮締切装置及び同仮締切方法
JP2013253376A (ja) 液状化防止構造および液状化防止工法
JP6132144B2 (ja) 構造物の液状化被害低減構造、および液状化被害低減方法
JP5728206B2 (ja) 仕切護岸の構築工法
JPH06146305A (ja) 水中基礎およびその据付方法
JP6266820B2 (ja) 消波構造物
CN110593328B (zh) 用于建筑工程施工的桩基加固方法
JP6854479B2 (ja) 地下構造物の液状化対策構造物
JP6238088B2 (ja) 改良地盤及び地盤改良工法
JP4410572B2 (ja) 埋立用護岸の構築方法
JP2681503B2 (ja) 鋼製沈埋凾およびその設置方法
JP5877482B2 (ja) 構造物の液状化被害低減構造
JP5397701B2 (ja) 防波堤構築用鋼ブロック及び防波堤構築方法
JP2012202042A (ja) 排水機能を有する組合せ鋼矢板および該鋼矢板を用いた壁体構造
JP4958064B2 (ja) 岸壁の耐震補強構造
JP2764447B2 (ja) 橋脚支持等地盤構築物
JP2007056600A (ja) 逸震型地下室構造体とその構築工法
CN113026753B (zh) 一种渗水围堰设计封底混凝土施工结构及其方法
JP6590767B2 (ja) 液状化対策工法
JP3808552B2 (ja) 水中ケーソン構築用型枠、水中ケーソン及びその構築方法
JP7495904B2 (ja) 既存岸壁の改良構造及び改良方法

Legal Events

Date Code Title Description
A621 Written request for application examination

Free format text: JAPANESE INTERMEDIATE CODE: A621

Effective date: 20170825

A871 Explanation of circumstances concerning accelerated examination

Free format text: JAPANESE INTERMEDIATE CODE: A871

Effective date: 20170825

A975 Report on accelerated examination

Free format text: JAPANESE INTERMEDIATE CODE: A971005

Effective date: 20170921

A131 Notification of reasons for refusal

Free format text: JAPANESE INTERMEDIATE CODE: A131

Effective date: 20170926

A521 Request for written amendment filed

Free format text: JAPANESE INTERMEDIATE CODE: A523

Effective date: 20171106

TRDD Decision of grant or rejection written
A01 Written decision to grant a patent or to grant a registration (utility model)

Free format text: JAPANESE INTERMEDIATE CODE: A01

Effective date: 20171219

R150 Certificate of patent or registration of utility model

Ref document number: 6266821

Country of ref document: JP

Free format text: JAPANESE INTERMEDIATE CODE: R150

R250 Receipt of annual fees

Free format text: JAPANESE INTERMEDIATE CODE: R250

R250 Receipt of annual fees

Free format text: JAPANESE INTERMEDIATE CODE: R250

R250 Receipt of annual fees

Free format text: JAPANESE INTERMEDIATE CODE: R250