JP2017145652A - 基礎貫通用鞘管および管路更新方法 - Google Patents

基礎貫通用鞘管および管路更新方法 Download PDF

Info

Publication number
JP2017145652A
JP2017145652A JP2016029443A JP2016029443A JP2017145652A JP 2017145652 A JP2017145652 A JP 2017145652A JP 2016029443 A JP2016029443 A JP 2016029443A JP 2016029443 A JP2016029443 A JP 2016029443A JP 2017145652 A JP2017145652 A JP 2017145652A
Authority
JP
Japan
Prior art keywords
pipe
sheath
foundation
tube
vertical
Prior art date
Legal status (The legal status is an assumption and is not a legal conclusion. Google has not performed a legal analysis and makes no representation as to the accuracy of the status listed.)
Granted
Application number
JP2016029443A
Other languages
English (en)
Other versions
JP6697283B2 (ja
Inventor
悠貴 永田
Yuki Nagata
悠貴 永田
毅博 小林
Takahiro Kobayashi
毅博 小林
直樹 細江
Naoki Hosoe
直樹 細江
Current Assignee (The listed assignees may be inaccurate. Google has not performed a legal analysis and makes no representation or warranty as to the accuracy of the list.)
Kubota ChemiX Co Ltd
Original Assignee
Kubota ChemiX Co Ltd
Priority date (The priority date is an assumption and is not a legal conclusion. Google has not performed a legal analysis and makes no representation as to the accuracy of the date listed.)
Filing date
Publication date
Application filed by Kubota ChemiX Co Ltd filed Critical Kubota ChemiX Co Ltd
Priority to JP2016029443A priority Critical patent/JP6697283B2/ja
Publication of JP2017145652A publication Critical patent/JP2017145652A/ja
Application granted granted Critical
Publication of JP6697283B2 publication Critical patent/JP6697283B2/ja
Active legal-status Critical Current
Anticipated expiration legal-status Critical

Links

Images

Landscapes

  • Sink And Installation For Waste Water (AREA)

Abstract

【課題】配管を更新する際には、配管の切断作業を全て基礎貫通用鞘管の外部で行うことが可能であり、配管の更新を容易に実行できる基礎貫通用鞘管を提供する。【解決手段】基礎貫通用鞘管10は、建物の基礎100を貫通する配管18の施工に用いられ、上向きに開口する縦管部36と横向きに開口する横管部32とを有する鞘管本体30を備え、縦管部36は、配管の更新時において、基礎100から屋外に突出する屋外側配管16を基礎100の近傍で切断した後に、鞘管本体30内に残った配管18を抜き取り可能な大きさを有する構成とした。【選択図】図9

Description

この発明は、基礎貫通用鞘管および管路更新方法に関し、特にたとえば、建物の基礎を貫通する配管を施工するために用いられる、基礎貫通用鞘管および管路更新方法に関する。
従来の基礎貫通用鞘管の一例が特許文献1に開示されている。特許文献1の技術では、縦管部および横管部を一体に形成した鞘管と長さ調整用ボイド管とが建物のべた基礎内に埋設されることによって、べた基礎を貫通する貫通路が形成される。排水管を施工する際には、縦管部の下部に、破壊、切断または分離できるようにした90°エルボ継手が収容される。そして、90°エルボ継手の上流側接続口に対して屋内側の縦排水管が接着接合されると共に、下流側接続口に対して屋外側の横排水管が接着接合される。一方、排水管の更新は、90°エルボ継手を湾曲部で破壊等した後、上流側の縦排水管を縦管部側の開口から引き抜き、下流側の横排水管を長さ調整用ボイド管側の開口から引き抜くことで行われる。
特開2009−102929号公報
特許文献1の技術では、排水管の更新を行うときには、バール等の工具を鞘管内の隙間に差し込んで、90°エルボ継手の破壊、切断または分離を行う。しかし、狭小で目視も難しい鞘管内において、90°エルボ継手を破壊等することは困難である。また、鞘管内で90°エルボ継手を破壊等すると、鞘管を傷つけてしまう恐れもある。
それゆえに、この発明の主たる目的は、新規な、基礎貫通用鞘管および管路更新方法を提供することである。
この発明の他の目的は、基礎を貫通する配管の更新を容易に実行できる、基礎貫通用鞘管および管路更新方法を提供することである。
第1の発明は、建物の基礎を貫通する配管の施工に用いられる基礎貫通用鞘管であって、上向きに開口する縦管部と横向きに開口する横管部とを有する鞘管本体を備え、縦管部は、配管の更新時において、基礎から屋外に突出する配管を当該基礎の近傍で切断した後に、鞘管本体内に残った配管を抜き取り可能な大きさを有する、基礎貫通用鞘管である。
第1の発明では、基礎貫通用鞘管は、鞘管本体を備え、建物の基礎を貫通する排水管などの配管を施工するために用いられる。鞘管本体は、上向きに開口する縦管部と横向きに開口する横管部とを備える。縦管部は、配管の更新時において、基礎から屋外に突出する配管を基礎の近傍で切断した後に、鞘管本体内に残った配管をそれ以上分割することなく抜き取ることができる大きさに形成される。
第1の発明によれば、配管を更新する際には、配管の切断作業を全て基礎貫通用鞘管の外部で行うことが可能である。したがって、配管の更新を容易に実行でき、基礎貫通用鞘管を誤って傷つけてしまうことも防止できる。
第2の発明は、第1の発明に従属し、縦管部は、配管の更新時において、基礎の立上り部側に配管を寄せた状態で、基礎から屋外に突出する配管を当該基礎の近傍で切断した後に、鞘管本体内に残った配管を抜き取り可能な大きさを有する。
第2の発明では、配管の更新時に、基礎から屋外に突出する配管を基礎の近傍で切断するときには、配管を基礎の立上り部側に寄せた状態で切断することとし、縦管部は、このときに鞘管本体内に残る排水管を抜き取り可能な大きさに形成される。
第3の発明は、第1または第2の発明に従属し、横管部の軸方向における縦管部の内径は、鞘管本体内に残った配管を抜き取る際、当該鞘管本体内に残った配管の抜き取り方向における後端が横管部の基端部に達したときに、当該配管の抜き取り方向における先端側部分が縦管部の内周面に当たらない大きさに設定される。
第3の発明では、横管部の軸方向における縦管部の内径は、鞘管本体内に残った配管を抜き取る際において、鞘管本体内に残った配管の抜き取り方向における後端が横管部の基端部に達したときに、当該配管の抜き取り方向における先端側部分が縦管部の内周面に当たらない程度の最小限の大きさに設定される。
第4の発明は、第1ないし第3のいずれかの発明に従属し、横管部の軸方向と直交する方向における縦管部の内径は、当該縦管部内に配置される配管の外径と同じまたは略同じ大きさに設定される。
第4の発明では、横管部の軸方向と直交する方向における縦管部の内径は、縦管部内に配置される配管の外径と同じまたは略同じ大きさに設定される。これにより、縦管部の大きさを小さくすることができる。また、鞘管本体内に配管を設置した際には、配管は、縦管部の側壁に支えられて、横管部の軸方向と直交する方向に倒れ難くなる。
第5の発明は、第1ないし第4のいずれかの発明に従属し、縦管部の開口を覆うように当該縦管部の上流側端部を連結させる上開口補強部をさらに備える。
第5の発明では、鞘管本体に対して一体的に設けられる上開口補強部をさらに備える。上開口補強部は、縦管部の開口を覆うドーム状などに形成されて、縦管部の上流側端部を連結させる。この上開口補強部は、基礎貫通用鞘管が建物の基礎に埋設固定された後に切断除去されるものであり、上開口補強部が鞘管本体から切断除去されることによって、縦管部の開口が開放状態となる。
第5の発明によれば、縦管部に上開口補強部を設けたので、縦管部の開口部分の強度が向上される。したがって、コンクリート打設時の生コンクリート圧などによる縦管部の変形を適切に防止できる。その上、上開口補強部は、縦管部の開口を覆うように設けられるので、縦管部の開口から基礎貫通用鞘管内に生コンクリートやゴミ等が入り込むことを防止するキャップの機能も果たす。したがって、コンクリート打設前にキャップやテープ等を用いて縦管部の開口を封止する作業を省略でき、基礎貫通用鞘管の施工作業が効率化される。
第6の発明は、第5の発明に従属し、上開口補強部の上面は、水平面を有する。
第6の発明によれば、上開口補強部の水平面に対して水平器を当てる或いは載置する等して、基礎貫通用鞘管が傾いて設置されていないことを確認できるので、基礎貫通用鞘管の水平出しが容易となる。
第7の発明は、第1ないし第6のいずれかの発明に従属し、横管部の開口を覆うように当該横管部の下流側端部を連結させる横開口補強部をさらに備える。
第7の発明では、鞘管本体に対して一体的に設けられる横開口補強部をさらに備える。横開口補強部は、横管部の開口を覆うドーム状などに形成されて、横管部の下流側端部を連結させる。この横開口補強部は、基礎貫通用鞘管が建物の基礎に埋設固定された後に切断除去されるものであり、横開口補強部が鞘管本体から切断除去されることによって、横管部の開口が開放状態となる。
第7の発明によれば、横管部に横開口補強部を設けたので、横管部の開口部分の強度が向上される。また、横開口補強部は、横管部の開口を覆うように設けられることでキャップの機能も果たすので、コンクリート打設前にキャップやテープ等を用いて横管部の開口を封止する作業を省略でき、基礎貫通用鞘管の施工作業が効率化される。
第8の発明は、第1ないし第7のいずれかの発明に従属し、縦管部は、略小判形の横断面形状を有し、横管部の軸方向と直交する方向において対向配置される縦管部の側壁の外周面は、外方に向かって膨らむ湾曲面を有する。
第8の発明では、縦管部の横断面形状は、略小判形とされる。そして、横管部の軸方向と直交する方向において対向配置される縦管部の側壁の外周面は、外方に向かって膨らむ湾曲面を有する。
第8の発明によれば、外圧に対する縦管部の強度が向上される。したがって、縦管部の内方への変形が防止ないし低減される。
第9の発明は、第1ないし第8のいずれかの発明に係る基礎貫通用鞘管を用いて建物の基礎を貫通するように施工された配管を更新する管路更新方法であって、(a)配管の屋内側部分を基礎貫通用鞘管の外部で切断するステップ、(b)基礎から屋外に突出する配管を当該基礎の近傍で切断するステップ、(c)ステップ(a)およびステップ(b)の後、基礎貫通用鞘管内に残る配管を当該基礎貫通用鞘管の縦管部の開口から抜き取るステップ、および(d)ステップ(c)の後、基礎貫通用鞘管内に新規の配管を挿通して設置するステップを含む、管路更新方法である。
第9の発明では、基礎貫通用鞘管を用いて建物の基礎を貫通するように施工された排水管などの配管を更新する。この基礎貫通用鞘管は、配管の更新時において、基礎から屋外に突出する配管を当該基礎の近傍で切断した後に、鞘管本体内に残った配管を抜き取り可能な大きさを有する縦管部を備えるものである。この管路更生方法では、先ず、ステップ(a)において、配管の屋内側部分を基礎貫通用鞘管(鞘管本体)の外部で切断する。また、ステップ(b)において、基礎の立上り部から屋外に突出する配管を立上り部の屋外側の側面近傍で切断する。このステップ(a)およびステップ(b)については、どちらを先に行っても構わない。その後、ステップ(c)において、基礎貫通用鞘管内に残る配管を縦管部の開口から抜き取る。そして、ステップ(d)において、基礎貫通用鞘管内に新規の配管を挿通して設置する。
第9の発明によれば、配管の切断作業を全て基礎貫通用鞘管の外部で行い、また、基礎貫通用鞘管内に残る配管も縦管部の開口から抜き取るだけなので、配管の更新が容易である。
この発明によれば、配管を更新する際には、配管の切断作業を全て基礎貫通用鞘管の外部で行うことが可能である。したがって、配管の更新を容易に実行でき、基礎貫通用鞘管を誤って傷つけてしまうことも防止できる。
この発明の上述の目的,その他の目的,特徴および利点は、図面を参照して行う以下の実施例の詳細な説明から一層明らかとなろう。
この発明の一実施例の基礎貫通用鞘管を用いて建物の布基礎を貫通する排水管を施工した様子を示す図解図である。 図1の基礎貫通用鞘管内に挿通される内管の一例を示す図解図であって、(A)は正面図であり、(B)は断面図である。 図1の基礎貫通用鞘管を示す図解図であって、(A)は斜視図であり、(B)は正面図である。 図1の基礎貫通用鞘管を示す図解図であって、(A)は平面図であり、(B)は横管部側を示す側面図である。 図1の基礎貫通用鞘管を示す図解図であって、(A)は図4(A)のV(A)-V(A)線における断面図であり、(B)は図3(B)のV(B)-V(B)線における断面図である。 図1の基礎貫通用鞘管を布基礎に施工する施工方法の一例を示す図解図であり、(A)は基礎貫通用鞘管を布基礎の立上り基礎に仮固定した様子を示し、(B)は土間コンクリートを打設して基礎貫通用鞘管を埋設固定するときの様子を示し、(C)は埋設固定した基礎貫通用鞘管の上開口補強部および横開口補強部を切断除去した様子を示す。 図6(A)の状態を上方から見た様子を示す図解図である。 図1の基礎貫通用鞘管内を通る排水管を施工する施工方法の一例を示す図解図であり、(A)は基礎貫通用鞘管内において内管に屋外側配管を接続するときの様子を示し、(B)は建物の布基礎を貫通する排水管を施工した様子を示す。 図1の基礎貫通用鞘管を用いて施工された排水管を更新する管路更新方法の一例を示す図解図であり、(A)は屋内側で排水管を切断するときの様子を示し、(B)は屋外側で排水管を切断するときの様子を示し、(C)は鞘管本体内に残った排水管を取り出すときの様子を示す。 この発明の他の実施例の基礎貫通用鞘管が備える縦管部の横断面形状を示す断面図である。 この発明のさらに他の実施例の基礎貫通用鞘管を示す正面図である。 この発明のさらに他の実施例の基礎貫通用鞘管を示す斜視図である。 この発明のさらに他の実施例の基礎貫通用鞘管を示す斜視図である。 図13の基礎貫通用鞘管を布基礎の立上り基礎に仮固定した様子を示す図解図である。 この発明のさらに他の実施例の基礎貫通用鞘管を示す斜視図である。 図15の基礎貫通用鞘管を建物のべた基礎に施工する施工方法の一例を示す図解図であり、(A)は鉄筋間を通るように基礎貫通用鞘管を仮固定した様子を示し、(B)は基礎コンクリートを打設して基礎貫通用鞘管を埋設固定するときの様子を示し、(C)は埋設固定した基礎貫通用鞘管の上開口補強部を切断除去した様子を示す。 基礎貫通用鞘管内に挿通される排水管の他の一例を示す図解図である。
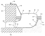
図1を参照して、この発明の一実施例である基礎貫通用鞘管10(以下、単に「鞘管10」という。)は、建物の基礎を貫通する排水管などの配管を施工するために用いられるものであり、基礎に埋設固定されることによって、基礎の屋内側と屋外側とを連通させる貫通路を形成する。そして、この鞘管10内に挿通した内管12によって屋内側配管14と屋外側配管16とを連結することにより、基礎を貫通する配管が施工される。
図1に示すように、この実施例では、布基礎100に対して鞘管10を適用して、この鞘管10内を通るように排水管18を施工する例を示す。布基礎100は、立上り部(立上り基礎)102とその下端に設けられるフーチング104とを備え、逆T字形の断面形状を有する。また、立上り部102には、布基礎100の打設時においてボイド孔106が予め形成される。ボイド孔106は、鞘管10の横管部32の外径よりも若干大きいまたは略同じ内径を有する断面円形の貫通孔である。
なお、布基礎100の立上り部102の厚みは、一般的には150〜170mmに設定されるが、この実施例では、最も厚い部類に入る190mmを想定している。また、施工する排水管18は、内径75mmの合成樹脂管を想定している。後述する鞘管10の各部の寸法は、これらに合わせて設定された寸法である。
先ず、鞘管10内に配設される内管12の一例について説明する。内管12は、鞘管10内に配置されて、屋内側配管14と屋外側配管16とを連結する継手であって、排水管18の一部を構成する。
図2に示すように、内管12は、可撓性を有さないエルボ状の硬質管であって、硬質塩化ビニル等の合成樹脂によって形成される。この実施例では、内管12として汎用の90°大曲りエルボが用いられる。すなわち、内管12は、90°の角度で湾曲する曲管状の内管本体20を有し、その上流側端部には、屋内側配管14と接続される第1受口22が上向きに形成され、その下流側端部には、屋外側配管16と接続される第2受口24が横向きに形成される。第1受口22および第2受口24の外径、つまり内管12の径方向における最大幅は、たとえば97mmである。
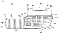
続いて、鞘管10の構成について具体的に説明する。図3−図5に示すように、鞘管10は、硬質塩化ビニル、ポリエチレンおよびポリプロピレン等の合成樹脂によって形成され、ブロー成形などを利用して製造される。鞘管10は、鞘管本体30を備え、全体として90°エルボ状に形成される。
具体的には、鞘管本体30は、横管部32、湾曲部34および縦管部36を含む。横管部32は、横方向に延びる断面円形の短直管状に形成され、その下流側端部に横向きに開口する横開口32aが形成される。横管部32の内径は、たとえば96mmである。湾曲部34は、横管部32の上流側に設けられ、横管部32の上流側端部から連続して上向きに湾曲する筒状に形成される。縦管部36は、湾曲部34の上流側に設けられ、上下方向に延びる短直管状に形成される。この縦管部36の上流側端部に上向きに開口する上開口36aが形成される。
また、縦管部36は、横管部32の軸方向において対向配置される半円筒状の側壁36bと、横管部32の軸方向と直交する方向において対向配置されて、側壁36bの周方向の端部同士を連結する側壁36cとによって形成され、縦管部36の横断面形状は、略小判形とされる。そして、縦管部36の大きさ(上開口36aの開口面積)は、後述する排水管18の更新時に、布基礎100から屋外に突出する排水管18を布基礎100の近傍で切断した後に、鞘管本体30内に残った排水管18をそれ以上分割することなく抜き取ることができる大きさに設定される。これによって、排水管18を更新する際には、排水管18の切断作業を全て、鞘管本体30(貫通路)の外部で行うことが可能となる。
ただし、部材コストや後述する土間コンクリート116の見た目などを考慮すると、縦管部36の上開口36aの大きさは、なるべく小さくすることが好ましい。そこで、この実施例では、排水管18の更新時に、布基礎100から屋外に突出する排水管18を布基礎100の近傍で切断するときには、排水管18を立上り部102側に寄せた状態で切断することとし(図9(B)参照)、縦管部36の大きさは、このときに鞘管本体30内に残る排水管18を抜き取り可能な最小限の大きさに設定される。したがって、横管部32の軸方向における縦管部36の内径(上開口36aの径)R1は、排水管18の更新時に鞘管本体30内に残った排水管18を抜き取る際、この鞘管本体30内に残った排水管18の抜き取り方向における後端が横管部32の基端部38に達したときに、排水管18の抜き取り方向における先端側部分が縦管部36の内周面にぎりぎり当たらない程度の最小限の大きさに設定される(図9(C)参照)。これにより、上開口36aの大きさが抑えられる。また、鞘管本体30内に内管12を配置した際には、内管12は、横管部32の軸方向に沿って移動可能となる。つまり、排水管18の配管可動域が存在するようになる。縦管部36の内径R1は、たとえば285mmである。
また、横管部32の軸方向と直交する方向における縦管部36の内径R2は、内管12の第1受口22の外径、つまり縦管部36内に配置される排水管18の外径と同じまたは略同じ大きさに設定される。これにより、上開口36aの大きさが抑えられる。また、鞘管本体30内に内管12を挿通した際には、内管12は、縦管部36の側壁36cに支えられて、横管部32の軸方向周りに回転して側方に倒れることが防止される。縦管部36の内径R2は、たとえば104mmである。
ここで、縦管部36の側壁36cは、平板状に形成することもできるが、この実施例では、図5(B)からよく分かるように、外方に向かって少し(側壁36bの端部を直線的に連結した場合と比較して2−4mm程度)膨らむ湾曲板状に形成される。すなわち、側壁36cの外周面は、外方に向かって膨らむ湾曲面となっている。これによって、上開口36aの大きさを抑えつつ、外圧(側圧)に対する側壁36cの強度が向上され、縦管部36の内方への変形が防止ないし低減される。また、後述のように上開口補強部46を除去したとき、成形残留応力の開放に起因する縦管部36の偏平が生じ難くなる。さらに、縦管部36にリブ(突起部)を設けて補強する場合と比較して、縦管部36の切断が容易となるので、鞘管10の施工作業が容易となる。ただし、側壁36cは、縦管部36の軸方向の全長に亘って湾曲板状に形成される必要はない。たとえば、上開口補強部46の除去時に切断される可能性の高い部分(縦管部36の上部)を湾曲板状に形成し、その他の部分(縦管部の基端部)はリブを設けて補強しておくとよい。
また、横管部32の基端部38、つまり横管部32から湾曲部34への移行部分は、その断面形状が馬蹄形となるように段差状に拡径される。すなわち、横管部32の基端部38は、半円筒状の上半部と半角筒状の下半部とを有し、横管部32の外周面には、鍔状に突出する段差面38aが形成される。後述のように、横管部32をボイド孔106に嵌め込んで鞘管10を設置する際には、ボイド孔106の周縁と段差面38aとが当接することによって、鞘管10が位置決めされる。
さらに、横管部32の外周面には、周方向に延びる環状の標線40が、軸方向に所定間隔で並ぶように形成される。この標線40は、小突起、小溝および印刷などによって形成される。作業者は、後述のように横管部32を切断して横開口補強部48を除去するときには、この標線40を目安とすることによって、横管部32をその軸方向と直交する方向に正確に切断し易くなる。
さらにまた、湾曲部34の上流側底部には、矩形平板状の平板部42が形成される。鞘管10を設置する際には、この平板部42と横管部32の基端部38底面とが、直接または防湿シート114を介して土面上に載置されることで鞘管10が安定し、鞘管10の側方への転倒が防止される。
また、鞘管本体30の軸方向中央部(主に湾曲部34)には、周方向および軸方向などに延びる複数のリブ44が形成される。リブ44は、たとえば、鞘管本体30の側壁を外側に突き出すことによって形成される。これによって、鞘管本体30の剛性が高められる。なお、リブ44の数および形状などは、図示したものに限定されず、適宜変更可能である。
さらに、鞘管本体30の両端部には、上開口補強部46および横開口補強部48が一体的に設けられる。つまり、鞘管本体30と上開口補強部46および横開口補強部48とは、一体成形される。
上開口補強部46は、縦管部36の上開口36aを覆うようにドーム状に形成され、縦管部36の上流側端部(つまり上開口36aの周縁)を連結させる。このような上開口補強部46を設けることによって、縦管部36の上開口36a部分の強度、特に側方からの圧力に対する強度が向上される。また、上開口補強部46は、その上面に水平面46aを有する。この水平面46aは、鞘管10を設置する際に、水平器を当てる或いは載置するために用いられる。
横開口補強部48は、横管部32の横開口32aを覆うようにドーム状に形成され、横管部32の下流側端部(つまり横開口32aの周縁)を連結させる。このような横開口補強部48を設けることによって、横管部32の横開口32a部分の強度が向上される。
また、鞘管本体30、上開口補強部46および横開口補強部48には、リング状の保持部材取付部50が設けられる。この保持部材取付部50は、鞘管10を設置する際に、鞘管10を仮固定するためのワイヤ、針金、紐および糸などの保持部材110(図6参照)を取り付けるために用いられる。ただし、保持部材取付部50の形状、個数および配置位置などは適宜変更可能である。
上述のような上開口補強部46および横開口補強部48は、コンクリートを打設して鞘管10を埋設固定した後(この実施例では土間コンクリート116の打設後)に切断除去されるものである。上開口補強部46および横開口補強部48を切断除去することによって、鞘管本体30の上開口36aおよび横開口32aが開放状態となり、布基礎100の屋内側と屋外側とを連通させる貫通路が形成される。なお、上開口補強部46および横開口補強部48は切断除去されるものであるため、縦管部36および横管部32の軸方向長さは、上開口補強部46が屋内側に突出した状態、また、横開口補強部48が屋外側に突出した状態で鞘管10を埋設固定できるような大きさに設定される。
また、縦管部36の上端部外面には、コンクリートを打設可能な上限位置を凹凸や印刷などによって表示する表示部52が設けられる。この表示部52を目安にしてコンクリートを打設することによって、上開口補強部46がコンクリート内に埋設されることが防止される。ただし、表示部52は、コンクリートを打設可能な高さ範囲や推奨する高さ範囲などを示すものであってもよい。
続いて、図6−図8を参照して、鞘管10を用いて建物の布基礎100を貫通する排水管18を施工する管路施工方法の一例について説明する。
この管路施工方法では、先ず、図6および図7に示すように、布基礎100を打設すると共に、鞘管10を所定位置に埋設固定する。
具体的には、先ず、布基礎100を打設するための基礎型枠を形成し、基礎型枠内に鉄筋を配置する。また、排水管18の配管位置には、立上り部102の下部を厚み方向に貫通するように、円筒状のボイド管を配置しておく。そして、基礎型枠内に生コンクリートを流し込み、所定時間養生してコンクリートが固化した後、基礎型枠およびボイド管を除去する。これによって、立上り部102にボイド孔106を有する布基礎100が打設される。ただし、ボイド管は、立上り部102に埋め殺しされてもよい。また、ボイド孔106の屋内側には、鞘管10を設置するための空間を設けると共に、屋内側の土112の上には、防湿シート114を設置しておく。なお、防湿シート114は、鞘管10を載置する部分を切り欠いておくこともできる。また、布基礎100は、プレファブリケーション(プレハブ)で形成されてもよい。
次に、図6(A)に示すように、ボイド孔106に鞘管10の横管部32を嵌め込んで、鞘管10を設置する。この際には、鞘管本体30の底部を直接または防湿シート114を介して土面上に載置すると共に、ボイド孔106の周縁と鞘管10の横管部32の段差面38aとが当接するまで横管部32をボイド孔106に嵌め込む。そしてこの状態で、図7からよく分かるように、吊り糸などの保持部材110を用いて鞘管10を仮固定する。
保持部材110を用いて鞘管10を仮固定する方法は特に限定されないが、たとえば、上開口補強部46および横開口補強部48のそれぞれに設けた保持部材取付部50を連結させるように保持部材110を取り付け、保持部材110によって吊り上げるようにして鞘管10を仮固定するとよい。この際には、保持部材110は、布基礎100の立上り部102上面から突出するように設けられるアンカボルト108等を経由させて、横方向に広げた状態にするとよい。
ただし、必ずしもアンカボルト108等を経由させて保持部材110を取り付ける必要はない。また、図示は省略するが、立上り部102の上面などに保持部材取付具を別途設置し、たとえば、この保持部材取付具と鞘管10の上開口補強部46および横開口補強部48に設けられる保持部材取付部50とを保持部材110によって連結することにより、鞘管10を仮固定することもできる。また、保持部材取付具として昇降部を有するフロアバンド等を用い、たとえば、その昇降部を介して上開口補強部46に設けた保持部材取付部50と横開口補強部48に設けた保持部材取付部50とを保持部材110によって連結し、連結後に昇降部を用いて保持部材110を張り上げるようにしてもよい。さらに、吊り糸などの保持部材110を用いると共に、或いは、保持部材110を用いる代わりに、横管部32の外周面とボイド孔106の内周面との間にブチルテープ等の両面テープを設け、ボイド孔106に対して横管部32を接着または粘着させることによって、鞘管10を仮固定することもできる。これによって、作業者の技術による個人差を生じさせることなく、より確実に鞘管10を仮固定できる。
さらに、図示は省略するが、上開口補強部46の水平面46aに対して水平器を当てる或いは載置して、鞘管10が傾いて設置されていないことを確認する。
このように横管部32をボイド孔106に嵌め込んだ状態で、保持部材110を用いて鞘管10を仮固定することで、鞘管10が安定的に仮固定される。また、ボイド孔106の周縁と段差面38aとが当接することで、鞘管10が容易に位置決めされる。さらに、平板状に形成される横管部32の基端部38底面と平板部42とが土面上に載置されることで、横管部32の軸方向周りの鞘管10の回転が防止され、鞘管10がより安定的に仮固定される。
鞘管10が仮固定されると、続いて、図6(B)に示すように、鞘管10の周囲の空間を土で埋め戻した後、或いはそのまま、鞘管10の縦管部36の周囲を覆うように土間コンクリート116を打設して、鞘管10を埋設固定する。土間コンクリート116を打設するときには、表示部52に表示される上限位置を超えないようにし、土間コンクリート116の上面から上開口補強部46の全体が突出するようにする。
ここで、この実施例では、縦管部36の上開口36a部分を上開口補強部46によって補強しているので、土間コンクリート116打設時の生コンクリート圧による縦管部36(延いては鞘管10)の変形が適切に防止される。また、上開口補強部46は、上開口36aを覆うように設けられているため、上開口36aから鞘管10内に生コンクリートやゴミ等が入り込むことを防止するキャップの機能も果たす。したがって、土間コンクリート116の打設前にキャップやテープ等を用いて上開口36aを封止する作業を省略できる。同様に、横開口補強部48は、横開口32aを覆うように設けられていることからキャップの機能も果たし、キャップまたはテープ等を用いて横開口32aを封止する作業を省略できる。さらに、上開口補強部46は、ドーム状に形成されているので、仮に上開口補強部46の周縁部分に生コンクリートが乗ってしまったとしても、生コンクリートは自然と滑り落ちる。
土間コンクリート116が硬化して鞘管10が埋設固定されると、続いて、図6(C)に示すように、鞘管本体30から上開口補強部46と横開口補強部48とを切断除去する。
具体的には、先ず、鞘管10の仮固定に用いた保持部材110を取り外す。この際、外部に露出する(つまり埋設されない部分である)上開口補強部46および横開口補強部48に対して保持部材取付部50を設けておくことで、土間コンクリート116内に埋め残したり土間コンクリート116を傷つけたりすることなく、保持部材110を取り外すことができる。
そして、ディスクグラインダ(サンダ)等の切断工具を用いて、縦管部36の上流側端部を土間コンクリート116の上面近傍位置において切断することによって、上開口補強部46を除去する。この切断作業によって、上開口36aが開放状態になると同時に、縦管部36の長さ(高さ)調整が完了する。同様に、切断工具を用いて、横管部32の下流側端部を立上り部102の屋外側の側面近傍位置において切断することによって、横開口補強部48を除去する。この切断作業によって、横開口32aが開放状態になると同時に、横管部32の長さ調整が完了する。
以上の作業により、布基礎100の屋内側と屋外側とを連通する貫通路(配管通路)が、鞘管10の鞘管本体30によって形成される。
鞘管10の埋設固定作業が終了すると、次に、図8に示すように、鞘管10(鞘管本体30)内に排水管を挿通して設置する。
具体的には、先ず、図8(A)に示すように、鞘管本体30の外部において、内管12の第1受口22に対して屋内側配管14の配管部材を接着接合し、その後、上開口36aから鞘管本体30内に内管12を挿入する。そして、横開口32aから鞘管本体30内に屋外側配管16の配管部材を差し込み、鞘管本体30内で内管12の第2受口24に対して屋外側配管16の配管部材を接着接合する。
次に、図8(B)に示すように、所望する屋内側配管14の配管位置に合わせて、接続した屋内側配管14および屋外側配管16の配管部材と共に内管12を移動させて、横管部32の軸方向における内管12の配置位置を調整する。ただし、内管12の第1受口22に対する屋内側配管14の配管部材の接合は、第2受口24に対して屋外側配管16の配管部材を接合した後、または、鞘管本体30内において内管12の配置位置を調整した後に行うようにしてもよい。
その後、ボイド孔106の屋外側開口縁にシリコンシーラントなどのコーキング118を施し、屋外側配管16の外周面とボイド孔106の内周面との間の隙間を塞ぐ。なお、図示は省略するが、鞘管本体30には、上開口36aを封止する蓋を適宜設けておくとよい。また、内管12と鞘管本体30との間の隙間をスポンジ等で埋めてもよい。最後に、屋外側配管16の周囲を土等で埋め戻すことによって、布基礎100の立上り部102を貫通する排水管18の施工が終了する。
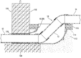
続いて、図9を参照して、鞘管10を用いて布基礎100を貫通するように施工された排水管18を更新する管路更新方法の一例について説明する。
老朽化等により排水管18を更新する必要が生じた場合には、先ず、図9(A)に示すように、屋内側配管14および屋外側配管16を鞘管10(鞘管本体30)の外部で切断する。また、次の図9(B)の工程において排水管18を立上り部102側に寄せるスペースを確保するため、排水管18を移動させる最大距離L以上の間隔をあけた箇所において、屋外側配管16を再度切断して除去する。なお、図9(A)では、縦管部36の端面近傍で屋内側配管14を切断するようにしているが、この切断位置は、もっと上の方(上流側)であってもよい。同様に、屋外側配管16の切断位置は、もっと下流側であってもよい。
次に、図9(B)に示すように、鞘管本体30内の排水管18を布基礎100の立上り部102側に寄せる。この際には、たとえば、排水管18が鞘管本体30の内周面に当接ないし近接するまで排水管18を立上り部102側に寄せるとよい。ただし、予め所定の基準位置を設けておいて、排水管18をこの基準位置よりも立上り部102側に寄せるようにしてもよい。その後、立上り部102(ボイド孔106)から屋外に突出する屋外側配管16を、立上り部102の屋外側の側面近傍で切断する。
続いて、図9(C)に示すように、鞘管本体30内に残る排水管18を縦管部36の上開口36aから抜き取る。具体的には、鞘管本体30内の排水管18を布基礎100の立上り部102と反対側に寄せながら、排水管18の抜き取り方向における後端(屋外側配管16の先端)を支点として回動させることによって、排水管18を上開口36aから抜き取る。このように、既設の排水管18を除去する際には、排水管18の切断作業を全て、鞘管本体30の外部で行うことが可能であり、鞘管本体30内に残る排水管18も縦管部36の上開口36aから容易に抜き取ることができる。
その後、図8に示した方法と同様にして、新規の排水管18を鞘管本体30内に挿通して設置することによって、排水管18の更新が完了する。
以上のように、この実施例によれば、鞘管10の縦管部36は、排水管18の更新時に、布基礎100から屋外に突出する排水管18を布基礎100の近傍で切断した後に、鞘管本体30内に残った排水管18を抜き取り可能な大きさを有する。このため、排水管18を更新する際には、排水管18の切断作業を全て、鞘管本体30(貫通路)の外部で行うことが可能となる。したがって、排水管18の更新が容易であり、誤って鞘管本体30などを傷付けてしまう恐れもない。
また、埋設設置した鞘管10内に内管12を配置した後でも、横管部32の軸方向に対して内管12を自由に移動させることができる、つまり内管12の配置位置を調整可能なので、排水管18を施工し易い。
さらに、内管12として汎用の継手を利用でき、専用部材としては鞘管10を製作するだけでよい。したがって、部材コストを低減できる。また、鞘管10の寸法は、立上り部102の厚みとして最も厚い部類に入る190mmを想定して設定しているので、それよりも厚みの小さい立上り部102を有する布基礎100に対しても鞘管10を使用でき、部材コストをより低減できる。ただし、適用する基礎の立上り部の厚み等に応じて、縦管部36等の各部の寸法を設定した鞘管10を各種取り揃えるようにしてもよい。
さらにまた、縦管部36の上開口36aに対して上開口補強部46を設けたので、上開口36a部分の強度が向上される。したがって、土間コンクリート116打設時の生コンクリート圧による縦管部36の変形を適切に防止できる。その上、上開口補強部46は、上開口36aを覆うように設けられるので、上開口36aから鞘管10内に生コンクリートやゴミ等が入り込むことを防止するキャップの機能も果たす。したがって、土間コンクリート116の打設前にキャップやテープ等を用いて上開口36aを封止する作業を省略でき、鞘管10の施工作業が効率化される。
また、上開口補強部46が水平面46aを有するので、水平器を用いた鞘管10の水平出しが容易となる。
さらに、横管部32の横開口32aに対して横開口補強部48を設けたので、横開口32a部分の強度が向上される。また、横開口補強部48は、横開口32aを覆うように設けられることでキャップの機能も果たすので、土間コンクリート116の打設前にキャップやテープ等を用いて横開口32aを封止する作業を省略できる。
さらにまた、縦管部36の側壁36cの外周面を外方に向かって膨らむ湾曲面としたので、外圧に対する側壁36cの強度が向上され、縦管部36の内方への変形が防止ないし低減される。
なお、上述の実施例では、縦管部36の側壁36cは、略均一の厚みを有する湾曲板状に形成したが、これに限定されない。たとえば、図10に示すように、周方向中央部に向かって徐々に厚みが大きくなるように側壁36cを形成することによって、側壁36cの外周面が外方に向かって膨らむ湾曲面となるようにしてもよい。また、縦管部36の横断面形状は、必ずしもを小判形(角丸長方形)である必要はなく、馬蹄形、楕円形および円形などであってもよい。
また、上述の実施例では、鞘管10の湾曲部34を比較的緩やかに上向きに湾曲させているが、図11に示す実施例のように、湾曲部34は、横管部32の基端部38から略垂直方向に立ち上がるように湾曲させてもよい。これによって、縦管部36を横管部32側、つまり立上り部102の近傍に寄せて配置することが可能となるので、立上り部102の屋内側の壁面に沿わせて屋内側配管14を配管し易くなる。
さらに、上述の実施例では、上開口補強部46および横開口補強部48によって上開口36aおよび横開口32aの全体を覆うようにしたが、これに限定されない。上開口補強部46および横開口補強部48は、必ずしも上開口36aおよび横開口32aを完全に封止(密閉)する必要はなく、その一部が切り欠かれていてもよい。たとえば、上開口補強部46および横開口補強部48には、その補強機能およびキャップ機能を損なわい程度の小径の孔が形成されていてもよい。また、上述の実施例では、上開口補強部46および横開口補強部48をドーム状に形成したが、これに限定されない。上開口補強部46および横開口補強部48は、たとえば、平板状に形成されてもよい。
さらにまた、上開口補強部46および横開口補強部48は、必ずしも設ける必要はなく、図12に示す実施例のように、鞘管10は、両端が予め開口された鞘管本体30のみで形成されてもよい。また、上開口補強部46および横開口補強部48のいずれか一方のみを設けるようにしてもよい。
また、上述の実施例では、鞘管本体30の横管部32は、ボイド孔106の全長に亘る長さを有するようにしたが、これに限定されない。
たとえば、図13に示すように、この発明の他の実施例の鞘管10では、鞘管本体30の横開口32aは予め開放状態にされ、鞘管本体30の横管部32の長さは短く設定される。段差面38aから横管部32の先端までの長さは、たとえば30mmである。その他の部分については、図3に示す鞘管10と同様であるので、説明は省略する。
図13に示す鞘管10を埋設固定する際には、図14に示すように、ボイド孔106に鞘管10の横管部32を嵌め込み、ボイド孔106の周縁と鞘管10の横管部32の段差面38aとを当接させる。そしてこの状態で、吊り糸などの保持部材110を用いて鞘管10を仮固定する。たとえば、上開口補強部46に設けた保持部材取付部50と立上り部102のアンカボルト108等とを連結させるように保持部材110を取り付けて、鞘管10を仮固定するとよい。
鞘管10の仮固定後、鞘管10の縦管部36の周囲を覆うように土間コンクリート116を打設して、鞘管10を埋設固定する。この際には、段差面38aをボイド孔106の縁の周方向全長に当接させておくことによって、埋め戻し用の土または生コンクリートが、横管部32外周面とボイド孔106内周面との間の隙間に侵入(流出)することが防止される。
鞘管10の埋設固定後、鞘管10の仮固定に用いた保持部材110を取り外し、また、縦管部36の上流側端部を土間コンクリート116の上面近傍位置において切断することによって、上開口補強部46を切断除去する。これにより、布基礎100の屋内側と屋外側とを連通させる貫通路がボイド孔106と鞘管本体30とによって形成されるので、この貫通路を利用して排水管18を設置する。
そして、老朽化等により排水管18を更新する必要が生じた場合には、図9に示した方法と同様にして、既設の排水管18を除去した後、新規の排水管18を設置するとよい。
図13に示す実施例においても、排水管18を更新する際には、排水管18の切断作業を全て、鞘管本体30(貫通路)の外部で行うことが可能となる。したがって、排水管18の更新が容易であり、誤って鞘管本体30などを傷付けてしまう恐れもない。
また、上述の実施例では、布基礎100の立上り部102に断面円形のボイド孔106を形成したが、ボイド孔106の断面形状は特に限定されない。ボイド孔106は、たとえば、断面矩形や断面馬蹄形(アーチ形)の貫通孔であってもよい。
さらに、上述の実施例では、布基礎100に対して鞘管10を適用した例を示したが、べた基礎128に対して鞘管10を適用することもできる。図15には、べた基礎128に用いられる鞘管10の一例を示す。
図15に示す実施例の鞘管10では、鞘管本体30の横開口32aは予め開放状態にされ、その横管部32の軸方向長さは、べた基礎128の立上り部の厚みと同程度の大きさとされる。その他の部分については、図3に示す鞘管10と同様であるので、説明は省略する。
図15に示す鞘管10を用いてべた基礎128を貫通する排水管を施工する方法について、図16を参照して説明する。
先ず、図16(A)に示すように、べた基礎128を打設するための基礎型枠120を形成する。この基礎型枠120内には、鉄筋122を適宜配置(配筋)しておく。そして、排水管18の配管位置に対して、鉄筋122の間を通るように鞘管10を設置する。この際には、たとえば、上開口補強部46に設けた保持部材取付部50と基礎型枠120の突起部分124等とを連結させるように保持部材110を取り付けたり、鞘管本体30の湾曲部34外面に設けた保持部材取付部50と鉄筋122とを連結するように保持部材110を取り付けたりして、鞘管10を仮固定する。また、横管部32の横開口32aは、鞘管本体30内への生コンクリートやゴミ等の入り込みを防止するために、キャップやテープ等の封止部材126を用いて封止しておく。
鞘管10の設置後、図16(B)に示すように、基礎型枠120内にコンクリート(べた基礎128)を打設する。べた基礎128を打設する際には、表示部52に表示される上限位置を超えないようにし、べた基礎128の上面から上開口補強部46の全体が突出するようにする。
コンクリートが固化して鞘管10が埋設固定されると、図16(C)に示すように、上開口補強部46に設けた保持部材取付部50と基礎型枠120の突起部分124とを連結させた保持部材110を取り外すと共に、基礎型枠120を除去する。また、縦管部36の上流側端部をべた基礎128の上面近傍位置において切断することによって、上開口補強部46を切断除去すると共に、鞘管本体30の横開口32aに装着した封止部材126を取り外す。これにより、べた基礎128の屋内側と屋外側とを連通させる貫通路が鞘管10の鞘管本体30によって形成されるので、この貫通路を利用して排水管18を設置する。
そして、老朽化等により排水管18を更新する必要が生じた場合には、図9に示した方法と同様にして、既設の排水管18を除去した後、新規の排水管18を設置するとよい。
図15に示す実施例においても、排水管18を更新する際には、排水管18の切断作業を全て、鞘管本体30の外部で行うことが可能となる。したがって、排水管18の更新が容易であり、誤って鞘管本体30などを傷付けてしまう恐れもない。
なお、上述の実施例では、排水管18は、鞘管10内において90°の角度で立ち上がる(湾曲する)ように配管されているが、これに限定されない。たとえば、図17に示すように、排水管18は、鞘管10内において、45°などの任意の角度で湾曲するように配管されてよい。また、内管12には、屋内側配管14として曲管が接続されてもよいし、直接または接続管を介して、合流桝や旋回桝などの桝が接続されてもよい。
また、上述の実施例では、鞘管10内に挿通される配管として排水管を例示したが、鞘管10内に挿通される配管は、給水管やガス管であってもよい。
さらに、上で挙げた寸法などの具体的数値は、いずれも単なる一例であり、必要に応じて適宜変更可能である。
10 …基礎貫通用鞘管
12 …内管
14 …屋内側配管
16 …屋外側配管
18 …排水管(配管)
30 …鞘管本体
32 …横管部
32a …横開口
34 …湾曲部
36 …縦管部
36a …上開口
46 …上開口補強部
48 …横開口補強部
50 …保持部材取付部
100 …布基礎
102 …立上り部(立上り基礎)
104 …フーチング
106 …ボイド孔
116 …土間コンクリート
128 …べた基礎

Claims (9)

  1. 建物の基礎を貫通する配管の施工に用いられる基礎貫通用鞘管であって、
    上向きに開口する縦管部と横向きに開口する横管部とを有する鞘管本体を備え、
    前記縦管部は、前記配管の更新時において、前記基礎から屋外に突出する配管を当該基礎の近傍で切断した後に、前記鞘管本体内に残った配管を抜き取り可能な大きさを有する、基礎貫通用鞘管。
  2. 前記縦管部は、前記配管の更新時において、前記基礎の立上り部側に前記配管を寄せた状態で、前記基礎から屋外に突出する配管を当該基礎の近傍で切断した後に、前記鞘管本体内に残った配管を抜き取り可能な大きさを有する、請求項1記載の基礎貫通用鞘管。
  3. 前記横管部の軸方向における前記縦管部の内径は、前記鞘管本体内に残った配管を抜き取る際、当該鞘管本体内に残った配管の抜き取り方向における後端が前記横管部の基端部に達したときに、当該配管の抜き取り方向における先端側部分が前記縦管部の内周面に当たらない大きさに設定される、請求項1または2記載の基礎貫通用鞘管。
  4. 前記横管部の軸方向と直交する方向における前記縦管部の内径は、当該縦管部内に配置される配管の外径と同じまたは略同じ大きさに設定される、請求項1ないし3のいずれかに記載の基礎貫通用鞘管。
  5. 前記縦管部の開口を覆うように当該縦管部の上流側端部を連結させる上開口補強部をさらに備える、請求項1ないし4のいずれかに記載の基礎貫通用鞘管。
  6. 前記上開口補強部の上面は、水平面を有する、請求項5記載の基礎貫通用鞘管。
  7. 前記横管部の開口を覆うように当該横管部の下流側端部を連結させる横開口補強部をさらに備える、請求項1ないし6のいずれかに記載の基礎貫通用鞘管。
  8. 前記縦管部は、略小判形の横断面形状を有し、
    前記横管部の軸方向と直交する方向において対向配置される前記縦管部の側壁の外周面は、外方に向かって膨らむ湾曲面を有する、請求項1ないし7のいずれかに記載の基礎貫通用鞘管。
  9. 請求項1ないし8のいずれかに記載の基礎貫通用鞘管を用いて建物の基礎を貫通するように施工された配管を更新する管路更新方法であって、
    (a)前記配管の屋内側部分を前記基礎貫通用鞘管の外部で切断するステップ、
    (b)前記基礎から屋外に突出する前記配管を当該基礎の近傍で切断するステップ、
    (c)前記ステップ(a)および前記ステップ(b)の後、前記基礎貫通用鞘管内に残る配管を当該基礎貫通用鞘管の縦管部の開口から抜き取るステップ、および
    (d)前記ステップ(c)の後、前記基礎貫通用鞘管内に新規の配管を挿通して設置するステップを含む、管路更新方法。
JP2016029443A 2016-02-19 2016-02-19 基礎貫通用鞘管および管路更新方法 Active JP6697283B2 (ja)

Priority Applications (1)

Application Number Priority Date Filing Date Title
JP2016029443A JP6697283B2 (ja) 2016-02-19 2016-02-19 基礎貫通用鞘管および管路更新方法

Applications Claiming Priority (1)

Application Number Priority Date Filing Date Title
JP2016029443A JP6697283B2 (ja) 2016-02-19 2016-02-19 基礎貫通用鞘管および管路更新方法

Publications (2)

Publication Number Publication Date
JP2017145652A true JP2017145652A (ja) 2017-08-24
JP6697283B2 JP6697283B2 (ja) 2020-05-20

Family

ID=59682188

Family Applications (1)

Application Number Title Priority Date Filing Date
JP2016029443A Active JP6697283B2 (ja) 2016-02-19 2016-02-19 基礎貫通用鞘管および管路更新方法

Country Status (1)

Country Link
JP (1) JP6697283B2 (ja)

Citations (6)

* Cited by examiner, † Cited by third party
Publication number Priority date Publication date Assignee Title
US6327824B1 (en) * 1999-10-01 2001-12-11 Shinyo Co., Ltd. Termite shielding structure of underground beams and a method for constructing the same
JP2002195455A (ja) * 2000-12-28 2002-07-10 Inax Corp 配管施工構造及び配管施工方法
JP2002322701A (ja) * 2001-04-26 2002-11-08 Inax Corp 配管施工構造及び配管施工方法
JP2003082726A (ja) * 2001-09-14 2003-03-19 Takiron Co Ltd 床下配管構造
JP2005314976A (ja) * 2004-04-30 2005-11-10 Maezawa Kasei Ind Co Ltd さや管装置
JP2012246709A (ja) * 2011-05-30 2012-12-13 Mitsubishi Plastics Inc 排水管用鞘管、鞘管構成体及び排水管の配管構造

Patent Citations (6)

* Cited by examiner, † Cited by third party
Publication number Priority date Publication date Assignee Title
US6327824B1 (en) * 1999-10-01 2001-12-11 Shinyo Co., Ltd. Termite shielding structure of underground beams and a method for constructing the same
JP2002195455A (ja) * 2000-12-28 2002-07-10 Inax Corp 配管施工構造及び配管施工方法
JP2002322701A (ja) * 2001-04-26 2002-11-08 Inax Corp 配管施工構造及び配管施工方法
JP2003082726A (ja) * 2001-09-14 2003-03-19 Takiron Co Ltd 床下配管構造
JP2005314976A (ja) * 2004-04-30 2005-11-10 Maezawa Kasei Ind Co Ltd さや管装置
JP2012246709A (ja) * 2011-05-30 2012-12-13 Mitsubishi Plastics Inc 排水管用鞘管、鞘管構成体及び排水管の配管構造

Also Published As

Publication number Publication date
JP6697283B2 (ja) 2020-05-20

Similar Documents

Publication Publication Date Title
JP6505475B2 (ja) 基礎貫通用鞘管および管路施工方法
JP2012246709A (ja) 排水管用鞘管、鞘管構成体及び排水管の配管構造
JP5739781B2 (ja) 公共枡更生部材および公共枡更生方法
JP2009035982A (ja) コンクリート基礎における屈曲孔形成具及び屈曲孔形成方法
JP2017145652A (ja) 基礎貫通用鞘管および管路更新方法
KR102325687B1 (ko) 토사 침투 방지구조를 갖는 상수도관 밸브용 보호통
JP6159295B2 (ja) マンホール補修方法
JP7180897B2 (ja) 基礎貫通スリーブ
JP5384881B2 (ja) 基礎貫通さや管並びにこれを用いた基礎貫通配管構造及び排水管の取り外し方法
KR100944335B1 (ko) 콘크리트 구조물용 지수판 슬리브
JP5406360B2 (ja) 排水管の取り外し方法
JP2018096483A (ja) 配管構造および配管施工方法
KR101583366B1 (ko) 파이프 지중 압입 시공용 구조물
JP6430763B2 (ja) 管路施工方法およびそれに用いる基礎貫通用継手
KR20220151526A (ko) 도로 옹벽 설치 방법
KR101053677B1 (ko) 관을 조립한 후 일체형을 성형하는 맨홀과 그 제조방법
JP6421007B2 (ja) 基礎貫通用二重管継手、それを用いる管路施工方法および管路更新方法
JP5694691B2 (ja) 基礎埋設用排水管および該基礎埋設用排水管における下流側シールリングの脱着方法
JP2012136865A (ja) マンホールと更生管との接続具およびその設置方法
JP5760216B2 (ja) 基礎埋設用排水管及び該基礎埋設用排水管の長さ調整方法
JP2018131744A (ja) 基礎貫通用鞘管
JP6788289B2 (ja) 基礎貫通管構造
JP7719521B2 (ja) 基礎貫通スリーブ
JP6111450B2 (ja) 制水扉の不断水設置工法
KR200453202Y1 (ko) 관통슬리브 고정구

Legal Events

Date Code Title Description
A625 Written request for application examination (by other person)

Free format text: JAPANESE INTERMEDIATE CODE: A625

Effective date: 20181217

A977 Report on retrieval

Free format text: JAPANESE INTERMEDIATE CODE: A971007

Effective date: 20191003

A131 Notification of reasons for refusal

Free format text: JAPANESE INTERMEDIATE CODE: A131

Effective date: 20191015

A521 Request for written amendment filed

Free format text: JAPANESE INTERMEDIATE CODE: A523

Effective date: 20191203

TRDD Decision of grant or rejection written
A01 Written decision to grant a patent or to grant a registration (utility model)

Free format text: JAPANESE INTERMEDIATE CODE: A01

Effective date: 20200414

A61 First payment of annual fees (during grant procedure)

Free format text: JAPANESE INTERMEDIATE CODE: A61

Effective date: 20200424

R150 Certificate of patent or registration of utility model

Ref document number: 6697283

Country of ref document: JP

Free format text: JAPANESE INTERMEDIATE CODE: R150