JP2017106928A - 圧力センサ装置並びに圧力センサ装置を組み立てる方法 - Google Patents

圧力センサ装置並びに圧力センサ装置を組み立てる方法 Download PDF

Info

Publication number
JP2017106928A
JP2017106928A JP2017022127A JP2017022127A JP2017106928A JP 2017106928 A JP2017106928 A JP 2017106928A JP 2017022127 A JP2017022127 A JP 2017022127A JP 2017022127 A JP2017022127 A JP 2017022127A JP 2017106928 A JP2017106928 A JP 2017106928A
Authority
JP
Japan
Prior art keywords
pressure
sensor
housing part
sensor device
housing
Prior art date
Legal status (The legal status is an assumption and is not a legal conclusion. Google has not performed a legal analysis and makes no representation as to the accuracy of the status listed.)
Granted
Application number
JP2017022127A
Other languages
English (en)
Other versions
JP6169297B2 (ja
Inventor
ザイツ ローラント
Roland Seiz
ザイツ ローラント
ヴェアンレ ヴォルフガング
Woernle Wolfgang
ヴェアンレ ヴォルフガング
Current Assignee (The listed assignees may be inaccurate. Google has not performed a legal analysis and makes no representation or warranty as to the accuracy of the list.)
Robert Bosch GmbH
Original Assignee
Robert Bosch GmbH
Priority date (The priority date is an assumption and is not a legal conclusion. Google has not performed a legal analysis and makes no representation as to the accuracy of the date listed.)
Filing date
Publication date
Application filed by Robert Bosch GmbH filed Critical Robert Bosch GmbH
Publication of JP2017106928A publication Critical patent/JP2017106928A/ja
Application granted granted Critical
Publication of JP6169297B2 publication Critical patent/JP6169297B2/ja
Active legal-status Critical Current
Anticipated expiration legal-status Critical

Links

Images

Classifications

    • GPHYSICS
    • G01MEASURING; TESTING
    • G01LMEASURING FORCE, STRESS, TORQUE, WORK, MECHANICAL POWER, MECHANICAL EFFICIENCY, OR FLUID PRESSURE
    • G01L19/00Details of, or accessories for, apparatus for measuring steady or quasi-steady pressure of a fluent medium insofar as such details or accessories are not special to particular types of pressure gauges
    • G01L19/06Means for preventing overload or deleterious influence of the measured medium on the measuring device or vice versa
    • G01L19/0618Overload protection
    • GPHYSICS
    • G01MEASURING; TESTING
    • G01DMEASURING NOT SPECIALLY ADAPTED FOR A SPECIFIC VARIABLE; ARRANGEMENTS FOR MEASURING TWO OR MORE VARIABLES NOT COVERED IN A SINGLE OTHER SUBCLASS; TARIFF METERING APPARATUS; MEASURING OR TESTING NOT OTHERWISE PROVIDED FOR
    • G01D11/00Component parts of measuring arrangements not specially adapted for a specific variable
    • G01D11/24Housings ; Casings for instruments
    • G01D11/245Housings for sensors
    • GPHYSICS
    • G01MEASURING; TESTING
    • G01LMEASURING FORCE, STRESS, TORQUE, WORK, MECHANICAL POWER, MECHANICAL EFFICIENCY, OR FLUID PRESSURE
    • G01L19/00Details of, or accessories for, apparatus for measuring steady or quasi-steady pressure of a fluent medium insofar as such details or accessories are not special to particular types of pressure gauges
    • G01L19/06Means for preventing overload or deleterious influence of the measured medium on the measuring device or vice versa
    • G01L19/0627Protection against aggressive medium in general
    • G01L19/0645Protection against aggressive medium in general using isolation membranes, specially adapted for protection
    • GPHYSICS
    • G01MEASURING; TESTING
    • G01LMEASURING FORCE, STRESS, TORQUE, WORK, MECHANICAL POWER, MECHANICAL EFFICIENCY, OR FLUID PRESSURE
    • G01L19/00Details of, or accessories for, apparatus for measuring steady or quasi-steady pressure of a fluent medium insofar as such details or accessories are not special to particular types of pressure gauges
    • G01L19/14Housings
    • G01L19/142Multiple part housings
    • G01L19/143Two part housings
    • GPHYSICS
    • G01MEASURING; TESTING
    • G01LMEASURING FORCE, STRESS, TORQUE, WORK, MECHANICAL POWER, MECHANICAL EFFICIENCY, OR FLUID PRESSURE
    • G01L19/00Details of, or accessories for, apparatus for measuring steady or quasi-steady pressure of a fluent medium insofar as such details or accessories are not special to particular types of pressure gauges
    • G01L19/0007Fluidic connecting means
    • G01L19/0038Fluidic connecting means being part of the housing

Landscapes

  • Physics & Mathematics (AREA)
  • General Physics & Mathematics (AREA)
  • Measuring Fluid Pressure (AREA)
  • Force Measurement Appropriate To Specific Purposes (AREA)

Abstract

【課題】圧力センサを効果的に、湿分による影響に対して保護できる圧力補償エレメントを提供する。
【解決手段】圧力接続部5を有し、センサチャンバ内に圧力センサを収容しているセンサハウジング2と、圧力センサ装置1の外部環境との圧力補償を行う圧力補償エレメント9とを備えた圧力センサ装置1において、圧力補償エレメント9は流れ技術的にセンサチャンバに対して並列に圧力接続部5に接続されている。
【選択図】図1

Description

本発明は、圧力接続部を有し、センサチャンバ内に圧力センサを収容しているセンサハウジングと、圧力センサ装置の外部環境との圧力補償を行う圧力補償エレメントとを備えた圧力センサ装置に関する。
背景技術
圧力センサ装置は、圧力接続部に形成された圧力を測定するために用いられる。この圧力は、センサチャンバ内に配置された圧力センサによって測定される。このためにセンサチャンバは圧力接続部に流れ接続されていて、この圧力接続部を介して圧力センサ装置に圧力がかけられる。圧力センサ装置は、例えばプレッシャホースセンサ装置の構成部分である。このようなプレッシャホースセンサ装置では、プレッシャホースとして形成された測定エレメントが、流れ技術的に、少なくとも1つの圧力センサ装置に若しくはこの圧力センサ装置内に配置された圧力センサに流れ接続されている。この場合の流れ接続は、圧力接続部を介して形成されている。この目的で、圧力接続部は例えば圧力接続管片として形成されている。
このような接続管片には、今や例えば、プレッシャホースの端部を被せ嵌めることができる、若しくは被せ嵌めかつここに固定することができる。特に好適には、プレッシャホースの各端部に圧力センサ装置が設けられている。プレッシャホース自体は弾性的に変形可能であるので、プレッシャホース内で圧力センサ装置によって検出可能な圧力変動を生じさせるプレッシャホースに作用する力を、少なくとも1つの圧力センサ装置によって検出することができる。
このような形式のプレッシャホースセンサ装置は例えば自動車において、歩行者保護のために使用される。このために、プレッシャホースは、自動車のフロント領域に、特に自動車のフロントバンパ上に若しくはフロントバンパ内に配置されている。このような形式で、プレッシャホースセンサ装置によって、自動車の障害物への衝突を、例えば歩行者等への衝突を極めて確実に検出することができ、従ってこれに対して反応することができる。即ちプレッシャホースセンサ装置はそれ自体、例えば、プレッシャホースセンサ装置による衝突検出の際に、運転者を支援する措置、特にブレーキ操作等を行うように形成されているドライバアシスト装置の構成部分である。
特に上述したプレッシャホースセンサ装置の範囲では、圧力センサ装置は、特にプレッシャホースと共に、実質的に閉じられたシステムを成す。このような理由から、圧力センサ装置の外部環境に対して圧力補償を可能にする必要があり、この際、圧力補償は特に、圧力接続部と外部環境との間で行われる。公知の圧力センサ装置では、このような圧力補償を可能にする圧力補償エレメントはセンサチャンバ内に配置されている。これにより、圧力補償エレメントは、例えば加圧水、蒸気噴流等により生じる恐れのある外部環境からの不都合な影響に対して保護されている。このような形式の実施態様では、圧力補償開口はセンサチャンバを起点として外部環境へと開口している。センサチャンバ内に圧力センサを配置した後、センサチャンバを閉鎖する前に、圧力補償開口を閉鎖するために圧力補償エレメントをセンサチャンバ内に配置しなければならない。次いで、センサチャンバを閉鎖することができる。
即ち圧力補償は、圧力接続部を起点として、センサチャンバを介してのみ行うことができる。しかしながらこれには欠点があり、即ち、センサチャンバ内に配置されたエレメント、例えば圧力センサ自体が、圧力接続部の方向から侵入する湿分によって損傷される恐れがある。湿分は、例えば拡散により上述したプレッシャホースに到り、次いで低温時に特にセンサチャンバ内で凝縮する。さらに、圧力センサにより測定される圧力は、圧力補償エレメントを直接センサチャンバ内に配置することにより影響を受ける恐れがある。
発明の開示
請求項1に記載の特徴を有する圧力センサ装置は、これに対して、圧力センサの精度を高めることができるという利点を有している。さらに、センサチャンバ内への湿分の侵入は少なくとも部分的に阻止される。このことは本発明によれば、圧力補償エレメントを流れ技術的にセンサチャンバに対して並列に圧力接続部に接続することにより達成される。即ち、これまでのように、圧力補償エレメントをセンサチャンバ内に配置する、若しくはセンサチャンバからの圧力補償開口を閉鎖するものではない。従って、本発明によれば、圧力補償エレメントは流れ技術的に見て、先行技術により公知のものよりも圧力センサから離されて配置されている。これは、測定精度に対する影響が少なくなるので、圧力接続部に加えられる圧力若しくはセンサチャンバ内に生じる圧力を圧力センサによって高い精度で測定することができることを意味する。
圧力補償エレメントがセンサチャンバの外側に配置されていることにより、さらに、例えばプレッシャホースに加えられる力により必然的に生じる圧力変動により生じたのではないセンサチャンバ内の流体の動きは阻止される。特に、圧力補償エレメントによる圧力補償によってのみ生じるような、センサチャンバ内の流体の動きが阻止される。しかしながら、センサチャンバ内の流体の動きが減じられることにより、湿分を含む流体及び湿分のセンサチャンバ内への侵入も阻止される。従って、センサチャンバ内の中身、特に圧力センサは極めて効果的に、湿分による影響に対して保護される。
特に好適には、圧力補償エレメントはダイヤフラムとして、特に流体密なダイヤフラムとして形成されている。従って圧力補償エレメントによる圧力補償は、ダイヤフラムの弾性によって得られる。好適にはダイヤフラムは流体密であって、即ち、センサチャンバ内若しくはプレッシャホース内に存在する流体の流出を阻止する。しかしながら勿論、ダイヤフラムを別の媒体に対しても密封するように形成することができる。
本発明の別の実施態様では、圧力接続部は圧力接続管路に流れ接続されていて、該圧力接続管路からは、センサチャンバへと開口するセンサ管路が分岐しており、圧力補償エレメントは、圧力接続管路の壁に設けられた圧力補償開口を閉鎖している。即ち、圧力接続部から例えば直接、圧力接続管路が出ている。特に、圧力接続部は少なくとも部分的に、圧力接続管路によって形成されている。従って、圧力補償開口を介して行われる圧力補償若しくは圧力補償エレメントによる圧力補償は、特に圧力接続管路と圧力センサ装置の外部環境との間で行われる。
圧力接続管路は好適にはまっすぐな延在を有していて、即ち例えば孔として形成されている。特に圧力接続管路は、圧力接続部とは反対の側で、特に圧力接続管路を袋孔として形成することにより閉じることができる。圧力補償開口は圧力接続管路の壁に設けられている。この場合、この壁は、円筒状に形成された圧力接続管路の周面であって良く、又は特に袋孔の場合には底面若しくは基部に設けることができる。後者の袋孔の場合、圧力補償開口は例えば、圧力接続管路よりも小さい直径を有しているので、圧力接続管路は全体として段付き孔として形成されている。
圧力接続管路へと開口するセンサ管路は今やこの圧力接続管路から分岐している。好適には、圧力接続管路からのセンサ管路のこのような分岐部は、流れ技術的に、圧力接続管路への圧力補償開口の開口個所よりも圧力接続部の近くに配置されている。しかしながら、圧力接続部とセンサ管路の分岐部との間の間隔と、圧力接続部と圧力補償開口との間の間隔とは流れ技術的に同じであるか、又は、後者の方が小さく、即ち圧力補償開口は流れ技術的に、圧力接続管路よりも圧力接続部の近傍に配置されていてもよい。
本発明の別の構成では、圧力補償開口は、圧力接続管路の長手方向中心軸線の方向で延在している、又は、該長手方向中心軸線に対して垂直に延在している。例えば、圧力接続管路が圧力接続部とは反対の側で閉じられていて、圧力補償開口がこの底面に設けられている場合には、圧力補償開口は圧力接続管路の長手方向中心軸線の方向で延在する。圧力補償開口が圧力接続管路の長手方向中心軸線に対して垂直に延在している場合、圧力補償開口は圧力接続管路の周面に設けられている。しかしながらこの場合勿論、圧力接続管路の長手方向中心軸線と圧力補償開口との間は垂直な配置、即ち90°の配置でなくても良い。むしろ、長手方向中心軸線との間は例えば鋭角とすることができ、即ち、0°よりも大きく90°よりも小さい角度が形成されて良い。両者の場合とも、圧力補償開口は好適には円筒状に形成されていて、即ち例えば、センサハウジング内の孔として形成されている。
特に好適な実施態様では、圧力補償開口は、圧力接続管路の、センサチャンバとは反対の側で、圧力接続管路に開口している。この場合、例えば圧力補償開口の長手方向中心軸線は、センサ管路の長手方向中心軸線に平行、又は一致している。
別の実施態様では、圧力補償エレメントは、センサハウジングの外面に取り付けられていて、センサハウジングのカバーによって少なくとも所定の領域で覆われている。即ち圧力補償開口は、圧力接続管路から圧力センサ装置の外部環境までセンサハウジングを貫通している。従って、圧力補償開口はまず、圧力接続管路と外部環境との間の流れ接続を形成するが、この流れ接続はその後、圧力補償エレメントによって少なくとも部分的に再び遮断される。圧力補償エレメントはセンサハウジングの外面に配置されていて、即ち、圧力補償開口の、圧力接続管路とは反対の側に配置されている。圧力補償エレメントは、圧力補償開口のこの面を好適には完全に閉鎖する。
圧力補償エレメントがダイヤフラムとして形成されている場合には特に、この圧力補償エレメントは機械的負荷に対して敏感である。センサハウジングの外面に設けられた圧力補償エレメントの損傷を阻止するために、圧力補償エレメントは、センサハウジングのカバーによって少なくとも所定の領域で覆われているのが望ましい。ただしこのカバーは、圧力補償の目的で、圧力補償エレメントが動くこと、特に弾性的に変形することを引き続き問題なく可能にするように、圧力補償エレメントから間隔を置いて位置している。カバーによって圧力補償エレメントを覆うということは、圧力補償開口の縦中心軸線に関して半径方向でこのカバーが、圧力補償エレメントと少なくとも同じ寸法を有している、好適にはより大きな寸法を有していることを意味している。
本発明の別の構成では、センサハウジングは第1のハウジング部分と第2のハウジング部分とから成っており、センサチャンバは両ハウジング部分によって一緒に形成されている。即ち、第1のハウジング部分又は第2のハウジング部分に凹部を設けることができ、この凹部は、両ハウジング部分を互いに組み付ける際にその都度、他方のハウジング部分によって閉鎖される。この他方のハウジング部分に、例えば圧力接続管路とセンサ管路とが設けられていて、このセンサ管路は組み付け後にセンサチャンバに開口する。しかしながら勿論、選択的には、両ハウジング部分がそれぞれ1つの凹部を有していても良く、両ハウジング部分を互いに組み付けた後、これらの凹部が一緒にセンサチャンバを成す。
本発明の別の実施態様によれば、圧力接続部は第1のハウジング部分に、圧力センサは第2のハウジング部分に設けられており、圧力補償エレメントは第1のハウジング部分の外面に配置されていて、圧力補償エレメントに少なくとも所定の領域で重なる前記カバーは第2のハウジング部分に配置されている。多部分から成るセンサハウジングの実施態様によれば、組み付け時に圧力センサを、両ハウジング部分の一方に配置し、次いで両ハウジング部分を互いに結合するだけで良いので、圧力センサ装置を特に簡単に組み付けることができる。多部分構成によりさらに、圧力補償エレメントを簡単に取り付けることができる。この場合、圧力補償開口は第1のハウジング部分に設けられているので、圧力補償エレメントは第1のハウジング部分の外面に配置される。組み付けの際にはまず、圧力補償エレメントが、圧力補償開口を閉じるように、第1のハウジング部分の外面に取り付けられる。次いで、第2のハウジング部分を第1のハウジング部分に配置し、特に第1のハウジング部分に固定し、これにより、その後、カバーが、圧力補償エレメントを、圧力センサ装置の外部環境からの外的影響に対して保護する。
最後に、第1のハウジング部分と前記第2のハウジング部分とは形状接続的に、特に背後からの係合による結合部を介して互いに結合されている。原則的には勿論、両ハウジング部分間では任意の結合が可能である。しかしながらさらに解離可能に形成することができる形状接続による結合が特に好適である。これは例えば背後からの係合による結合により実現可能である。この目的で、第1のハウジング部分は少なくとも1つの係止エレメント、例えば係止舌片を有していて、第2のハウジング部分は、この係止エレメントと協働する少なくとも1つの対応係止エレメント、例えば係止孔を有していて、両ハウジング部分が互いに組み付けられる際に、この係止孔に係止突起が係合して掛止される。
本発明は勿論、特に自動車用のプレッシャホースセンサ装置のためにも形成されている。プレッシャホースセンサ装置は、プレッシャホースと、上述した実施態様による少なくとも1つの圧力センサ装置を有している。プレッシャホースは、圧力センサ装置の圧力接続部に接続されている。好適には複数の圧力センサ装置が設けられていて、この場合、プレッシャホースは全ての圧力センサ装置に接続されている。
本発明はさらに、圧力センサ装置、特に上述した実施態様による圧力センサ装置を組み立てる方法に関し、この場合、圧力センサ装置は、圧力接続部を有し、センサチャンバ内に圧力センサを収容しているセンサハウジングと、圧力センサ装置の外部環境との圧力補償を行う圧力補償エレメントとを有している。この場合、圧力補償エレメントは流れ技術的にセンサチャンバに対して並列に圧力接続部に接続されている。このような実施形態の圧力センサ装置の利点若しくはこのような形式の方法の利点については既に言及した。方法及び圧力センサ装置を、上述した実施態様により、さらに構成することができ、それについては上記記載を参照されたい。
本発明の好適な実施態様では、センサハウジングは第1のハウジング部分と第2のハウジング部分とから成っていて、センサチャンバは両ハウジング部分によって一緒に形成されており、圧力接続部は第1のハウジング部分に設けられていて、圧力補償エレメントは第1のハウジング部分の外面に設けられていて、圧力センサは第2のハウジング部分に設けられており、第1のハウジング部分を第2のハウジング部分に取り付ける際に、第2のハウジング部分に配置された圧力補償エレメントのカバーが、圧力補償エレメントに少なくとも所定の領域で重なるように配置されている。これについては既に上述した記載が参照される。
即ち、第1のハウジング部分を第2のハウジング部分に取り付ける前に、圧力補償エレメントを第1のハウジング部分の外面に、外部環境から自由にアクセス可能であるように設ける。このような構成は、圧力補償開口を閉鎖するために圧力補償エレメントを簡単に第1のハウジング部分の外面に配置し固定することができるので、圧力センサ装置の良好な組み付け可能性のために有効である。その後、第2のハウジング部分を、第1のハウジング部分に関して、圧力補償エレメントが外部環境からの影響に対してできるだけ保護されるように配置する。このために、少なくとも所定の領域で重ねられている。これについては既に言及した。
以下に本発明を、図示した実施態様につき詳しく説明するが、本発明はこれに限定されるものではない。
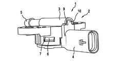
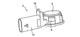
第1のハウジング部分と第2のハウジング部分とから成るセンサハウジングを備えた圧力センサ装置を示した図である。 第2のハウジング部分を示す図である。 第1のハウジング部分を示す図である。 第1のハウジング部分を示す別の図である。 選択的な実施態様における第1のハウジング部分を示す図である。
図1には圧力センサ装置1が示されている。この圧力センサ装置1はセンサハウジング2を有している。センサハウジング2は複数の部分から形成されていて、この場合少なくとも1つの第1のハウジング部分3と第2のハウジング部分4とを有している。圧力センサ装置1は、圧力接続部5を有していて、この圧力接続部5は例えば、ホース用の接続フランジとして形成されている。ホースはこの場合、例えばプレッシャホースセンサ装置の構成部分である。この場合、プレッシャホースセンサ装置は少なくとも1つの圧力センサ装置1を有している。しかしながら好適には、プレッシャホースの異なる端部に接続されている複数の圧力センサ装置1が設けられている。両ハウジング部分3,4は形状接続的に互いに結合されている。このために、ハウジング部分4には少なくとも1つの係止エレメント6が設けられていて、ハウジング部分3には少なくとも1つの対応係止エレメント7が設けられている。係止エレメント6は例えば係止突起として形成されていて、対応係止エレメント7は、係止突起6を収容する係止穴として形成されている。
センサハウジング2には、この図面では見えていないセンサチャンバ8が形成されていて、このセンサチャンバ8は、圧力センサを収容する。センサチャンバ8は圧力接続部5に流れ接続されている。さらに圧力センサ装置1は、この図面では単に部分的に示されている圧力補償エレメント9を有している。圧力補償エレメント9は、第1のハウジング部分3の外面に配置されていて、第2のハウジング部分4に配置されたカバー10によって少なくとも部分的に覆われている。
図2には第2のハウジング部分4の斜視図が示されている。この図面ではセンサチャンバ8を見ることができ、このセンサチャンバ8は、両ハウジング部分3,4を互いに組み付けた状態では、第1のハウジング部分3によって閉じられる。さらに、第2のハウジング部分4に、圧力センサの電気的コンタクトのために用いられるコンタクト装置11が設けられていることが判る。コンタクト装置11は図示した実施態様では、プラグ用のプラグ受容部として形成されている。
図3には第1のハウジング部分3の斜視図が示されている。この図によりさらに、第2のハウジング部分4が第1のハウジング部分3に取り付けられておらず、カバー10が圧力補償エレメント9を少なくとも部分的に覆っていない場合には、圧力補償エレメント9に圧力センサ装置1の外部環境12から難なくアクセスできることが判る。圧力補償エレメント9は、第1のハウジング部分3内に形成されている圧力補償開口13(図示せず)を閉鎖している。圧力補償エレメント9は周方向で少なくとも所定の領域で、軸方向で突出するウェブによって取り囲まれているので、周囲の影響から付加的に保護されていることがわかる。しかしながらこのウェブは付加的なものである。
図4には第1のハウジング部分3の断面図が示されている。この図から、圧力接続部5が圧力接続管路14に流れ接続されている、若しくはこの圧力接続管路14によって形成されていることが明らかである。圧力接続管路14は、センサハウジング2、特に第1のハウジング部分3における円筒状の空所として設けられている。円筒状の空所は特に袋孔として形成されていて、即ち、圧力接続部5とは反対側の面に底面15を有している。この底面15は、圧力補償開口13によって貫通されている。この場合、圧力補償開口13は、その長手方向中心軸線に関して半径方向で、圧力接続管路14よりも小さい寸法を有している。
圧力接続管路14からはセンサ管路16が分岐している。センサ管路16は、両ハウジング部分3,4を互いに組み付けた後、圧力接続管路14、従って圧力接続部5と、センサチャンバ8との間で流れ接続を形成する。圧力補償エレメント9は流れ技術的にセンサチャンバ8に対して並列に圧力接続部5に接続されていることが明らかである。センサ管路16若しくはその長手方向中心軸線はこの場合、ここに図示した実施の形態では、圧力接続管路14の長手方向中心軸線に対して垂直に延びている。しかしながら勿論、センサ管路16の別の配置も選択することができる。
圧力補償エレメント9とセンサチャンバ8との図示した並列な配置により複数の利点が得られる。1つには、圧力補償エレメント9によって行われる圧力補償による、センサチャンバ8内に配置された圧力センサに対する影響が阻止されるので、測定精度が改善されることである。また1つには、圧力補償によって生じるセンサチャンバ8内の流れが少なくとも部分的に阻止されることである。即ち圧力補償は、流体がセンサチャンバ8から流れ出す、又はセンサチャンバ8内へ流れ込むことなしに行うことができる。従って、湿分が、若しくは湿分を含む流体がセンサチャンバ8内に侵入することもほぼ阻止される。従って、センサチャンバ8内に配置されたエレメント、特に圧力センサの損傷は効果的に回避される。
圧力センサ装置1の組み付けも著しく簡易になる。外部環境12から圧力補償エレメント9へのアクセス、若しくは圧力補償エレメント9が取り付けられるべきハウジング部分3の位置へのアクセスは簡単に可能であるので、ダイヤフラムの形の圧力補償エレメント9は、両ハウジング部分3,4を互いに組み付ける前に、ハウジング部分3に取り付けることができる。両ハウジング部分3,4を互いに組み付ける際に、カバー10が少なくとも部分的に圧力補償エレメント9を覆うので、その後は圧力補償エレメント9は少なくとも部分的にカバーされている。従って圧力補償エレメント9を介して圧力補償は行えるが、外部環境12からの外的影響による圧力補償エレメント9の損傷は阻止される。
図5には、第1のハウジング部分3の第2の実施態様が示されている。以下では単に相違点のみについて述べるので、上記説明を参照されたい。圧力補償開口13は、図示した実施態様では、圧力接続管路14の、センサチャンバ8とは反対側に配置されている、若しくはこの反対側で圧力接続管路14に開口している。従って、圧力補償エレメント9は、圧力接続管路14の上記の側に配置されている。このような実施態様では、第2のハウジング部分4におけるカバー10は省かれている。しかしながら、圧力補償エレメント9のカバーを図示した位置で可能にするために、カバーを別の形で設けることもできる。

Claims (10)

  1. 圧力接続部(5)を有し、センサチャンバ(8)内に圧力センサを収容しているセンサハウジング(2)と、圧力センサ装置(1)の外部環境(12)との圧力補償を行う圧力補償エレメント(9)とを備えた圧力センサ装置(1)において、前記圧力補償エレメント(9)は流れ技術的に前記センサチャンバ(8)に対して並列に前記圧力接続部(5)に接続されていることを特徴とする、圧力センサ装置。
  2. 前記圧力接続部(5)は圧力接続管路(14)に流れ接続されていて、該圧力接続管路(14)からは、前記センサチャンバ(8)に開口するセンサ管路(16)が分岐しており、前記圧力補償エレメント(9)は、前記圧力接続管路(14)の壁に設けられた圧力補償開口(13)を閉鎖している、請求項1記載の圧力センサ装置。
  3. 前記圧力補償開口(13)は、前記圧力接続管路(14)の長手方向中心軸線の方向で延在している、又は、該長手方向中心軸線に対して垂直に延在している、請求項1又は2記載の圧力センサ装置。
  4. 前記圧力補償開口(13)は、前記圧力接続管路(14)の、前記センサチャンバ(8)とは反対の側で、前記圧力接続管路(14)に開口している、請求項1から3までのいずれか1項記載の圧力センサ装置。
  5. 前記圧力補償エレメント(9)は、前記センサハウジング(2)の外面に取り付けられていて、前記センサハウジング(2)のカバー(10)によって少なくとも所定の領域で覆われている、請求項1から4までのいずれか1項記載の圧力センサ装置。
  6. 前記センサハウジング(2)は第1のハウジング部分(3)と第2のハウジング部分(4)とから成っており、前記センサチャンバ(8)は前記両ハウジング部分(3,4)によって一緒に形成されている、請求項1から5までのいずれか1項記載の圧力センサ装置。
  7. 前記圧力接続部(5)は前記第1のハウジング部分(3)に、前記圧力センサは前記第2のハウジング部分(4)に設けられており、前記圧力補償エレメント(9)は前記第1のハウジング部分(3)の外面に配置されていて、前記圧力補償エレメント(9)を少なくとも所定の領域で覆う前記カバー(10)は前記第2のハウジング部分(4)に配置されている、請求項1から6までのいずれか1項記載の圧力センサ装置。
  8. 前記第1のハウジング部分(3)と前記第2のハウジング部分(4)とは形状接続的に、特に背後からの係合による結合部を介して互いに結合されている、請求項1から7までのいずれか1項記載の圧力センサ装置。
  9. 圧力センサ装置(1)、特に請求項1から8までのいずれか1項記載の圧力センサ装置(1)を組み立てる方法であって、この場合、前記圧力センサ装置(1)は、圧力接続部(5)を有し、センサチャンバ(8)内に圧力センサを収容しているセンサハウジング(2)と、圧力センサ装置(1)の外部環境(12)との圧力補償を行う圧力補償エレメント(9)とを有している、方法において、前記圧力補償エレメント(9)を流れ技術的に前記センサチャンバ(8)に対して並列に前記圧力接続部(5)に接続することを特徴とする、圧力センサ装置を組み立てる方法。
  10. 前記センサハウジング(2)は第1のハウジング部分(3)と第2のハウジング部分(4)とから成っていて、前記センサチャンバ(8)は前記両ハウジング部分(3,4)によって一緒に形成されており、前記圧力接続部(5)は前記第1のハウジング部分(3)に設けられていて、前記圧力補償エレメント(9)は前記第1のハウジング部分(3)の外面に設けられていて、前記圧力センサは前記第2のハウジング部分(4)に設けられており、前記第1のハウジング部分(3)を前記第2のハウジング部分(4)に取り付ける際に、前記第2のハウジング部分(4)に配置されたカバー(10)が、前記圧力補償エレメント(9)に少なくとも所定の領域で重なるように配置されている、請求項9記載の方法。
JP2017022127A 2012-12-27 2017-02-09 圧力センサ装置並びに圧力センサ装置を組み立てる方法 Active JP6169297B2 (ja)

Applications Claiming Priority (8)

Application Number Priority Date Filing Date Title
DE102012224380.1 2012-12-27
DE102012224383 2012-12-27
DE102012224383.6 2012-12-27
DE102012224380 2012-12-27
DE102013200668.3 2013-01-17
DE102013200668 2013-01-17
DE102013208537.0A DE102013208537A1 (de) 2012-12-27 2013-05-08 Drucksensoranordnung sowie Verfahren zum Montieren einer Drucksensoranordnung
DE102013208537.0 2013-05-08

Related Parent Applications (1)

Application Number Title Priority Date Filing Date
JP2015550047A Division JP6093035B2 (ja) 2012-12-27 2013-12-20 圧力センサ装置並びに圧力センサ装置を組み立てる方法

Publications (2)

Publication Number Publication Date
JP2017106928A true JP2017106928A (ja) 2017-06-15
JP6169297B2 JP6169297B2 (ja) 2017-07-26

Family

ID=50928644

Family Applications (2)

Application Number Title Priority Date Filing Date
JP2015550047A Active JP6093035B2 (ja) 2012-12-27 2013-12-20 圧力センサ装置並びに圧力センサ装置を組み立てる方法
JP2017022127A Active JP6169297B2 (ja) 2012-12-27 2017-02-09 圧力センサ装置並びに圧力センサ装置を組み立てる方法

Family Applications Before (1)

Application Number Title Priority Date Filing Date
JP2015550047A Active JP6093035B2 (ja) 2012-12-27 2013-12-20 圧力センサ装置並びに圧力センサ装置を組み立てる方法

Country Status (6)

Country Link
EP (1) EP2938987B1 (ja)
JP (2) JP6093035B2 (ja)
CN (1) CN104870963B (ja)
DE (1) DE102013208537A1 (ja)
ES (1) ES2865111T3 (ja)
WO (1) WO2014102194A1 (ja)

Cited By (1)

* Cited by examiner, † Cited by third party
Publication number Priority date Publication date Assignee Title
KR102146046B1 (ko) * 2019-03-26 2020-08-19 한국단자공업 주식회사 압력센서

Families Citing this family (13)

* Cited by examiner, † Cited by third party
Publication number Priority date Publication date Assignee Title
DE102013208537A1 (de) * 2012-12-27 2014-07-03 Robert Bosch Gmbh Drucksensoranordnung sowie Verfahren zum Montieren einer Drucksensoranordnung
DE102014219030B4 (de) * 2014-09-22 2016-07-07 Robert Bosch Gmbh Steckermodul
DE102014225861A1 (de) 2014-12-15 2016-06-16 Robert Bosch Gmbh Sensoreinrichtung, insbesondere für die Verwendung in einem Kraftfahrzeug
FR3030725B1 (fr) * 2014-12-22 2017-01-27 Valeo Systemes De Controle Moteur Capteur pour mesure de pression
JP6406054B2 (ja) * 2015-02-25 2018-10-17 株式会社デンソー 車両用衝突検知装置
US11156292B2 (en) 2018-03-19 2021-10-26 Veoneer Us Inc. Pressure sensor unit with circular gasket
DE102018206210A1 (de) 2018-04-23 2019-10-24 Continental Automotive Gmbh Deckelanordnung für einen Sensor sowie Fußgängerschutzsensor für ein Fahrzeug
US10670485B2 (en) 2018-03-22 2020-06-02 Veoneer Us Inc. Pressure sensor unit with rectangular gasket
US10670484B2 (en) 2018-03-26 2020-06-02 Veoneer Us Inc. Pressure sensor unit including snap fit circular seal
US10942079B2 (en) 2018-03-29 2021-03-09 Veoneer Us Inc. Rectangular snap fit pressure sensor unit
CN209326840U (zh) * 2018-12-27 2019-08-30 热敏碟公司 压力传感器及压力变送器
DE102022112227A1 (de) * 2022-05-16 2023-11-16 Sick Ag Messvorrichtung zum Messen einer physikalischen Größe in einer ein Medium enthaltenden Einheit
DE102023212284A1 (de) * 2023-12-06 2025-06-12 Robert Bosch Gesellschaft mit beschränkter Haftung Drucksensor, Auswerteeinheit und Fahrzeug sowie Verfahren zur Erfassung eines Wasserpegels

Citations (7)

* Cited by examiner, † Cited by third party
Publication number Priority date Publication date Assignee Title
GB1470440A (en) * 1973-05-19 1977-04-14 Vdo Schindling Pressure gauge having a liquid-filled housing
DE3635165A1 (de) * 1986-10-16 1988-04-21 Wabco Westinghouse Fahrzeug Gehaeuseeinrichtung mit druckausgleich
JPH10153511A (ja) * 1996-11-20 1998-06-09 Tokin Corp 圧力センサ
JP2007114001A (ja) * 2005-10-19 2007-05-10 Denso Corp 圧力センサ
US20110094305A1 (en) * 2008-04-25 2011-04-28 Boris Adam Air pressure sensor for impact recognition
JP4981228B2 (ja) * 2000-02-03 2012-07-18 ジョンソン マッセイ キャタリスツ (ジャーマニー) ゲゼルシャフト ミット ベシュレンクテル ハフツング 液体の圧力を検出するための圧力センサ
JP6093035B2 (ja) * 2012-12-27 2017-03-08 ローベルト ボツシユ ゲゼルシヤフト ミツト ベシユレンクテル ハフツングRobert Bosch Gmbh 圧力センサ装置並びに圧力センサ装置を組み立てる方法

Family Cites Families (8)

* Cited by examiner, † Cited by third party
Publication number Priority date Publication date Assignee Title
DE3028657A1 (de) * 1980-07-29 1982-02-11 Bodenseewerk Gerätetechnik GmbH, 7770 Überlingen Hydraulisches filter zur ausfilterung langsamer druckschwankungen
JP3840784B2 (ja) * 1998-02-26 2006-11-01 株式会社デンソー 圧力センサ
DE10129455A1 (de) * 2001-06-19 2003-01-02 Koch Hans Reinhard Vorrichtung zum Messen des statischen Druckes in Fluidleitungen
GB2401330B (en) * 2003-05-09 2006-04-12 Westinghouse Brakes Pressure equalisation device
CN100443873C (zh) * 2004-09-28 2008-12-17 Vega格里沙贝两合公司 用于固定在容器上的传感器,特别是压力传感器
DE102006062044A1 (de) * 2006-09-27 2008-04-03 Robert Bosch Gmbh Druckausgleichselement, insbesondere zum Druckausgleich in einem Gehäuse
DE102008004358A1 (de) * 2008-01-15 2009-07-16 Robert Bosch Gmbh Druckausgleichseinheit
DE102009003149A1 (de) * 2009-05-15 2010-11-18 Robert Bosch Gmbh Druckausgleichseinheit zur Verwendung in einem Drucksensor

Patent Citations (7)

* Cited by examiner, † Cited by third party
Publication number Priority date Publication date Assignee Title
GB1470440A (en) * 1973-05-19 1977-04-14 Vdo Schindling Pressure gauge having a liquid-filled housing
DE3635165A1 (de) * 1986-10-16 1988-04-21 Wabco Westinghouse Fahrzeug Gehaeuseeinrichtung mit druckausgleich
JPH10153511A (ja) * 1996-11-20 1998-06-09 Tokin Corp 圧力センサ
JP4981228B2 (ja) * 2000-02-03 2012-07-18 ジョンソン マッセイ キャタリスツ (ジャーマニー) ゲゼルシャフト ミット ベシュレンクテル ハフツング 液体の圧力を検出するための圧力センサ
JP2007114001A (ja) * 2005-10-19 2007-05-10 Denso Corp 圧力センサ
US20110094305A1 (en) * 2008-04-25 2011-04-28 Boris Adam Air pressure sensor for impact recognition
JP6093035B2 (ja) * 2012-12-27 2017-03-08 ローベルト ボツシユ ゲゼルシヤフト ミツト ベシユレンクテル ハフツングRobert Bosch Gmbh 圧力センサ装置並びに圧力センサ装置を組み立てる方法

Cited By (1)

* Cited by examiner, † Cited by third party
Publication number Priority date Publication date Assignee Title
KR102146046B1 (ko) * 2019-03-26 2020-08-19 한국단자공업 주식회사 압력센서

Also Published As

Publication number Publication date
JP6093035B2 (ja) 2017-03-08
DE102013208537A1 (de) 2014-07-03
EP2938987A1 (de) 2015-11-04
WO2014102194A1 (de) 2014-07-03
CN104870963A (zh) 2015-08-26
JP2016502108A (ja) 2016-01-21
ES2865111T3 (es) 2021-10-15
EP2938987B1 (de) 2021-02-17
JP6169297B2 (ja) 2017-07-26
CN104870963B (zh) 2017-12-08

Similar Documents

Publication Publication Date Title
JP6169297B2 (ja) 圧力センサ装置並びに圧力センサ装置を組み立てる方法
JP6114311B2 (ja) 構成部品中の孔に挿入するための閉鎖要素
US8109148B2 (en) Pressure compensation unit for use in a pressure sensor
US8117920B2 (en) Pressure sensor
US7827867B2 (en) Pressure sensing device
US8544333B2 (en) Air pressure sensor for impact recognition
JP2016133391A (ja) 圧力センサモジュール及び圧力センサモジュールの製造方法
JP4568309B2 (ja) 車載用圧力センサ及び車両用ブレーキ液圧制御装置
JP2007078461A (ja) 圧力センサ
KR20160086337A (ko) 측정 챔버 내 유체 매체의 압력을 검출하기 위한 압력 센서 장치
KR102365216B1 (ko) 측정 챔버 내 유체 매체의 압력을 검출하기 위한 압력 센서
KR101483769B1 (ko) 압력센서
KR20130037066A (ko) 지속적인 과압에 의한 유체의 물리적인 충격으로부터 반도체 압력센서 보호를 위한 구조를 가진 반도체 압력센서 모듈
JP5866246B2 (ja) 圧力センサ
JP2018004639A (ja) 流体状の媒体の圧力を検出する装置
US20180313678A1 (en) Sensor device for detecting at least one flow property of a fluid medium
JP2006145468A (ja) センサのシール構造及びセンサのシール方法
KR102543502B1 (ko) 압력센서
KR20150131439A (ko) 압력측정장치
KR20160114835A (ko) 압력센서
US9618414B2 (en) Device for determining a pressure and method for manufacturing the same
JP5960107B2 (ja) 検出装置
KR101593091B1 (ko) 압력측정장치
US11274986B2 (en) Housing with pressure compensating element
KR20170108228A (ko) 압력센서

Legal Events

Date Code Title Description
TRDD Decision of grant or rejection written
A01 Written decision to grant a patent or to grant a registration (utility model)

Free format text: JAPANESE INTERMEDIATE CODE: A01

Effective date: 20170529

A61 First payment of annual fees (during grant procedure)

Free format text: JAPANESE INTERMEDIATE CODE: A61

Effective date: 20170627

R150 Certificate of patent or registration of utility model

Ref document number: 6169297

Country of ref document: JP

Free format text: JAPANESE INTERMEDIATE CODE: R150

R250 Receipt of annual fees

Free format text: JAPANESE INTERMEDIATE CODE: R250

R250 Receipt of annual fees

Free format text: JAPANESE INTERMEDIATE CODE: R250

R250 Receipt of annual fees

Free format text: JAPANESE INTERMEDIATE CODE: R250

R250 Receipt of annual fees

Free format text: JAPANESE INTERMEDIATE CODE: R250

R250 Receipt of annual fees

Free format text: JAPANESE INTERMEDIATE CODE: R250

R250 Receipt of annual fees

Free format text: JAPANESE INTERMEDIATE CODE: R250