JP2016515807A5 - - Google Patents

Download PDF

Info

Publication number
JP2016515807A5
JP2016515807A5 JP2016500351A JP2016500351A JP2016515807A5 JP 2016515807 A5 JP2016515807 A5 JP 2016515807A5 JP 2016500351 A JP2016500351 A JP 2016500351A JP 2016500351 A JP2016500351 A JP 2016500351A JP 2016515807 A5 JP2016515807 A5 JP 2016515807A5
Authority
JP
Japan
Prior art keywords
compartment
sterilization indicator
schematic diagram
present
vial
Prior art date
Legal status (The legal status is an assumption and is not a legal conclusion. Google has not performed a legal analysis and makes no representation as to the accuracy of the status listed.)
Granted
Application number
JP2016500351A
Other languages
English (en)
Japanese (ja)
Other versions
JP6122544B2 (ja
JP2016515807A (ja
Filing date
Publication date
Priority claimed from US13/836,787 external-priority patent/US9121050B2/en
Application filed filed Critical
Publication of JP2016515807A publication Critical patent/JP2016515807A/ja
Publication of JP2016515807A5 publication Critical patent/JP2016515807A5/ja
Application granted granted Critical
Publication of JP6122544B2 publication Critical patent/JP6122544B2/ja
Active legal-status Critical Current
Anticipated expiration legal-status Critical

Links

Images

JP2016500351A 2013-03-15 2014-02-24 生物学的インジケータの電子的モニタリングのための非酵素ベースの方法 Active JP6122544B2 (ja)

Applications Claiming Priority (3)

Application Number Priority Date Filing Date Title
US13/836,787 2013-03-15
US13/836,787 US9121050B2 (en) 2013-03-15 2013-03-15 Non-enzyme based detection method for electronic monitoring of biological indicator
PCT/US2014/017909 WO2014149383A1 (en) 2013-03-15 2014-02-24 Non-enzyme based method for electronic monitoring of biological indicator

Publications (3)

Publication Number Publication Date
JP2016515807A JP2016515807A (ja) 2016-06-02
JP2016515807A5 true JP2016515807A5 (enExample) 2016-08-18
JP6122544B2 JP6122544B2 (ja) 2017-04-26

Family

ID=50241554

Family Applications (1)

Application Number Title Priority Date Filing Date
JP2016500351A Active JP6122544B2 (ja) 2013-03-15 2014-02-24 生物学的インジケータの電子的モニタリングのための非酵素ベースの方法

Country Status (10)

Country Link
US (1) US9121050B2 (enExample)
EP (1) EP2971063B1 (enExample)
JP (1) JP6122544B2 (enExample)
CN (1) CN105143460B (enExample)
AU (1) AU2014238199B2 (enExample)
BR (1) BR112015023529B1 (enExample)
CA (1) CA2901304C (enExample)
ES (1) ES2633439T3 (enExample)
MX (1) MX350466B (enExample)
WO (1) WO2014149383A1 (enExample)

Families Citing this family (15)

* Cited by examiner, † Cited by third party
Publication number Priority date Publication date Assignee Title
CA3012445C (en) * 2016-01-25 2024-01-23 American Sterilizer Company Capacitor for detecting viable microorganisms
AU2018229200A1 (en) * 2017-02-28 2019-09-12 American Sterilizer Company Recovery medium for detection of microorganisms by fluorescence
CN106983517B (zh) * 2017-03-31 2019-10-29 北京工业大学 一种无酶纳米柔性血糖微传感器及其制备方法
US10889848B2 (en) * 2017-07-14 2021-01-12 American Sterilizer Company Process for determining viability of test microorganisms of biological indicator and sterilization detection device for determining same
US10900062B2 (en) * 2017-07-14 2021-01-26 American Sterilizer Company Process for determining viability of test microorganisms of biological indicator and sterilization detection device for determining same
US10876144B2 (en) 2017-07-14 2020-12-29 American Sterilizer Company Process for determining viability of test microorganisms of biological indicator and sterilization detection device for determining same
US11309846B2 (en) * 2017-08-25 2022-04-19 University Of South Florida Cascode common source transimpedance amplifiers for analyte monitoring systems
WO2019220262A1 (en) * 2018-05-17 2019-11-21 Tuttnauer Ltd. Sterilization monitor
US11850320B2 (en) * 2018-12-20 2023-12-26 Asp Global Manufacturing Gmbh Liquid-chemical sterilization system with biological indicator
EP3902569B1 (en) 2018-12-28 2025-09-24 ASP Global Manufacturing GmbH A treatment indicator, a method of production thereof, and a method of use thereof
CA3137416A1 (en) * 2019-04-24 2020-10-29 3M Innovative Properties Company Sterilization indicator sensor with a sterilant-responsive switch
US11603551B2 (en) 2020-12-02 2023-03-14 Steritec Products Mfg. Co., Inc. Biological indicators, and systems and methods for determining efficacy of sterilization
US20220178922A1 (en) * 2020-12-03 2022-06-09 Merit Medical Systems, Inc. Pathogen sampling and testing
CN112881484B (zh) * 2021-01-14 2021-11-16 东北大学 一种非酶血糖检测的3d电极制备方法
WO2024148124A1 (en) * 2023-01-08 2024-07-11 American Sterilizer Company Process indicator isolation chamber for medical device processor

Family Cites Families (75)

* Cited by examiner, † Cited by third party
Publication number Priority date Publication date Assignee Title
JPS636451A (ja) 1986-06-27 1988-01-12 Terumo Corp 酵素センサ
US4935346A (en) 1986-08-13 1990-06-19 Lifescan, Inc. Minimum procedure system for the determination of analytes
US5593852A (en) 1993-12-02 1997-01-14 Heller; Adam Subcutaneous glucose electrode
US5413690A (en) 1993-07-23 1995-05-09 Boehringer Mannheim Corporation Potentiometric biosensor and the method of its use
AU722471B2 (en) 1995-10-17 2000-08-03 Lifescan, Inc. Blood glucose strip having reduced sensitivity to hematocrit
US5962215A (en) 1996-04-05 1999-10-05 Mercury Diagnostics, Inc. Methods for testing the concentration of an analyte in a body fluid
DK0958495T3 (da) 1997-02-06 2003-03-10 Therasense Inc In vitro analysand sensor med lille volumen
US20050033132A1 (en) 1997-03-04 2005-02-10 Shults Mark C. Analyte measuring device
US6862465B2 (en) 1997-03-04 2005-03-01 Dexcom, Inc. Device and method for determining analyte levels
US6001067A (en) 1997-03-04 1999-12-14 Shults; Mark C. Device and method for determining analyte levels
US5770393A (en) 1997-04-01 1998-06-23 Steris Corporation Biological indicator for detection of early metabolic activity
US6168957B1 (en) 1997-06-25 2001-01-02 Lifescan, Inc. Diagnostic test strip having on-strip calibration
EP1009851A1 (en) * 1997-09-05 2000-06-21 Abbott Laboratories Electrochemical sensor having equalized electrode areas
US6102872A (en) 1997-11-03 2000-08-15 Pacific Biometrics, Inc. Glucose detector and method
US5997817A (en) 1997-12-05 1999-12-07 Roche Diagnostics Corporation Electrochemical biosensor test strip
US6103033A (en) 1998-03-04 2000-08-15 Therasense, Inc. Process for producing an electrochemical biosensor
GB2337122B (en) * 1998-05-08 2002-11-13 Medisense Inc Test strip
US6077660A (en) 1998-06-10 2000-06-20 Abbott Laboratories Diagnostic assay requiring a small sample of biological fluid
US6162397A (en) 1998-08-13 2000-12-19 Lifescan, Inc. Visual blood glucose test strip
US5902731A (en) 1998-09-28 1999-05-11 Lifescan, Inc. Diagnostics based on tetrazolium compounds
US6338790B1 (en) 1998-10-08 2002-01-15 Therasense, Inc. Small volume in vitro analyte sensor with diffusible or non-leachable redox mediator
US6193873B1 (en) 1999-06-15 2001-02-27 Lifescan, Inc. Sample detection to initiate timing of an electrochemical assay
US7045054B1 (en) 1999-09-20 2006-05-16 Roche Diagnostics Corporation Small volume biosensor for continuous analyte monitoring
US6616819B1 (en) 1999-11-04 2003-09-09 Therasense, Inc. Small volume in vitro analyte sensor and methods
US6485923B1 (en) 2000-02-02 2002-11-26 Lifescan, Inc. Reagent test strip for analyte determination having hemolyzing agent
US6716577B1 (en) 2000-02-02 2004-04-06 Lifescan, Inc. Electrochemical test strip for use in analyte determination
CN1191475C (zh) 2000-03-31 2005-03-02 生命扫描有限公司 用于测量导电生物流体的被分析物浓度的医疗诊断装置
US7229783B2 (en) 2000-08-01 2007-06-12 Charm Sciences, Inc. Method for monitoring hygiene
US6555061B1 (en) 2000-10-05 2003-04-29 Lifescan, Inc. Multi-layer reagent test strip
US6562625B2 (en) 2001-02-28 2003-05-13 Home Diagnostics, Inc. Distinguishing test types through spectral analysis
US6855243B2 (en) 2001-04-27 2005-02-15 Lifescan, Inc. Electrochemical test strip having a plurality of reaction chambers and methods for using the same
US6721586B2 (en) 2001-06-12 2004-04-13 Lifescan, Inc. Percutaneous biological fluid sampling and analyte measurement devices and methods
US6723500B2 (en) 2001-12-05 2004-04-20 Lifescan, Inc. Test strips having reaction zones and channels defined by a thermally transferred hydrophobic barrier
US20070208243A1 (en) 2002-01-16 2007-09-06 Nanomix, Inc. Nanoelectronic glucose sensors
US7226978B2 (en) 2002-05-22 2007-06-05 Dexcom, Inc. Techniques to improve polyurethane membranes for implantable glucose sensors
US7244394B2 (en) 2002-10-03 2007-07-17 Novartis Ag Methods and kits for assays of analytes of interest in tears
WO2004034025A2 (en) 2002-10-10 2004-04-22 Nanosys, Inc. Nano-chem-fet based biosensors
US7964390B2 (en) 2002-10-11 2011-06-21 Case Western Reserve University Sensor system
US20050038329A1 (en) 2002-11-20 2005-02-17 Morris Carol Ann Methods and kits for assays of rapid screening of diabetes
KR100554649B1 (ko) 2003-06-09 2006-02-24 주식회사 아이센스 전기화학적 바이오센서
US8007656B2 (en) 2003-10-24 2011-08-30 Bayer Healthcare Llc Enzymatic electrochemical biosensor
US7655119B2 (en) 2003-10-31 2010-02-02 Lifescan Scotland Limited Meter for use in an improved method of reducing interferences in an electrochemical sensor using two different applied potentials
JP2007514930A (ja) 2003-10-31 2007-06-07 ライフスキャン・スコットランド・リミテッド 直接干渉電流および間接干渉電流の影響を軽減するための改善された電気化学検査ストリップ
RU2006144443A (ru) 2004-05-14 2008-06-20 БАЙЕР ХЕЛТКЭР ЭлЭлСи (US) Диагностическая индикаторная полоска для взятия пробы текучей среды и определения в ней аналита и способ ее применения
US20070027383A1 (en) 2004-07-01 2007-02-01 Peyser Thomas A Patches, systems, and methods for non-invasive glucose measurement
CN103558369B (zh) 2004-12-13 2015-09-09 拜尔保健有限公司 用于测量生物液体中的分析物的自我限定大小的组合物和检验设备
US8133178B2 (en) 2006-02-22 2012-03-13 Dexcom, Inc. Analyte sensor
US8105244B2 (en) 2005-11-30 2012-01-31 Abbott Diabetes Care Inc. Integrated sensor for analyzing biological samples
US7914460B2 (en) 2006-08-15 2011-03-29 University Of Florida Research Foundation, Inc. Condensate glucose analyzer
US20080057528A1 (en) 2006-08-30 2008-03-06 Kimberly-Clark Worldwide, Inc. Detection of hydrogen peroxide released by enzyme-catalyzed oxidation of an analyte
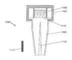
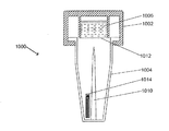
US8043845B2 (en) 2006-09-20 2011-10-25 American Sterilizer Company Sterilization indicator
US7740801B2 (en) 2006-10-31 2010-06-22 Lifescan Scotland Limited System for determination of an analyte in a bodily fluid sample that includes an electroluminescent component
US20080177166A1 (en) 2007-01-18 2008-07-24 Provex Technologies, Llc Ultrasensitive amperometric saliva glucose sensor strip
NZ580179A (en) 2007-03-07 2011-06-30 Echo Therapeutics Inc Transdermal analyte monitoring systems and methods for analyte detection
US7875461B2 (en) 2007-07-24 2011-01-25 Lifescan Scotland Limited Test strip and connector
US7943022B2 (en) 2007-09-04 2011-05-17 Lifescan, Inc. Analyte test strip with improved reagent deposition
WO2009054516A1 (ja) 2007-10-26 2009-04-30 Arkray, Inc. 試料検知装置およびこれを備えた測定装置
US8603768B2 (en) 2008-01-17 2013-12-10 Lifescan, Inc. System and method for measuring an analyte in a sample
EP2254458A1 (en) 2008-02-04 2010-12-01 Bayer HealthCare, LLC Semiconductor based analyte sensors and methods
US7922985B2 (en) 2008-06-24 2011-04-12 Lifescan, Inc. Analyte test strip for accepting diverse sample volumes
US8178313B2 (en) 2008-06-24 2012-05-15 Lifescan, Inc. Method for determining an analyte in a bodily fluid
US8173388B2 (en) 2008-09-30 2012-05-08 American Sterilizer Company Self-contained biological indicator
GB2469071A (en) 2009-03-31 2010-10-06 Diamatrix Ltd Electrochemical test device
US20100273249A1 (en) 2009-04-24 2010-10-28 Lifescan Scotland Limited Analytical test strips
US20100270152A1 (en) 2009-04-24 2010-10-28 Lifescan Scotland Limited Enzymatic reagent ink
US8868151B2 (en) 2009-08-14 2014-10-21 Bayer Healthcare Llc Electrochemical impedance spectroscopy enabled continuous glucose monitoring sensor system
US20110048972A1 (en) 2009-08-31 2011-03-03 Lifescan Scotland Limited Multi-analyte test strip with shared counter/reference electrode and inline electrode configuration
US8101065B2 (en) 2009-12-30 2012-01-24 Lifescan, Inc. Systems, devices, and methods for improving accuracy of biosensors using fill time
US8742773B2 (en) 2010-02-25 2014-06-03 Lifescan Scotland Limited Capacitance detection in electrochemical assay with improved response
US20110290668A1 (en) 2010-05-27 2011-12-01 Lifescan Scotland Limited Analytical test strip with crossroads exposed electrode configuration
US9215995B2 (en) 2010-06-23 2015-12-22 Medtronic Minimed, Inc. Sensor systems having multiple probes and electrode arrays
AU2011280113B2 (en) 2010-07-20 2014-10-02 American Sterilizer Company Method for monitoring a sterilization process
US8409412B2 (en) 2010-08-23 2013-04-02 Lifescan Scotland, Ltd. Enzymatic reagent inks for use in test strips having a predetermined calibration code
US20120097554A1 (en) 2010-10-18 2012-04-26 Medtronic Minimed, Inc. Analyte sensors comprising electrodes having selected electrochemical and mechanical properties
JP2014502503A (ja) * 2010-12-22 2014-02-03 スリーエム イノベイティブ プロパティズ カンパニー 多孔質担体を含む滅菌インジケータと方法

Similar Documents

Publication Publication Date Title
JP2016515807A5 (enExample)
Richardson et al. Financial distress, outside directors and corporate tax aggressiveness spanning the global financial crisis: An empirical analysis
SG10201809900PA (en) Hybrid Nanopore Sensors
JP2015032167A5 (enExample)
JP2016515397A5 (enExample)
WO2016093927A3 (en) Systems and methods of identifying motion of a subject
BR112015007256A2 (pt) aparelho, método, e meio de armazenamento legível por computador não transitório.
MX379996B (es) Medio de cultivo celular libre de suero.
BR112014027958A2 (pt) método implementado de computador, meio de armazenamento legível por computador não transitório, e, sistema.
WO2016106343A8 (en) Probiotic organisms for diagnosis, monitoring, and treatment of inflammatory bowel disease
MX2015011003A (es) Metodo no basado en enzimas para el monitoreo electronico del indicador biologico.
BR112016006556A2 (pt) arranjos detectáveis, sistemas para diagnóstico, e métodos para produzir e usar os mesmos
MX379129B (es) Conexión de alto voltaje para material poco denso.
EP2942832A4 (en) ELECTRODE ARRANGEMENT AND BATTERY CELL THEREFOR
CY1123928T1 (el) Μια καθοδος και μεθοδος κατασκευης
Luo et al. Optimal control for an age-dependent competitive species model in a polluted environment
EP2902117A3 (en) Electro-acoustic transducer
MX380958B (es) Condensador para detectar microorganismos viables.
WO2015032954A3 (en) Biomarkers for cholangiocellular carcinoma (ccc)
JP2016516274A5 (enExample)
CL2016001391A1 (es) Dispositivo para detectar el espesor de un medio laminar y procedimiento del mismo
WO2016026907A3 (en) Method and system for eeg signal processing
JP2015194464A5 (enExample)
CN109689890A (zh) 用于子宫腺肌症检测的生物标志物组合及其应用
Kang et al. Research on Basic Framework of Elderly Medical Residential Area for New Silver Age Group