JP2016148463A - ミスト発生装置 - Google Patents

ミスト発生装置 Download PDF

Info

Publication number
JP2016148463A
JP2016148463A JP2015023771A JP2015023771A JP2016148463A JP 2016148463 A JP2016148463 A JP 2016148463A JP 2015023771 A JP2015023771 A JP 2015023771A JP 2015023771 A JP2015023771 A JP 2015023771A JP 2016148463 A JP2016148463 A JP 2016148463A
Authority
JP
Japan
Prior art keywords
water
storage chamber
mist
water storage
air
Prior art date
Legal status (The legal status is an assumption and is not a legal conclusion. Google has not performed a legal analysis and makes no representation as to the accuracy of the status listed.)
Granted
Application number
JP2015023771A
Other languages
English (en)
Other versions
JP6346102B2 (ja
Inventor
長 鷲尾
Takeru Washio
長 鷲尾
隆行 稲村
Takayuki Inamura
隆行 稲村
Current Assignee (The listed assignees may be inaccurate. Google has not performed a legal analysis and makes no representation or warranty as to the accuracy of the list.)
Corona Corp
Original Assignee
Corona Corp
Priority date (The priority date is an assumption and is not a legal conclusion. Google has not performed a legal analysis and makes no representation as to the accuracy of the date listed.)
Filing date
Publication date
Application filed by Corona Corp filed Critical Corona Corp
Priority to JP2015023771A priority Critical patent/JP6346102B2/ja
Publication of JP2016148463A publication Critical patent/JP2016148463A/ja
Application granted granted Critical
Publication of JP6346102B2 publication Critical patent/JP6346102B2/ja
Expired - Fee Related legal-status Critical Current
Anticipated expiration legal-status Critical

Links

Images

Landscapes

  • Air Humidification (AREA)

Abstract

【課題】大粒の水滴の室内への放出を阻止するミスト発生装置を提供する。
【解決手段】器具本体1と、該器具本体1内に設置され所定量の水を貯水する貯水室8と、該貯水室8内の水を回転による遠心力で吸い上げて飛散させて破砕し、ナノミストと負イオンを発生させるミスト発生部15と、吸込口18から吸引した室内空気をミスト発生部15を通すことで空気中の塵、埃を貯水室8の水の中に捕集させると共に、浄化された空気をナノミストと負イオンと共に送風口2より室内に供給する送風ファン16と、前記ミスト発生部15から送風口2までの間で大粒の水滴を除去して貯水室8に戻す気水分離部19とを備えたもので、前記気水分離部19は多孔質の金属フィルタ20で構成され、更にこの金属フィルタ20は下端を貯水室8の水中に水没させた状態で、ミスト発生部15近傍の送風口2側に設けた。
【選択図】 図2

Description

この発明は、ミスト発生部で発生させたナノミストと負イオンを室内に供給するミスト発生装置に関するものである。
従来よりこの種のものに於いては、水を破砕することで発生する負イオンとミストの加湿空気を室内に供給する時、この負イオンとミストを含む加湿空気中には該ミストより大きな水滴が混入しており、加湿空気と共にこの水滴が室内に放出されると床面を濡らしたり、直接人にかかって不快な思いをさせる危険を有していたので、加湿空気の送風口の手前には、バッフル板(邪魔板)からなる気水分離部を備え、加湿空気中に含まれている大粒な水滴が室内に放出されるのを阻止するものであった。(特許文献1参照)
特開2009−299982号公報
ところでこの従来の気水分離部は、2枚のバッフル板は共に下方傾斜させただけのものだったので、大型のミスト発生装置で送風ファン能力が上がった場合には、バッフル板の下端に溜まった水滴が風で千切れ飛び、簡単に室内に放出されてしまうと言う課題を有するものであった。
この発明は上記の課題を解決する為に、特にその構成を、器具本体と、該器具本体内に設置され所定量の水を貯水する貯水室と、該貯水室内の水を回転による遠心力で吸い上げて飛散させて破砕し、ナノミストと負イオンを発生させるミスト発生部と、吸込口から吸引した室内空気をミスト発生部を通すことで空気中の塵、埃を貯水室の水の中に捕集させると共に、浄化された空気をナノミストと負イオンと共に送風口より室内に供給する送風ファンと、前記ミスト発生部から送風口までの間で大粒の水滴を除去して貯水室に戻す気水分離部とを備えたものに於いて、前記気水分離部は多孔質の金属フィルタで構成され、更にこの金属フィルタは下端を貯水室の水中に水没させた状態で、ミスト発生部近傍の送風口側に設けたものである。
以上のようにこの発明によれば、気水分離部を多孔質の金属フィルタで構成したことにより、大粒の水滴を確実に除去することが出来るものであり、更に金属フィルタを貯水室内で下端を水中に水没させて備えているので、金属フィルタで除去した水滴の貯水室への戻りがスムーズであり、しかも、水滴が水面に落下してポチャ、ポチャ音を発することがなく静音化されるものであると共に、常に金属フィルタが水濡れしており乾燥されず、臭気の発生が防止され、極めて使用勝手が良いものである。
本発明の一実施形態の外観を説明する斜視図。 同実施形態の概略構成図。 同実施形態の要部正面視説明図。 同実施形態の要部平面視説明図。 同実施形態の制御ブロック図。 同実施形態の操作部を説明する図。 同実施形態を説明する要部拡大図。 同実施形態の運転開始から終了までを説明するフローチャート。 同実施形態のクリーニングモードを説明するフローチャート。
次にこの発明の一実施形態におけるミスト発生装置を図に基づいて説明する。
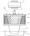
1は器具本体、2は器具本体1上部に形成され複数のルーバー3が設置された送風口、4は器具本体1の正面上部を構成する上面パネル、5は器具本体1の正面下部を構成する下面パネル、6は複数のスイッチが備えられ各種操作指令を行う操作部、7はブレーカー(図示せず)を隠すブレーカーカバーである。
8は上面パネル4内に設置され所定量の水を貯水する貯水室であり、この貯水室8内には、貯水された水に下端を水没させ駆動軸9に軸支された筒状の回転体10が備えられている。
前記回転体10は、中空逆円錐形で上方に向かって径が徐々に拡大するものであり、駆動軸9に接続され回転体10を回転駆動させるミストモータ11を駆動させ、回転体10が回転することによる回転の遠心力で貯水室8の水を汲み上げ、回転体10の外壁および内壁を伝わせて水を押し上げて、回転体10の外壁を伝わせて押し上げた水を周囲に飛散させると共に、回転体10の内壁を伝わせて押し上げた水を回転体10の上部に形成された複数の飛散口12から周囲に飛散させる。
13は回転体10の上部外周に所定間隔を離間させて位置し、回転体10と共に回転する円筒状の多孔体で、該多孔体13には、その全周壁に多数のスリットや金網やパンチングメタル等から成る衝突体としての多孔部14が設置されており、前記回転体10、前記ミストモータ11及び前記多孔体13でミスト発生部15が構成されている。
前記ミスト発生部15を構成するミストモータ11を駆動させ、回転体10を回転させたことで発生する遠心力で貯水室8内の水を汲み上げると共に空気を飛散させ、多孔部14を通過した水滴が破砕されることで、水の粒子を微細化してナノメートル(nm)サイズのナノミストを生成すると共に、水の粒子の微細化によるレナード効果で負イオンを多量に発生させるものである。
16は下面パネル5内に設置され所定の回転数で駆動することで室内空気を吸引して器具本体1の上部に吹き出す送風ファン、17は貯水室8と送風口2との間に設置され、貯水室8内で発生したナノミストと負イオンを含む加湿空気を送風口2まで流通させる送風通路であり、前記送風ファン16が所定の回転数で駆動すると、器具本体1低部に形成された吸込口18から吸い込んだ室内空気を器具本体1の上部に向けて送風され、貯水室8に設置された回転体10の上部にある空気流入口8aから送風ファン16によって送風された室内空気が流入し、貯水室8内に流入した室内空気がナノミストと負イオンとを含んだ加湿空気になり、該加湿空気が前記送風通路17内を上昇して送風口2から室内へ送風されることで、加湿空気を室内に供給することが出来るものであり、又室内空気がミスト発生部15を通過することで、貯水に直接ぶつかったり、ミスト発生部15で発生し自重で貯水室8に落下する大きめのナノミストに絡め取られる形で、室内空気中の塵や埃、臭気等が除去され、大きめのナノミストと共に貯水室8の貯水の混入し、室内空気を浄化して綺麗な状態にしてナノミストと負イオンと共に室内に放出されるものである。
19はミスト発生部15から送風口2までの間で大粒の水滴を除去して貯水室8に戻す気水分離部で、開口率96%の多孔質で、金とニッケルの合金からなる金属フィルタ20により構成されており、更にこの金属フィルタ20は下端を貯水室8の水中に水没させた状態で、ミスト発生部15近傍の送風口2側に備えられており、大粒の水滴が広範囲に拡散する前に除去出来ると共に、除去した水滴の水面への落下音がなくなり静音化されるものである。
21はミスト発生部15に供給される水から塵、埃を除去するフィルター部で、回転体10の水没した下端を水中で取り囲むように設置された凹状で、水は通すが細かな塵や埃は通さない耐熱性の金網やスポンジ材で形成され、定期的な清掃が容易に行えるように取り外し容易に設置されているものである。
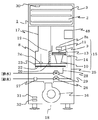
22は貯水室8内に設置され貯水を加熱する加熱ヒータであり、貯水室8の外壁に設置された貯水温度を検知する貯水温度センサ23で検知される温度が所定温度となるよう、ON/OFF状態を適宜切り替えるものである。
24は貯水室8内に設置され、フロートが上下することで水位を検知する水位センサで、貯水室8内の水位が低下して所定水位以下になったらOFF信号を出力し、水位が上昇して所定水位以上になったらON信号を出力し、更に水位が上昇して貯水室8内が満水となったら満水信号を出力するものである。
25は貯水室8に接続され、貯水室8内に市水を給水する給水管であり、該給水管25の配管途中には、電磁弁を開閉して貯水室8内への給水を制御する給水弁26と、給水圧を所定値まで減圧する減圧弁27とが備えられている。
28は貯水室8底部に接続され、貯水室8内の水を器具本体1外部に排水する硬質塩化ビニル管で構成された排水管であり、該排水管28の配管途中には、電磁弁を開閉して貯水室8内の水の排水を制御する排水弁29が備えれている。
30は送風口2の壁面に設置され、送風口2から室内へ向けて送風される加湿空気の温度を検知する送風温度センサ、31は送風ファン16の近傍に設置され、送風ファン16で吸い込む室内空気の温度を検知する吸気温度センサ、32は前記吸気温度センサ31の近傍に設置され、器具本体1が設置された室内の湿度を検知する湿度センサであり、各センサで検知された温度や湿度に基づいて、ミストモータ11や送風ファン16の回転数を変化させ、加熱ヒータ22のON/OFF状態を切り替えるものである。
又前記操作部6には、運転開始及び停止を指示する運転スイッチ33と、加熱ヒータ22のON/OFF状態を切り替えることで貯水室8内の貯水温度を変化させ、送風口2から室内に送風される加湿空気に含有可能な水分量の割合を変化させた3段階の加湿レベルと、湿度センサ32で検知された湿度が予め設定された湿度となるよう前記加湿レベルを変化させるオートモードとから選択可能な加湿スイッチ34と、ミストモータ11と送風ファン16との回転数の大小を設定可能な三段階の風量レベルと、湿度センサ32で設定された湿度が予め設定された湿度となるよう前記風量レベルを変化させるオートモードとから選択可能な風量スイッチ35と、加湿空気を室内に供給するミスト運転の開始時間と停止時間とを設定するタイマー切替スイッチ36と、前記加湿スイッチ34及び前記風量スイッチ35での設定に関わらず、消費電力の低いミスト運転であるエコモードを設定するエコモードスイッチ37と、現在時刻を設定する時刻設定スイッチ38と、スイッチを操作することで運転停止以外の動作を禁止するチャイルドロックスイッチ39とが備えられている。
又操作部6の各スイッチ上部には各スイッチに対応したランプが備えられており、運転スイッチ33が操作されたら点灯する運転ランプ40と、ミスト運転が所定時間以上継続したら開始する除菌運転時に点灯する除菌ランプ41と、加湿スイッチ34で設定された加湿レベルを1から3の数値とオートモードを示すAで表示する加湿レベルランプ42と、風量スイッチ35で設定された風量レベルを1から3の数値とオートモードを示すAで表示する風量レベルランプ43と、タイマー切替スイッチ36でミスト運転の開始及び停止が設定されたら、それぞれのランプが点灯するタイマーランプ44と、エコモードスイッチ37が操作されエコモードが設定されたら点灯するエコモードランプ45と、時刻設定スイッチ38で設定された現在時刻を表示する時刻表示パネル46と、チャイルドロックスイッチ39が操作されたら点灯するチャイルドロックランプ47とが備えられている。
48は各センサで検知された検知値や操作部6上に備えられた各スイッチでの設定内容に基づき、運転内容や弁の開閉を制御するマイコンで構成された制御部であり、ミストモータ11を所定の回転数で駆動させるミストモータ制御手段49と、送風ファン16を所定の回転数で駆動させる送風ファン制御手段50と、加熱ヒータ22のON/OFF状態を切り替えて貯水室8内の水温を制御する加熱ヒータ制御手段51とが備えられている。
次にこの実施形態での運転開始から終了までの動作について図6のフローチャートに基づいて説明する。
まず、操作部6の運転スイッチ33が操作されたか、もしくはタイマー切替スイッチ36で設定された運転開始時刻になったら、制御部48は、排水弁29を開放して貯水室8内の水を排水し、水位センサ24でOFF信号が検知されたら、給水弁26を開放して貯水室8内を水で洗い流すクリーニング動作を行い、所定時間経過したら排水弁29を閉止することで給水弁26から流入する水を貯水室8内に供給し、水位センサ24でON信号が検知されたら、所定量の水が貯水室8内に供給されたとして給水弁26を閉止する水入替モードを行う(ステップS101)。
ステップS101の水入替モードが終了したら、制御部48は、貯水温度センサ23での検知値に基づき、加熱ヒータ22を駆動させて貯水温度Tが吸気温度センサ35で検知される室温と同一値になるまで加熱ヒータ制御手段55で加熱ヒータ22をON状態にして、ミストモータ11及び送風ファン16が所定の回転数となるようミストモータ制御手段53及び送風ファン制御手段54で制御する立ち上げモードを行う(ステップS102)。
ステップS102の立ち上げモードが終了したら、制御部48は、加湿スイッチ34及び風量スイッチ35で設定された加湿レベルと風量レベルとに基づいて、ミストモータ11と送風ファン16とが所定の回転数で駆動するようミストモータ制御手段49と送風ファン制御手段50とで回転数を制御し、加熱ヒータ22のON/OFF状態を加熱ヒータ制御手段51で切り替えて制御することで、加湿レベルと風量レベルとに合わせた所定の温度範囲内にするミスト運転を実行する通常運転モードを行う(ステップS103)。
ここで通常運転モードを詳述すると、ミストモータ制御手段49によりミストモータ11を800〜1400rpmの範囲内で回転数を変化させ、また、送風ファン制御手段50で送風ファン16を400〜800rpmの範囲内で回転数を変化させることで、風量レベルに合った回転数にしたミスト運転を行い、更に送風温度センサ30で検知される温度が加湿レベルに合った値となるよう貯水室8内の貯水温度を変化させ、貯水温度センサ23で検知される温度が約30〜40℃の範囲内で推移するように加熱ヒータ22のON/OFF状態を加熱ヒータ制御手段51で切り替えて制御する。
ステップS103の通常運転モードの終了条件を満たしたら、制御部48は、ミストモータ11を停止させてから排水弁29を開弁して貯水室8内の水を排水し、所定時間経過したら給水弁26を開放して貯水室8内を洗浄してから排水弁29を閉止して貯水室8内に所定量だけ貯水する水入替運転を行い、加熱ヒータ22をON状態にして水を加熱することで除菌を行う除菌運転を所定時間行い、所定時間経過後に貯水室8内を冷却して貯水室8内の水を排水する冷却運転を実行するクリーニングモードを行う(ステップS104)。
次にこの実施形態におけるクリーニングモードについて、図7のフローチャートに基づいて詳述する。
まず、前記ステップS104のクリーニングモードが開始されたら、制御部48は、ミストモータ11を停止させてから排水弁29を開弁して貯水室8内の水を排水し、8分経過したら、給水弁26を開放して流水によって貯水室8内を洗浄し、20秒経過したら給水弁26を閉止して再度貯水室8内の排水を行い、8分経過したら排水弁29を閉止して給水弁26を開放することで貯水室8内に貯水し、水位センサ24でON信号が検知されたら、給水弁26を閉止する水入替運転を行う(ステップS201)。
ステップS201で水入替運転を行ったら、制御部48は、加熱ヒータ22をON状態に切り替え、ミストモータ11をミスト運転時の回転数より低い所定の低回転数(例えば、600rpm)で駆動するようミストモータ制御手段49で制御し、更に送風ファン16をミスト運転時の回転数より低い所定の低回転数(例えば、200rpm)で駆動するよう送風ファン制御手段50で制御する除菌運転を開始することで(ステップS202)、貯水室8内の水を混ぜて貯水室8内の水をムラなく高め、送風口2に結露が発生するのを防止する。
ステップS202で加熱ヒータ22をON状態にしてミストモータ11を駆動させたら、制御部48は、貯水温度Tが65℃を超えたら加熱ヒータ22をOFF状態にして加熱を停止させ、貯水温度Tが63℃未満となったら加熱ヒータ22をON状態にして再度加熱するよう加熱ヒータ制御手段51で加熱ヒータ22を制御し、貯水室8内の貯水温度を除菌可能な温度である65℃付近で保持する加熱動作を行うことで、貯水室8内の貯水を除菌する(ステップS203)。
ステップS203で貯水室8内の水を65℃付近に制御する加熱動作を開始したら、制御部48は、加熱動作時に貯水温度センサ23での検知温度が65℃を超えて、加熱ヒータ22がOFF状態に切り替わった最初の時点から経過した時間をカウントし、カウントした時間が10分経過したか判断して(ステップS204)、10分経過していれば、加熱ヒータ22をOFF状態にして除菌運転を終了させ、10分経過していなければ、ステップS203での加熱動作を続行する。
ステップS204で除菌運転が終了したら、制御部48は、給水弁26を開放して貯水室8内への給水を開始し、送風ファン16を所定の回転数で駆動させ、貯水室8内の貯水温度を排水可能な温度まで低下させる冷却運転を行い(ステップS205)、貯水室8内の貯水温度が排水可能な温度まで低下し排水が完了したらクリーニングモードを終了する。
ステップS104のクリーニングモードが終了したら、制御部48は、送風ファン16が所定の回転数(例えば、800rpm)で駆動するよう送風ファン制御手段50で制御し、貯水室8や送風通路17に送風して乾燥させることで菌の増殖を防止する乾燥モードを行い(ステップS105)、計時手段(図示せず)で送風ファン16の駆動時間が所定時間(例えば、3時間)をカウントしたか判断し、3時間カウントしたら、送風ファン16を停止させて運転を終了する。
以上のように、除菌運転時に送風ファン16を駆動させることで、加熱ヒータ22で加熱された貯水室8内の水が蒸発して送風口2まで水蒸気が上昇しても、送風ファン16を駆動させることで送風口2付近の水蒸気を器具本体1の外部に飛ばすことができるため、送風口2を構成する内壁やルーバー3に結露水が付着せず、器具本体1が設置された床面が濡れるのを防止できる。
又送風ファン16を200rpmという通常運転モードにおけるミスト運転時の回転数よりも低い所定の低回転数で駆動させることで、貯水室8内で発生して送風口2まで達するナノミストの量を減らすことができ、更にミストモータ11を600rpmという通常運転モードにおけるミスト運転時の回転数よりも低い所定の低回転数で駆動させることで、貯水室8内でのナノミストの発生量を減らしたので、送風ファン16を所定の低回転数で駆動していることと相俟って送風口2の内壁やルーバー3に付着する結露水の量を減少させることができる。
又送風ファン16を200rpmという所定の低回転数で駆動させているので、加熱ヒータ22によって貯水室8の貯水温度の低下を最小限に抑えることで、貯水室8内の除菌率低下を防止することができると共に、送風ファン16から発生する駆動音や振動について最小限に抑えることができる。
又送風ファン16を駆動すると、器具本体1の下部にある吸込口18から送風口2に向けて空気が一方的に流動することで、除菌運転時に貯水室8の空気流入口8aから水蒸気が上昇することがないため、空気流入口8aの上部に設置された制御部48に結露して内部のマイコンが故障するのを防止する。
更に前記したように、ミスト発生部15の回転体10の回転で発生したナノミストと負イオンは、送風ファン16の駆動によって流入して来る室内空気により送風口2に運ばれ、ここから室内に放出されて新鮮な気分と心身の爽快感が得られるものであり、又このナノミストと負イオンの発生時には、吸引されて室内空気中に含まれている室内の塵や埃が、貯水に直接ぶつかったり、ミスト発生部15で発生し自重で貯水室8に落下する大きめのナノミストに絡め取られる形で、室内空気中の塵や埃、臭気等が除去され、大きめのナノミストと共に貯水室8の貯水の混入し、室内空気を浄化して綺麗な状態にしてナノミストと負イオンと共に室内に放出されるものであり、そして貯水室8の貯水に混入した塵や埃が水と共にミスト発生部15に供給されようとするが、回転体10の水没した下端は、凹状のフィルター部21によって水中で取り囲まれているので、回転体10に供給される水は常にフィルター部21を通過して、塵や埃が除去された綺麗で清潔な水のみが供給されて、衛生的なナノミストと負イオンが生成され、これが室内に放出されると共に再び室内空気がミスト発生部15に供給されて塵や埃、雑菌、臭気等が除去され、繰り返しこの循環が行われることにより、室内は徐々に綺麗で爽快な空気の状態となり、更に新鮮な気分と心身の爽快感が得られるものである。
又フィルター部21は、クリーニングモードの終了後などに定期的に取り外して清掃するなどのメンテナンスを行うことで、除去性能を維持しながら長期に渡って継続して使用出来るものである。
更に前記したようにミスト発生部15で発生したナノミストと負イオンの加湿空気は、送風口2から室内に放出されるが、その前に貯水室8内でミスト発生部15の近傍で送風口2側に気水分離部19が備えられ、更にこの気水分離部19を、多孔質の金属フィルタ20で構成したことにより、大粒の水滴を確実に除去することが出来るものであり、又金属フィルタ20を貯水室8内で下端を水中に水没させて備えているので、金属フィルタ20で除去した水滴の貯水室8への戻りがスムーズであり、しかも、水滴が水面に落下してポチャ、ポチャ音を発することがなく静音化されるものであると共に、常に金属フィルタ20が水濡れしており乾燥されず、臭気の発生が防止され、極めて使用勝手が良いものである。
1 器具本体
2 送風口
8 貯水室
10 回転体
11 ミストモータ
13 多孔体
15 ミスト発生部
16 送風ファン
17 送風通路
18 吸込口
19 気水分離部
20 金属フィルタ

Claims (1)

  1. 器具本体と、該器具本体内に設置され所定量の水を貯水する貯水室と、該貯水室内の水を回転による遠心力で吸い上げて飛散させて破砕し、ナノミストと負イオンを発生させるミスト発生部と、吸込口から吸引した室内空気をミスト発生部を通すことで空気中の塵、埃を貯水室の水の中に捕集させると共に、浄化された空気をナノミストと負イオンと共に送風口より室内に供給する送風ファンと、前記ミスト発生部から送風口までの間で大粒の水滴を除去して貯水室に戻す気水分離部とを備えたものに於いて、前記気水分離部は多孔質の金属フィルタで構成され、更にこの金属フィルタは下端を貯水室の水中に水没させた状態で、ミスト発生部近傍の送風口側に設けた事を特徴とするミスト発生装置。
JP2015023771A 2015-02-10 2015-02-10 ミスト発生装置 Expired - Fee Related JP6346102B2 (ja)

Priority Applications (1)

Application Number Priority Date Filing Date Title
JP2015023771A JP6346102B2 (ja) 2015-02-10 2015-02-10 ミスト発生装置

Applications Claiming Priority (1)

Application Number Priority Date Filing Date Title
JP2015023771A JP6346102B2 (ja) 2015-02-10 2015-02-10 ミスト発生装置

Publications (2)

Publication Number Publication Date
JP2016148463A true JP2016148463A (ja) 2016-08-18
JP6346102B2 JP6346102B2 (ja) 2018-06-20

Family

ID=56691695

Family Applications (1)

Application Number Title Priority Date Filing Date
JP2015023771A Expired - Fee Related JP6346102B2 (ja) 2015-02-10 2015-02-10 ミスト発生装置

Country Status (1)

Country Link
JP (1) JP6346102B2 (ja)

Cited By (4)

* Cited by examiner, † Cited by third party
Publication number Priority date Publication date Assignee Title
JP2018204818A (ja) * 2017-05-31 2018-12-27 株式会社コロナ 加湿装置
JP2019032122A (ja) * 2017-08-09 2019-02-28 株式会社コロナ 加湿装置
CN111765573A (zh) * 2020-07-27 2020-10-13 台州市黄岩致源模具厂 一种空气调节装置
JP2024009431A (ja) * 2022-07-11 2024-01-23 株式会社コロナ サウナ装置

Citations (3)

* Cited by examiner, † Cited by third party
Publication number Priority date Publication date Assignee Title
JPH0252026U (ja) * 1988-09-30 1990-04-13
JP2001304636A (ja) * 2000-04-20 2001-10-31 Matsushita Seiko Co Ltd 負イオン発生装置
JP2003130404A (ja) * 2001-10-25 2003-05-08 Horizon:Kk 陰イオン発生装置

Patent Citations (3)

* Cited by examiner, † Cited by third party
Publication number Priority date Publication date Assignee Title
JPH0252026U (ja) * 1988-09-30 1990-04-13
JP2001304636A (ja) * 2000-04-20 2001-10-31 Matsushita Seiko Co Ltd 負イオン発生装置
JP2003130404A (ja) * 2001-10-25 2003-05-08 Horizon:Kk 陰イオン発生装置

Cited By (5)

* Cited by examiner, † Cited by third party
Publication number Priority date Publication date Assignee Title
JP2018204818A (ja) * 2017-05-31 2018-12-27 株式会社コロナ 加湿装置
JP2019032122A (ja) * 2017-08-09 2019-02-28 株式会社コロナ 加湿装置
CN111765573A (zh) * 2020-07-27 2020-10-13 台州市黄岩致源模具厂 一种空气调节装置
JP2024009431A (ja) * 2022-07-11 2024-01-23 株式会社コロナ サウナ装置
JP7708717B2 (ja) 2022-07-11 2025-07-15 株式会社コロナ サウナ装置

Also Published As

Publication number Publication date
JP6346102B2 (ja) 2018-06-20

Similar Documents

Publication Publication Date Title
JP6282935B2 (ja) ミスト発生装置
JP6204265B2 (ja) ミスト発生装置
JP6060023B2 (ja) ミスト発生装置
JP2016003806A (ja) ミスト発生装置
JP6591936B2 (ja) 加湿装置
JP6925293B2 (ja) 加湿空気清浄装置
JP6467251B2 (ja) 加湿装置
JP6630235B2 (ja) 加湿装置
JP6346102B2 (ja) ミスト発生装置
JP6495081B2 (ja) ミスト発生装置
JP2014217810A (ja) ミスト発生装置
JP6806595B2 (ja) ミスト発生装置
JP2018124032A (ja) ミスト発生装置
JP6352829B2 (ja) ミスト発生装置
JP2014204864A (ja) ミスト発生装置
JP2017075706A (ja) 加湿装置
JP6925291B2 (ja) 加湿装置
JP6006164B2 (ja) ミスト発生装置
JP6082619B2 (ja) ミスト発生装置
JP7040958B2 (ja) 加湿装置
JP6657000B2 (ja) ミスト発生装置
JP2019158278A (ja) 空気清浄装置
JP5681056B2 (ja) 空気清浄脱臭装置
JP2013019652A (ja) 空気清浄脱臭装置
JP6510955B2 (ja) 加湿装置

Legal Events

Date Code Title Description
A621 Written request for application examination

Free format text: JAPANESE INTERMEDIATE CODE: A621

Effective date: 20170719

A977 Report on retrieval

Free format text: JAPANESE INTERMEDIATE CODE: A971007

Effective date: 20180510

TRDD Decision of grant or rejection written
A01 Written decision to grant a patent or to grant a registration (utility model)

Free format text: JAPANESE INTERMEDIATE CODE: A01

Effective date: 20180522

A61 First payment of annual fees (during grant procedure)

Free format text: JAPANESE INTERMEDIATE CODE: A61

Effective date: 20180524

R150 Certificate of patent or registration of utility model

Ref document number: 6346102

Country of ref document: JP

Free format text: JAPANESE INTERMEDIATE CODE: R150

R250 Receipt of annual fees

Free format text: JAPANESE INTERMEDIATE CODE: R250

LAPS Cancellation because of no payment of annual fees