JP2016123734A - 畳縫着装置、および、畳縫着方法 - Google Patents

畳縫着装置、および、畳縫着方法 Download PDF

Info

Publication number
JP2016123734A
JP2016123734A JP2015000558A JP2015000558A JP2016123734A JP 2016123734 A JP2016123734 A JP 2016123734A JP 2015000558 A JP2015000558 A JP 2015000558A JP 2015000558 A JP2015000558 A JP 2015000558A JP 2016123734 A JP2016123734 A JP 2016123734A
Authority
JP
Japan
Prior art keywords
tatami
sewing
stitching
mat
swing angle
Prior art date
Legal status (The legal status is an assumption and is not a legal conclusion. Google has not performed a legal analysis and makes no representation as to the accuracy of the status listed.)
Granted
Application number
JP2015000558A
Other languages
English (en)
Other versions
JP6443859B2 (ja
Inventor
朋之 久保
Tomoyuki Kubo
朋之 久保
雅章 石井
Masaaki Ishii
雅章 石井
Current Assignee (The listed assignees may be inaccurate. Google has not performed a legal analysis and makes no representation or warranty as to the accuracy of the list.)
Kyokuto Sanki Co Ltd
Original Assignee
Kyokuto Sanki Co Ltd
Priority date (The priority date is an assumption and is not a legal conclusion. Google has not performed a legal analysis and makes no representation as to the accuracy of the date listed.)
Filing date
Publication date
Application filed by Kyokuto Sanki Co Ltd filed Critical Kyokuto Sanki Co Ltd
Priority to JP2015000558A priority Critical patent/JP6443859B2/ja
Publication of JP2016123734A publication Critical patent/JP2016123734A/ja
Application granted granted Critical
Publication of JP6443859B2 publication Critical patent/JP6443859B2/ja
Active legal-status Critical Current
Anticipated expiration legal-status Critical

Links

Images

Landscapes

  • Sewing Machines And Sewing (AREA)

Abstract

【課題】畳の厚さが変わっても、縫い針の揺動角度を適切な揺動角度に制御することで仕上がりの良い返し縫いを行うことができる畳の側辺に対して、畳縁を縫い付けるための畳縫着装置を提供する。
【解決手段】返し縫いの際に、傾斜した畳100の側辺110の傾斜面116に対して、ミシン機構20の縫い針112が、貫通する貫通位置A1と、縫い針112が畳100の側辺110の傾斜面116から抜けて、畳100の側辺110の傾斜面116の下端位置116a近傍に移動する待機位置A2との間で揺動する揺動角度αを、畳100の厚さTに応じて、揺動角度αを変更とする揺動角度制御装置52を備えた。
【選択図】図6

Description

本発明は、畳の側辺に対して、畳縁を縫い付けるための畳縫着装置に関し、特に、畳を傾斜状に配置して、畳の側辺に沿って移動するミシン機構によって、畳の側辺に対して返し縫いを行い、畳の側辺に対して、畳縁を縫い付けるための畳縫着装置、および、畳縫着方法に関する。
従来より、畳の製造工程では、畳の側辺(長辺側)に対して、畳縁を縫い付ける工程が実施されている。
すなわち、図8に示したように、水平な状態に配置した畳100の畳床102の上面104に、畳縁106を縁下紙108とともに重ねて裏返しに、畳の側辺(長辺側、すなわち、上前側および下前側)110に沿って配置している。
そして、畳の側辺110に沿って移動可能なミシン機構の縫い針112によって、直線状に縫い糸114によって縫い付けていく工程(平刺し縫い工程)を行っている。
なお、この平刺し縫い工程においては、畳の幅方向の寸法を決定するための裁断も同時に行っている。
また、平刺し縫いを行った畳縁106を、縁下紙108とともに、図8の矢印で示したように、畳の側辺110に沿って折り返している(折り返し工程)。そして、畳100から飛び出した状態になっている畳縁106と縁下紙108の隅止めを、手作業または機械で行っている(隅止め工程)。
そして、図9に示したように、このような折り返し工程を経た後に、畳100を傾斜状に配置して、ミシン機構の縫い針112を、傾斜した畳100の側辺110の傾斜面(畳床)116に対して、ミシン機構の縫い針112が貫通する貫通位置A1に移動させ貫通させる。
そして、縫い針112が畳100の側辺110の傾斜面116から抜けて、縫い針112の揺動が行われ、畳100の側辺110の傾斜面116の下端位置116aの近傍に移動し、空縫いを行う待機位置A2に縫い針112を揺動させて空縫いを行うことにより、図9に示したように、千鳥状に縫い糸114によって返し縫いを行っている(返し縫い工程)。
これにより、図9に示したように、畳の側辺110に対して、畳縁106を縫い付けている。
ところで、特許文献1(特開2002−126383号公報)では、このような平刺し縫い工程と、返し縫い工程とを共通のミシン装置により行うことが可能ないわゆる両用の縫着装置が開示されている。
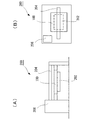
すなわち、図10(A)は、この特許文献1の従来の縫着装置200の正面図、図10(B)は、従来の縫着装置200の上面図、図11(A)は、従来の縫着装置200の平刺し縫い工程を示す側面図、図11(B)は、従来の縫着装置200の平刺し縫い工程を示す側面図である。
なお、説明の便宜上、図10(A)〜図11(B)において、ミシン機構206の縫い針112は省略して概略構成のみ図示している。
すなわち、特許文献1の従来の縫着装置200は、図10(A)〜図10(B)に示したように、畳100を載置するための載置台202を備えている。
また、この載置台202は、図11(A)に示したように、固定具204で畳100を固定した状態で、畳100を水平な状態に配置できるとともに、図11(B)に示したように、載置台202を回動させて、畳100を傾斜状に配置することができるようになっている。
そして、従来の縫着装置200は、畳100の側辺110に沿って移動可能なミシン機構206を備えている。
これにより、図11(A)に示したように、畳100を水平な状態に配置した状態で、畳100の側辺110に沿って移動可能なミシン機構206の縫い針112によって、直線状に縫い糸によって縫い付けていく工程および畳床の裁断(平刺し縫い工程)を行うことができる。
また、図11(B)に示したように、載置台202を回動させて、畳100を傾斜状に配置した状態で、畳100の側辺110に沿って移動可能なミシン機構の縫い針112によって、返し縫い(返し縫い工程)を行うことができるように構成されている。
また、特許文献2(特開平10−24179号公報)では、このような返し縫い工程において、畳100の側辺110の部分を支持する受け部材に、高さ調整可能な補助の受け部材を脱着自在に装着するように構成している。
すなわち、受け部材だけでは、畳100の厚さT薄い場合、傾斜した畳100の側辺110の傾斜面116に対して、ミシン機構の縫い針112が、貫通する貫通位置A1が、畳100の角部を貫通してしまう状態が生じてしまう。
このため、特許文献2では、補助の受け部材を装着することによって、畳100の縁部を上方に反らせることによって、ミシン機構の縫い針112が、貫通する貫通位置A1が適切な位置となるように調整している。
特開2002−126383号公報 特開平10−24179号公報
ところで、従来の縫着装置200では、返し縫い工程では、畳100を傾斜状に配置して、ミシン機構の縫い針112を、傾斜した畳100の側辺110の傾斜面116に対して、ミシン機構の縫い針112が貫通する貫通位置A1と、縫い針112が畳100の側辺110の傾斜面116から抜けて、畳100の側辺110の傾斜面116の下端位置116aの近傍に移動する待機位置A2との間の揺動角度αは、一定で固定された状態である。
すなわち、図12に示したように、例えば、カム機構などでミシン機構の縫い針112の貫通位置A1と、待機位置A2との間で揺動させるので、揺動角度αは、例えば、8°と固定された状態となっている。
従って、この場合、図12(A)に示したように、例えば、畳100の厚さTが、55mmのように中間の厚さの場合には、縫い深さD1が、丁度良い適切な寸法となっている。
しかしながら、図12(B)に示したように、例えば、畳100の厚さTが、15mmのように薄い厚さの場合には、縫い深さD2が、不足して、返し縫いの強度に劣ることになる。
さらに、この場合、使用する縫い糸114に対して、揺動角度αが大きくなるので、縫い糸114が図示しない天秤で繰り出され過ぎることになって、縫い糸114の糸の締りが悪く(緩くなって)、返し縫いの強度に劣ることになる。
一方、図12(C)に示したように、例えば、畳100の厚さTが、63mmのように厚い厚さの場合には、縫い深さD3が、大きくなってしまい、縫い針112が受ける抵抗が大きくなってしまい、縫い針112が曲がったり、折れたりするおそれがある。
また、この場合、図12(C)に示したように、縫い針112が畳100の傾斜面116の下端位置116aと接触して、下端位置116aの部分(隅角部)を破損損傷するおそれもある。
なお、図11に示したように、畳100自体を傾斜させる傾斜角度βは、畳100の厚さTが大きくなる程、大きく設定されている。
しかしながら、また、特許文献2(特開平10−24179号公報)では、このような返し縫い工程において、畳100の端部100aを支持する受け部材に、高さ調整可能な補助の受け部材を脱着自在に装着する必要があり、複雑な構成であり、補助の受け部材を脱着しなければならず、煩雑な作業が必要である。
本発明は、このような現状に鑑み、畳の厚さが変わっても、縫い深さが一定で、返し縫いの強度も一定であり、しかも、縫い針が曲がったり、折れたりするおそれがない、畳の側辺に対して、畳縁を縫い付けるための畳縫着装置、および、畳縫着方法を提供することを目的とする。
本発明は、前述したような従来技術における課題及び目的を達成するために発明されたものであって、本発明の畳縫着装置は、
畳を傾斜状に配置して、畳の側辺に沿って移動するミシン機構によって、畳の側辺に対して返し縫いを行い、
前記畳の側辺に畳縁を縫い付けるための畳縫着装置であって、
前記返し縫いの際に、前記傾斜した畳の側辺の傾斜面に対して、前記ミシン機構の縫い針が、貫通する貫通位置A1と、
前記縫い針が畳の側辺の傾斜面から抜けて、畳の側辺の傾斜面の下端位置近傍に移動する待機位置A2との間で揺動する揺動角度αを、
前記畳の厚さTに応じて、前記揺動角度αを変更とする揺動角度制御装置を備えたことを特徴とする。
また、本発明の畳縫着方法は、
畳を傾斜状に配置して、畳の側辺に沿って移動するミシン機構によって、畳の側辺に対して返し縫いを行う返し縫い工程を備え、
前記畳の側辺に対して、畳縁を縫い付けるための畳縫着方法であって、
前記返し縫い工程の際に、前記傾斜した畳の側辺の傾斜面に対して、前記ミシン機構の縫い針が、貫通する貫通位置A1と、
前記縫い針が畳の側辺の傾斜面から抜けて、畳の側辺の傾斜面の下端位置近傍に移動する待機位置A2との間で揺動する揺動角度αを、
前記畳の厚さTに応じて、前記揺動角度αを揺動角度制御装置によって変更して行うことを特徴とする。
このように、返し縫い工程の際に、傾斜した畳の側辺の傾斜面に対して、ミシン機構の縫い針が、貫通する貫通位置A1と、縫い針が畳の側辺の傾斜面から抜けて、畳の側辺の傾斜面の下端位置近傍に移動する待機位置A2との間で揺動する揺動角度αを、畳の厚さTに応じて、前記揺動角度αを揺動角度制御装置によって変更して行うようになっている。
従って、畳の厚さが変わっても、縫い針の揺動角度を適切な揺動角度に制御することで、仕上がりの良い返し縫いを行うことができる。
また、畳の厚みが厚い場合や、クセ量が大きく畳の側辺の傾斜面が縫い針側へ大きく出てきているようなクセであっても、縫い針が畳の傾斜面の下端位置と接触して、下端位置の部分(隅角部)を破損損傷するおそれもない。
また、本発明の畳縫着装置は、
畳を水平に配置して、畳の側辺に沿って移動するミシン機構によって、畳の側辺に対して平刺し縫いを行い、
前記平刺し縫いを行った畳を、傾斜状に配置して、前記ミシン機構によって、畳の側辺に対して返し縫いを行い、
前記畳の側辺に対して、畳縁を縫い付けるための畳縫着装置であることを特徴とする。
また、本発明の畳縫着方法は、
畳を水平に配置して、畳の側辺に沿って移動するミシン機構によって、畳の側辺に対して平刺し縫いを行う平刺し縫い工程と、
前記平刺し縫い工程で平刺し縫いを行った畳を、傾斜状に配置して、前記ミシン機構によって、畳の側辺に対して返し縫いを行う返し縫い工程を備え、
前記畳の側辺に対して、畳縁を縫い付けるための畳縫着装置であることを特徴とする。
このように構成することによって、平刺し縫い工程と、返し縫い工程とを共通のミシン機構により行うことが可能で、極めて便利である。
また、本発明の畳縫着装置は、前記畳のクセに応じて、貫通位置A1と待機位置A2の位置が調整可能に構成されていることを特徴とする。
また、本発明の畳縫着方法は、前記畳のクセに応じて、貫通位置A1と待機位置A2の位置を変更することを特徴とする。
このように構成することによって、畳の下前側にクセがある場合、そのクセの大きさによって、貫通位置A1と待機位置A2の調整をすることによって、返し縫い工程の仕上がりをよくすることが可能となる。
また、本発明の畳縫着装置は、前記畳のクセに応じて、揺動角度αが調整可能に構成されていることを特徴とする。
また、本発明の畳縫着方法は、前記畳のクセに応じて、揺動角度αを変更することを特徴とする。
このように構成することによって、畳の下前側にクセがある場合、そのクセの大きさによって、揺動角度αを変更することによって、返し縫い工程の仕上がりをよくすることが可能となる。
また、本発明の畳縫着装置は、
前記ミシン機構の縫い針を揺動する揺動装置が、縫い針支持部に連結された電動アクチュエータ装置であって、
前記電動アクチュエータ装置の突出量を、前記揺動角度制御装置によって制御するように構成されていることを特徴とする。
また、本発明の畳縫着方法は、
前記ミシン機構の縫い針を揺動する揺動装置が、縫い針支持部に連結された電動アクチュエータ装置であって、前記電動アクチュエータ装置の突出量を、前記揺動角度制御装置によって制御することを特徴とする。
このように構成することによって、ミシン機構の縫い針を揺動する揺動装置が、縫い針支持部に連結された電動アクチュエータ装置であって、電動アクチュエータ装置の突出量を、揺動角度制御装置によって制御している。
従って、電動アクチュエータ装置として、例えば、シリンダー駆動装置を用いて、シリンダー駆動装置をサーボモーターと電動シリンダーから構成することによって、プログラムによって数値制御することにより、畳の厚さTに応じて、揺動角度αを適切に設定でき、畳の厚さが変わっても、縫い針の揺動角度を適切な揺動角度に制御することで、仕上がりの良い返し縫いを行うことができる。
また、畳の厚みが厚い場合や、クセ量が大きく畳の側辺の傾斜面が縫い針側へ大きく出てきているようなクセであっても、縫い針が畳の傾斜面の下端位置と接触して、下端位置の部分(隅角部)を破損損傷するおそれもない。
本発明によれば、返し縫い工程の際に、傾斜した畳の側辺の傾斜面に対して、ミシン機構の縫い針が、貫通する貫通位置A1と、縫い針が畳の側辺の傾斜面から抜けて、畳の側辺の傾斜面の下端位置近傍に移動する待機位置A2との間で揺動する揺動角度αを、畳の厚さTに応じて、前記揺動角度αを揺動角度制御装置によって変更して行うようになっている。
従って、畳の厚さが変わっても、縫い針の揺動角度を適切な揺動角度に制御することで仕上がりの良い返し縫いを行うことができる。
また、畳の厚みが厚い場合や、クセ量が大きく畳の側辺の傾斜面が縫い針側へ大きく出てきているようなクセであっても、縫い針が畳の傾斜面の下端位置と接触して、下端位置の部分(隅角部)を破損損傷するおそれもない。
図1は、本発明の畳縫着装置の正面図である。 図2は、図1の畳縫着装置の上面図である。 図3は、図1の畳縫着装置の側面図である。 図4は、図1の畳縫着装置の平刺し縫い工程を説明する側面図である。 図5は、図1の畳縫着装置の返し縫い工程を説明する側面図である。 図6は、本発明の畳縫着装置の揺動角度制御装置を示す部分拡大図である。 図7は、本発明の畳縫着装置の揺動角度制御を説明する部分拡大図である。 図8は、畳の側辺(長辺側)に対して、畳縁を縫い付ける工程において、平刺し縫い工程を説明する部分拡大斜視図である。 図9は、畳の側辺(長辺側)に対して、畳縁を縫い付ける工程において、返し縫い工程を説明する部分拡大斜視図である。 図10(A)は、この特許文献1の従来の縫着装置200の正面図、図10(B)は、従来の縫着装置200の上面図である。 図11(A)は、従来の縫着装置200の平刺し縫い工程を示す側面図、図11(B)は、従来の縫着装置200の平刺し縫い工程を示す側面図である。 図12は、従来の縫着装置200のの畳縫着装置の揺動角度制御を説明する部分拡大図である。
以下、本発明の実施の形態(実施例)を図面に基づいてより詳細に説明する。
(実施例1)
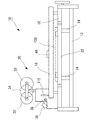
図1は、本発明の畳縫着装置の正面図、図2は、図1の畳縫着装置の上面図、図3は、図1の畳縫着装置の側面図、図4は、図1の畳縫着装置の平刺し縫い工程を説明する側面図、図5は、図1の畳縫着装置の返し縫い工程を説明する側面図、図6は、本発明の畳縫着装置の揺動角度制御装置を示す部分拡大図、図7は、本発明の畳縫着装置の揺動角度制御を説明する部分拡大図である。
図1〜図7において、符号10は、全体で本発明の畳縫着装置を示している。
なお、本発明の畳縫着装置10において、畳100の側辺110とは、畳100が、1畳用の場合には、畳100の長手方向の辺を、半畳用では、框側の辺と直角または略直角な辺を言う。
本発明の畳縫着装置10は、図1、図2に示したように、架台フレーム12を備えており、この架台フレーム12上に、左右一対の支持部材14が立設されている。
そして、図3〜図5に示したように、これらの支持部材14の上端に、一端が回動可能に軸支された略矩形形状の縫着台16が設けられている。
また、架台フレーム12には、縫着台16の上方に、畳100の側辺110に沿って延び、図示しないシリンダーなどの駆動機構で上下に移動して、縫着台16に載置された畳100を挟持して固定するための畳押え18が付設されている。
また、図1〜図5に示したように、架台フレーム12には、図示しないシリンダーなどの駆動機構で前後方向に移動して、縫着台16に載置された畳100を、ミシン機構20側に押圧して位置決めする畳押しバー22が設けられている。
なお、この実施例の場合には、畳押しバー22を設けているが、作業者が畳100の位置決めを行う場合は、畳縫着装置10においては、畳押しバー22は設けない実施態様とすることも従来から知られており、この場合には、畳押しバー22を設けなくても良い。
さらに、図2に示したように、縫着台16には、略矩形形状の開口部24が設けられ、この開口部24を介して、図示しない駆動機構によって、上下に移動できるとともに、水平方向に回転する回転座26が設けられている。
なお、回転座26の上下移動については、人がペダルを踏んで行うような機構を採用して実施形態としても良い。
これより、縫着台16に載置された畳100を、回転させて、畳100の両側の側辺110を、それぞれミシン機構20側に位置させることができるように構成されている。
また、図2に示したように、ミシン機構20は、架台フレーム12に設けられた2本の案内レール28に沿って、左右方向に、すなわち、縫着台16に載置された畳100の側辺110に沿って、図示しない駆動機構によって移動できるように構成されている。
さらに、図1に示したように、ミシン機構20は、上下に移動する縫い針112を備えるとともに、畳縁106が巻装された縁供給リール30と、縁下紙108巻装された縁下紙供給リール32を備えている。また、ミシン機構20は、畳100の畳床の厚さの調節が必要な場合に、クッション性を有する厚み調整テープを供給するための厚み調整部材供給リール34を備えている。
また、ミシン機構20には、畳100畳床を切断するための畳床切断刃36と、畳100の畳表を切断するための畳表切断刃38が付設されている。
また、ミシン機構20は、図3〜図5に示したように、ミシンスライド機構68により畳100に対して進退可能な状態(畳100に対して離接する方向、すなわち、図3〜図5において左右方向に移動可能な状態)となるように設けられている。
これによって、畳縁106の縫着と同時に、畳床切断刃36による切断によって畳のクセ取りが行える構成となっている。
一方、図3に示したように、架台フレーム12には、モーター40が設けられており、モータプーリー42、リンク機構44を介して、縫着台16の前端のピボット軸46で軸支されている。
これにより、縫着台16が、畳押え18とともに、図3の実線で示した水平位置(平刺し縫い位置、図4参照)と、図3の点線で示した傾斜した位置(返し縫い位置、図5参照)との間で移動できるように構成されている。
なお、この場合、縫着台16の傾斜角度は、厚い畳100と薄い厚さの畳100の2段階に傾斜可能に設けられている。また、縫着台16の傾斜角度は、作業者が手作業で行うような装置とすることも可能である。
なお、図2中、符号48は、運転スイッチ、50は、畳100の側辺110をミシン機構20の側にして、作業者が畳の位置決め、畳表のイ筋の直線だしするための定規を示している。
ところで、前述したように、図12に示したように、例えば、カム機構などでミシン機構の縫い針112の貫通位置A1と、待機位置A2との間で揺動させるので、揺動角度αは、例えば、8°と固定された状態となっている。
このため、図12(B)に示したように、例えば、畳100の厚さTが、15mmのように薄い厚さの場合には、縫い深さD2が、不足してしまうため、厚い畳100の場合よりも傾斜角度を大きくして返し縫いを行っているが、空縫いのための揺動が一定であるため、縫い糸114を多く引き出した状態となる。
この場合、厚い畳100の縫着よりも、薄い厚みの畳100の縫着に使用する縫い糸114の縫い糸量の方が少なくなる。
従って、薄い厚みの畳100を縫着する場合は、縫い糸114のたるみが出やすくなり、返し縫いの仕上がりが厚い畳に比較して、畳100の縫着状態が悪くなるという原因になっている。
また、薄い畳100の場合は、厚みの中間付近、または、厚みの中間より少し表面側の位置に縫い針を突入させている。
しかしながら、この場合、畳100の厚みが薄いために、表面近くに縫い針112を突入させることになる。また、空縫いの揺動で、返し縫いを行っている畳縁106を、縫い糸114で引っ張った状態となってしまう。
このため、畳縁106の表面に、この引っ張りの影響が生じて、畳縁106が凹んだ状態や、畳縁106縁自体が引っ張られたような状態となってしまう。
その結果、凹凸があるような感じに見えてしまったり、または、畳100の端部が一直線状に見えずに、引っ張られたところが少し凹んだ状態となって、波をうったような状態に見えてしまい、畳100の端部の仕上がりが悪くなるということが発生することになる。
さらに、この場合、使用する縫い糸114に対して、揺動角度αが大きくなるので、縫い糸114が図示しない天秤で繰り出され過ぎることになって、縫い糸114の糸の締りが悪く(緩くなって)、返し縫いの強度に劣ることになる。
一方、図12(C)に示したように、例えば、畳100の厚さTが、63mmのように厚い厚さの場合には、縫い深さD3が、大きくなってしまい、縫い針112が受ける抵抗が大きくなってしまい、縫い針112が曲がったり、折れたりするおそれがある。
また、この場合、縫い針112の突入位置を畳100の表面側に近い状態となってしまっていた場合には、図12(C)に示したように、縫い針112が畳100の傾斜面116の下端位置116aと接触して、下端位置116aの部分(隅角部)を破損損傷するおそれもある。
このため、本発明の畳縫着装置10では、図6、図7に示したように、返し縫いの際に、傾斜した畳100の側辺110の傾斜面116に対して、ミシン機構20の縫い針112が、貫通する貫通位置A1と、縫い針112が畳100の側辺110の傾斜面116から抜けて、畳100の側辺110の傾斜面116の下端位置116a近傍に移動する待機位置A2との間で揺動する揺動角度αを、畳100の厚さTに応じて、揺動角度αを変更とする揺動角度制御装置52を備えている。
すなわち、図6に示したように、縫い針112を支持するブラケットから構成される縫い針支持部54に、連結ピン56を介して、シリンダー駆動装置58が連結されている。
また、図6の矢印Bに示したように、縫い針支持部54は、その上方で、回動軸60を介して、ミシン機構20本体に回動可能に連結されている。
このシリンダー駆動装置58は、例えば、電動シリンダー62と、この電動シリンダーの駆動を制御するサーボモーター64とを備えており、コンピューターなどの制御装置66に接続されている。
これにより、図6の矢印Cに示したように、制御装置66によって、シリンダー駆動装置58の突出量を、揺動角度制御装置52の制御装置66によって制御するように構成されている。
従って、制御装置66により、プログラムによって数値制御することにより、畳100の厚さTに応じて、揺動角度αを適切に設定でき、畳の厚さTが変わっても、適切な縫い深さDで、安定した返し縫いができることになる。
すなわち、図7(A)に示したように、例えば、畳100の厚さTが15mmの厚さのように、薄い畳100の場合に、揺動角度αを5°に設定することによって、縫い深さD4が、丁度良い適切な寸法とし、縫い糸114を引きだしすぎずに、畳100の仕上がりを安定させることができるようになっている。
また、図7(B)に示したように、例えば、畳100の厚さTが63mmの厚さのように、厚い畳100の場合に、揺動角度αを7°に設定することによって、縫い深さD5が、丁度良い適切な寸法となっている。
これに対して、従来の縫着装置200では、図7(A)に示したように、5°+6°の11°に設定する必要があるので、使用する縫い糸114に対して、揺動角度αが大きくなるので、縫い糸114が図示しない天秤で繰り出され過ぎることになって、縫い糸114の糸の締りが悪く(緩くなって)、返し縫いの強度に劣ることになる。
そして、また、縫い糸114を引っ張りすぎることによって、畳100の仕上がり自体にも影響が出てしまうことにもなる。
また、本発明によれば、縫い針112が畳の傾斜面の下端位置と接触して、下端位置の部分(隅角部)を破損損傷するおそれもない。
なお、その他については、本発明の畳縫着装置10は、特許文献1の従来の縫着装置200の作動と同様であり、その詳細については、省略する。
また、図面においては概略的に示したものであり、解りやすく図示するために実際の説明した角度で図示していない場合もあるが、適切な揺動角度は、畳100の傾斜角度によって変化するため、単に1つの実施例として説明したものであり、説明で使用した数値に限定するものではないことは言うまでもない。
すなわち、特許文献1の従来の縫着装置200の作動と同様に、
(1)上前平刺し工程と、
(2)畳回転工程と、
(3)下前平刺し工程と、
(4)畳回転工程と、
(5)畳縫着台傾斜工程と、
(6)上前返し縫い工程と、
(7)畳縫着台水平戻し工程と、
(8)畳回転工程と、
(9)畳縫着台傾斜工程と、
(10)下前返し縫い工程と、
(11)畳縫着台水平戻し工程と、
を行うようにしても良い。
また、特許文献1の従来の縫着装置200の作動と同様に、
(1)上前平刺し工程と、
(2)畳回転工程と、
(3)下前平刺し工程と、
(4)作業者がミシン側に移動して、下前側の縁、縁下紙を折り返す工程と、
(5)畳縫着台傾斜工程と、
(6)下前返し縫い工程と、
(7)畳縫着台水平戻し工程と、
(8)畳回転工程と、
(9)畳縫着台傾斜工程と、
(10)上前返し縫い工程と、
(11)畳縫着台水平戻し工程と、
を行うようにすることもできる。
さらに、
(1)上前平刺し工程と、
(2)作業者がミシン側に移動して、下前側の縁、縁下紙を折り返す工程と、
(3)畳縫着台傾斜工程と、
(4)上前返し縫い工程と、
(5)畳縫着台水平戻し工程と、
(6)畳回転工程と、
(7)下前平刺し工程と、
(8)作業者がミシン側に移動して、下前側の縁、縁下紙を折り返す工程と、
(9)畳縫着台傾斜工程と、
(10)下前返し縫い工程と、
(11)畳縫着台水平戻し工程と、
を行うようにすることもできる。
さらに、本願発明は、上記したような工程順序に限定されるものではなく、適切な工程順序とすることができる。
(実施例2)
上記実施例1は、畳100の厚みTによって、揺動角度αを変化させる実施形態を説明した。
また、上記実施例1の場合、畳100のクセが大きくなると、ミシン機構20自体を畳100に対して進退させるということが必要となり、ミシンスライド機構68で、畳に対してミシン機構20の位置を調整して対応している。
ところで、畳100の上前側は、部屋に畳を敷き込むと畳同士が接する側であるので、直線に裁断して製作する。
このため。上記実施例1の実施態様で対応は可能となるが、畳の下前側にクセがある場合、そのクセの大きさによって、貫通位置A1と待機位置A2の調整をすることによって返し縫い工程の仕上がりをよくすることが可能となる。
すなわち、畳100の幅寸法が小さくなっているクセの場合は、畳100の傾斜面がミシン機構20から離れる状態となるため、貫通位置A1と待機位置A2を、畳100の表面側(図7(A)で、矢印Eで示したように、時計回り方向)へ移動させることにより、返し縫いを行うようにすれば良い。
これとは逆に、畳100の幅寸法が大きくなっているクセの場合は、畳100の傾斜面がミシン機構20側に近付く状態となるため、貫通位置A1と待機位置A2を、畳100の裏面側(図7(A)で、矢印Fで示したように、反時計回り方向)へ移動させることにより、返し縫いを行うようにすれば良い。
すなわち、揺動角度αは一定のままで、貫通位置A1と待機位置A2の位置を時計回り方向に少し旋回をさせたり、逆に。反時計回り方向に少し旋回をさせたりすれば良い。
また、場合によっては、同時に揺動角度α自体も、拡げたり狭めたりという制御も可能である。
ところで、敷き込む畳100は、敷居の形状に合わせて裁断するため、下前側の形状は種々の形状にならざるえない。そのため、畳100の標準寸法よりどれだけ大きいか小さいかというクセ寸法を、畳製作時にはクセ寸法として、3個所(いわゆる「間中」と称される)、または、5個所(いわゆる「小間中」と称される)で、数値化されている。
従って、図示しない制御装置によって、このような数値化されたクセ寸法データーに基づいて、自動的に揺動角度αの位置を、時計方向、または、反時計方向へ旋回させて補正したり、揺動角度α自体を変更して、拡げたりすることを行うようにしても良い。
また、このような補正を、クセの寸法に基づいて自動的に行うのではなく、ミシン操作者が、適宜なスイッチで手動により、揺動角度αを、時計方向、または、反時計方向への角度一定のまま変更したり、揺動角度α自体を拡げたり狭めたりするように操作できるスイッチを適宜設けることもできる。
このような制御を行うことで、下前にクセがある畳100においても、仕上がりの良い返し縫い工程が可能となり、使い勝手のよい畳縫着装置10を提供できる。
以上、本発明の好ましい実施の態様を説明してきたが、本発明はこれに限定されることはなく、例えば、上記実施例では、特に限定していないが、本発明の畳縫着装置10を半畳用、1畳用のいずれにも対応するように構成することができる。
また、上記実施例では、平刺し縫い工程と、返し縫い工程とを共通のミシン機構20、すなわち、1本の縫い針112により行うように構成したが、ミシン機構20を返し縫い工程専用のものとして本発明を実施し、別途平刺し縫い用のミシン機構を備えることもできる。
さらに、上記実施例では、1つのミシン機構20を設けたが、畳100の上前と下前の両側の側辺110に沿ってそれぞれ、別のミシン機構20を設けて、上前と下前とを同時に畳100の両側の側辺110に平刺し縫い工程を行い、その後、返し縫い工程を行うように構成することも可能である。
また、ミシン機構20を複数個連接して、複数枚の畳100に対して、同時に平刺し縫い工程、返し縫い工程を行うように構成することも可能であるなど本発明の目的を逸脱しない範囲で種々の変更が可能である。
本発明は、畳の側辺に対して、畳縁を縫い付けるための畳縫着装置に関し、特に、畳を傾斜状に配置して、畳の側辺に沿って移動するミシン機構によって、畳の側辺に対して返し縫いを行い、畳の側辺に対して、畳縁を縫い付けるための畳縫着装置、および、畳縫着方法にに適用することができる。
10 畳縫着装置
12 架台フレーム
14 支持部材
16 縫着台
20 ミシン機構
22 畳押しバー
24 開口部
26 回転座
28 案内レール
30 縁供給リール
32 縁下紙供給リール
34 調整部材供給リール
36 畳床切断刃
38 畳表切断刃
40 モーター
42 モータプーリー
44 リンク機構
46 ピボット軸
48 運転スイッチ
50 定規
52 揺動角度制御装置
54 針支持部
56 連結ピン
58 シリンダー駆動装置
60 回動軸
62 電動シリンダー
64 サーボモーター
66 制御装置
68 ミシンスライド機構
100 畳
102 畳床
104 上面
106 畳縁
108 縁下紙
110 側辺
112 縫い針
114 縫い糸
116 傾斜面
116a 下端位置
200 縫着装置
202 載置台
204 固定具
206 ミシン機構
A1 貫通位置
A2 待機位置
T 厚さ
α 揺動角度
β 傾斜角度

Claims (10)

  1. 畳を傾斜状に配置して、畳の側辺に沿って移動するミシン機構によって、畳の側辺に対して返し縫いを行い、
    前記畳の側辺に畳縁を縫い付けるための畳縫着装置であって、
    前記返し縫いの際に、前記傾斜した畳の側辺の傾斜面に対して、前記ミシン機構の縫い針が、貫通する貫通位置A1と、
    前記縫い針が畳の側辺の傾斜面から抜けて、畳の側辺の傾斜面の下端位置近傍に移動する待機位置A2との間で揺動する揺動角度αを、
    前記畳の厚さTに応じて、前記揺動角度αを変更とする揺動角度制御装置を備えたことを特徴とする畳縫着装置。
  2. 畳を水平に配置して、畳の側辺に沿って移動するミシン機構によって、畳の側辺に対して平刺し縫いを行い、
    前記平刺し縫いを行った畳を、傾斜状に配置して、前記ミシン機構によって、畳の側辺に対して返し縫いを行い、
    前記畳の側辺に対して、畳縁を縫い付けるための畳縫着装置であることを特徴とする請求項1に記載の畳縫着装置。
  3. 前記畳のクセに応じて、貫通位置A1と待機位置A2の位置が調整可能に構成されていることを特徴とする請求項1から2のいずれかに記載の畳縫着装置。
  4. 前記畳のクセに応じて、揺動角度αが調整可能に構成されていることを特徴とする請求項1から3のいずれかに記載の畳縫着装置。
  5. 前記ミシン機構の縫い針を揺動する揺動装置が、縫い針支持部に連結された電動アクチュエータ装置であって、
    前記電動アクチュエータ装置の突出量を、前記揺動角度制御装置によって制御するように構成されていることを特徴とする請求項1から4のいずれかに記載の畳縫着装置。
  6. 畳を傾斜状に配置して、畳の側辺に沿って移動するミシン機構によって、畳の側辺に対して返し縫いを行う返し縫い工程を備え、
    前記畳の側辺に対して、畳縁を縫い付けるための畳縫着方法であって、
    前記返し縫い工程の際に、前記傾斜した畳の側辺の傾斜面に対して、前記ミシン機構の縫い針が、貫通する貫通位置A1と、
    前記縫い針が畳の側辺の傾斜面から抜けて、畳の側辺の傾斜面の下端位置近傍に移動する待機位置A2との間で揺動する揺動角度αを、
    前記畳の厚さTに応じて、前記揺動角度αを揺動角度制御装置によって変更して行うことを特徴とする畳縫着方法。
  7. 畳を水平に配置して、畳の側辺に沿って移動するミシン機構によって、畳の側辺に対して平刺し縫いを行う平刺し縫い工程と、
    前記平刺し縫い工程で平刺し縫いを行った畳を、傾斜状に配置して、前記ミシン機構によって、畳の側辺に対して返し縫いを行う返し縫い工程を備え、
    前記畳の側辺に対して、畳縁を縫い付けるための畳縫着装置であることを特徴とする請求項6に記載の畳縫着方法。
  8. 前記畳のクセに応じて、貫通位置A1と待機位置A2の位置を変更することを特徴とする請求項6から7のいずれかに記載の畳縫着方法。
  9. 前記畳のクセに応じて、揺動角度αを変更することを特徴とする請求項6から8のいずれかに記載の畳縫着方法。
  10. 前記ミシン機構の縫い針を揺動する揺動装置が、縫い針支持部に連結された電動アクチュエータ装置であって、前記電動アクチュエータ装置の突出量を、前記揺動角度制御装置によって制御することを特徴とする請求項6から9のいずれかに記載の畳縫着方法。
JP2015000558A 2015-01-05 2015-01-05 畳縫着装置、および、畳縫着方法 Active JP6443859B2 (ja)

Priority Applications (1)

Application Number Priority Date Filing Date Title
JP2015000558A JP6443859B2 (ja) 2015-01-05 2015-01-05 畳縫着装置、および、畳縫着方法

Applications Claiming Priority (1)

Application Number Priority Date Filing Date Title
JP2015000558A JP6443859B2 (ja) 2015-01-05 2015-01-05 畳縫着装置、および、畳縫着方法

Publications (2)

Publication Number Publication Date
JP2016123734A true JP2016123734A (ja) 2016-07-11
JP6443859B2 JP6443859B2 (ja) 2018-12-26

Family

ID=56357237

Family Applications (1)

Application Number Title Priority Date Filing Date
JP2015000558A Active JP6443859B2 (ja) 2015-01-05 2015-01-05 畳縫着装置、および、畳縫着方法

Country Status (1)

Country Link
JP (1) JP6443859B2 (ja)

Cited By (2)

* Cited by examiner, † Cited by third party
Publication number Priority date Publication date Assignee Title
CN107099935A (zh) * 2017-06-09 2017-08-29 辽宁新山电器有限公司 榻榻米缝制机
CN115928334A (zh) * 2021-08-18 2023-04-07 杰克科技股份有限公司 缝纫机及花式线迹

Citations (3)

* Cited by examiner, † Cited by third party
Publication number Priority date Publication date Assignee Title
JPH1024179A (ja) * 1996-07-12 1998-01-27 Tokai Kiki Kogyo Kk 畳の両用縫着機
JPH11319356A (ja) * 1998-05-13 1999-11-24 Kyokuto Sanki Co Ltd 畳縫着装置
JP2005304804A (ja) * 2004-04-22 2005-11-04 Kibi:Kk 畳表縫着装置

Patent Citations (3)

* Cited by examiner, † Cited by third party
Publication number Priority date Publication date Assignee Title
JPH1024179A (ja) * 1996-07-12 1998-01-27 Tokai Kiki Kogyo Kk 畳の両用縫着機
JPH11319356A (ja) * 1998-05-13 1999-11-24 Kyokuto Sanki Co Ltd 畳縫着装置
JP2005304804A (ja) * 2004-04-22 2005-11-04 Kibi:Kk 畳表縫着装置

Cited By (2)

* Cited by examiner, † Cited by third party
Publication number Priority date Publication date Assignee Title
CN107099935A (zh) * 2017-06-09 2017-08-29 辽宁新山电器有限公司 榻榻米缝制机
CN115928334A (zh) * 2021-08-18 2023-04-07 杰克科技股份有限公司 缝纫机及花式线迹

Also Published As

Publication number Publication date
JP6443859B2 (ja) 2018-12-26

Similar Documents

Publication Publication Date Title
JP2010069100A (ja) 押え金及びミシン
CN102535034A (zh) 带环缝制装置以及带环缝制装置的控制方法
JP6443859B2 (ja) 畳縫着装置、および、畳縫着方法
JP4665619B2 (ja) ジグザグミシン
JP5059435B2 (ja) 玉縁縫いミシン
JP4975358B2 (ja) ミシン及び玉縁縫いミシン
JP6443860B2 (ja) 畳縫着装置の縫い針ガイド機構、および、縫い針ガイド機構を備えた畳縫着装置
JP4975360B2 (ja) 玉縁縫いミシン
JP5013780B2 (ja) 玉縁縫いミシン
JP2007289586A (ja) 玉縁縫いミシン
JP4799946B2 (ja) 玉縁縫いミシン
JP5330605B2 (ja) ミシンの布押さえ装置
JP4482358B2 (ja) シークイン供給装置
JP2010220928A (ja) 穴かがりミシン及び縫製パラメータの算出方法
JP2006263185A (ja) 玉縁縫いミシン
JP2011212151A (ja) ミシン
JP2009279234A (ja) 玉縁縫いミシン
JP3726895B2 (ja) ボタン付けミシン
JP2013154062A (ja) ミシン
JP6292446B2 (ja) 畳縫着装置
TWI748010B (zh) 縫紉機
JP2007089987A (ja) 玉縁縫いミシン
JP4921655B2 (ja) 立体物縫製装置及び立体物縫製方法
JP4681765B2 (ja) ミシンの布ガイド装置及びミシン
JP4800072B2 (ja) 根巻きボタン付けミシン及びボタン付け方法

Legal Events

Date Code Title Description
A621 Written request for application examination

Free format text: JAPANESE INTERMEDIATE CODE: A621

Effective date: 20171130

A977 Report on retrieval

Free format text: JAPANESE INTERMEDIATE CODE: A971007

Effective date: 20180806

A131 Notification of reasons for refusal

Free format text: JAPANESE INTERMEDIATE CODE: A131

Effective date: 20180814

A521 Request for written amendment filed

Free format text: JAPANESE INTERMEDIATE CODE: A523

Effective date: 20181002

TRDD Decision of grant or rejection written
A01 Written decision to grant a patent or to grant a registration (utility model)

Free format text: JAPANESE INTERMEDIATE CODE: A01

Effective date: 20181031

A61 First payment of annual fees (during grant procedure)

Free format text: JAPANESE INTERMEDIATE CODE: A61

Effective date: 20181120

R150 Certificate of patent or registration of utility model

Ref document number: 6443859

Country of ref document: JP

Free format text: JAPANESE INTERMEDIATE CODE: R150

R250 Receipt of annual fees

Free format text: JAPANESE INTERMEDIATE CODE: R250

R250 Receipt of annual fees

Free format text: JAPANESE INTERMEDIATE CODE: R250

S533 Written request for registration of change of name

Free format text: JAPANESE INTERMEDIATE CODE: R313533

R350 Written notification of registration of transfer

Free format text: JAPANESE INTERMEDIATE CODE: R350

R250 Receipt of annual fees

Free format text: JAPANESE INTERMEDIATE CODE: R250

R250 Receipt of annual fees

Free format text: JAPANESE INTERMEDIATE CODE: R250

R250 Receipt of annual fees

Free format text: JAPANESE INTERMEDIATE CODE: R250