JP2016046292A - ロードポートおよび基板の搬送方法 - Google Patents

ロードポートおよび基板の搬送方法 Download PDF

Info

Publication number
JP2016046292A
JP2016046292A JP2014167383A JP2014167383A JP2016046292A JP 2016046292 A JP2016046292 A JP 2016046292A JP 2014167383 A JP2014167383 A JP 2014167383A JP 2014167383 A JP2014167383 A JP 2014167383A JP 2016046292 A JP2016046292 A JP 2016046292A
Authority
JP
Japan
Prior art keywords
substrate
storage container
opening
port
substrate storage
Prior art date
Legal status (The legal status is an assumption and is not a legal conclusion. Google has not performed a legal analysis and makes no representation as to the accuracy of the status listed.)
Granted
Application number
JP2014167383A
Other languages
English (en)
Other versions
JP6376594B2 (ja
Inventor
統 小川
Osamu Ogawa
統 小川
公徳 冨永
Kiminori Tominaga
公徳 冨永
康大 藤本
Yasuhiro Fujimoto
康大 藤本
Current Assignee (The listed assignees may be inaccurate. Google has not performed a legal analysis and makes no representation or warranty as to the accuracy of the list.)
Shin Etsu Polymer Co Ltd
Shin Etsu Chemical Co Ltd
Original Assignee
Shin Etsu Polymer Co Ltd
Shin Etsu Chemical Co Ltd
Priority date (The priority date is an assumption and is not a legal conclusion. Google has not performed a legal analysis and makes no representation as to the accuracy of the date listed.)
Filing date
Publication date
Application filed by Shin Etsu Polymer Co Ltd, Shin Etsu Chemical Co Ltd filed Critical Shin Etsu Polymer Co Ltd
Priority to JP2014167383A priority Critical patent/JP6376594B2/ja
Publication of JP2016046292A publication Critical patent/JP2016046292A/ja
Application granted granted Critical
Publication of JP6376594B2 publication Critical patent/JP6376594B2/ja
Active legal-status Critical Current
Anticipated expiration legal-status Critical

Links

Images

Landscapes

  • Container, Conveyance, Adherence, Positioning, Of Wafer (AREA)

Abstract

【課題】ロードポートに載置されて蓋が開けられた基板収納容器内部の気体を、効率良く置換する。【解決手段】ミニエンバイロメント装置に設けられたロードポートは、ポートドアが開いた開口を閉鎖する高速シャッターを有する。ポートドアが基板収納容器の蓋を外した後は、高速シャッターが閉じてミニエンバイロメント装置と基板収納容器を分離する。このため、基板収納容器の雰囲気はミニエンバイロメント装置と独立して管理できる。また、蓋を外した状態でも基板収納容器内に不活性ガスを循環させることができる。【選択図】図3

Description

本発明は、半導体ウェーハなどの基板の出し入れを行うロードポートに関し、特にロードポートに連結される基板収納容器内の雰囲気を効率的に管理できるロードポートおよび基板の搬送方法に関する。
高い清浄度の環境が必要とされる半導体の製造工程では、クリーンルームの稼動コスト削減のため、クリーンルーム全体の清浄度を向上させる代わりに、半導体基板の周囲の局所的な空間のみを高い清浄度で管理するミニエンバイロメント方式が採用されている。
ミニエンバイロメント方式では、ミニエンバイロメント装置内の空間がファンフィルタユニットによるダウンフローによって高い清浄度に管理され、半導体基板の搬送、処理、検査などが行われる。ミニエンバイロメント装置の外部では、半導体基板は清浄な環境を保つ蓋付きの基板収納容器で運搬され、基板収納容器からミニエンバイロメント装置に設けられたロードポートを介して基板の受け渡しが行われる。
ロードポートには半導体基板の出し入れを行うための開口部と、開口部を開閉するポートドアが設けられている。ポートドアは基板収納容器の蓋を保持し開閉するオープナ機構を備え、ロードポートの所定位置に運ばれた基板収納容器の蓋は、ポートドアに保持されて外される。
蓋が外されポートドアが開くと、搬送アームが基板収納容器内に進入し、半導体基板の搬送が行われる。このようなミニエンバイロメント装置は、特許文献1および2に開示されている。
通常、基板収納容器は置換ガスとして不活性ガスが充填され密閉されるが、ロードポートに連結され基板収納容器の蓋が外されると、基板収納容器にはミニエンバイロメント装置内の気体が流入する。近年、半導体プロセスの微細化に伴い、雰囲気中の水分による影響が大きくなり、蓋が外された状態においても基板収納容器内を低湿度雰囲気に管理することが求められている。
基板収納容器にミニエンバイロメント装置内の気体が流入するのを防ぎ、低湿度雰囲気に管理するためには、搬送アームが半導体基板の搬送を行うとき以外は蓋とポートドアを閉じることが考えられる。しかし、蓋を保持するポートドアの開閉には時間がかかり、ポートドアの開閉を繰り返し行うことは、搬送アームによる半導体基板の搬送効率を低下させる。
特許文献2には、蓋体を外した状態で開口部から基板収納容器内に不活性ガスを流し込むユニットが開示されているが、ミニエンバイロメント装置のダウンフローエアが基板収納容器内に流れ込むことは避けられず、基板収納容器内の湿度を15%以下に保つのは難しい。
特許第3983254号 特許第4012190号
そこで、本発明は基板収納容器の蓋が外された状態でも、基板収納容器内を低湿度雰囲気に保つロードポートを提供すること、および基板収納容器内を低湿度雰囲気に保ちつつ基板の搬送を行う方法を提供することを目的とする。
本発明のロードポート装置は、基板収納容器とミニエンバイロメント装置との間の基板の搬送口となるロードポートであって、前記ロードポートは、前記基板収納容器が載置される載置台と、前記基板収納容器の蓋に対向する開口部と、前記開口部を開閉するとともに、前記蓋を保持し、前記蓋の取り外しおよび取り付けを行うポートドアと、前記開口部を閉鎖する高速シャッターと、を備え、前記ポートドアが前記蓋を取り外した状態で、前記高速シャッターが前記開口部の閉鎖を行うことを特徴とする。
さらに、本発明のロードポート装置は、前記基板収納容器はガス供給用の開閉バルブおよびガス排気用の開閉バルブを備え、前記載置台には、前記ガス供給用の開閉バルブに置換ガスを供給するガス供給用ノズルと、前記ガス排気用の開閉バルブから前記基板収納容器内の気体を排気する排気用ノズルと、が設けられていることを特徴とする。
また、本発明のロードポート装置は、前記高速シャッターが前記基板の取り出し口を備え、前記取り出し口の周縁にガスの吹き出し口が配置されていることを特徴とする。
本発明の基板の搬送方法は、ロードポートを備えるミニエンバイロメント装置と、基板収納容器との間の基板の搬送方法であって、前記ロードポートの開口部に設けられたポートドアが、前記基板収納容器の蓋を保持し取り外すステップと、前記ロードポートに設けられた高速シャッターが閉じられ前記開口部を閉鎖するステップと、搬送アームが、前記開口部から前記基板収納容器内に進入し、前記基板の搬出または搬入を行うステップと、を含むことを特徴とする。
さらに、本発明の基板の搬送方法は、少なくとも前記開口部を閉鎖するステップは、前記基板収納容器のガス供給用の開閉バルブから置換ガスが供給され、前記基板収納容器のガス排気用の開閉バルブから排気がされる状態で行われることを特徴とする。
また、本発明の基板の搬送方法は、前記高速シャッターが、周縁にガスの吹き出し口が配置された取り出し口を備え、前記基板の表面に不活性ガスを吹き付けるステップをさらに有することを特徴とする。
本発明のロードポートは、基板収納容器の蓋が外された状態でも基板収納容器内を低湿度雰囲気に保ち、基板収納容器内を低湿度雰囲気に保ちつつ基板の搬送を行うことを可能とする。
基板収納容器がロードポートの所定位置に載置された状態を示す図である。 基板収納容器から半導体基板を取り出す状態を示す図である。 ロードポートの開口が高速シャッターにより閉鎖された状態を示す図である。 他の実施形態のロードポートを示す図である。 他の実施形態におけるシャッターの構造を示す図である。 他の実施形態においてロードポートの開口が高速シャッターにより閉鎖された状態を示す図である。
以下、本発明の一実施形態について、本発明のロードポートが取付けられたミニエンバイロメント装置を例に説明する。
図1は本発明のロードポート2に、複数の半導体基板8を収納した基板収納容器が運ばれ、載置台4の所定位置に載置された状態を示している。
ミニエンバイロメント装置1は、天井に設けられたファンフィルタユニットからクリーンエアがダウンフローされ(図中の矢印)、空間内を高い清浄度に保つ。ミニエンバイロメント装置1の側壁には、本発明のロードポート2が設けられている。ロードポートはミニエンバイロメント装置内外での基板搬送口となり、基板収納容器の蓋に対向する開口部と、この開口部を開閉するポートドア3を備える。ポートドア3は基板収納容器の蓋オープナ機構を有し、基板収納容器の蓋5を取り外しおよび取り付けができる。搬送アーム7は基板収納容器内に進入して半導体基板8を搬送する。
本発明のロードポート2は開口部を閉鎖する高速シャッター9を備える。図1の実施例ではロードポート2の側壁内に、ポートドア3が基板収納容器の蓋を外した後、開口部を閉鎖する高速シャッター9が開口部の上下に設けられている。高速シャッター9はポートドア3よりも高速に動作し、短時間で開口部を閉鎖することができるものであれば、1枚のシャッター、横方向に移動するシャッターなどを採用することも可能であり、設置場所も側壁内に限るものではない。
基板収納容器本体6の底面には、内部の気体を置換するために不活性ガスを供給するガス供給用の開閉バルブ10および内部の気体を排気する排気用の開閉バルブ11を有しており、それぞれロードポート2の載置台4に設けられたガス供給用ノズル12および排気用ノズル13と連結されている。ガス供給用ノズル12と排気用ノズル13は、それぞれ図示しない不活性ガス供給装置と排気装置に連結しており、基板収納容器本体6に不活性ガスを供給し、内部の気体を排気することができる。
(半導体基板の搬送方法)
次に本発明の基板の搬送方法について、基板収納容器からミニエンバイロメント装置に半導体基板を搬出する工程を例に説明する。
複数の半導体基板8を収納し密封された基板収納容器は、基板収納容器の蓋5がロードポートの開口部を閉鎖しているポートドア3と対向するように、載置台4の所定位置に運ばれる(図1)。ポートドア3はオープナ機構により基板収納容器本体6から蓋5を取り外し、基板収納容器の蓋5を保持した状態でミニエンバイロメント装置の内部に後退する。
基板収納容器の蓋5が外され連通した開口部から、搬送アーム7が基板収納容器本体6に進入し、半導体基板8を取り出す(図2)。搬送アーム7が半導体基板8を保持して基板収納容器本体6から退避すると、側壁に設けられた高速シャッター9が閉じてロードポートの開口部を閉鎖する(図3)。高速シャッター9が閉じることにより、ミニエンバイロメント装置1から基板収納容器本体6への、または基板収納容器本体6からミニエンバイロメント装置内1へのガスが流れ込みは防止される。
搬送アーム7は取り出した半導体基板を、図示しない搬送機構に渡し次の半導体基板8を取り出すために再びロードポートの開口部に向かう。搬送アーム7が開口部に近付くと、高速シャッター9が開き、搬送アーム7は基板収納容器本体6から次の半導体基板8を取り出す(図2)。半導体基板8が取り出されると再び高速シャッター9が閉じて、基板収納容器本体6はミニエンバイロメント装置1から分離される(図3)。この作業が繰り返し行われ、基板収納容器が運搬した複数の半導体基板8が、ミニエンバイロメント装置内1に搬送される。
本発明が備える高速シャッター9の動きは高速であるため、搬送アーム7が半導体基板8を取り出すタクトタイムに影響を与えない。また、搬送アーム7が半導体基板8を取り出すとき以外は高速シャッター9が閉じているため、搬送アーム7が半導体基板を取り出す間隔が長時間あいても、基板収納容器内の雰囲気はミニエンバイロメント装置内の雰囲気の影響を受けずに独立して管理できる。
本発明の搬送方法では基板収納容器本体6には、ガス供給用の開閉バルブ10から置換ガスとして不活性ガスが供給され、排気用の開閉バルブ11から排気が行われる。基板収納容器の蓋5が外された状態で基板収納容器本体6の内部は不活性ガスが循環し、常に低湿度の環境に保つことができる。
従来の高速シャッターがないロードポートでは、基板収納容器の蓋が外された状態で基板収納容器のガス供給用の開閉バルブから不活性ガスを流すと、基板収納容器本体の開口から常に不活性ガスがミニエンバイロメント装置1内に吹き出し、ミニエンバイロメント装置1のクリーンエアのダウンフローを乱してしまう。
本発明では、搬送アーム7が半導体基板8を取り出すとき以外は高速シャッター9が閉じているので、基板収納容器本体6とミニエンバイロメント装置1は分離される。このため、蓋5が外された基板収納容器本体6に、ガス供給用の開閉バルブ10から置換のために不活性ガスを流した状態でも、高速シャッター9が閉じている状態ではガス排気用の開閉バルブ11から排気され、ミニエンバイロメント装置1内に吹き出すことはなく、クリーンエアのダウンフローの乱れを抑制できる。
以上、基板収納容器から半導体基板8を取り出す工程を例に説明したが、基板収納容器に半導体基板8を搬入する工程においても、搬送アーム7が半導体基板8を収納するとき以外は高速シャッター9が閉じているため、ミニエンバイロメント装置1と基板収納容器本体6との間でガスの流れが防げるので同様の効果が得られる。
本実施形態によれば蓋が外された状態で、高速シャッターがロードポートの開口を閉鎖するので、基板収納容器の雰囲気をミニエンバイロメント装置とは独立して管理することができる。また、蓋が外された状態でも基板収納容器に不活性ガスを循環させることができるため、基板収納容器の雰囲気を低湿度雰囲気に保ちつつ半導体基板の搬送を行うことができる。
本発明のロードポートの他の実施形態を図4〜図6に示す。他の実施形態のロードポート2は、図4に示すように高速シャッター19を上方に1枚配置した例であり、基板収納容器本体6から蓋5を取り除いた後に、図6に示すように高速シャッター19が下降することで、ロードポートの開口部を閉鎖する。
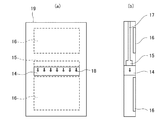
図5(a)は高速シャッター19をミニエンバイロメント装置側から見た正面図であり、図5(b)は高速シャッター19の断面図である。高速シャッター19の中央部には半導体基板を取り出すための取り出し口14が形成されている。取り出し口14は、搬送アーム7が通過できて半導体基板8を搬入、搬出ができる大きさに形成されている。
ロードポート2は、開口部を閉鎖した高速シャッター19の位置を制御して、取り出し口14の高さを搬送アーム7がアクセスしたい半導体基板8の高さに対応させる。このように高速シャッター19の位置を制御することにより、搬送アーム7は取り出し口14を介して基板収納容器内の全ての半導体基板8にアクセス可能である。
また、図5に示すように、高速シャッター19の取り出し口14の周縁に、不活性ガス流路17に連結された吹き出し口15を設け、搬送中の半導体基板8の表面に不活性ガス18を吹き付けることもできる。
さらに、取り出し口14の上方および下方には、吹き付けられた不活性ガスを排気する排気口16が形成されており、基板収納容器内に収納される半導体基板8の汚染を防止している。排気口16は図示しない通気部と外部へ接続される連通部とを介して外部に備えられた減圧ユニット(真空ポンプ)に接続される。排気口16から吸引した気体は外部へと排気されるか、またはフィルターを介して有機ガス、パーティクルなどを取り除き、循環して使用される。
ロードポートの開口部にこのような高速シャッター19を設けることで、基板収納容器から蓋5を取り除いた後も、高速シャッター19で開口部を閉鎖してガス供給用の開閉バルブ10と排気用の開閉バルブ11から基板収納容器内を不活性ガスで置換することができる。
また、取り出し口14の高さを制御することで、特定の半導体基板をローディング、アンローディング可能とできる。さらに、取り出し口14の周縁に設けた吹き出し口15から不活性ガスを搬送中の半導体基板の表面に吹き付けることで、基板表面に残留する有機ガスや汚染物を排気口16から除去可能となり、基板収納容器内部および収納された他の半導体基板の汚染を防止できる。
本発明を実施の形態に基づき説明したが、本発明は実施の形態例に限定されるものではなく、その要旨を逸脱しない範囲で種々変更が可能である。
1 ミニエンバイロメント装置
2 ロードポート
3 ポートドア
4 載置台
5 基板収納容器の蓋
6 基板収納容器本体
7 搬送アーム
8 半導体基板
9、19 高速シャッター
10 ガス供給用の開閉バルブ
11 排気用の開閉バルブ
12 ガス供給用ノズル
13 排気用ノズル
14 取り出し口
15 吹き出し口
16 排気口
17 不活性ガス流路
18 吹き出し口からの不活性ガスの流れ

Claims (6)

  1. 基板収納容器とミニエンバイロメント装置との間の基板の搬送口となるロードポートであって、
    前記ロードポートは、前記基板収納容器が載置される載置台と、
    前記基板収納容器の蓋に対向する開口部と、
    前記開口部を開閉するとともに、前記蓋を保持し、前記蓋の取り外しおよび取り付けを行うポートドアと、
    前記開口部を閉鎖する高速シャッターと、を備え、
    前記ポートドアが前記蓋を取り外した状態で、前記高速シャッターが前記開口部の閉鎖を行うことを特徴とするロードポート。
  2. 前記基板収納容器は、ガス供給用の開閉バルブおよびガス排気用の開閉バルブを備え、
    前記載置台には、前記ガス供給用の開閉バルブに置換ガスを供給するガス供給用ノズルと、
    前記ガス排気用の開閉バルブから前記基板収納容器内の気体を排気する排気用ノズルと、が設けられていることを特徴とする、請求項1記載のロードポート。
  3. 前記高速シャッターが前記基板の取り出し口を備え、前記取り出し口の周縁にガスの吹き出し口が配置されていることを特徴とする、請求項1または2に記載のロードポート。
  4. ロードポートを備えるミニエンバイロメント装置と、基板収納容器との間の基板の搬送方法であって、
    前記ロードポートの開口部に設けられたポートドアが、前記基板収納容器の蓋を保持し取り外すステップと、
    前記ロードポートに設けられた高速シャッターが閉じられ前記開口部を閉鎖するステップと、
    搬送アームが、前記開口部から前記基板収納容器内に進入し、前記基板の搬出または搬入を行うステップと、を含むことを特徴とする基板の搬送方法。
  5. 少なくとも前記開口部を閉鎖するステップは、前記基板収納容器のガス供給用の開閉バルブから置換ガスが供給され、前記基板収納容器のガス排気用の開閉バルブから排気がされる状態で行われることを特徴とする請求項4に記載の基板の搬送方法。
  6. 前記高速シャッターが、周縁にガスの吹き出し口が配置された前記基板の取り出し口を備え、前記基板の表面に不活性ガスを吹き付けるステップをさらに有することを特徴とする、請求項4または5に記載の基板の搬送方法。
JP2014167383A 2014-08-20 2014-08-20 ロードポートおよび基板の搬送方法 Active JP6376594B2 (ja)

Priority Applications (1)

Application Number Priority Date Filing Date Title
JP2014167383A JP6376594B2 (ja) 2014-08-20 2014-08-20 ロードポートおよび基板の搬送方法

Applications Claiming Priority (1)

Application Number Priority Date Filing Date Title
JP2014167383A JP6376594B2 (ja) 2014-08-20 2014-08-20 ロードポートおよび基板の搬送方法

Publications (2)

Publication Number Publication Date
JP2016046292A true JP2016046292A (ja) 2016-04-04
JP6376594B2 JP6376594B2 (ja) 2018-08-22

Family

ID=55636615

Family Applications (1)

Application Number Title Priority Date Filing Date
JP2014167383A Active JP6376594B2 (ja) 2014-08-20 2014-08-20 ロードポートおよび基板の搬送方法

Country Status (1)

Country Link
JP (1) JP6376594B2 (ja)

Cited By (2)

* Cited by examiner, † Cited by third party
Publication number Priority date Publication date Assignee Title
JP2020205297A (ja) * 2019-06-14 2020-12-24 信越半導体株式会社 搬送システム
JP7526110B2 (ja) 2021-01-22 2024-07-31 信越ポリマー株式会社 基板収納容器、ロードポート及び弁開閉治具

Citations (7)

* Cited by examiner, † Cited by third party
Publication number Priority date Publication date Assignee Title
JP2003045933A (ja) * 2001-08-01 2003-02-14 Semiconductor Leading Edge Technologies Inc ロードポート、基板処理装置および雰囲気置換方法
JP2006005193A (ja) * 2004-06-18 2006-01-05 Hirata Corp 容器内ガスパージシステム及びガスパージ方法
JP2009164369A (ja) * 2008-01-08 2009-07-23 Tdk Corp 被収容物搬送システム
WO2010007657A1 (ja) * 2008-07-14 2010-01-21 株式会社ライト製作所 パージ装置、ロードポート及びパージ方法
WO2010137556A1 (ja) * 2009-05-27 2010-12-02 ローツェ株式会社 雰囲気置換装置
JP2014107296A (ja) * 2012-11-22 2014-06-09 Tokyo Electron Ltd 基板処理装置、蓋開閉機構、遮蔽機構及び容器内パージ方法
JP2015090940A (ja) * 2013-11-07 2015-05-11 株式会社日立ハイテクノロジーズ ウェーハ搬送装置

Patent Citations (7)

* Cited by examiner, † Cited by third party
Publication number Priority date Publication date Assignee Title
JP2003045933A (ja) * 2001-08-01 2003-02-14 Semiconductor Leading Edge Technologies Inc ロードポート、基板処理装置および雰囲気置換方法
JP2006005193A (ja) * 2004-06-18 2006-01-05 Hirata Corp 容器内ガスパージシステム及びガスパージ方法
JP2009164369A (ja) * 2008-01-08 2009-07-23 Tdk Corp 被収容物搬送システム
WO2010007657A1 (ja) * 2008-07-14 2010-01-21 株式会社ライト製作所 パージ装置、ロードポート及びパージ方法
WO2010137556A1 (ja) * 2009-05-27 2010-12-02 ローツェ株式会社 雰囲気置換装置
JP2014107296A (ja) * 2012-11-22 2014-06-09 Tokyo Electron Ltd 基板処理装置、蓋開閉機構、遮蔽機構及び容器内パージ方法
JP2015090940A (ja) * 2013-11-07 2015-05-11 株式会社日立ハイテクノロジーズ ウェーハ搬送装置

Cited By (3)

* Cited by examiner, † Cited by third party
Publication number Priority date Publication date Assignee Title
JP2020205297A (ja) * 2019-06-14 2020-12-24 信越半導体株式会社 搬送システム
JP7200834B2 (ja) 2019-06-14 2023-01-10 信越半導体株式会社 搬送システム
JP7526110B2 (ja) 2021-01-22 2024-07-31 信越ポリマー株式会社 基板収納容器、ロードポート及び弁開閉治具

Also Published As

Publication number Publication date
JP6376594B2 (ja) 2018-08-22

Similar Documents

Publication Publication Date Title
KR102844991B1 (ko) 수직 배치 퍼니스 어셈블리
TWI780030B (zh) 形成用於一半導體基板並具有低溼度值的一乾淨的環境的方法及系統
JP4012190B2 (ja) 密閉容器の蓋開閉システム及び開閉方法
JP4251580B1 (ja) 被収容物搬送システム
US20190145641A1 (en) Method for manufacturing semiconductor
JP4763841B2 (ja) 基板処理装置および半導体装置の製造方法
JP7496493B2 (ja) 搬送ロボット、及びefem
CN109560021B (zh) 基板处理装置、基板处理方法以及计算机存储介质
JP2012204645A (ja) 蓋体開閉装置
KR20060135536A (ko) 제품 컨테이너용 퍼지 시스템 및 퍼지 시스템에 사용하기위한 테이블
WO2018207599A1 (ja) 薄板状基板保持フィンガ、及びこのフィンガを備える搬送ロボット
TW201307172A (zh) 保管裝置及保管方法
JP2012256645A (ja) 基板搬送容器の開閉装置、蓋体の開閉装置及び半導体製造装置
JP2013143558A5 (ja)
US20250109870A1 (en) Air curtain device and workpiece processing tool
JP2009290102A (ja) 基板処理装置
JP2016066689A (ja) 容器清掃装置及び容器清掃方法
JP6376594B2 (ja) ロードポートおよび基板の搬送方法
JPH06340304A (ja) 筐体の収納棚及び筐体の搬送方法並びに洗浄装置
JP2011159834A (ja) ガス置換装置を備えた基板搬送装置、基板搬送システム、置換方法
JP4790326B2 (ja) 処理システム及び処理方法
CN107689336B (zh) 盖体和使用了该盖体的基板处理装置
JP3856726B2 (ja) 半導体製造装置
JP2005347667A (ja) 半導体製造装置
JP2005277291A (ja) 半導体基板の搬送方法及び搬送装置

Legal Events

Date Code Title Description
A621 Written request for application examination

Free format text: JAPANESE INTERMEDIATE CODE: A621

Effective date: 20170809

A977 Report on retrieval

Free format text: JAPANESE INTERMEDIATE CODE: A971007

Effective date: 20180406

A131 Notification of reasons for refusal

Free format text: JAPANESE INTERMEDIATE CODE: A131

Effective date: 20180417

A131 Notification of reasons for refusal

Free format text: JAPANESE INTERMEDIATE CODE: A131

Effective date: 20180605

A521 Request for written amendment filed

Free format text: JAPANESE INTERMEDIATE CODE: A523

Effective date: 20180627

TRDD Decision of grant or rejection written
A01 Written decision to grant a patent or to grant a registration (utility model)

Free format text: JAPANESE INTERMEDIATE CODE: A01

Effective date: 20180717

A61 First payment of annual fees (during grant procedure)

Free format text: JAPANESE INTERMEDIATE CODE: A61

Effective date: 20180719

R150 Certificate of patent or registration of utility model

Ref document number: 6376594

Country of ref document: JP

Free format text: JAPANESE INTERMEDIATE CODE: R150

R250 Receipt of annual fees

Free format text: JAPANESE INTERMEDIATE CODE: R250

S531 Written request for registration of change of domicile

Free format text: JAPANESE INTERMEDIATE CODE: R313531

R350 Written notification of registration of transfer

Free format text: JAPANESE INTERMEDIATE CODE: R350

R250 Receipt of annual fees

Free format text: JAPANESE INTERMEDIATE CODE: R250