JP2015114407A - 電気光学装置、電気光学装置の製造方法、及び電子機器 - Google Patents

電気光学装置、電気光学装置の製造方法、及び電子機器 Download PDF

Info

Publication number
JP2015114407A
JP2015114407A JP2013254760A JP2013254760A JP2015114407A JP 2015114407 A JP2015114407 A JP 2015114407A JP 2013254760 A JP2013254760 A JP 2013254760A JP 2013254760 A JP2013254760 A JP 2013254760A JP 2015114407 A JP2015114407 A JP 2015114407A
Authority
JP
Japan
Prior art keywords
electro
mold
substrate
optical device
liquid crystal
Prior art date
Legal status (The legal status is an assumption and is not a legal conclusion. Google has not performed a legal analysis and makes no representation as to the accuracy of the status listed.)
Withdrawn
Application number
JP2013254760A
Other languages
English (en)
Inventor
宗英 西面
Munehide Nishiomote
宗英 西面
Current Assignee (The listed assignees may be inaccurate. Google has not performed a legal analysis and makes no representation or warranty as to the accuracy of the list.)
Seiko Epson Corp
Original Assignee
Seiko Epson Corp
Priority date (The priority date is an assumption and is not a legal conclusion. Google has not performed a legal analysis and makes no representation as to the accuracy of the date listed.)
Filing date
Publication date
Application filed by Seiko Epson Corp filed Critical Seiko Epson Corp
Priority to JP2013254760A priority Critical patent/JP2015114407A/ja
Priority to US14/559,124 priority patent/US9684197B2/en
Priority to CN201410725351.9A priority patent/CN104698692A/zh
Publication of JP2015114407A publication Critical patent/JP2015114407A/ja
Withdrawn legal-status Critical Current

Links

Images

Landscapes

  • Liquid Crystal (AREA)
  • Devices For Indicating Variable Information By Combining Individual Elements (AREA)

Abstract

【課題】表示品質の低下が抑えられた電気光学装置、電気光学装置の製造方法、及び電子機器を提供する。【解決手段】液晶パネル40の外周を覆いフレームとなるモールド60と、素子基板51とモールド60との間に配置され、表示領域に重なる開口穴を有する第1サポートシール41aと、対向基板52とモールド60との間に配置され、表示領域に重なる開口穴を有する第2サポートシール41bと、を含み、モールド60は、素子基板51の端及び対向基板52の端から、第1サポートシール41aの表面、及び第2サポートシール41bの表面において、少なくともシール材407の一部と平面視で重なる領域まで、覆われている。【選択図】図6

Description

本発明は、電気光学装置、電気光学装置の製造方法、及び電子機器に関する。
上記電気光学装置として、例えば、画素電極をスイッチング制御する素子としてトランジスターを画素ごとに備えたアクティブ駆動方式の液晶装置が知られている。液晶装置は、例えば、直視型ディスプレイやライトバルブなどにおいて用いられている。
液晶装置は、例えば、一対の基板間の周縁部にシール材が配設され、シール材で囲まれた中に液晶層が封止された液晶パネルを有する。更に、液晶パネルは、フレームの中に収納され、液晶パネルとフレームとの間の接着剤により固定されている。このような液晶装置は、シール材を介して液晶層の中に水分が侵入し、表示品質が低下したり、液晶層の寿命が低下したりする場合がある。
そこで、例えば、特許文献1に記載のように、シール材の外周側にモールド材を配置することにより、液晶層への水分の侵入を低減する方法が開示されている。
特開2007−65619号公報
しかしながら、液晶装置の高寿命化及び高精細化に伴い、更なる品質の向上が要求されており、上記特許文献1の方法では、防湿性が不十分であるという課題がある。
本発明の態様は、上記課題の少なくとも一部を解決するためになされたものであり、以下の形態又は適用例として実現することが可能である。
[適用例1]本適用例に係る電気光学装置は、第1基板と、前記第1基板とシール材を介して対向するように配置された第2基板と、前記シール材で囲まれた領域に封入された電気光学層と、を含む電気光学パネルと、前記電気光学パネルの外周を覆い、フレームとなるモールドと、前記第1基板と前記モールドとの間に配置され、表示領域に重なる開口を有する第1保護部材と、前記第2基板と前記モールドとの間に配置され、表示領域に重なる開口を有する第2保護部材と、を含み、前記モールドは、前記第1保護部材の表面、及び前記第2保護部材の表面において、前記第1基板の端及び前記第2基板の端から少なくとも前記シール材の一部と平面視で重なる領域まで、覆っていることを特徴とする。
本適用例によれば、一対の基板の端から、第1基板におけるシール材と反対側の第1保護部材の表面、及び、第2基板におけるシール材と反対側の第2保護部材の表面まで、モールドで覆われているので、基板とモールドとの界面の長さを長くすることができる。よって、界面及びシール材を介して電気光学層の中に水分が侵入することを抑えることができる。
[適用例2]上記適用例に係る電気光学装置において、前記第1保護部材は、第1サポートシールであり、前記第2保護部材は、第2サポートシールであることが好ましい。
本適用例によれば、モールドと接触する部分に、第1保護部材及び第2保護部材を配置するので、電気光学パネルに接触キズが発生することを防ぐことができる。
[適用例3]上記適用例に係る電気光学装置において、前記モールドの表面に撥液性を有するコーティング剤が配置されていることが好ましい。
本適用例によれば、モールドの表面にコーティング剤が配置されているので、モールドを透過して電気光学層に水分が侵入することを抑えることができる。
[適用例4]上記適用例に係る電気光学装置において、前記モールドの表面に接するように、前記モールドで囲まれた表示領域に重なる開口を有する遮光性のフックが配置されていることが好ましい。
本適用例によれば、表示領域を囲むように遮光性のフックが配置されているので、表示領域に入射する光の範囲を制限することができる。
[適用例5]上記適用例に係る電気光学装置において、前記第1基板と前記第1サポートシールとの間、及び前記第2基板と前記第2サポートシールとの間に、第3基板が配置されていることが好ましい。
本適用例によれば、電気光学パネルに第3基板(例えば、防塵ガラス)が配置されているので、塵等が第1基板の表面、及び第2基板の表面に付着することを防ぐことができる。このため、第3基板に塵が付着したとしても、塵は電気光学層から離間している。よって、電気光学装置を例えば、投射型表示装置に用いた場合、塵がデフォーカス状態にあり、投射された画像に塵が像として写し出されることを抑制することができる。
[適用例6]本適用例に係る電気光学装置の製造方法は、第1基板と、前記第1基板とシール材を介して対向するように配置された第2基板と、前記第1基板と前記第2基板との間に配置された電気光学層と、を有する電気光学パネルを備える電気光学装置の製造方法であって、前記第1基板における前記電気光学層と反対側の面に、表示領域に重なる開口を有する第1保護部材を配置する工程と、前記第2基板における前記電気光学層と反対側の面に、表示領域に重なる開口を有する第2保護部材を配置する工程と、前記電気光学パネルの周囲に、前記第1保護部材の一部と接するように下型を配置する工程と、前記電気光学パネルの上に、前記第2保護部材の一部と接するように上型を配置する工程と、前記下型に軟化した樹脂を供給して前記電気光学パネルの外周にモールドを形成する工程と、を含むことを特徴とする。
本適用例によれば、上型及び下型を用いて電気光学パネルの外周に第1保護部材及び第2保護部材を介してモールドを形成するので、一対の基板に挟持されたシール材から、シール材の反対側の第1保護部材の表面、及びシール材の反対側の第2保護部材の表面までの、基板とモールドとの界面の長さを長くすることができる。よって、界面及びシール材を介して電気光学層の中に水分が侵入することを抑えることができる。
また、モールドを形成する際、下型と接触する部分、及び上型と接触する部分に、第1保護部材及び第2保護部材を配置するので、金型と電気光学パネルとが直接接触することを防ぐことが可能となり、電気光学パネルに接触キズが発生することを防ぐことができる。
[適用例7]上記適用例に係る電気光学装置の製造方法において、前記第1保護部材は、第1サポートシールであり、前記第2保護部材は、第2サポートシールであることが好ましい。
本適用例によれば、モールドを形成する際、下型と接触する部分、及び上型と接触する部分に、第1サポートシール及び第2サポートシールを配置するので、金型と電気光学パネルとが直接接触することを防ぐことが可能となり、電気光学パネルに接触キズが発生することを防ぐことができる。
[適用例8]上記適用例に係る電気光学装置の製造方法において、前記第1保護部材を配置する工程は、前記第1保護部材で囲まれた開口の領域に第3保護部材を形成し、前記第2保護部材を配置する工程は、前記第2保護部材で囲まれた開口の領域に第4保護部材を形成することが好ましい。
本適用例によれば、モールドを形成する際に、基板の表示領域に塵が付着することを防ぐことができる。そして、モールドを形成した後に、第3保護部材及び第4保護部材を除去することにより、塵などの付着のない表示面を得ることができる。
[適用例9]上記適用例に係る電気光学装置の製造方法において、前記モールドを形成する工程の後、前記モールドの表面に撥液性を有するコーティング処理を施す工程を有することが好ましい。
本適用例によれば、モールドにコーティング処理を施すので、モールドを透過して電気光学層に水分が侵入することを抑えることができる。
[適用例10]上記適用例に係る電気光学装置の製造方法において、前記モールドを形成する工程の前に、前記上型及び前記下型の表面にテフロン(登録商標)を形成する工程を含むことが好ましい。
本適用例によれば、型にテフロンを形成するので、型と、型に供給されたモールドと、を分離させやすくすることができる。
[適用例11]上記適用例に係る電気光学装置の製造方法において、前記第1基板における前記電気光学層と反対側の面と前記第1保護部材との間、及び前記第2基板における前記電気光学層と反対側の面と前記第2保護部材との間に、第3基板を配置する工程を含むことが好ましい。
本適用例によれば、電気光学パネルに第3基板(例えば、防塵ガラス)を配置するので、塵等が第1基板の表面、及び第2基板の表面に付着することを防ぐことができる。このため、第3基板に塵が付着したとしても、塵は電気光学層から離間している。よって、電気光学装置を例えば、投射型表示装置に用いた場合、塵がデフォーカス状態にあり、投射された画像に塵が像として写し出されることを抑制することができる。
[適用例12]本適用例に係る電子機器は、上記の電気光学装置を備えることを特徴とする。
本適用例によれば、上記電気光学装置を備えているので、表示品質を向上させることができると共に、電気光学層が劣化することが抑えられる電子機器を供給することができる。
電子機器の一例である投射型表示装置の構成を示す模式図。 投射型表示装置に用いた光学ユニットの構成を示す模式図。 投射型表示装置に用いた光学ユニットの詳細構成を示す模式図。 電気光学モジュールに用いた液晶パネルの構成を示す模式図。 電気光学装置としての液晶装置の構成を模式的に示す斜視図。 図5に示す液晶装置のA−A’線に沿う模式断面図。 電気光学装置としての液晶装置の製造方法を示す模式断面図。 変形例の液晶装置の構成を示す模式断面図。 変形例の液晶装置の構成を示す模式断面図。
以下、本発明を具体化した実施形態について図面に従って説明する。なお、使用する図面は、説明する部分が認識可能な状態となるように、適宜拡大または縮小して表示している。
なお、以下の形態において、例えば「基板上に」と記載された場合、基板の上に接するように配置される場合、または基板の上に他の構成物を介して配置される場合、または基板の上に一部が接するように配置され、一部が他の構成物を介して配置される場合を表すものとする。
本実施形態では、電気光学装置の一例として薄膜トランジスター(TFT:Thin Film Transistor)を画素のスイッチング素子として備えたアクティブマトリックス型の液晶装置を例に挙げて説明する。この液晶装置は、例えば、電子機器の一例である投射型表示装置(液晶プロジェクター)の光変調手段(液晶ライトバルブ)として好適に用いることができるものである。
<電子機器の構成>
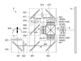
図1は、電子機器の一例である投射型表示装置の構成を示す模式図である。(a)は、投射型表示装置を上方から見た模式平面図である。(b)は、投射型表示装置を側方から見た模式側面図である。図2は、投射型表示装置に用いた光学ユニットの構成を示す模式図である。以下、投射型表示装置の構成を、図1及び図2を参照しながら説明する。
図1に示すように、投射型表示装置1は、外装ケース2の内部に、その後端側に電源ユニット7が配置され、電源ユニット7に装置前側で隣り合う位置に光源ランプユニット8(光源部)および光学ユニット9が配置されている。
また、外装ケース2の内部には、光学ユニット9の前側(光出射側)の中央に投射レンズユニット6の基端側が位置している。光学ユニット9の一方の側には、入出力インターフェイス回路が搭載されたインターフェイス基板11が装置前後方向に向けて配置され、インターフェイス基板11に平行に、ビデオ信号処理回路が搭載されたビデオ基板12が配置されている。
図1(b)に示すように、光源ランプユニット8および光学ユニット9の上側には装置駆動制御用の制御基板13が配置され、装置前端側の左右の角の各々にはスピーカー14R、14Lが配置されている。
光学ユニット9の上方および下方には装置内部冷却用の吸気ファン15A、15Bが配置されている。また、光源ランプユニット8の裏面側である装置側面には排気ファン16が配置されている。
さらに、インターフェイス基板11およびビデオ基板12の端に面する位置には、吸気ファン15Aからの冷却用空気流を電源ユニット7内に吸引するための補助冷却ファン17が配置されている。これらのファンのうち、吸気ファン15Bは、後述する電気光学パネルとしての液晶パネル40に対する冷却用ファンとして機能している。
図2において、光学ユニット9を構成する各光学素子は、色光合成手段を構成しているプリズムユニット20を含めて、マグネシウム(Mg)やアルミニウム(Al)等の金属からなる上ライトガイド21または下ライトガイド22により支持されている。上ライトガイド21および下ライトガイド22は、アッパーケース3およびロアーケース4(図1参照)に固定ねじにより固定されている。
<光学ユニットの詳細構成>
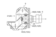
図3は、投射型表示装置に用いた光学ユニットの詳細構成を示す模式図である。以下、光学ユニットの構成を、図3を参照しながら説明する。
図3に示すように、光学ユニット9は、光源ランプ805と、均一照明光学素子であるインテグレーターレンズ921、922を有する照明光学系923と、この照明光学系923から出射される光束Wを、赤、緑、青の各光束R、G、Bに分離する色光分離光学系924とを有している。
また、光学ユニット9は、各色光束を変調する液晶パネル(ライトバルブ)としての3枚の透過型の液晶パネル40(R)、40(G)、40(B)と、変調された色光束を合成する色光合成光学系としてのプリズムユニット20と、合成された光束を投射面上に拡大投射する投射レンズユニット6とを有している。また、色光分離光学系924によって分離された各色光束のうち、青色光束Bに対応する液晶パネル40(B)に導くリレー光学系927を備えている。
照明光学系923は、さらに、反射ミラー931を備えており、光源ランプ805からの出射光の光軸1aを装置前方向に向けて直角に折り曲げるようにしている。この反射ミラー931を挟み、インテグレーターレンズ921、922が前後に直交する状態に配置されている。
色光分離光学系924は、青緑反射ダイクロイックミラー941と、緑反射ダイクロイックミラー942と、反射ミラー943とから構成される。
まず、青緑反射ダイクロイックミラー941において、照明光学系923を通った光束Wのうち、そこに含まれている青色光束Bおよび緑色光束Gが直角に反射されて、緑反射ダイクロイックミラー942の側に向かう。赤色光束Rは、この青緑反射ダイクロイックミラー941を通過して、後方の反射ミラー943で直角に反射されて、赤色光束の出射部944から色光合成光学系の側に出射される。
次に、緑反射ダイクロイックミラー942において、青緑反射ダイクロイックミラー941において反射された青色および緑色の光束B、Gのうち、緑色光束Gのみが直角に反射されて、緑色光束の出射部945から色光合成光学系の側に出射される。
緑反射ダイクロイックミラー942を通過した青色光束Bは、青色光束の出射部946からリレー光学系927の側に出射される。本形態では、照明光学系923の光束の出射部から色光分離光学系924における各色光束の出射部944、945、946までの距離が、全てほぼ等しくなるように設定されている。
色光分離光学系924の赤色光束および緑色光束の出射部944、945の出射側には、それぞれ集光レンズ951、952が配置されている。従って、各出射部から出射した赤色光束および緑色光束は、これらの集光レンズ951、952に入射して平行化される。
平行化された赤色および緑色の光束R、Gは、偏光板160(R)、160(G)によって偏光方向が揃えられた後、液晶パネル40(R)、40(G)に入射して変調され、各色光に対応した画像情報が付加される。すなわち、これらの液晶パネル40(R)、40(G)は、図示していない駆動手段によって画像情報に対応する画像信号によってスイッチング制御され、これにより、ここを通過する各色光の変調が行われる。このような駆動手段は、公知の手段をそのまま使用することができる。
一方、青色光束Bは、リレー光学系927を介し、さらに、偏光板160(B)によって偏光方向が揃えられた後、対応する液晶パネル40(B)に導かれて、ここにおいて、同様に画像情報に応じて変調が施される。リレー光学系927は、集光レンズ974と入射側反射ミラー971と、出射側反射ミラー972と、これらのミラー間に配置した中間レンズ973と、液晶パネル40(B)の手前側に配置した集光レンズ953から構成される。
各色光束の光路の長さ、すなわち、光源ランプ805から各液晶パネルまでの距離は、青色光束Bが最も長くなり、従って、この光束の光量損失が最も多くなる。しかし、リレー光学系927を介在させることにより、光量損失を抑制できる。
各液晶パネル40(R)、40(G)、40(B)を通って変調された各色光束は、偏光板161(R)、161(G)、161(B)に入射し、これを透過した光がプリズムユニット20(クロスダイクロイックプリズム)に入射して合成される。ここで合成されたカラー画像は、投射レンズ系を備えた投射レンズユニット6を介して、所定の位置にあるスクリーン等の被投射面1b上に拡大投射される。
<電気光学パネルの構成>
図4は、電気光学モジュールに用いた電気光学パネルとしての液晶パネルの構成を示す模式図である。(a)は、液晶パネルの構成を示す模式平面図である。(b)は、(a)に示す液晶パネルのH−H’線に沿う模式断面図である。以下、液晶パネルの構成を、図4を参照しながら説明する。
なお、図4および後述する図5において、光源光の進行方向については矢印L11で示し、液晶パネル40によって光源光を変調した後の表示光の進行方向については矢印L12で示し、図1に示す吸気ファン15B等によって液晶パネル40に供給される冷却空気(冷却気体)の流れについては図示を省略する。
また、以下の説明では、液晶パネル40および液晶装置10の面内方向で互いに交差する方向の一方をX軸方向とし、他方をY軸方向とし、X軸方向およびY軸方向に交差する方向をZ軸方向とする。
また、以下に参照する図面では、Y軸方向の一方側(フレキシブル配線基板90が配置されている側)をY1側とし、他方側をY2側とし、X軸方向の一方側をX1側とし、他方側をX2側とし、Z軸方向の一方側(光源光が入射する側)をZ1側とし、他方側(表示光が出射される側)をZ2側として表してある。
図1〜図3を参照して説明した投射型表示装置1において、光学ユニット9に液晶パネル40(R)、40(G)、40(B)を搭載するにあたっては、液晶パネル40(R)、40(G)、40(B)を各々、後述する液晶装置10(R)、10(G)、10(B)として搭載する。
液晶パネル40(R)、40(G)、40(B)は同一の構成を有しており、液晶パネル40(R)、40(G)、40(B)を備えた液晶装置10(R)、10(G)、10(B)も赤色用(R)、緑色用(G)、青色用(B)で同一の構成を有している。従って、以下の説明では、液晶パネル40(R)、40(G)、40(B)および液晶装置10(R)、10(G)、10(B)等については、対応する色を示す(R)(G)(B)を付さずに説明する。
図4に示すように、液晶パネル40では、透光性の素子基板51(第1基板)と透光性の対向基板52(第2基板)とが、所定の隙間を介してシール材407によって貼り合わされている。素子基板51および対向基板52は石英ガラスや耐熱ガラス等が用いられており、本実施形態において、素子基板51および対向基板52には石英ガラスが用いられている。
本実施形態において、液晶パネル40は、素子基板51と対向基板52との間においてシール材407によって囲まれた領域内に電気光学層としての液晶層450が保持されている。
シール材407は、対向基板52の外縁に沿うように枠状に配置されている。シール材407は、光硬化性を備えた接着剤、熱硬化性の接着剤、あるいは光硬化性および熱硬化性の双方を備えた接着剤であり、両基板間の距離を所定値とするためのグラスファイバー、あるいはガラスビーズ等のギャップ材が配合されている。
ここで、シール材407は一部が途切れており、かかる途切れ部分によって液晶注入口407aが形成されている。また、液晶注入口407aは液晶材料の注入後、封止材406によって封止されている。
本実施形態において、素子基板51は平面視で四角形であり、4つの辺からなる側面511、512、513、514を備えている。対向基板52も、素子基板51と同様、平面視で四角形であり、4つの辺からなる側面521、522、523、524を備えている。
液晶パネル40の略中央には、変調光を出射する画像表示領域40aが四角形の領域として配置されている。かかる形状に対応して、シール材407も略四角形に配置され、シール材407の内周縁と画像表示領域40aの外周縁との間には、四角枠状の周辺領域40cが配置されている。
本実施形態において、素子基板51は対向基板52よりサイズが大きく、素子基板51の4つの側面511、512、513、514は各々、対向基板52の側面521、522、523、524より外側に張り出している。このため、対向基板52の周りには、素子基板51と対向基板52の側面521、522、523、524とによって段部が形成され、かかる段部では、素子基板51が対向基板52から露出した状態にある。
素子基板51の第1面51a(一方面)および第2面51b(他方面)のうち、対向基板52と対向する第1面51aには、画像表示領域40aに、透光性の画素電極405aおよび画素電極405aに対応する画素トランジスター(スイッチング素子/図示せず)を備えた画素がマトリックス状に形成されており、かかる画素電極405aの上層側には配向膜416が形成されている。
また、素子基板51の第1面51aにおいて、周辺領域40cには、画素電極405aと同時形成されたダミー画素電極405bが形成されている。ダミー画素電極405bについては、ダミーの画素トランジスターと電気的に接続された構成、ダミーの画素トランジスターが配置されずに配線に直接、電気的に接続された構成、あるいは電位が印加されていないフロート状態にある構成が採用される。
素子基板51において、Y軸方向の一方側Y1に位置する側面514は、他の側面511、512、513より対向基板52の側面524から大きく突出しており、かかる突出部515の対向基板52側の面(第1面51a)の端部には、側面514に沿ってデータ線駆動回路401および複数の第1端子402が形成されている。また、素子基板51には、側面511、512に沿って走査線駆動回路404が形成されている。
また、素子基板51には、フレキシブル配線基板90が接続されている。フレキシブル配線基板90の第1面90aおよび第2面90bのうち、素子基板51と対向する第1面90aには、第1端子402に平面視で重なる位置に第2端子902が形成されており、第1端子402と第2端子902は電気的に接続されている。従って、素子基板51には、フレキシブル配線基板90を介して各種電位や各種信号が入力される。第1端子402と第2端子902との接続には各種の方法を採用することができるが、本実施形態では、異方性導電材によって第1端子402と第2端子902との接続が行われている。
対向基板52の第1面52aおよび第2面52bのうち、素子基板51と対向する第1面52aには透光性の共通電極421が形成されており、共通電極421の上層には配向膜426が形成されている。共通電極421は、対向基板52の略全面あるいは複数の帯状電極として複数の画素に跨って形成されており、本実施形態において、共通電極421は、対向基板52の略全面に形成されている。
また、対向基板52の第1面52aには、共通電極421の下層側に遮光層408が形成されている。本実施形態において、遮光層408は、画像表示領域40aの外周縁に沿って延在する額縁状に形成されており、かかる遮光層408の内縁によって画像表示領域40aが規定されている。なお、遮光層408は、対向基板52において、隣り合う画素電極405aにより挟まれた領域と重なる領域にブラックマトリックスあるいはブラックストライプとして形成されることもある。
素子基板51には、シール材407より外側において対向基板52の角部分と重なる領域に、素子基板51と対向基板52との間で電気的導通をとるための基板間導通用電極409が形成されている。基板間導通用電極409と対向基板52との間には、導電粒子を含んだ基板間導通材409aが配置されており、対向基板52の共通電極421は、基板間導通材409aおよび基板間導通用電極409を介して、素子基板51側に電気的に接続されている。このため、共通電極421は、素子基板51の側から共通電位が印加されている。シール材407は、略同一の幅寸法をもって対向基板52の外周縁に沿って配置されている。
かかる構成の液晶パネル40において、本実施形態では、画素電極405aおよび共通電極421がITO膜等の透光性導電膜により形成されているため、液晶パネル40は透過型の液晶パネルである。かかる透過型の液晶パネル40の場合、素子基板51および対向基板52のうち、一方側の基板から入射した光が他方側の基板を透過して出射される間に変調される。本実施形態では、対向基板52から入射した光(矢印L11で示す)が素子基板51を透過して変調光(矢印L12で示す)として出射される構成になっている。このため、対向基板52はZ軸方向の一方側Z1に配置され、素子基板51はZ軸方向の他方側Z2に配置されている。
なお、共通電極421を透光性導電膜により形成し、画素電極405aを反射性導電膜により形成すると、反射型の液晶パネルを構成することができる。反射型の液晶パネルの場合、対向基板52の側から入射した光が素子基板51の側で反射して出射される間に変調される。
本実施形態の液晶パネル40は、前記した投射型表示装置1(液晶プロジェクター)において、ライトバルブとして用いられるため、カラーフィルターは形成されない。但し、液晶パネル40を、モバイルコンピューター、携帯電話機等といった電子機器の直視型のカラー表示装置として用いる場合、対向基板52には、カラーフィルターが形成される。
<電気光学装置の構成>
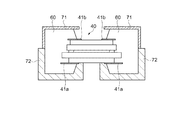
図5は、電気光学装置としての液晶装置の構成を模式的に示す斜視図である。図6は、図5に示す液晶装置のA−A’線に沿う模式断面図である。以下、液晶装置の構成を、図5及び図6を参照しながら説明する。なお、図6において、フレキシブル配線基板90の図示及び説明を省略する。
図4を参照して説明した液晶パネル40を、図1〜図3を参照して説明した投射型表示装置1および光学ユニット9に搭載するにあたっては、液晶パネル40にフレキシブル配線基板90を接続するとともに、図5および図6に示すように、防湿対策や補強等を目的に、液晶パネル40の外周を覆うようにモールド60が配置された液晶装置10とする。
具体的には、モールド60は、上記したように、中央に矩形の開口穴を備え外形がフレームとなる樹脂製部材であり、液晶パネル40を内側に収容している。モールド60は、例えば、シリコン系の樹脂で形成されている。
具体的には、図6に示すように、モールド60は、第3基板としての第1透光板56における液晶層450と反対側の表面から、第3基板としての第2透光板57における液晶層450と反対側の表面までを覆うように配置されている。具体的には、平面視でシール材407と重なる領域まで覆うように配置されている。開口穴は、少なくとも画像表示領域40aと重なる領域にモールド60が配置されないように開口している。
図4、図5、及び図6に示すように、本実施形態では、液晶パネル40を用いて液晶装置10を構成するにあたって、液晶パネル40では、素子基板51の第2面51b(外面/素子基板51の対向基板52と反対側の面)に第1透光板56が接着剤等により貼付され、対向基板52の第2面52b(外面/対向基板52の素子基板51と反対側の面)に第2透光板57が接着剤等により貼付されている。
第1透光板56および第2透光板57は各々、防塵ガラスとして構成されており、塵等が素子基板51の外面(第2面51b)および対向基板52の外面(第2面52b)に付着するのを防止する。このため、液晶パネル40に塵が付着したとしても、塵は液晶層450から離間している。従って、図1等を参照して説明した投射型表示装置1では、塵がデフォーカス状態にあるので、投射された画像に塵が像として写し出されることを抑制することができる。
第1透光板56および第2透光板57には石英ガラスや耐熱ガラス等が用いられており、本実施形態において、第1透光板56および第2透光板57には、素子基板51および対向基板52と同様、石英ガラスが用いられており、その厚さは1.1〜1.2mmである。
第1透光板56は、素子基板51の第2面51bの一部を露出させた状態で液晶パネル40の少なくとも画像表示領域40aに重なるように配置されている。より具体的には、第1透光板56は、平面視で素子基板51よりサイズが小さい四角形状であり、第1透光板56の周りでは、素子基板51の第2面51bが露出した状態にある。
第2透光板57は、対向基板52の第2面52bの一部を露出させた状態で液晶パネル40の少なくとも画像表示領域40aに重なるように配置されている。より具体的には、第2透光板57は、平面視において、第1透光板56とサイズが略同一の四角形であり、対向基板52よりはサイズが小さい。このため、第2透光板57の周りには、対向基板52の第2面52bが露出した状態にある。
また、図5に示すように、モールド60の四隅には、液晶装置10を上述した投射型表示装置1に配置するための開口穴60aが配置されている。なお、開口穴60aに限定されず、ネジ穴を形成するようにしてもよい。
また、モールド60の表面には、撥液性を有するコーティング処理が施されている。コーティング処理としては、例えば、フッ素コーティングである。
このように、第1透光板56における液晶層450と反対側の表面から、第2透光板57における液晶層450と反対側の表面までを覆うようにモールド60が配置されているので、モールド60と基板(素子基板51、対向基板52、第1透光板56、第2透光板57)との界面の長さを長くすることができる。よって、界面及びシール材407を介して液晶層450の中に水分が侵入することを抑えることができる。
また、モールド60の表面にフッ素コーティング処理が施されているので、モールド60を透過して液晶層450に水分が侵入することを抑えることができる。
また、第1透光板56の表面とモールド60との間には、画像表示領域40aと重なる領域に開口部を有する第1サポートシール41aが配置されている。一方、第2透光板57の表面とモールド60との間には、画像表示領域40aと重なる領域に開口部を有する第2サポートシール41bが配置されている。
第1サポートシール41a及び第2サポートシール41bは、フィルム状の柔軟性を有する材料が好ましく、例えば、塩化ビニルやポイミドフィルム、ポリエステル(PET)などで構成されている。なお、ゴムなどで構成されていてもよい。
第1サポートシール41a及び第2サポートシール41bは、液晶パネル40の外周にモールド60を形成する際、液晶パネル40の周囲に金型を配置したときに液晶パネル40に接触キズがつくことを防ぐために用いられる。
<電気光学装置の製造方法>
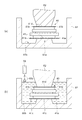
図7は、電気光学装置としての液晶装置の製造方法を示す模式断面図である。特には、液晶装置の中でフレームとなるモールドの製造方法を示す模式断面図である。以下、モールドの製造方法を、図7を参照しながら説明する。
図7(a)に示す工程では、金型に液晶パネル40を配置する。まず、凹状の下型61を配置する。下型61の底部には、液晶パネル40を配置するための凸部61aが配置されている。次に、液晶パネル40の素子基板51における液晶層450と反対側の表面に第1透光板56を配置する。また、対向基板52における液晶層450と反対側の表面に第2透光板57を配置する。次に、凸部61aの上に第1サポートシール41aを介して液晶パネル40を配置する。その後、液晶パネル40の上に、第2サポートシール41bを介して上型62を配置する。
第1サポートシール41a及び第2サポートシール41bは、液晶パネル40に貼り付けるタイプのものでもよいし、液晶パネル40に半導体製造技術を用いて形成するタイプのものでもよい。
これによれば、金型(上型62、下型61)の平坦度の精度が悪かった場合や、金型にバリなどが発生している場合でも、第1サポートシール41a及び第2サポートシール41bを介して金型と液晶パネル40とが接触しているので、液晶パネル40にキズがついたり、モールド樹脂60bが画像表示領域40aに流れ込んだりすることを防ぐことができる。
また、第1サポートシール41a及び第2サポートシール41bに浸透力のないものを用いることにより、液晶パネル40の中に水分が侵入することを抑えることができる。
なお、第1サポートシール41aで囲まれた開口部、つまり、液晶パネル40の画像表示領域40aに第3サポートシール41cを貼りつけておくことが望ましい。また、第2サポートシール41bで囲まれた開口部、つまり、液晶パネル40の画像表示領域40aに第4サポートシール41dを貼りつけておくことが望ましい。
これによれば、液晶パネル40の画像表示領域40aに塵などが付着することを防ぐことができる。言い換えれば、表示面を保護することができる。
また、上型62の表面及び下型61の表面にテフロンを形成しておくことが望ましい。具体的には、少なくとも上型62及び下型61における、上型62及び下型61とモールド樹脂60bとが接触する部分にテフロンを形成する。これにより、モールド60を形成した際、上型62及び下型61からモールド60を外しやすくすることができる。
図7(b)に示す工程では、下型61の側壁で囲まれた中に軟化したモールド樹脂60bを供給する。まず、モールド樹脂60bを供給するためのノズル63を、下型61の上方(上型62と下型61の側壁との間)に配置する。次に、ノズル63から下型61の中にモールド樹脂60bを供給する。
モールド樹脂60bは、例えば、上記したように、シリコン系の樹脂である。具体的には、石英との密着力があり、常温で硬化するものが好ましい。モールド樹脂60bの量としては、少なくとも、対向基板52上に配置された第2透光板57の上面が埋まる程度である。
このように、第2透光板57の上面が埋まる程度までモールド60を形成することにより、第2透光板57とモールド60との界面の長さを長くすることができる。言い換えれば、第2透光板57における大気に触れている部分からシール材407までの距離を長くすることが可能となり、シール材407を介して液晶層450の中に水分が侵入することを抑えることができる。
また、液晶パネル40の外周にモールド60を形成した後、モールド60の表面にフッ素コーティング処理を施すことが好ましい。これによれば、モールド60を透過して液晶層450に水分が侵入することを抑えることができる。
また、下型61と液晶パネル40との接触部分に第1サポートシール41aが配置され、上型62と液晶パネル40との接触部分に第2サポートシール41bが配置されているので、金型と液晶パネル40とが直接接触することを防ぐことが可能となり、液晶パネル40(第1透光板56、第2透光板57)に接触キズが発生することを防ぐことができる。
なお、第1サポートシール41a及び第2サポートシール41bは、モールド樹脂60bを充填する際に機能すればよく、モールド60を形成した後は、液晶パネル40に貼り付けたままにしておいてもいいし、剥がすようにしてもよい。また、第3サポートシール41c及び第4サポートシール41dは、製品として使用するまで貼ったままにすることにより、表示面を保護することができる。
以上詳述したように、本実施形態の液晶装置10、液晶装置10の製造方法、及び電子機器によれば、以下に示す効果が得られる。
(1)本実施形態の液晶装置10、及び液晶装置10の製造方法によれば、第1透光板56における液晶層450と反対側の表面から、第2透光板57における液晶層450と反対側の表面までを覆うようにモールド60を形成するので、モールド60と基板(素子基板51、対向基板52、第1透光板56、第2透光板57)との界面の長さを長くすることができる。よって、界面及びシール材407を介して液晶層450の中に水分が侵入することを抑えることができる。また、モールド60を厚く形成するので、耐湿性を向上させることができる。その結果、液晶層450が劣化することが抑えられると共に、液晶の制御性(応答性)が悪くなることによる表示品質の低下を抑えることができる。
(2)本実施形態の液晶装置10、及び液晶装置10の製造方法によれば、モールド60の表面にコーティング処理を施すので、モールド60を透過して液晶層450に水分が侵入することを抑えることができる。
(3)本実施形態の液晶装置10、及び液晶装置10の製造方法によれば、従来用いている金属製のフレームに代えて、フレームの機能を有するモールド60に変えるので、フレームレスにすることが可能となり、かかるコストを抑えることができる。また、モールド60にすることにより、重量を軽くすることができる。
(4)本実施形態の液晶装置10の製造方法によれば、モールド60を形成する際、下型61と接触する部分、及び上型62と接触する部分に、第1サポートシール41a及び第2サポートシール41bが配置されているので、金型と液晶パネル40とが直接接触することを防ぐことが可能となり、液晶パネル40(第1透光板56、第2透光板57)に接触キズが発生することを防ぐことができる。
(5)本実施形態の電子機器によれば、上記液晶装置10を備えているので、表示品質を向上させることができると共に、液晶層450が劣化することが抑えられる電子機器を供給することができる。
なお、本発明の態様は、上記した実施形態に限られるものではなく、請求の範囲及び明細書全体から読み取れる発明の要旨あるいは思想に反しない範囲で適宜変更可能であり、本発明の態様の技術範囲に含まれるものである。また、以下のような形態で実施することもできる。
(変形例1)
上記したように、液晶パネル40の外周にフレームとなるモールド60のみを形成することに限定されず、図8に示す構成にしてもよい。図8は、変形例の液晶装置の構成を示す模式断面図である。図8に示す液晶装置は、モールド60の上に、遮光性を有し見切りとなるフック71を配置している部分が、上記実施形態と異なっている。
フック71は、モールド60に対し光の入射側に配置されており、液晶パネル40に光が入射する範囲を制限する見切り部として用いられる。フック71は、例えば、金属板である。フック71には、モールド60の開口領域に重なる開口穴を備えている。フック71の開口穴は、モールド60の開口穴に比して小さい。
フック71は、第2透光板57や液晶パネル40(素子基板51および対向基板52)より熱伝導率が高い材料からなる。より具体的には、フック71は、アルミニウムや銅等の金属製である。従って、フック71は、液晶パネル40で発生した熱をモールド60を介して逃がす放熱部材としても機能する。また、フック71には、光の反射を抑えるために、表面に黒色化処理が施されている。
モールド60とフック71とは、例えば、接着剤で固定するようにしてもよいし、モールド60の凸部とフック71の凹部とを嵌合させて固定するようにしてもよい。
これによれば、画像表示領域40aを囲むように遮光性のフック71を配置するので、画像表示領域40aに入射する光の範囲を制限することができる。言い換えれば、不要な領域への光の入射を遮光することができる。
なお、対向基板52側にフック71を配置することに限定されず、素子基板51側にもフック71を配置するようにしてもよい。
(変形例2)
上記したように、液晶パネル40の外周にフレームとなるモールド60のみを形成したり、変形例1のようにフック71を配置させることに限定されず、図9に示す構成にしてもよい。図9は、変形例2の液晶装置の構成を示す模式断面図である。図9に示す液晶装置は、モールド60の上にフック71を配置し、モールド60の下に枠体としてのケース72を配置している部分が、上記実施形態及び変形例1と異なっている。
フック71は、例えば、変形例1の内容と同様である。ケース72は、例えば、アルミニウムやマグネシウムなどの金属材料であり、モールド60を囲うと共に、液晶パネル40と接して配置されている。
モールド60とフック71、モールド60とケース72とは、上記したように、接着剤で固定するようにしてもよいし、互いを嵌合させて固定するようにしてもよい。
これによれば、ケース72が液晶パネル40と接して配置されているので、液晶パネル40に蓄積された熱を効率よく放熱させることができる。また、液晶層450の熱を放熱させるので、液晶層450の寿命(液晶パネル40の寿命)が低下することを抑えることができる。
(変形例3)
上記したように、下型61にモールド樹脂60bを供給(滴下)することにより、液晶パネル40の外周にモールド60を形成することに限定されず、例えば、トランスファーモールド方式で形成するようにしてもよい。このとき、液晶パネル40に影響のない程度の温度でモールド60を形成することが可能なモールド樹脂60bであることが好ましい。
(変形例4)
上記したように、液晶装置10が搭載される電子機器としては、投射型表示装置1の他、EVF(Electrical View Finder)、モバイルミニプロジェクター、ヘッドアップディスプレイ、スマートフォン、携帯電話、モバイルコンピューター、デジタルカメラ、デジタルビデオカメラ、ディスプレイ、車載機器、オーディオ機器、露光装置や照明機器など各種電子機器に用いることができる。
(変形例5)
上記したように、電気光学装置として液晶装置10を適用することに限定されず、例えば、有機EL装置、プラズマディスプレイ、電子ペーパー(EPD)等に適用するようにしてもよい。例えば、液晶装置の場合であれば、電気光学材料は液晶である。電子ペーパーの場合であれば、電気光学材料は電気泳動材料である。
1…投射型表示装置、1a…光軸、1b…被投射面、2…外装ケース、3…アッパーケース、4…ロアーケース、6…投射レンズユニット、7…電源ユニット、8…光源ランプユニット、9…光学ユニット、10…液晶装置、11…インターフェイス基板、12…ビデオ基板、13…制御基板、14R,14L…スピーカー、15A,15B…吸気ファン、16…排気ファン、17…補助冷却ファン、20…プリズムユニット、21…上ライトガイド、22…下ライトガイド、40…電気光学パネルとしての液晶パネル、40a…画像表示領域、40c…周辺領域、41a…第1サポートシール、41b…第2サポートシール、41c…第3サポートシール、41d…第4サポートシール、51…第1基板としての素子基板、51a…第1面、51b…第2面、52…第2基板としての対向基板、52a…第1面、52b…第2面、56…第3基板としての第1透光板、57…第3基板としての第2透光板、60…モールド、60a…開口穴、60b…モールド樹脂、61…下型、61a…凸部、62…上型、63…ノズル、71…フック、72…枠体としてのケース、90…フレキシブル配線基板、90a…第1面、90b…第2面、160,161…偏光板、401…データ線駆動回路、402…第1端子、404…走査線駆動回路、405a…画素電極、405b…ダミー画素電極、406…封止材、407…シール材、407a…液晶注入口、408…遮光層、409…基板間導通用電極、409a…基板間導通材、416,426…配向膜、421…共通電極、450…電気光学層としての液晶層、511,512,513,514…側面、515…突出部、521,522,523,524…側面、805…光源ランプ、902…第2端子、921,922…インテグレーターレンズ、923…照明光学系、924…色光分離光学系、927…リレー光学系、931…反射ミラー、941…青緑反射ダイクロイックミラー、942…緑反射ダイクロイックミラー、943…反射ミラー、944,945,946…出射部、951,952,953…集光レンズ、971…入射側反射ミラー、972…出射側反射ミラー、973…中間レンズ、974…集光レンズ。

Claims (12)

  1. 第1基板と、
    前記第1基板とシール材を介して対向するように配置された第2基板と、
    前記シール材で囲まれた領域に封入された電気光学層と、
    を含む電気光学パネルと、
    前記電気光学パネルの外周を覆い、フレームとなるモールドと、
    前記第1基板と前記モールドとの間に配置され、表示領域に重なる開口を有する第1保護部材と、
    前記第2基板と前記モールドとの間に配置され、表示領域に重なる開口を有する第2保護部材と、
    を含み、
    前記モールドは、前記第1保護部材の表面、及び前記第2保護部材の表面において、前記第1基板の端及び前記第2基板の端から少なくとも前記シール材の一部と平面視で重なる領域まで、覆っていることを特徴とする電気光学装置。
  2. 請求項1に記載の電気光学装置であって、
    前記第1保護部材は、第1サポートシールであり、
    前記第2保護部材は、第2サポートシールであることを特徴とする電気光学装置。
  3. 請求項1又は請求項2に記載の電気光学装置であって、
    前記モールドの表面に撥液性を有するコーティング剤が配置されていることを特徴とする電気光学装置。
  4. 請求項1乃至請求項3のいずれか一項に記載の電気光学装置であって、
    前記モールドの表面に接するように、前記モールドで囲まれた表示領域に重なる開口を有する遮光性のフックが配置されていることを特徴とする電気光学装置。
  5. 請求項2に記載の電気光学装置であって、
    前記第1基板と前記第1サポートシールとの間、及び前記第2基板と前記第2サポートシールとの間に、第3基板が配置されていることを特徴とする電気光学装置。
  6. 第1基板と、前記第1基板とシール材を介して対向するように配置された第2基板と、前記第1基板と前記第2基板との間に配置された電気光学層と、を有する電気光学パネルを備える電気光学装置の製造方法であって、
    前記第1基板における前記電気光学層と反対側の面に、表示領域に重なる開口を有する第1保護部材を配置する工程と、
    前記第2基板における前記電気光学層と反対側の面に、表示領域に重なる開口を有する第2保護部材を配置する工程と、
    前記電気光学パネルの周囲に、前記第1保護部材の一部と接するように下型を配置する工程と、
    前記電気光学パネルの上に、前記第2保護部材の一部と接するように上型を配置する工程と、
    前記下型に軟化した樹脂を供給して前記電気光学パネルの外周にモールドを形成する工程と、
    を含むことを特徴とする電気光学装置の製造方法。
  7. 請求項6に記載の電気光学装置であって、
    前記第1保護部材は、第1サポートシールであり、
    前記第2保護部材は、第2サポートシールであることを特徴とする電気光学装置の製造方法。
  8. 請求項6又は請求項7に記載の電気光学装置の製造方法であって、
    前記第1サポートシールを配置する工程の後に、前記第1サポートシールで囲まれた開口の領域に第3サポートシールを形成する工程と、
    前記第2サポートシールを配置する工程の後に、前記第2サポートシールで囲まれた開口の領域に第4サポートシールを形成することを特徴とする電気光学装置の製造方法。
  9. 請求項6乃至請求項8のいずれか一項に記載の電気光学装置の製造方法であって、
    前記モールドを形成する工程の後、前記モールドの表面に撥液性を有するコーティング処理を施す工程を有することを特徴とする電気光学装置の製造方法。
  10. 請求項6乃至請求項9のいずれか一項に記載の電気光学装置の製造方法であって、
    前記モールドを形成する工程の前に、前記上型及び前記下型の表面にテフロン(登録商標)を形成する工程を含むことを特徴とする電気光学装置の製造方法。
  11. 請求項7乃至請求項10のいずれか一項に記載の電気光学装置の製造方法であって、
    前記第1基板における前記電気光学層と反対側の面と前記第1サポートシールとの間、及び前記第2基板における前記電気光学層と反対側の面と前記第2サポートシールとの間に、第3基板を配置する工程を含むことを特徴とする電気光学装置の製造方法。
  12. 請求項1乃至請求項5のいずれか一項に記載の電気光学装置を備えることを特徴とする電子機器。
JP2013254760A 2013-12-10 2013-12-10 電気光学装置、電気光学装置の製造方法、及び電子機器 Withdrawn JP2015114407A (ja)

Priority Applications (3)

Application Number Priority Date Filing Date Title
JP2013254760A JP2015114407A (ja) 2013-12-10 2013-12-10 電気光学装置、電気光学装置の製造方法、及び電子機器
US14/559,124 US9684197B2 (en) 2013-12-10 2014-12-03 Electro-optic device and electronic apparatus
CN201410725351.9A CN104698692A (zh) 2013-12-10 2014-12-03 电光装置以及电子设备

Applications Claiming Priority (1)

Application Number Priority Date Filing Date Title
JP2013254760A JP2015114407A (ja) 2013-12-10 2013-12-10 電気光学装置、電気光学装置の製造方法、及び電子機器

Publications (1)

Publication Number Publication Date
JP2015114407A true JP2015114407A (ja) 2015-06-22

Family

ID=53528273

Family Applications (1)

Application Number Title Priority Date Filing Date
JP2013254760A Withdrawn JP2015114407A (ja) 2013-12-10 2013-12-10 電気光学装置、電気光学装置の製造方法、及び電子機器

Country Status (1)

Country Link
JP (1) JP2015114407A (ja)

Cited By (2)

* Cited by examiner, † Cited by third party
Publication number Priority date Publication date Assignee Title
CN108010436A (zh) * 2016-10-28 2018-05-08 三星显示有限公司 显示装置
JP2022552922A (ja) * 2019-08-30 2022-12-21 京東方科技集團股▲ふん▼有限公司 紋様画像取得装置、表示装置及びコリメート部材

Citations (13)

* Cited by examiner, † Cited by third party
Publication number Priority date Publication date Assignee Title
JPS5033780B1 (ja) * 1970-07-04 1975-11-04
JPH05165012A (ja) * 1991-12-17 1993-06-29 Sony Corp 液晶表示装置
JP2000029005A (ja) * 1998-07-14 2000-01-28 Japan Aviation Electronics Ind Ltd 密封型液晶表示装置
JP2001305658A (ja) * 2000-04-19 2001-11-02 Seiko Epson Corp 光変調装置の取付構造、光変調装置の取付方法、およびプロジェクタ
JP2003330002A (ja) * 2002-05-10 2003-11-19 Seiko Epson Corp 実装ケース入り電気光学装置及び投射型表示装置
JP2004198934A (ja) * 2002-12-20 2004-07-15 Seiko Epson Corp 実装ケース入り電気光学装置及び投射型表示装置並びに実装ケース及びその製造方法
JP2007065619A (ja) * 2005-08-05 2007-03-15 Seiko Epson Corp 液晶装置、電気光学装置、プロジェクタ、及びマイクロデバイス
JP2008209561A (ja) * 2007-02-26 2008-09-11 Seiko Epson Corp 液晶装置
JP2009103911A (ja) * 2007-10-23 2009-05-14 Citizen Holdings Co Ltd 表示パネルの製造方法
JP2009103901A (ja) * 2007-10-23 2009-05-14 Citizen Holdings Co Ltd 表示パネルの製造方法
JP2009204958A (ja) * 2008-02-28 2009-09-10 Seiko Epson Corp 電気光学装置及びその製造方法、並びに電子機器
US20100097554A1 (en) * 2008-10-17 2010-04-22 Hitachi Displays, Ltd. Liquid crystal display panel and manufacturing method thereof
JP2012203202A (ja) * 2011-03-25 2012-10-22 Seiko Epson Corp 電気光学装置及び電子機器

Patent Citations (14)

* Cited by examiner, † Cited by third party
Publication number Priority date Publication date Assignee Title
JPS5033780B1 (ja) * 1970-07-04 1975-11-04
JPH05165012A (ja) * 1991-12-17 1993-06-29 Sony Corp 液晶表示装置
JP2000029005A (ja) * 1998-07-14 2000-01-28 Japan Aviation Electronics Ind Ltd 密封型液晶表示装置
JP2001305658A (ja) * 2000-04-19 2001-11-02 Seiko Epson Corp 光変調装置の取付構造、光変調装置の取付方法、およびプロジェクタ
JP2003330002A (ja) * 2002-05-10 2003-11-19 Seiko Epson Corp 実装ケース入り電気光学装置及び投射型表示装置
JP2004198934A (ja) * 2002-12-20 2004-07-15 Seiko Epson Corp 実装ケース入り電気光学装置及び投射型表示装置並びに実装ケース及びその製造方法
JP2007065619A (ja) * 2005-08-05 2007-03-15 Seiko Epson Corp 液晶装置、電気光学装置、プロジェクタ、及びマイクロデバイス
JP2008209561A (ja) * 2007-02-26 2008-09-11 Seiko Epson Corp 液晶装置
JP2009103911A (ja) * 2007-10-23 2009-05-14 Citizen Holdings Co Ltd 表示パネルの製造方法
JP2009103901A (ja) * 2007-10-23 2009-05-14 Citizen Holdings Co Ltd 表示パネルの製造方法
JP2009204958A (ja) * 2008-02-28 2009-09-10 Seiko Epson Corp 電気光学装置及びその製造方法、並びに電子機器
US20100097554A1 (en) * 2008-10-17 2010-04-22 Hitachi Displays, Ltd. Liquid crystal display panel and manufacturing method thereof
JP2010097031A (ja) * 2008-10-17 2010-04-30 Hitachi Displays Ltd 液晶表示パネル及びその製造方法
JP2012203202A (ja) * 2011-03-25 2012-10-22 Seiko Epson Corp 電気光学装置及び電子機器

Cited By (6)

* Cited by examiner, † Cited by third party
Publication number Priority date Publication date Assignee Title
CN108010436A (zh) * 2016-10-28 2018-05-08 三星显示有限公司 显示装置
CN108010436B (zh) * 2016-10-28 2021-12-14 三星显示有限公司 显示装置
JP2022552922A (ja) * 2019-08-30 2022-12-21 京東方科技集團股▲ふん▼有限公司 紋様画像取得装置、表示装置及びコリメート部材
JP7425002B2 (ja) 2019-08-30 2024-01-30 京東方科技集團股▲ふん▼有限公司 紋様画像取得装置、表示装置及びコリメート部材
US12105306B2 (en) 2019-08-30 2024-10-01 Boe Technology Group Co., Ltd. Texture image acquiring device, display device, and collimator
US12517287B2 (en) 2019-08-30 2026-01-06 Boe Technology Group Co., Ltd. Texture image acquiring device, display device, and collimator

Similar Documents

Publication Publication Date Title
US9039193B2 (en) Electro-optic module and electronic apparatus
JP5887802B2 (ja) 電気光学モジュールおよび電子機器
US10054807B2 (en) Electro-optical module and projection-type display apparatus
US9459484B2 (en) Electro-optical module with heat dissipation member and frame for heat release and projection-type display apparatus
CN103105682B (zh) 电光模块以及电子设备
US9684197B2 (en) Electro-optic device and electronic apparatus
JP2015114407A (ja) 電気光学装置、電気光学装置の製造方法、及び電子機器
JP2013073185A (ja) 電気光学モジュールおよび電子機器
JP2014010377A (ja) 電気光学モジュール、電気光学モジュールの製造方法、および電子機器
JP6311297B2 (ja) 電気光学装置、電気光学装置の製造方法、及び電子機器
JP6314461B2 (ja) 電気光学装置、電気光学装置の製造方法、及び電子機器
JP2015114411A (ja) 電気光学装置、電気光学装置の製造方法、及び電子機器
JP2015114410A (ja) 電気光学装置、電気光学装置の製造方法、及び電子機器
JP2014006478A (ja) 電気光学モジュールおよび電子機器
JP2015114408A (ja) 電気光学装置、電気光学装置の製造方法、及び電子機器
JP2010256667A (ja) 電気光学装置及び電子機器
JP2013242458A (ja) 電気光学モジュール、投射型表示装置、および電気光学モジュールの製造方法
JP2013073186A (ja) 電気光学モジュールおよび電子機器
US9807357B2 (en) Electro-optic module and electronic apparatus
JP6269749B2 (ja) 電気光学装置及び電子機器
JP5994907B2 (ja) 電気光学装置及び電子機器
JP5834402B2 (ja) 電気光学装置及び電子機器
JP2015094797A (ja) 電気光学装置、投射型表示装置および電気光学装置の製造方法
JP2010256663A (ja) 電気光学装置及び電子機器
JP2015200723A (ja) 電気光学装置、及び電子機器

Legal Events

Date Code Title Description
RD04 Notification of resignation of power of attorney

Free format text: JAPANESE INTERMEDIATE CODE: A7424

Effective date: 20160617

RD03 Notification of appointment of power of attorney

Free format text: JAPANESE INTERMEDIATE CODE: A7423

Effective date: 20160624

A621 Written request for application examination

Free format text: JAPANESE INTERMEDIATE CODE: A621

Effective date: 20161115

A977 Report on retrieval

Free format text: JAPANESE INTERMEDIATE CODE: A971007

Effective date: 20170922

A131 Notification of reasons for refusal

Free format text: JAPANESE INTERMEDIATE CODE: A131

Effective date: 20171003

A761 Written withdrawal of application

Free format text: JAPANESE INTERMEDIATE CODE: A761

Effective date: 20171101