JP2014167478A - 可搬型の放射線画像検出装置 - Google Patents
可搬型の放射線画像検出装置 Download PDFInfo
- Publication number
- JP2014167478A JP2014167478A JP2014081428A JP2014081428A JP2014167478A JP 2014167478 A JP2014167478 A JP 2014167478A JP 2014081428 A JP2014081428 A JP 2014081428A JP 2014081428 A JP2014081428 A JP 2014081428A JP 2014167478 A JP2014167478 A JP 2014167478A
- Authority
- JP
- Japan
- Prior art keywords
- connector
- terminal
- socket
- terminals
- signal
- Prior art date
- Legal status (The legal status is an assumption and is not a legal conclusion. Google has not performed a legal analysis and makes no representation as to the accuracy of the status listed.)
- Pending
Links
Images
Landscapes
- Measurement Of Radiation (AREA)
- Radiography Using Non-Light Waves (AREA)
- Apparatus For Radiation Diagnosis (AREA)
Abstract
【課題】可搬型の放射線画像検出装置の使用状況に適応したケーブルの引き回しを可能とする。
【解決手段】電子カセッテ21のソケット34に差し込まれるコネクタ35には、複合ケーブル26が接続されている。複合ケーブル26は電力供給機能および信号通信機能を有し、ソケット34とコネクタ35の着脱方向と直交する方向に引き出されている。ソケット34およびコネクタ35の各端子39、40の同じ機能を担う二組の端子(信号送信用のT端子、信号受信用のR端子、電源供給用のP端子)は、端子配列の中心のグランド用のG端子に関して対称配置されている。複合ケーブル26の引き出し方向を適切な方向に変えるため、コネクタ35を180°反転させたうえでソケット34に付け替えても、付け替え前と変わりなく電子カセッテ21を動作させることができる。
【選択図】図5
【解決手段】電子カセッテ21のソケット34に差し込まれるコネクタ35には、複合ケーブル26が接続されている。複合ケーブル26は電力供給機能および信号通信機能を有し、ソケット34とコネクタ35の着脱方向と直交する方向に引き出されている。ソケット34およびコネクタ35の各端子39、40の同じ機能を担う二組の端子(信号送信用のT端子、信号受信用のR端子、電源供給用のP端子)は、端子配列の中心のグランド用のG端子に関して対称配置されている。複合ケーブル26の引き出し方向を適切な方向に変えるため、コネクタ35を180°反転させたうえでソケット34に付け替えても、付け替え前と変わりなく電子カセッテ21を動作させることができる。
【選択図】図5
Description
本発明は、放射線を受けて放射線画像を検出する可搬型の放射線画像検出装置に関する。
放射線撮影システム、例えばX線撮影システムは、X線を発生するX線発生装置と、X線を受けてX線画像を撮影するX線撮影装置とからなる。X線発生装置は、X線を被検体に向けて照射するX線源、X線源の駆動を制御する線源制御装置、およびX線の照射開始指示を入力するための照射スイッチを有している。X線撮影装置は、被検体を透過したX線を受けてX線画像を検出するX線画像検出装置、およびX線画像検出装置の駆動を制御する撮影制御装置を有している。
最近、X線フイルムやイメージングプレート(IP)に代わり、フラットパネルディテクタ(FPD;flat panel detector)を検出器として用いたX線画像検出装置が普及している。FPDには、X線の入射量に応じた信号電荷を蓄積する画素がマトリックス状に配列されている。FPDは、画素毎に信号電荷を蓄積し、蓄積した信号電荷を信号処理回路で電圧信号に変換することで、被検体の画像情報を表すX線画像を検出し、これをデジタルな画像データとして出力する。
FPDを直方体形状の筐体に内蔵した可搬型のX線画像検出装置(以下、電子カセッテという)も実用化されている。電子カセッテは、フイルムカセッテやIPカセッテ用の既存の撮影台や専用の撮影台に取り付けて使用される他、据え置き型では撮影困難な部位を撮影するためにベッド上に置いたり被検体自身に持たせたりして使用される。また、自宅療養中の高齢者や、事故、災害等による急病人を撮影するため、撮影台の設備がない病院外に持ち出して使用されることもある。
電子カセッテには、撮影制御装置との間で信号の遣り取りをしたり電源を受給したりするケーブルが接続される。電子カセッテにバッテリを内蔵して駆動電力を賄い、撮影制御装置との間の信号の遣り取りを無線通信により行うタイプもあるが、こうしたタイプでもバッテリが使えない事態を想定してケーブル接続の構成が標準装備されている。
上述のように電子カセッテはレイアウトが固定された撮影台にセットされて使用されるだけでなく様々な使い方がされる。このため、電子カセッテにケーブルを接続して使用する場合、ケーブルの引き回し方によっては、ケーブルが屈曲してケーブルに負荷が掛かったり撮影姿勢を維持するのに邪魔になったりすることがある。この問題を解決するため、特許文献1では、角形コネクタとケーブルの付け根部分に、ケーブルを角形コネクタに対して旋回させる回転構造を設けている。
特許文献1の発明によれば、コネクタからのケーブルの引き出し方向を自由に変えることができるため、ケーブルに負荷が掛からない適切なケーブルの引き回しが可能となる。しかしながら、回転構造を設けている分部品コストが嵩む。また、コネクタの大型化は避けられない。コネクタが大型化すると、電子カセッテにコネクタを差し込んだときに大きく出っ張って撮影台にセットする際や撮影の際等に障害物となり兼ねない。さらに、コネクタの差し込み向きが一方向に決まっているため、差し込みの際に常に向きを意識しなければならない。
本発明は上述の問題点に鑑みてなされたものであり、その目的は、比較的安価且つ簡便な構成で、可搬型の放射線画像検出装置の使用状況に適応したケーブルの引き回しを可能とすることにある。
上記目的を達成するために、本発明の可搬型の放射線画像検出装置は、放射線源から照射された放射線を受けて信号電荷を蓄積する複数の画素を有する放射線画像検出器と、前記放射線画像検出器を収容する筐体と、前記筐体に設けられた角形のソケットと、前記ソケットに差し込まれる角形のコネクタと、前記コネクタから引き出されて外部制御装置に接続され、電力供給機能および信号通信機能を有する複合ケーブルとを備え、180°反転した二通りの差し込み向きで前記コネクタを前記ソケットに機械的、電気的に差し込み可能としたことを特徴とする。
前記複合ケーブルは、前記ソケットと前記コネクタの着脱方向と直交する方向に引き出されている。また、前記複合ケーブルは、前記コネクタの端子が設けられた位置と直交する位置から引き出されている。あるいは、前記コネクタの端子が設けられた位置と対向する位置から引き出されている。
前記ソケットおよび前記コネクタに配列された電力供給機能および信号通信機能を担う複数の端子の同じ機能を担う二組の端子が、端子配列の中心に関して対称な位置に配置されている。
前記ソケットへの前記コネクタの接続および差し込み向きを検知する接続兼差し込み向き検知部と、前記ソケットおよび前記コネクタに配列された電力供給機能および信号通信機能を担う複数の端子の機能を180°反転させる端子機能反転部とを備えていてもよい。
前記接続兼差し込み向き検知部は、前記ソケットまたは前記コネクタのうちの一方の二端子間に電圧を印加する電圧源と、180°反転した二通りの差し込み向きで前記コネクタを前記ソケットに差し込んだときに、電圧が印加された二端子と接続する他方の二端子間に接続されたダイオードまたは抵抗と、前記ソケットに前記コネクタを差し込んだときに二端子間に流れる電流を測定する電流計とからなる。
前記端子機能反転部は、機能を180°反転させる内部配線と端子を繋ぐたすき掛け配線と、内部配線と端子をそのままの並びで接続するかたすき掛け配線で接続するかを、前記接続兼差し込み向き検知部の検知結果に応じて切り替える切替スイッチとからなる。
前記接続兼差し込み向き検知部および前記端子機能反転部は、前記筐体、または外部制御装置に内蔵されている。
前記ソケットに配列された信号通信機能を担う端子は信号送信用、受信用で極性の異なる計四端子が設けられている。この場合、受信信号の正誤を判定する機能を備え、正しく受信できていないと判定した場合は受信信号および送信信号の極性を反転することが好ましい。あるいは、送信信号の電圧を実測する機能を備え、送信信号の電圧の理論値と実測値が異なる場合、送信用の端子を受信用、受信用の端子を送信用に切り替えてもよい。
前記ソケットおよび前記コネクタは二本のグランド端子、または電力供給機能および信号通信機能を兼ねる端子を有する。
前記ソケットは前記筐体の中心から片側に寄せて配置されている。
各部に電力を供給するバッテリと、外部制御装置と無線にて信号通信を行う無線通信部とを備えることが好ましい。
本発明によれば、180°反転した二通りの差し込み向きでコネクタをソケットに機械的、電気的に差し込み可能としたので、比較的安価且つ簡便な構成で、可搬型の放射線画像検出装置の使用状況に適応したケーブルの引き回しが可能となる。
[第一実施形態]
図1において、X線撮影システム10は、X線発生装置11と、X線撮影装置12とからなる。X線発生装置11は、X線源13と、X線源13の駆動を制御する線源制御装置14と、照射スイッチ15とで構成される。X線源13は、X線を放射するX線管13aと、X線管13aが放射するX線の照射野を限定する照射野限定器(コリメータ)13bとを有する。
図1において、X線撮影システム10は、X線発生装置11と、X線撮影装置12とからなる。X線発生装置11は、X線源13と、X線源13の駆動を制御する線源制御装置14と、照射スイッチ15とで構成される。X線源13は、X線を放射するX線管13aと、X線管13aが放射するX線の照射野を限定する照射野限定器(コリメータ)13bとを有する。
X線管13aは、熱電子を放出するフィラメントからなる陰極と、陰極から放出された熱電子が衝突してX線を放射する陽極(ターゲット)とからなる。ターゲットは円板形状をしており、回転により円周軌道上で焦点が移動して、熱電子が衝突する焦点の発熱が分散する回転陽極である。照射野限定器13bは、X線を遮蔽する複数枚の鉛板を井桁状に配置し、X線を透過させる照射開口が中央に形成されたものであり、鉛板の位置を移動することで照射開口の大きさを変化させて、照射野を限定する。
線源制御装置14は、X線源13に対して高電圧を供給する高電圧発生器と、X線源13が照射するX線のエネルギースペクトルを決める管電圧、単位時間当たりの照射量を決める管電流、およびX線の照射時間を制御する制御部とからなる。高電圧発生器は、トランスによって入力電圧を昇圧して高圧の管電圧を発生し、高電圧ケーブル16を通じてX線源13に駆動電力を供給する。本例のX線発生装置11は、X線撮影装置12との通信機能を持たないものであり、管電圧、管電流、照射時間といった撮影条件は、線源制御装置14の操作パネルを通じて放射線技師により手動で設定される。
照射スイッチ15は、放射線技師によって操作され、線源制御装置14に信号ケーブル17で接続されている。照射スイッチ15は二段階押しのスイッチであり、一段階押しでX線源13のウォームアップを開始させるためのウォームアップ開始信号を発生し、二段階押しでX線源13に照射を開始させるための照射開始信号を発生する。これらの信号は信号ケーブル17を通じて線源制御装置14に入力される。
線源制御装置14は、照射スイッチ15からの制御信号に基づいて、X線源13の動作を制御する。ウォームアップ開始信号を受けた場合、線源制御装置14は、ヒータを作動させてフィラメントの予熱を行わせる他、ターゲットの回転を開始させて目標の回転速度に到達させる。ウォームアップに必要な時間は、約200msec〜1500msec程度である。放射線技師は、照射スイッチ15の一段階押しでウォームアップの開始指示を入力した後、ウォームアップに必要な間をおいて二段階押しして照射開始指示を入力する。
照射開始信号を受けた場合、線源制御装置14は、X線源13への電力供給を開始するとともに、タイマを作動させてX線の照射時間の計測を開始する。そして、撮影条件で設定された照射時間が経過すると、X線の照射を停止させる。X線の照射時間は、撮影条件に応じて変化するが、静止画撮影の場合には、X線の最大照射時間が約500msec〜約2s程度の範囲に定められている場合が多く、照射時間はこの最大照射時間を上限として設定される。
X線撮影装置12は、電子カセッテ21、撮影台22、撮影制御装置23、およびコンソール24から構成される。電子カセッテ21は、照射検出センサ25と、FPD54(図3および図4参照)と、FPD54を収容する可搬型の筐体29(図3参照)とからなり、X線源13から照射されて被検体Hを透過したX線を受けてX線画像を出力する。電子カセッテ21は、略矩形状で偏平な形状を有し、平面サイズはフイルムカセッテやIPカセッテと略同様の大きさである。
照射検出センサ25は、FPD54の撮像領域56(図4参照)の近傍に配置される。照射検出センサ25は、X線の照射を受けてX線の入射量に応じた照射検出信号を出力する。照射検出信号は、複合ケーブル26または無線で撮影制御装置23に入力される。撮影制御装置23は、照射検出信号の信号レベルを監視して、X線源13によるX線の照射が開始されたことを検出する。
図2にも示すように、撮影台22は、電子カセッテ21が着脱自在に取り付け可能なホルダ27を有し、X線が入射する入射面をX線源13と対向する姿勢で電子カセッテ21を保持する。電子カセッテ21は、筐体29のサイズがフイルムカセッテやIPカセッテと略同様の大きさであるため、フイルムカセッテやIPカセッテ用の既存の撮影台にも取り付け可能である。なお、撮影台22として、被検体Hを立位姿勢で撮影する立位撮影台を例示しているが、被検体Hを臥位姿勢で撮影する臥位撮影台でもよい。また、専用の撮影台にセットするのではなく、電子カセッテ21を被検体Hが仰臥するベッド上に置いたり被検体自身に持たせたりして使用してもよい(図7参照)。
図3および図4において、電子カセッテ21にはバッテリ31、およびアンテナ32が内蔵されており、撮影制御装置23との無線通信が可能である。バッテリ31は、電子カセッテ21の各部を動作させるための電力を供給する。バッテリ31は、薄型の電子カセッテ21内に収まるよう比較的小型のものが使用される。バッテリ31は、電子カセッテ21の一側面に設けられた蓋33を開けて外部に取り出すことができ、電子カセッテ21から外部に取り出して充電することが可能である。アンテナ32は、無線通信のための電波を撮影制御装置23との間で送受信する。
電子カセッテ21には、アンテナ32に加えてソケット34が設けられている。ソケット34は、蓋33と反対側の電子カセッテ21の一側面の片側に寄せて配置されている。ソケット34は撮影制御装置23と有線接続するために設けられており、ソケット34には撮影制御装置23に繋がれた複合ケーブル26(図1、図2も参照)のコネクタ35が差し込まれる。複合ケーブル26は、図中矢印で示すソケット34とコネクタ35の着脱方向と直交する方向に引き出されている。複合ケーブル26は、バッテリ31の残量不足等で電子カセッテ21と撮影制御装置23との無線通信が不可能になった場合に使用される。ソケット34にコネクタ35を挿して複合ケーブル26を使用した場合(図2等参照)、撮影制御装置23との有線通信が可能になるとともに撮影制御装置23から電子カセッテ21に給電することが可能となる。
コネクタ35はいわゆる角形の雄コネクタであり、略四半円状の把持部36により雌側のソケット34とワンタッチで着脱可能である。複合ケーブル26の引き出し方向と平行な把持部36の面には、矩形状の端子ターミナル37が設けられている。ソケット34には、この端子ターミナル37と同形状の端子ターミナル38が設けられている。
図5(A)〜(C)に示すように、端子ターミナル37内には、計七本の雄端子39が設けられている。同様に端子ターミナル38内にも雄端子39が挿脱される七本の雌端子40が設けられている。端子ターミナル37を端子ターミナル37に差し込むことで雄端子39が雌端子40に嵌入し、雄雌各端子39、40の電気的接続がなされる。
雄雌各端子39、40はいずれも等間隔で上下左右対称となるよう並べられている。また、その機能の並び順も同じとされている。すなわち、中心に位置する左右どちらから数えても四本目の端子はグランド用(G端子)、その両脇の二端子は電源受給用(P端子)、さらにその両脇の二端子は撮影制御装置23からの信号受信用(R端子)、両端の二端子は撮影制御装置23への信号送信用(T端子)である。つまり各端子39、40の機能は中心(G端子)に関して対称となるよう割り振られている。こうした端子配置とすることで、図中点線で示すように、実線で示す状態からコネクタ35を180°向きを変えてソケット34に取り付けても、実線で示す状態と全く変わりなく撮影制御装置23との有線通信、および撮影制御装置23から電子カセッテ21への給電が可能となる。
各雄端子39に接続された七本の内部配線(図示せず)は、把持部36の内部で各々略90°曲げられ、把持部36の端子ターミナル37が設けられた面と直交する面に設けられた結線部41で一本に束ねられる。こうして複合ケーブル26がコネクタ35の着脱方向と直交する方向に引き出される。コネクタ35の着脱方向に複合ケーブル26が出っ張らない分、取り付け時のコネクタ35の占有幅Wを短くすることができる。
図4に戻って、通信部51には、アンテナ32およびソケット34が接続されている。通信部51は、アンテナ32またはソケット34と制御回路52、メモリ53間の画像データを含む各種情報、信号の送受信を媒介する。
FPD54は、TFTアクティブマトリクス基板を有し、この基板上にX線の入射量に応じた信号電荷を蓄積する複数の画素55を配列してなる撮像領域56と、画素55を駆動して信号電荷の読み出しを制御するゲートドライバ57と、画素55から読み出された信号電荷をデジタルデータに変換して出力する信号処理回路58とを備えている。ゲートドライバ57と信号処理回路58は、制御回路52により動作制御される。複数の画素55は、所定のピッチで二次元にn行(x方向)×m列(y方向)のマトリクス状に配列されている。
FPD54は、X線を可視光に変換するシンチレータ(蛍光体)を有し、シンチレータによって変換された可視光を画素55で光電変換する間接変換型である。シンチレータは、画素55が配列された撮像領域56の全面と対向するように配置されている。なお、X線を直接電荷に変換する変換層(アモルファスセレン等)を用いた直接変換型のFPDを用いてもよい。
画素55は、可視光の入射によって電荷(電子−正孔対)を発生する光電変換素子であるフォトダイオード59、フォトダイオード59が発生した電荷を蓄積するキャパシタ(図示せず)、およびスイッチング素子として薄膜トランジスタ(TFT)60を備える。
フォトダイオード59は、電荷を発生する半導体層(例えばPIN型)とその上下に上部電極および下部電極を配した構造を有している。フォトダイオード59は、下部電極にTFT60が接続され、上部電極にはバイアス線61が接続されており、バイアス線61は撮像領域56内の画素55の行数分(n行分)設けられて結線62に結束されている。結線62はバイアス電源63に繋がれている。結線62、バイアス線61を通じて、バイアス電源63からフォトダイオード59の上部電極にバイアス電圧Vbが印加される。バイアス電圧Vbの印加により半導体層内に電界が生じ、光電変換により半導体層内で発生した電荷(電子−正孔対)は、一方がプラス、他方がマイナスの極性を持つ上部電極と下部電極に移動し、キャパシタに電荷が蓄積される。
TFT60は、ゲート電極が走査線64に、ソース電極が信号線65に、ドレイン電極がフォトダイオード59にそれぞれ接続される。走査線64と信号線65は格子状に配線されており、走査線64は撮像領域56内の画素55の行数分(n行分)、信号線65は画素55の列数分(m列分)それぞれ設けられている。走査線64はゲートドライバ57に接続され、信号線65は信号処理回路58に接続される。
ゲートドライバ57は、TFT60を駆動することにより、X線の入射量に応じた信号電荷を画素55に蓄積する蓄積動作と、画素55から信号電荷を読み出す読み出し(本読み)動作と、リセット(空読み)動作とを行わせる。制御回路52は、ゲートドライバ57によって実行される上記各動作の開始タイミングを制御する。
蓄積動作ではTFT60がオフ状態にされ、その間に画素55に信号電荷が蓄積される。読み出し動作では、ゲートドライバ57から同じ行のTFT60を一斉に駆動するゲートパルスG1〜Gnを順次発生して、走査線64を一行ずつ順に活性化し、走査線64に接続されたTFT60を一行分ずつオン状態とする。画素55のキャパシタに蓄積された電荷は、TFT60がオン状態になると信号線65に読み出されて、信号処理回路58に入力される。
フォトダイオード59の半導体層には、X線の入射の有無に関わらず暗電荷が発生する。この暗電荷はバイアス電圧Vbが印加されているためにキャパシタに蓄積される。画素55において発生する暗電荷は、画像データに対してはノイズ成分となるので、これを除去するためにリセット動作が行われる。リセット動作は、画素55において発生する暗電荷を、信号線65を通じて掃き出す動作である。
リセット動作は、例えば、一行ずつ画素55をリセットする順次リセット方式で行われる。順次リセット方式では、信号電荷の読み出し動作と同様、ゲートドライバ57から走査線64に対してゲートパルスG1〜Gnを順次発生して、画素55のTFT60を一行ずつオン状態にする。TFT60がオン状態になっている間、画素55から暗電荷が信号線65を通じて積分アンプ66に流れる。リセット動作では、読み出し動作と異なり、マルチプレクサ(MUX)67による積分アンプ66に蓄積された電荷の読み出しは行われず、各ゲートパルスG1〜Gnの発生と同期して、制御回路52からリセットパルスRSTが出力され、積分アンプ66がリセットされる。
順次リセット方式に代えて、配列画素の複数行を一グループとしてグループ内で順次リセットを行い、グループ数分の行の暗電荷を同時に掃き出す並列リセット方式や、全行にゲートパルスを入れて全画素の暗電荷を同時に掃き出す全画素リセット方式を用いてもよい。並列リセット方式や全画素リセット方式によりリセット動作を高速化することができる。
信号処理回路58は、積分アンプ66、MUX67、およびA/D変換器68等を備え、電源69から駆動電力が供給される。積分アンプ66は、各信号線65に対して個別に接続される。積分アンプ66は、オペアンプとオペアンプの入出力端子間に接続されたキャパシタとからなり、信号線65はオペアンプの一方の入力端子に接続される。積分アンプ66のもう一方の入力端子はグランド(GND)に接続される。積分アンプ66は、信号線65から入力される電荷を積算し、電圧信号D1〜Dmに変換して出力する。各列の積分アンプ66の出力端子には、増幅器70、サンプルホールド(S/H)部71を介してMUX67が接続される。MUX67の出力側には、A/D変換器68が接続される。
MUX67は、パラレルに接続される複数の積分アンプ66から順に一つの積分アンプ66を選択し、選択した積分アンプ66から出力される電圧信号D1〜DmをシリアルにA/D変換器68に入力する。A/D変換器68は、入力された電圧信号D1〜Dmをデジタルデータに変換して、電子カセッテ21の筐体29に内蔵されるメモリ53に出力する。なお、MUX67とA/D変換器68の間に増幅器を接続してもよい。
MUX67によって積分アンプ66から一行分の電圧信号D1〜Dmが読み出されると、制御回路52は、積分アンプ66に対してリセットパルスRSTを出力し、積分アンプ66のリセットスイッチ66aをオンする。これにより、積分アンプ66に蓄積された一行分の信号電荷がリセットされる。積分アンプ66がリセットされると、ゲートドライバ57から次の行のゲートパルスが出力され、次の行の画素55の信号電荷の読み出しを開始させる。これらの動作を順次繰り返して全行の画素55の信号電荷を読み出す。
全行の読み出しが完了すると、一画面分のX線画像を表す画像データがメモリ53に記録される。この画像データは、メモリ53から読み出され、通信部51を通じて撮影制御装置23に出力される。こうして被検体HのX線画像が検出される。
FPD54ではリセット動作を繰り返し行いつつ、照射検出センサ25でX線の照射開始を検出している。照射検出センサ25によりX線の照射開始が検出されると、制御回路52は、FPD54の動作をリセット動作から蓄積動作へ移行させる。制御回路52は、蓄積動作を開始してからの経過時間をタイマにより計時する。そして、経過時間が撮影条件で設定された時間に達したら、FPD54を蓄積動作から読み出し動作に移行させる。
撮影制御装置23は、複合ケーブル26による有線方式、あるいはアンテナ32による無線方式により電子カセッテ21と通信可能に接続されており、電子カセッテ21を制御する。具体的には、電子カセッテ21に対して撮影条件を送信して、FPD54の信号処理の条件(増幅器70のゲイン等)を設定させるとともに、FPD54の前記各動作を間接的に制御し、また、電子カセッテ21からの画像データをコンソール24に送信する。
図1において、撮影制御装置23は、装置を統括的に制御するCPU23aと、電子カセッテ21と有線方式または無線方式により通信するとともに、コンソール24と通信ケーブル28を介して通信する通信部23bと、メモリ23cとを有する。通信部23b、メモリ23cはCPU23aに接続されている。メモリ23cには、CPU23aが実行する制御プログラムが格納される。
コンソール24は、撮影制御装置23に対して撮影条件を送信するとともに、撮影制御装置23から送信されるX線画像のデータに対してオフセット補正やゲイン補正等の各種画像処理を施す。画像処理済みのX線画像はコンソール24のディスプレイに表示される他、そのデータがコンソール24内のハードディスクやメモリ、あるいはコンソール24とネットワーク接続された画像蓄積サーバといったデータストレージデバイスに格納される。
コンソール24は、患者の性別、年齢、撮影部位、撮影目的といった情報が含まれる検査オーダの入力を受け付けて、検査オーダをディスプレイに表示する。検査オーダは、HIS(病院情報システム)やRIS(放射線情報システム)といった患者情報や放射線検査に係る検査情報を管理する外部システムから入力されるか、放射線技師により手動入力される。放射線技師は、検査オーダの内容をディスプレイで確認し、その内容に応じた撮影条件をコンソール24の操作画面を通じて入力する。
以下、上記構成による作用について説明する。X線撮影システム10で撮影を行う場合には、まず、撮影台22にセットされた電子カセッテ21の高さを調節して、被検体Hの撮影部位と位置を合わせる。また、電子カセッテ21の高さおよび撮影部位の大きさに応じて、X線源13の高さや照射野の大きさを調整する。次いで電子カセッテ21の電源を投入する。続いてコンソール24から撮影条件を入力し、撮影制御装置23を介して電子カセッテ21に撮影条件を設定する。また、線源制御装置14にも撮影条件を設定する。
以上の撮影準備が完了すると、放射線技師によって照射スイッチ15が一段階押しされる。これにより線源制御装置14にウォームアップ開始信号が送信されて、X線源13のウォームアップが開始される。所定時間経過後に照射スイッチ15が二段階押しされて線源制御装置14に照射開始信号が送信され、X線の照射が開始される。
FPD54ではリセット動作が行われつつ照射検出センサ25でX線の照射が開始されたか否かが検出される。X線の照射開始が検出されると、制御回路52は、全てのTFT60をオフ状態にして蓄積動作に移行させる。線源制御装置14は、撮影条件で設定された照射時間が経過するとX線の照射を停止する。また、FPD54も撮影条件で設定された照射時間に相当する所定時間経過後、蓄積動作を終了して、読み出し動作へ移行する。読み出し動作では、先頭行から順に一行ずつ画素55に蓄積された信号電荷が読み出され、これが一画面分のX線画像データとしてメモリ53に記録される。この画像データは撮影制御装置23を介してコンソール24に送信される。読み出し動作後、FPD54はリセット動作を再開する。
メモリ53の画像データは撮影制御装置23を介してコンソール24に送信される。画像データはコンソール24でオフセット補正、ゲイン補正等の各種画像処理を施された後、コンソール24のディスプレイに表示されたりデータストレージデバイスに格納される。
電子カセッテ21は通常、バッテリ31から電力を供給してアンテナ32により撮影制御装置23との間で無線通信を行うが、バッテリ31の残量不足等で電子カセッテ21と撮影制御装置23との無線通信が不可能になった場合は複合ケーブル26を使用する。例えば立位撮影台22にセットされた電子カセッテ21に複合ケーブル26を接続する場合を考えると、複合ケーブル26を撮影室の床に這わせるか撮影室上部の配線ダクト等に掛け回すかで複合ケーブル26の引き出し方向が変ってくる。前者は床側に、後者は天井側に複合ケーブル26を引き出す方が引き回しがよい。また、電子カセッテ21と撮影制御装置23のレイアウトによっても複合ケーブル26の引き出し方向は変わる。
複合ケーブル26の引き出し方向が適した側に向けられないと、図6の矢印上側に示すように、複合ケーブル26がコネクタ35付近で曲げられて複合ケーブル26に無用な負荷が掛かる。また、コネクタ35付近に複合ケーブル26が曲がる分のスペースが必要となり、結果的にコネクタ35の占有幅Wが大きくなる。
そこで、このような場合には、図6の矢印下側に示すように、撮影前の準備段階で一旦コネクタ35をソケット34から外して、コネクタ35を180°反転させたうえでソケット34に付け替える。コネクタ35とソケット34の雄雌各端子39、40の機能が対称配置されているので、コネクタ35を付け替えても付け替え前と変わりなく電子カセッテ21への給電や撮影制御装置23との有線通信を行うことができる。
また、例えば図7に示すように、被検体Hがベッド81に仰臥し、ソケット34がある側の面をベッド81に接触させて、電子カセッテ21を被検体Hの脇に挟んで撮影を行う場合を考える。この場合、複合ケーブル26の引き出し方向をベッド81側にすると、矢印上側に示すように複合ケーブル26がコネクタ35とベッド81の間に挟まれて潰されてしまう。あるいは複合ケーブル26が邪魔になって電子カセッテ21をベッド81に接触させることができず、正しい姿勢で撮影を行うことができなくなる。このような場合も前述の例と同様に、矢印下側に示すようにコネクタ35を180°反転させて付け替えれば、複合ケーブル26に過度な負荷が掛からず、複合ケーブル26が電子カセッテ21とベッド81の接触の邪魔にならずに済む。
さらに、既存のX線発生装置11にX線撮影装置12を新規導入する際等、装置を設置する際には、配線の引き回しや撮影台22と撮影制御装置23のレイアウトといった現場の状況に応じて、複合ケーブル26の引き出し方向を決める必要があるが、コネクタ35を180°反転させて付け替えても変わりなく動作する構成であるため、サービスマンの手を借りずに現場の医師等が複合ケーブル26の引き出し方向を適切な方向に適宜変えることができる。
以上説明したように、本発明によれば、同じ機能を担う二組の端子を端子配列の中心に関して対称な位置に配置するという極めて単純且つ安価な構成で、従来のようにケーブルの回転構造といった大型化が懸念される部品をコネクタに設けることなく、複合ケーブル26の引き出し方向を適切な方向に変えることが可能となる。
[第二実施形態]
上記実施形態では、コネクタを180°反転して差し込み可能な構成とするため、同じ機能を担う端子を対称配置しているが、本発明はこれに限定されない。図8、図9に示す構成を採用してもよい。
上記実施形態では、コネクタを180°反転して差し込み可能な構成とするため、同じ機能を担う端子を対称配置しているが、本発明はこれに限定されない。図8、図9に示す構成を採用してもよい。
本実施形態のコネクタ91は、第一実施形態のコネクタ35と同様、180°反転してソケットに差し込み可能な形状を有する角形コネクタであり、複合ケーブル26が片側に引き出されるタイプである。また、各機能を担う端子の数、および等間隔且つ上下左右対称な並びは第一実施形態と同じである。第一実施形態との相違点は、図8に示すように端子の機能が中心に関して対称配置ではなく、接続兼差し込み向き検知部(以下、単に検知部という)92と、端子機能反転部93とが設けられている点である。
検知部92は、コネクタ91の一端の二端子(De端子)を使用して、ソケット94へのコネクタ91の接続、およびコネクタ91の差し込み向きを検知する。De端子には該端子間を流れる電流を測定する電流計95が直列接続されている。電流計95の一端は電圧源、すなわち端子機能反転部93の手前のP配線に繋がれ、他端はG配線に繋がれて接地されている。
コネクタ91の中心に関してDe端子と対称な位置には、何も機能を持たないダミーの端子(Du端子)が設けられている。
端子機能反転部93には、切替スイッチ96とたすき掛け配線97が設けられている。切替スイッチ96の入力端にはT、R、P、Gの各配線が繋がれ、出力端にはa、b、c、d、e、fの各端子とたすき掛け配線97(煩雑を避けるためa、f端子のみ図示)が繋がれている。切替スイッチ96は、電流計95の測定結果を受けて、出力端をa〜fの各端子、たすき掛け配線97のいずれかに切り替える。
たすき掛け配線97は、中心に関して対称な配線と端子を繋ぐためのものである。例えば図示のたすき掛け配線97は、端同士のT1配線とf端子、G配線とa端子を繋ぐ。同様にT2配線とe端子、P2配線とb端子を繋ぐためのたすき掛け配線、R1配線とd端子、P1配線とc端子を繋ぐためのたすき掛け配線が設けられている。R2配線およびR2端子は中心に位置するため、たすき掛け配線は設けられていない。
切替スイッチ96でa〜fの各端子が選択された図示の状態では、各配線の機能がダイレクトに各端子の機能として現れる。一方、切替スイッチ96でたすき掛け配線97が選択された場合は、図9に示すように各配線の機能と各端子の機能が中心(R2配線およびR2端子)を対称軸にして反転し、a端子がT1からG、b端子がT2からP2、c端子がR1からP1、d端子がP1からR1、e端子がP2からT2、f端子がGからT1に機能が切り替わる。
ソケット94のT、R、P、Gの各端子は、切替スイッチ96でa〜fの各端子が選択された図8の状態に準じる並びとなっている。また、De端子およびDu端子と対面するソケット94の両端の二端子には、ダイオード98a、98bが接続されている。
図8に示すように、ダイオード98aが接続された端子にDe端子が接続される向きにコネクタ91が差し込まれると、順方向バイアスとなるため電圧源による印加電圧に応じた電流が流れる。対して図9に示すように、ダイオード98bが接続された端子にDe端子が接続される向きにコネクタ91が差し込まれると、逆方向バイアスとなるため電流は僅かしか流れない。この電流変化を電流計95で測定すれば、ソケット94へのコネクタ91の接続、およびコネクタ91の差し込み向きを検知することができる。
コネクタ91がソケット94に差し込まれていない状態では、コネクタ91のT、R、P、Gの各機能配線と各端子は繋がれておらず、各機能配線は全て接地されている。コネクタ91がソケット94に差し込まれ、コネクタ91のDe端子とソケット94の両端の二端子が接続されると、差し込み向きに応じた電流が流れ、これが電流計95で測定される。
ダイオード98aが接続された端子にDe端子が接続される向きにコネクタ91が差し込まれ、電流計95で一定値の電流が測定された場合、切替スイッチ96でa〜fの各端子が選択される。一方、コネクタ91の差し込み向きが180°反転され、ダイオード98bが接続された端子にDe端子が接続される向きにコネクタ91が差し込まれ、電流計95で測定される電流が略ゼロであった場合、切替スイッチ96でたすき掛け配線97が選択され、各配線の機能と各端子の機能が反転される。
本実施形態の構成によっても第一実施形態と同様の効果を得ることができる。また、第一実施形態のように端子配置に制約がないため、設計の自由度が増す。なお、ダイオード98a、98bの代わりに、値の異なる抵抗を設けてもよい。要は電流が流れる場合と流れない場合の二つの状態を作ることができればよく、差し込み向きの違いを検出できるような回路素子または複数の回路素子を組み合わせた回路であれば、ダイオードや抵抗に限らずどのようなものでも使用することができる。また、De端子とDu端子は中心に関して対称な位置にあればよく、その配置は上記例の両端に限らない。
なお、図では説明の便宜上、検知部92および端子機能反転部93がコネクタ91内に設けられているように描いているが、これらは実際にはコネクタ91内には設けられておらず、複合ケーブル26の接続元の撮影制御装置23内に設けられている(ダイオード98a、98bは電子カセッテ21内に設けられている)。従ってコネクタ91には端子のみが設けられており、コネクタの大型化の懸念はない。検知部92および端子機能反転部93を電子カセッテ21側に設けてもよい。この場合はバッテリ31から検知部92に電力を供給する。
接続兼差し込み向きを機械的、光学的に検知してもよい。例えばソケット内に押圧スイッチを設けておき、二通りの差し込み向きのうちの一方ではコネクタにより押圧スイッチが押され、他方では押されない構成とする。また、反射率の異なる塗料をソケットに塗布し、これをコネクタ側のフォトセンサで検知する。
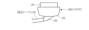
把持部36の端子ターミナル37が設けられた面と直交する面に結線部41を設けたコネクタ35を例示したが、本発明はこれに限定されない。複合ケーブル26がコネクタの着脱方向と直交する方向に引き出される構成であればよい。例えば図10に示すコネクタ100のように、端子ターミナル101と対向する把持部102の位置に結線部103を設け、結線部103自体を片側に傾けることで、複合ケーブル26をコネクタ100の着脱方向と直交する方向に引き出してもよい。
上記各実施形態では端子の極性については言及していないが、信号受信用のR端子、信号送信用のT端子には、例えばイーサネット(登録商標)規格でTx+、Tx−、Rx+、Rx−と呼ばれるような極性を有するものがある。この場合、第一実施形態のようにT端子、R端子を中心に関して対称となるよう配置させると、コネクタ35の差し込み向きによってはTx+とTx−、Rx+とRx−が接続されて信号の論理が反転したりクロックがずれたりして正しい通信が行われなくなる。これを防止するため、電子カセッテ21の通信部515に受信信号の正誤を判定する機能を設け、本格的な通信の前にテスト用信号を電子カセッテ21と撮影制御装置23間で送受信する等して、正しく受信できていないと判定した場合は受信信号および送信信号の極性を反転して通信を行うことが好ましい。
また、T端子とR端子が取り違えて接続された場合も当然ながら正しい通信はできない。T端子が接続されるべきところにR端子が接続されると、電子カセッテ21の通信部51からの送信信号と撮影制御装置23の通信部23bからの受信信号とが衝突する。逆にこのことを利用して以下のようにコネクタ35の差し込み向きを検出することができる。すなわち、第二実施形態の端子機能反転部をT端子、R端子に適用し、T端子、R端子いずれにも切り替え可能なTR端子を中心に関して対称に配置する。例えば[TR、TR、P、G、P、TR、TR]または[TRx+、TRx−、P、G、P、TRx−、TRx+]のように、TR端子を中心のG端子に関して対称に配列する。そして、通信部51に自ら生成した送信信号の信号電圧を実測する機能を設け、送信信号の理論値と実測値が異なる場合は送信信号と受信信号が衝突していると判定し、TR端子のうちT端子の機能を担うものをR端子、R端子の機能を担うものをT端子にそれぞれ入れ替える。
G端子は一般的に低インピーダンスで接続するほうがケーブル両端での電位差が発生せず、エネルギー伝達効率あるいは低ノイズ化の観点から好ましい。すなわち第一実施形態の例でいえば[T、R、G、P、G、R、T]とG端子を二本にする端子配列を採用してもよい。
P端子で受給する電力は、直流、交流どちらでも構わない。交流の場合は、極性を勘案する必要がなく、電子カセッテ21側にAC/DC変換器を設けて交流電力を直流に変換すればよい。また交流の場合は上記各実施形態のP端子をP+、G端子をP−と置き換えるが、P+端子とP−端子は取り違えて接続しても電力供給には支障がないため、結局どちらもP端子と表すことができる。すなわち第一実施形態の例では[T、R、P、P、R、T]とすることができ、計六本の端子で電子カセッテ21と撮影制御装置23間の接続が可能となる。
さらに、T端子とR端子の組をそれぞれ電気的に絶縁し、T端子とR端子間に上記各実施形態のP端子で供給される電圧と同じ電圧を供給し、電子カセッテ21を駆動するに足る電力を供給する。こうすればP端子も不要となり、例えば[T、R、R、T]のような四端子の対称配置も可能となる。T端子とR端子に極性がある場合は、段落[0083]、[0084]で説明した極性反転の態様を組み合わせればよい。
なお、端子の個数や機能の種類、対称配置の並び順等は上記各実施形態の例に限らず、仕様に応じて適宜変更することが可能である。
なお、本発明に係るX線撮影システムは、上記実施形態に限らず、本発明の要旨を逸脱しない限り種々の構成を採り得ることはもちろんである。
X線撮影システム10は病院の撮影室に据え置かれるタイプに限らず、回診車に搭載されるタイプや、X線源13、線源制御装置14、電子カセッテ21、撮影制御装置23等を事故、災害等の緊急医療対応が必要な現場や在宅診療を受ける患者の自宅に持ち運んでX線撮影を行うことが可能な可搬型のシステムに適用してもよい。
X線源の中には、陽極が回転しない固定陽極型のものや、予熱が不要な冷陰極型の線源等、ウォームアップが不要なものもある。このため、照射スイッチとしては照射開始信号を発生する機能のみを有するものでもよい。また、ウォームアップが必要なX線源の場合でも、照射スイッチから線源制御装置に対して照射開始信号を入力し、線源制御装置が照射開始信号に基づいてウォームアップを開始させ、ウォームアップ終了後、照射を開始させるようにすれば、照射スイッチにウォームアップ開始信号を発生する機能を設ける必要もない。
上記実施形態では、電子カセッテと撮影制御装置を別体で構成した例で説明したが、撮影制御装置の機能を電子カセッテの制御回路に内蔵する等、電子カセッテと撮影制御装置を一体化してもよい。また、コンソールで画像処理を行うとしているが、撮影制御装置で行ってもよい。さらに、接続方式が無線、有線の二通りある電子カセッテを例示したが、無線機能がなく有線接続のみの電子カセッテにも勿論適用することができる。
本発明は、X線に限らず、γ線等の他の放射線を使用する撮影システムにも適用することができる。
10 X線撮影システム
11 X線発生装置
12 X線撮影装置
21 電子カセッテ
23 撮影制御装置
24 コンソール
26 複合ケーブル
29 筐体
32 アンテナ
34、94 ソケット
35、91、100 コネクタ
39、40 雄雌端子
51 通信部
52 制御回路
54 FPD
55 画素
58 信号処理回路
92 接続兼差し込み向き検知部(検知部)
93 端子機能反転部
96 切替スイッチ
97 たすき掛け配線
11 X線発生装置
12 X線撮影装置
21 電子カセッテ
23 撮影制御装置
24 コンソール
26 複合ケーブル
29 筐体
32 アンテナ
34、94 ソケット
35、91、100 コネクタ
39、40 雄雌端子
51 通信部
52 制御回路
54 FPD
55 画素
58 信号処理回路
92 接続兼差し込み向き検知部(検知部)
93 端子機能反転部
96 切替スイッチ
97 たすき掛け配線
Claims (15)
- 放射線源から照射された放射線を受けて信号電荷を蓄積する複数の画素を有する放射線画像検出器と、
前記放射線画像検出器を収容する偏平な形状の筐体と、
前記筐体に設けられたソケットと、
前記ソケットに差し込まれるコネクタと、
前記コネクタから引き出されて外部制御装置に接続され、電力供給機能および信号通信機能を有する複合ケーブルとを備え、
前記コネクタは、前記ソケットと前記コネクタの着脱方向と直交する方向で、かつ前記筐体の側面の長手方向に沿う方向に前記複合ケーブルが引き出される構成であり、
180°反転した二通りのみの差し込み向きで前記コネクタを前記ソケットに機械的、電気的に差し込み可能としたことを特徴とする可搬型の放射線画像検出装置。 - 前記筐体は角部を有し、
前記ソケットは、前記角部周辺に配置されていることを特徴とする請求項1に記載の可搬型の放射線画像検出装置。 - 前記筐体は平面形状が矩形であり、
前記ソケットは、前記筐体の長辺側の側面に設けられていることを特徴とする請求項1または2に記載の可搬型の放射線画像検出装置。 - 前記複合ケーブルは、前記コネクタの端子が設けられた位置と直交する位置から引き出されていることを特徴とする請求項1ないし3のいずれか一項に記載の可搬型の放射線画像検出装置。
- 前記複合ケーブルは、前記コネクタの端子が設けられた位置と対向する位置から引き出されていることを特徴とする請求項1ないし3のいずれか一項に記載の可搬型の放射線画像検出装置。
- 前記ソケットおよび前記コネクタに配列された電力供給機能および信号通信機能を担う複数の端子の同じ機能を担う二組の端子が、端子配列の中心に関して対称な位置に配置されていることを特徴とする請求項1ないし5のいずれか一項に記載の可搬型の放射線画像検出装置。
- 前記ソケットへの前記コネクタの接続および差し込み向きを検知する接続兼差し込み向き検知部と、
前記ソケットおよび前記コネクタに配列された電力供給機能および信号通信機能を担う複数の端子の機能を180°反転させる端子機能反転部とを備えることを特徴とする請求項1ないし5のいずれか一項に記載の可搬型の放射線画像検出装置。 - 前記接続兼差し込み向き検知部は、前記ソケットまたは前記コネクタのうちの一方の二端子間に電圧を印加する電圧源と、
180°反転した二通りの差し込み向きで前記コネクタを前記ソケットに差し込んだときに、電圧が印加された二端子と接続する他方の二端子間に接続されたダイオードまたは抵抗と、
前記ソケットに前記コネクタを差し込んだときに二端子間に流れる電流を測定する電流計とからなることを特徴とする請求項7に記載の可搬型の放射線画像検出装置。 - 前記端子機能反転部は、機能を180°反転させる内部配線と端子を繋ぐたすき掛け配線と、
内部配線と端子をそのままの並びで接続するかたすき掛け配線で接続するかを、前記接続兼差し込み向き検知部の検知結果に応じて切り替える切替スイッチとからなることを特徴とする請求項7または8に記載の可搬型の放射線画像検出装置。 - 前記接続兼差し込み向き検知部および前記端子機能反転部は、前記筐体、または外部制御装置に内蔵されていることを特徴とする請求項7ないし9のいずれか一項に記載の可搬型の放射線画像検出装置。
- 前記ソケットに配列された信号通信機能を担う端子は信号送信用、受信用で極性の異なる計四端子が設けられており、
受信信号の正誤を判定する機能を備え、
正しく受信できていないと判定した場合は受信信号および送信信号の極性を反転することを特徴とする請求項1ないし10のいずれか一項に記載の可搬型の放射線画像検出装置。 - 前記ソケットに配列された信号通信機能を担う端子は信号送信用、受信用で極性の異なる計四端子が設けられており、
送信信号の電圧を実測する機能を備え、
送信信号の電圧の理論値と実測値が異なる場合、送信用の端子を受信用、受信用の端子を送信用に切り替えることを特徴とする請求項1ないし10のいずれか一項に記載の可搬型の放射線画像検出装置。 - 前記ソケットおよび前記コネクタは二本のグランド端子を有することを特徴とする請求項1ないし12のいずれか一項に記載の可搬型の放射線画像検出装置。
- 前記ソケットおよび前記コネクタは電力供給機能および信号通信機能を兼ねる端子を有することを特徴とする請求項1ないし13のいずれか一項に記載の可搬型の放射線画像検出装置。
- 前記ソケットは前記筐体の中心から片側に寄せて配置されていることを特徴とする請求項1ないし14のいずれか一項に記載の可搬型の放射線画像検出装置。
Priority Applications (1)
| Application Number | Priority Date | Filing Date | Title |
|---|---|---|---|
| JP2014081428A JP2014167478A (ja) | 2014-04-10 | 2014-04-10 | 可搬型の放射線画像検出装置 |
Applications Claiming Priority (1)
| Application Number | Priority Date | Filing Date | Title |
|---|---|---|---|
| JP2014081428A JP2014167478A (ja) | 2014-04-10 | 2014-04-10 | 可搬型の放射線画像検出装置 |
Related Parent Applications (1)
| Application Number | Title | Priority Date | Filing Date |
|---|---|---|---|
| JP2011074278A Division JP5660951B2 (ja) | 2011-03-30 | 2011-03-30 | 可搬型の放射線画像検出装置 |
Related Child Applications (1)
| Application Number | Title | Priority Date | Filing Date |
|---|---|---|---|
| JP2015192669A Division JP6027203B2 (ja) | 2015-09-30 | 2015-09-30 | 可搬型の放射線画像検出装置 |
Publications (1)
| Publication Number | Publication Date |
|---|---|
| JP2014167478A true JP2014167478A (ja) | 2014-09-11 |
Family
ID=51617222
Family Applications (1)
| Application Number | Title | Priority Date | Filing Date |
|---|---|---|---|
| JP2014081428A Pending JP2014167478A (ja) | 2014-04-10 | 2014-04-10 | 可搬型の放射線画像検出装置 |
Country Status (1)
| Country | Link |
|---|---|
| JP (1) | JP2014167478A (ja) |
Citations (9)
| Publication number | Priority date | Publication date | Assignee | Title |
|---|---|---|---|---|
| JPH10277028A (ja) * | 1997-04-08 | 1998-10-20 | Morita Mfg Co Ltd | 歯科用x線画像検出器およびそのアダプタ |
| JPH1153079A (ja) * | 1997-08-06 | 1999-02-26 | Hitachi Ltd | 携帯端末・拡張装置システム |
| JPH11230803A (ja) * | 1998-02-17 | 1999-08-27 | Yamatake Corp | 流量計 |
| JPH11250196A (ja) * | 1998-03-05 | 1999-09-17 | Sharp Corp | Pcカード及び接続コネクタ |
| JP2000134228A (ja) * | 1998-10-23 | 2000-05-12 | Nec Shizuoka Ltd | 給電機能付きインタフェース装置,受電機能付きインタフェース装置および通信システム |
| JP2002073255A (ja) * | 2000-06-16 | 2002-03-12 | Alps Electric Co Ltd | キーボード入力装置 |
| JP2009205046A (ja) * | 2008-02-29 | 2009-09-10 | Epson Imaging Devices Corp | 光電変換装置及び撮影装置 |
| JP2010025640A (ja) * | 2008-07-16 | 2010-02-04 | Fujifilm Corp | 可搬型放射線検出器 |
| US20100284521A1 (en) * | 2009-05-11 | 2010-11-11 | General Electric Company | Digital image detector |
-
2014
- 2014-04-10 JP JP2014081428A patent/JP2014167478A/ja active Pending
Patent Citations (11)
| Publication number | Priority date | Publication date | Assignee | Title |
|---|---|---|---|---|
| JPH10277028A (ja) * | 1997-04-08 | 1998-10-20 | Morita Mfg Co Ltd | 歯科用x線画像検出器およびそのアダプタ |
| US6030119A (en) * | 1997-04-08 | 2000-02-29 | J. Morita Manufacturing Corporation | Dental X-ray image detecting apparatus and adaptor for same |
| JPH1153079A (ja) * | 1997-08-06 | 1999-02-26 | Hitachi Ltd | 携帯端末・拡張装置システム |
| JPH11230803A (ja) * | 1998-02-17 | 1999-08-27 | Yamatake Corp | 流量計 |
| JPH11250196A (ja) * | 1998-03-05 | 1999-09-17 | Sharp Corp | Pcカード及び接続コネクタ |
| JP2000134228A (ja) * | 1998-10-23 | 2000-05-12 | Nec Shizuoka Ltd | 給電機能付きインタフェース装置,受電機能付きインタフェース装置および通信システム |
| JP2002073255A (ja) * | 2000-06-16 | 2002-03-12 | Alps Electric Co Ltd | キーボード入力装置 |
| JP2009205046A (ja) * | 2008-02-29 | 2009-09-10 | Epson Imaging Devices Corp | 光電変換装置及び撮影装置 |
| JP2010025640A (ja) * | 2008-07-16 | 2010-02-04 | Fujifilm Corp | 可搬型放射線検出器 |
| US20100284521A1 (en) * | 2009-05-11 | 2010-11-11 | General Electric Company | Digital image detector |
| JP2010262297A (ja) * | 2009-05-11 | 2010-11-18 | General Electric Co <Ge> | ディジタル画像検出器 |
Similar Documents
| Publication | Publication Date | Title |
|---|---|---|
| JP5544383B2 (ja) | 放射線画像検出装置および放射線撮影システム | |
| CN102525503B (zh) | 放射线图像检测装置及其驱动控制方法 | |
| JP5587356B2 (ja) | 放射線撮影システム、放射線撮影システムの駆動制御方法および駆動制御プログラム、並びに放射線画像検出装置 | |
| JP5975733B2 (ja) | 放射線画像検出装置およびその駆動制御方法、並びに放射線撮影システム | |
| JP5208186B2 (ja) | 放射線画像検出装置およびその駆動制御方法 | |
| US8358740B2 (en) | Radiographic image capturing system | |
| JP5438714B2 (ja) | 放射線撮影装置 | |
| JP2012100807A (ja) | 放射線画像検出装置およびその駆動制御方法 | |
| US8461544B2 (en) | Radiation image capturing device, and radiation image capturing system | |
| JP2010078415A (ja) | 放射線検出装置及び放射線画像撮影システム | |
| JP5473854B2 (ja) | 放射線撮影装置及び放射線撮影システム | |
| JP2010075677A (ja) | 放射線画像撮影装置、及び画像処理装置 | |
| JP2012119956A (ja) | 放射線画像検出装置 | |
| JP2012239814A (ja) | 放射線撮影装置 | |
| JP5623334B2 (ja) | 電子カセッテ、および放射線撮影装置 | |
| JP2009082194A (ja) | 放射線変換パネル及び該放射線変換パネルを用いた放射線画像撮影方法 | |
| JP6027203B2 (ja) | 可搬型の放射線画像検出装置 | |
| JP2014045939A (ja) | 放射線撮影システムおよびその通信方法、並びに放射線画像検出装置 | |
| JP6505973B2 (ja) | 可搬型放射線撮影装置 | |
| JP5660951B2 (ja) | 可搬型の放射線画像検出装置 | |
| JP2014195480A (ja) | 放射線画像検出装置及び放射線画像検出装置の制御方法 | |
| JP2012208337A (ja) | 可搬型の放射線画像検出装置 | |
| JP5964931B2 (ja) | 放射線画像検出装置および放射線の照射開始検出方法 | |
| JP5660871B2 (ja) | 放射線画像検出装置および放射線の照射開始検出方法 | |
| JP2014167478A (ja) | 可搬型の放射線画像検出装置 |
Legal Events
| Date | Code | Title | Description |
|---|---|---|---|
| A977 | Report on retrieval |
Free format text: JAPANESE INTERMEDIATE CODE: A971007 Effective date: 20150119 |
|
| A131 | Notification of reasons for refusal |
Free format text: JAPANESE INTERMEDIATE CODE: A131 Effective date: 20150204 |
|
| A521 | Request for written amendment filed |
Free format text: JAPANESE INTERMEDIATE CODE: A523 Effective date: 20150401 |
|
| A02 | Decision of refusal |
Free format text: JAPANESE INTERMEDIATE CODE: A02 Effective date: 20150701 |