JP2014161970A - 卓上切断機 - Google Patents
卓上切断機 Download PDFInfo
- Publication number
- JP2014161970A JP2014161970A JP2013036134A JP2013036134A JP2014161970A JP 2014161970 A JP2014161970 A JP 2014161970A JP 2013036134 A JP2013036134 A JP 2013036134A JP 2013036134 A JP2013036134 A JP 2013036134A JP 2014161970 A JP2014161970 A JP 2014161970A
- Authority
- JP
- Japan
- Prior art keywords
- slide
- cutting machine
- slide bar
- arm
- base
- Prior art date
- Legal status (The legal status is an assumption and is not a legal conclusion. Google has not performed a legal analysis and makes no representation as to the accuracy of the status listed.)
- Pending
Links
- 238000005520 cutting process Methods 0.000 claims abstract description 145
- 230000007246 mechanism Effects 0.000 claims abstract description 77
- 230000003247 decreasing effect Effects 0.000 abstract 1
- 230000000694 effects Effects 0.000 description 8
- 238000010586 diagram Methods 0.000 description 2
- 238000005286 illumination Methods 0.000 description 2
- 230000004048 modification Effects 0.000 description 2
- 238000012986 modification Methods 0.000 description 2
- 230000002093 peripheral effect Effects 0.000 description 2
- 230000001681 protective effect Effects 0.000 description 2
- 230000005611 electricity Effects 0.000 description 1
- 210000001364 upper extremity Anatomy 0.000 description 1
Images
Landscapes
- Sawing (AREA)
Abstract
【課題】スライド量を充分に確保しても切断時に邪魔になり難く、且つ壁際に設置してもスライド量の減らない設置し易い卓上切断機を提供する。
【解決手段】卓上切断機1は、被加工材が載せられるベース2と、当該被加工材を切断する切断刃4が設けられた切断機本体6と、ベース2と切断機本体6に介在する複数段スライド機構8とを備えており、複数段スライド機構8は、前後方向へのスライドが不能な状態でベース2に接続される各第1スライドバー60及びアーム52と、前後方向へのスライドが可能な状態で、第1スライドバー60,60に案内される第1スライド支持部64と、第1スライド支持部64に支持される各第2スライドバー70と、卓上切断機1の最後部(第1スライドバー止め62)より前方において前後方向へのスライドが可能な状態で、第2スライドバー70,70に案内される第2スライド支持部74とを含んでいる。
【選択図】図1
【解決手段】卓上切断機1は、被加工材が載せられるベース2と、当該被加工材を切断する切断刃4が設けられた切断機本体6と、ベース2と切断機本体6に介在する複数段スライド機構8とを備えており、複数段スライド機構8は、前後方向へのスライドが不能な状態でベース2に接続される各第1スライドバー60及びアーム52と、前後方向へのスライドが可能な状態で、第1スライドバー60,60に案内される第1スライド支持部64と、第1スライド支持部64に支持される各第2スライドバー70と、卓上切断機1の最後部(第1スライドバー止め62)より前方において前後方向へのスライドが可能な状態で、第2スライドバー70,70に案内される第2スライド支持部74とを含んでいる。
【選択図】図1
Description
本発明は、切断機本体をベースに対して前後にスライド可能とした卓上切断機に関する。
下記特許文献1,2に示されるように、大形の材の切断を可能とするため、切断刃を備えた切断機本体が、材を載せるベースに対して前後にスライドする卓上切断機が知られている。
特許文献1の卓上切断機では、ベース1中央のターンテーブル2後端から上方に突出したホルダ5の上側に、ガイドバー7が前後方向に延びる状態で固着されており、丸のこ部ホルダ8に開けられた貫通孔8aに、ガイドバー7が通されることで、丸のこ部ホルダ8がベース1に対して前後移動する。
特許文献2の卓上切断機では、ベース3に回転自在に支持されたテーブル2に、軸受け21を介してスライドバー22がスライド可能に取り付けられており、スライドバー22後端部には、傾動支持部30を介して、上方に延びる傾動アーム33が支持されている。又、傾動アーム33の上部に、前方に延びるスライドバー42が設けられており、スライドバー42には、軸受け41を有するスライダ44を介して切断機本体10が取り付けられている。この卓上切断機では、下のスライドバー22のターンテーブル2後端からの出没(下のスライド機構)と、上のスライドバー42におけるスライダ44の前後移動(上のスライド機構)により、切断機本体10が前後にスライドする。
特許文献1の卓上切断機では、ベース1中央のターンテーブル2後端から上方に突出したホルダ5の上側に、ガイドバー7が前後方向に延びる状態で固着されており、丸のこ部ホルダ8に開けられた貫通孔8aに、ガイドバー7が通されることで、丸のこ部ホルダ8がベース1に対して前後移動する。
特許文献2の卓上切断機では、ベース3に回転自在に支持されたテーブル2に、軸受け21を介してスライドバー22がスライド可能に取り付けられており、スライドバー22後端部には、傾動支持部30を介して、上方に延びる傾動アーム33が支持されている。又、傾動アーム33の上部に、前方に延びるスライドバー42が設けられており、スライドバー42には、軸受け41を有するスライダ44を介して切断機本体10が取り付けられている。この卓上切断機では、下のスライドバー22のターンテーブル2後端からの出没(下のスライド機構)と、上のスライドバー42におけるスライダ44の前後移動(上のスライド機構)により、切断機本体10が前後にスライドする。
特許文献1の卓上切断機では、スライド量を充分に確保すると、ガイドバー7の前方突出量が大きくなり、切断時に邪魔になり易い。
特許文献2の卓上切断機では、スライド量を充分に確保しても、主に下のスライドバー22の長さの分だけ上のスライドバー42の長さを短くすることができ、上のスライドバー42は切断時に邪魔になり難い。しかし、下のスライドバー22が後方へ延びていくため、下のスライドバー22の全体をテーブル2に入れた状態で卓上切断機を壁際に置いた場合に、スライドバー22後端の傾動支持部30が壁に衝突してスライド量が一時的に減少してしまう事態を生じ得、よって、特許文献2の卓上切断機は、下のスライドバー22の後方突出量を見越して設置する必要がある。
そこで、本発明は、スライド量を充分に確保しても切断時に邪魔になり難く、且つ壁際に設置してもスライド量の減らない設置し易い卓上切断機を提供することを主な目的とするものである。
特許文献2の卓上切断機では、スライド量を充分に確保しても、主に下のスライドバー22の長さの分だけ上のスライドバー42の長さを短くすることができ、上のスライドバー42は切断時に邪魔になり難い。しかし、下のスライドバー22が後方へ延びていくため、下のスライドバー22の全体をテーブル2に入れた状態で卓上切断機を壁際に置いた場合に、スライドバー22後端の傾動支持部30が壁に衝突してスライド量が一時的に減少してしまう事態を生じ得、よって、特許文献2の卓上切断機は、下のスライドバー22の後方突出量を見越して設置する必要がある。
そこで、本発明は、スライド量を充分に確保しても切断時に邪魔になり難く、且つ壁際に設置してもスライド量の減らない設置し易い卓上切断機を提供することを主な目的とするものである。
上記目的を達成するために、請求項1に記載の発明は、被加工材が載せられるベースと、前記被加工材を切断する切断刃が設けられた切断機本体と、前記ベースと前記切断機本体に介在する複数段スライド機構とを備えた卓上切断機であって、前記複数段スライド機構は、前後方向へのスライドが不能な状態で前記ベースに接続される第1のスライド案内部と、前後方向へのスライドが可能な状態で、前記第1のスライド案内部に案内される第1のスライド支持部と、前記第1のスライド支持部に支持される第2のスライド案内部と、前記卓上切断機の最後部より前方において前後方向へのスライドが可能な状態で、前記第2のスライド案内部に案内される第2のスライド支持部とを含むことを特徴とするものである。
請求項2に記載の発明は、上記発明において、前記第n−1のスライド支持部に支持される第nのスライド案内部(n={3}or{3,4}or{3,4,5}or・・)と、前記最後部より前方において前後方向へのスライドが可能な状態で、第nのスライド案内部に案内される第nのスライド支持部を含むことを特徴とするものである。
請求項3に記載の発明は、上記発明において、少なくとも2つの前記スライド案内部が、左右方向において互いにずれていることを特徴とするものである。
請求項4に記載の発明は、上記発明において、前記スライド案内部が、前後に長いスライドバーを含んでいることを特徴とするものである。
請求項5に記載の発明は、上記発明において、前記スライド案内部は、前記ベースの上方に配置されていることを特徴とするものである。
請求項6に記載の発明は、上記発明において、前記第1のスライド案内部は、前記第1のスライド支持部を案内する第1の案内部材、及び当該第1の案内部材とベースの間に介在するアームを含んでおり、前記アームは、アーム上部がアーム下部に対して前方に位置する形状となっており、前記第1の案内部材は、前記アーム上部の後部から後方へ突出する状態で、前記アームに固定されていることを特徴とするものである。
請求項2に記載の発明は、上記発明において、前記第n−1のスライド支持部に支持される第nのスライド案内部(n={3}or{3,4}or{3,4,5}or・・)と、前記最後部より前方において前後方向へのスライドが可能な状態で、第nのスライド案内部に案内される第nのスライド支持部を含むことを特徴とするものである。
請求項3に記載の発明は、上記発明において、少なくとも2つの前記スライド案内部が、左右方向において互いにずれていることを特徴とするものである。
請求項4に記載の発明は、上記発明において、前記スライド案内部が、前後に長いスライドバーを含んでいることを特徴とするものである。
請求項5に記載の発明は、上記発明において、前記スライド案内部は、前記ベースの上方に配置されていることを特徴とするものである。
請求項6に記載の発明は、上記発明において、前記第1のスライド案内部は、前記第1のスライド支持部を案内する第1の案内部材、及び当該第1の案内部材とベースの間に介在するアームを含んでおり、前記アームは、アーム上部がアーム下部に対して前方に位置する形状となっており、前記第1の案内部材は、前記アーム上部の後部から後方へ突出する状態で、前記アームに固定されていることを特徴とするものである。
本発明の内、請求項1に記載の発明によれば、複数段スライド機構の第2のスライド支持部を、卓上切断機の最後部より常に前方に位置するようにしたので、スライド量を充分に確保しても切断時に邪魔になり難く、且つ壁際に設置してもスライド量の減らない設置し易い卓上切断機を提供することができる、という効果を奏する。
又、請求項2に記載の発明によれば、上記発明において、複数段スライド機構の第n(nは3又は3以上の複数の連番)のスライド支持部を、卓上切断機の最後部より常に前方に位置するようにしたので、スライド量を充分に確保しても切断時に更に邪魔になり難く、且つ壁際に設置してもスライド量の減らない設置し易い卓上切断機を提供することができる、という効果を奏する。
更に、請求項3に記載の発明によれば、上記発明において、スライド案内部を互いにずらしたので、上記効果に加えて、切断機本体の前後移動をより一層スムーズに行うことができる、という効果を奏する。
加えて、請求項4に記載の発明によれば、上記発明において、スライド案内部にスライドバーを含ませたので、上記効果に加えて、スライド案内部をシンプルに構成することができる、という効果を奏する。
又、請求項5に記載の発明によれば、上記発明において、スライド案内部(ないしスライド支持部)をベースの上方にオーバーラップさせたので、上記効果に加えて、卓上切断機をよりコンパクトにすることができる、という効果を奏する。
更に、請求項6に記載の発明によれば、上記発明において、上部が下部に対して前方に曲げられたアームの当該上部から後方に第1の案内部材を突出させたため、上記効果に加えて、より一層バランスの取れた複数段スライド機構として、シンプルな構成で安定したスライド動作を提供することができる、という効果を奏する。
又、請求項2に記載の発明によれば、上記発明において、複数段スライド機構の第n(nは3又は3以上の複数の連番)のスライド支持部を、卓上切断機の最後部より常に前方に位置するようにしたので、スライド量を充分に確保しても切断時に更に邪魔になり難く、且つ壁際に設置してもスライド量の減らない設置し易い卓上切断機を提供することができる、という効果を奏する。
更に、請求項3に記載の発明によれば、上記発明において、スライド案内部を互いにずらしたので、上記効果に加えて、切断機本体の前後移動をより一層スムーズに行うことができる、という効果を奏する。
加えて、請求項4に記載の発明によれば、上記発明において、スライド案内部にスライドバーを含ませたので、上記効果に加えて、スライド案内部をシンプルに構成することができる、という効果を奏する。
又、請求項5に記載の発明によれば、上記発明において、スライド案内部(ないしスライド支持部)をベースの上方にオーバーラップさせたので、上記効果に加えて、卓上切断機をよりコンパクトにすることができる、という効果を奏する。
更に、請求項6に記載の発明によれば、上記発明において、上部が下部に対して前方に曲げられたアームの当該上部から後方に第1の案内部材を突出させたため、上記効果に加えて、より一層バランスの取れた複数段スライド機構として、シンプルな構成で安定したスライド動作を提供することができる、という効果を奏する。
以下、本発明の実施の形態やその変更例を、適宜図面に基づいて説明する。尚、本発明は、これらの形態や変更例に限定されない。
[第1形態の構成等]
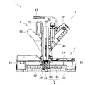
図1は第1形態に係る卓上切断機1の右側面図であり、図2は卓上切断機1の上面図であり、図3は卓上切断機1の前面図である。
卓上切断機1は、作業用机の天板上に据えるベース2と、切断刃4を有する切断機本体6と、ベース2と本体6の間に介装される傾動機構7、複数段スライド機構8及び揺動機構9を備えている。
図1は第1形態に係る卓上切断機1の右側面図であり、図2は卓上切断機1の上面図であり、図3は卓上切断機1の前面図である。
卓上切断機1は、作業用机の天板上に据えるベース2と、切断刃4を有する切断機本体6と、ベース2と本体6の間に介装される傾動機構7、複数段スライド機構8及び揺動機構9を備えている。
ベース2は、ベース枠10と、ベース枠10の上側ないし前側においてベース枠10に対し左右に回転可能に設けられるテーブル12と、テーブル12の上側に配置されるフェンス14を備えている。尚、図1において右が前となり、図2において上が前となる。
ベース枠10は、左右に脚部20を有しており、前部に複数の切り欠きが円筒面上に並べられたノッチ部22を有している。
テーブル12は、円盤状部12aから前方に長尺直方体状の延長部12bが突出した形状となっており、円盤状部12aがベース枠10の上側に配置され、延長部12bがベース枠10の前側に配置される。円盤状部12aないし延長部12bの上面は水平であり、被加工材を載せることが可能である。テーブル12は、円盤状部12aの中心を通る鉛直軸を中心軸として、左右に回転可能である。
テーブル12は、延長部12bの前端部において、テーブル操作レバー24を有している。テーブル12は、ベース枠10におけるノッチ部22の何れかの切り欠きに対して係合する図示しない係合機構を有している。テーブル操作レバー24は、当該係合機構に対し、切り欠きに対する係合ないしその解除を操作可能な状態で連係しており、よって、テーブル12は、テーブル操作レバー24の操作により、ベース枠10に対し、ノッチ部22の切り欠きに対応した角度で任意に回転移動可能であり、又固定可能である。更に、テーブル12は、延長部12bの前下部において、延長部12bに対し上下移動可能な前脚部26を備えている。加えて、テーブル12の上面には、切断刃4の通るスリットである刃口28aを有する刃口板28が設置されている。
フェンス14は、左右に長い部材であり、各端部がベース枠10の脚部20の上側に配置されている。フェンス14は、前面の大部分が平面(位置決め面)とされており、当該位置決め面に被加工材を当てることが可能となっていて、被加工材の位置決めの用に供される。テーブル12の円盤状部12aの中心軸は、当該位置決め面(の延長面)に含まれる。
テーブル12は、円盤状部12aから前方に長尺直方体状の延長部12bが突出した形状となっており、円盤状部12aがベース枠10の上側に配置され、延長部12bがベース枠10の前側に配置される。円盤状部12aないし延長部12bの上面は水平であり、被加工材を載せることが可能である。テーブル12は、円盤状部12aの中心を通る鉛直軸を中心軸として、左右に回転可能である。
テーブル12は、延長部12bの前端部において、テーブル操作レバー24を有している。テーブル12は、ベース枠10におけるノッチ部22の何れかの切り欠きに対して係合する図示しない係合機構を有している。テーブル操作レバー24は、当該係合機構に対し、切り欠きに対する係合ないしその解除を操作可能な状態で連係しており、よって、テーブル12は、テーブル操作レバー24の操作により、ベース枠10に対し、ノッチ部22の切り欠きに対応した角度で任意に回転移動可能であり、又固定可能である。更に、テーブル12は、延長部12bの前下部において、延長部12bに対し上下移動可能な前脚部26を備えている。加えて、テーブル12の上面には、切断刃4の通るスリットである刃口28aを有する刃口板28が設置されている。
フェンス14は、左右に長い部材であり、各端部がベース枠10の脚部20の上側に配置されている。フェンス14は、前面の大部分が平面(位置決め面)とされており、当該位置決め面に被加工材を当てることが可能となっていて、被加工材の位置決めの用に供される。テーブル12の円盤状部12aの中心軸は、当該位置決め面(の延長面)に含まれる。
切断機本体6は、図示しないギア機構を収容するギアハウジング30と、ギアハウジング30の左側に配置され、当該ギア機構を介して切断刃4を回転する図示しないモータを収容するモータハウジング32と、ギアハウジング30の右側に配置され、切断刃4を一部露出する状態で収容するブレードケース34と、切断刃4の周縁に沿って回転可能であるようにブレードケース34に設置された、切断刃4の外周部の一部を覆う保護カバー36を備えている。
又、切断機本体6は、ギアハウジング30やブレードケース34の上側に配置されるハンドル部38を備えている。ハンドル部38は、その前部において前ループ部38aを有し、その後部において後ループ部38bを有している。前ループ部38aの内周側には、トリガ形式のスイッチレバー40が設けられている。スイッチレバー40は、上記モータと電気的に接続されている。前ループ部38aは、主に切断操作時に用いられる。又、後ループ部38bは、主に持ち運び時に用いられる(キャリングハンドル)。
更に、切断機本体6は、ハンドル部38の上部において、小アーム部とその先端に配される照明部を含む照明具42を備えている。又、切断機本体6は、後ループ部38bの後部から外方へ延びる電源コード44を備えている。電源コード44は、上記モータ等に電気的に接続され、又図示しない電源と接続可能であり、卓上切断機1に対し電源からの電気を導入する。尚、図面において、電源コード44は大部分が省略されている。
又、切断機本体6は、ギアハウジング30やブレードケース34の上側に配置されるハンドル部38を備えている。ハンドル部38は、その前部において前ループ部38aを有し、その後部において後ループ部38bを有している。前ループ部38aの内周側には、トリガ形式のスイッチレバー40が設けられている。スイッチレバー40は、上記モータと電気的に接続されている。前ループ部38aは、主に切断操作時に用いられる。又、後ループ部38bは、主に持ち運び時に用いられる(キャリングハンドル)。
更に、切断機本体6は、ハンドル部38の上部において、小アーム部とその先端に配される照明部を含む照明具42を備えている。又、切断機本体6は、後ループ部38bの後部から外方へ延びる電源コード44を備えている。電源コード44は、上記モータ等に電気的に接続され、又図示しない電源と接続可能であり、卓上切断機1に対し電源からの電気を導入する。尚、図面において、電源コード44は大部分が省略されている。
傾動機構7は、テーブル12の上面に含まれ且つテーブル12の回転中心を通る前後方向の軸の周りで、切断機本体6と複数段スライド機構8を左に傾けて(あるいは傾けないで)固定する。傾動機構7により傾動可能である範囲は、切断機本体6が傾かない(切断刃4が鉛直である)状態から、左に45°程度傾いた状態までである。
傾動機構7は、ベース2(ベース枠10)後部と一体に設けられた保持部50と、保持部50に対し左右に傾動可能に設けられた後述のアーム52を締め付けにより固定し、開放により傾動を許容する傾動移動用レバー54を備えている。
尚、傾動機構7あるいは保持部50について、ベース2あるいは複数段スライド機構8の要素として扱うことが可能である。
傾動機構7は、ベース2(ベース枠10)後部と一体に設けられた保持部50と、保持部50に対し左右に傾動可能に設けられた後述のアーム52を締め付けにより固定し、開放により傾動を許容する傾動移動用レバー54を備えている。
尚、傾動機構7あるいは保持部50について、ベース2あるいは複数段スライド機構8の要素として扱うことが可能である。
複数段スライド機構8は、切断機本体6を、前後方向に移動させる。複数段スライド機構8は、傾動機構7により切断機本体6を傾動させない場合には、図1〜3の状態から図4〜5に示す状態までにおいて、切断機本体6をスライド移動させる。尚、複数段スライド機構8は、傾動機構7により切断機本体6を傾動させた場合でも、傾動させない場合と同様に前後移動可能である。
複数段スライド機構8は、上述のアーム52と、アーム52の上部から後方へ突出するように設置された2本の第1スライドバー60,60と、各第1スライドバー60の後端部に共通に配置される第1スライドバー止め62と、各第1スライドバー60上を前後に移動可能であり各第1スライドバー60に案内される第1スライド支持部64を備えている。アーム52及び第1スライドバー60,60は、第1スライド案内部を構成し、各第1スライドバー60は、第1案内部材を構成する。
複数段スライド機構8は、上述のアーム52と、アーム52の上部から後方へ突出するように設置された2本の第1スライドバー60,60と、各第1スライドバー60の後端部に共通に配置される第1スライドバー止め62と、各第1スライドバー60上を前後に移動可能であり各第1スライドバー60に案内される第1スライド支持部64を備えている。アーム52及び第1スライドバー60,60は、第1スライド案内部を構成し、各第1スライドバー60は、第1案内部材を構成する。
アーム52は、上下方向に長い部材であり、アーム下部52aにおいて傾動移動用レバー54と連係されており、又保持部50に傾動可能に支持されている。アーム52は、傾動機構7により左右方向にスイングするものの、前後方向にスライド不能である。又、アーム52は、アーム上部52bがアーム下部52aに対して前方に出るよう、前方に向かい斜行するアーム中央部52cを有している。尚、アーム52について、複数段スライド機構8ではなく傾動機構7あるいはベース2の要素として扱うことが可能である。
第1スライドバー60,60は、前後方向に沿うバーであり、互いに平行である状態で上下に配置され、上の第1スライドバー60が下の第1スライドバー60より平面視で右側となるように配置されている。アーム上部52bと第1スライドバー止め62は、第1スライドバー60,60の配置に合わせ、上に行くほど右に寄るよう右に傾いている。
アーム上部52bは、第1スライドバー60,60の前端部を共に保持しており、当該前端部まで移動してきた第1スライド支持部64を止める。
第1スライドバー止め62は、第1スライドバー60,60の後端部を共に保持しており、当該後端部まで移動してきた第1スライド支持部64を止める。
第1スライド支持部64は、アーム上部52bや第1スライドバー止め62と同様に傾いている第1スライドバー受け部64aと、第1スライドバー受け部64aの前下部から上方へ突出するように設けられた第2スライドバー止め部64bを有する。第1スライドバー受け部64aと第2スライドバー止め部64bは、一体である。第1スライドバー受け部64aは、図示しない上下2個の前後方向の孔において第1スライドバー60,60を受け入れている。当該孔のうち上の孔には、円筒状のベアリング64cが1個配置されており、下の孔には、円筒状のベアリング64c,64cが、前後に2個配置されている。各ベアリング64cは、リニアボールベアリングであり、第1スライドバー60上を移動可能であるように、第1スライドバー60を受け入れている。各ベアリング64cは、第1スライド支持部64の構成要素として扱うことができる。
第1スライドバー60,60は、前後方向に沿うバーであり、互いに平行である状態で上下に配置され、上の第1スライドバー60が下の第1スライドバー60より平面視で右側となるように配置されている。アーム上部52bと第1スライドバー止め62は、第1スライドバー60,60の配置に合わせ、上に行くほど右に寄るよう右に傾いている。
アーム上部52bは、第1スライドバー60,60の前端部を共に保持しており、当該前端部まで移動してきた第1スライド支持部64を止める。
第1スライドバー止め62は、第1スライドバー60,60の後端部を共に保持しており、当該後端部まで移動してきた第1スライド支持部64を止める。
第1スライド支持部64は、アーム上部52bや第1スライドバー止め62と同様に傾いている第1スライドバー受け部64aと、第1スライドバー受け部64aの前下部から上方へ突出するように設けられた第2スライドバー止め部64bを有する。第1スライドバー受け部64aと第2スライドバー止め部64bは、一体である。第1スライドバー受け部64aは、図示しない上下2個の前後方向の孔において第1スライドバー60,60を受け入れている。当該孔のうち上の孔には、円筒状のベアリング64cが1個配置されており、下の孔には、円筒状のベアリング64c,64cが、前後に2個配置されている。各ベアリング64cは、リニアボールベアリングであり、第1スライドバー60上を移動可能であるように、第1スライドバー60を受け入れている。各ベアリング64cは、第1スライド支持部64の構成要素として扱うことができる。
又、複数段スライド機構8は、第1スライド支持部64の第2スライドバー止め部64bから前方へ突出するように設置された第2スライドバー70,70と、各第2スライドバー70の前端部に共通に配置される第2スライドバー止め72と、第2スライドバー70,70上を前後に移動可能であり第2スライドバー70,70に案内される第2スライド支持部74を備えている。第2スライドバー70,70は、第2スライド案内部を構成し、各第2スライドバー70は、第2案内部材を構成する。
第2スライドバー70,70は、上下に配置されており、下のものの真上に上のものが配置される。下の第2スライドバー70は、下の第1スライドバー60の左上に位置する。
第2スライドバー止め72は、上下方向に沿うように配置される。
第1スライド支持部64の第2スライドバー止め部64bは、各第2スライドバー70の後端部を共に保持しており、当該後端部まで移動してきた第2スライド支持部74を止める。第2スライドバー止め72は、各第2スライドバー70の前端部を共に保持しており、当該前端部まで移動してきた第2スライド支持部74を止める。
第2スライド支持部74は、上下方向に沿う厚板状の部分である第2スライド支持部基部74aと、第2スライド支持部基部74aの右面下部から下方に突出する状態で第2スライド支持部基部74aに固定した連結板部74bを有している。第2スライド支持部基部74aに設けられた図示しない上下2個の前後方向の孔において第2スライドバー70をそれぞれ受け入れている。当該上下の孔には、何れか一方の第2スライドバー70を受け入れる円筒状のベアリング74c,74c・・が、ベアリング64c,64c・・と同様に設置されている。連結板部74bは、前後上下に広がっており、その右側に、ブレードケース34の左側後部が配置されている。
尚、第2スライド支持部74について、揺動機構9あるいは切断機本体6の要素として扱うことが可能である。
第2スライドバー70,70は、上下に配置されており、下のものの真上に上のものが配置される。下の第2スライドバー70は、下の第1スライドバー60の左上に位置する。
第2スライドバー止め72は、上下方向に沿うように配置される。
第1スライド支持部64の第2スライドバー止め部64bは、各第2スライドバー70の後端部を共に保持しており、当該後端部まで移動してきた第2スライド支持部74を止める。第2スライドバー止め72は、各第2スライドバー70の前端部を共に保持しており、当該前端部まで移動してきた第2スライド支持部74を止める。
第2スライド支持部74は、上下方向に沿う厚板状の部分である第2スライド支持部基部74aと、第2スライド支持部基部74aの右面下部から下方に突出する状態で第2スライド支持部基部74aに固定した連結板部74bを有している。第2スライド支持部基部74aに設けられた図示しない上下2個の前後方向の孔において第2スライドバー70をそれぞれ受け入れている。当該上下の孔には、何れか一方の第2スライドバー70を受け入れる円筒状のベアリング74c,74c・・が、ベアリング64c,64c・・と同様に設置されている。連結板部74bは、前後上下に広がっており、その右側に、ブレードケース34の左側後部が配置されている。
尚、第2スライド支持部74について、揺動機構9あるいは切断機本体6の要素として扱うことが可能である。
複数段スライド機構8は、第1スライド支持部64と第2スライド支持部74を有する、2段のスライド機構となっている。
第1スライド支持部64を案内する第1スライドバー60,60が、上の第1スライドバー60につき下の第1スライドバー60より平面視で右側に位置する状態で設置されている一方、第2スライド支持部74を案内する第2スライドバー70,70が、上の第2スライドバー70につき、各第1スライドバー60より左方にある下の第2スライドバー70の真上に配置した状態で設置されており、第1スライドバー60,60と第2スライドバー70,70は、左右方向において互いにずれている。
又、複数段スライド機構8における各第1スライドバー60後端の第1スライドバー止め62が、卓上切断機1における最後部となっている。
第1スライド支持部64を案内する第1スライドバー60,60が、上の第1スライドバー60につき下の第1スライドバー60より平面視で右側に位置する状態で設置されている一方、第2スライド支持部74を案内する第2スライドバー70,70が、上の第2スライドバー70につき、各第1スライドバー60より左方にある下の第2スライドバー70の真上に配置した状態で設置されており、第1スライドバー60,60と第2スライドバー70,70は、左右方向において互いにずれている。
又、複数段スライド機構8における各第1スライドバー60後端の第1スライドバー止め62が、卓上切断機1における最後部となっている。
揺動機構9は、切断機本体6を、上下に揺動可能に支持するものである。当該揺動の範囲は、図示の状態(切断刃4の下縁部が刃口28aに入っている状態)から、50°程度上方に移動するまでである。
揺動機構9は、連結板部74bとブレードケース34後部を通される揺動用軸80を有する。
揺動機構9により切断機本体6を上方に移動した場合、その揺動に連動して、保護カバー36が回転し、切断刃4の上方ないし前方に位置していた状態(図示の状態)から、切断刃4の前方ないし下方に位置する状態となる。
尚、揺動機構9について、複数段スライド機構8あるいは切断機本体6の要素として扱うことが可能である。
揺動機構9は、連結板部74bとブレードケース34後部を通される揺動用軸80を有する。
揺動機構9により切断機本体6を上方に移動した場合、その揺動に連動して、保護カバー36が回転し、切断刃4の上方ないし前方に位置していた状態(図示の状態)から、切断刃4の前方ないし下方に位置する状態となる。
尚、揺動機構9について、複数段スライド機構8あるいは切断機本体6の要素として扱うことが可能である。
[第1形態の動作等]
このような卓上切断機1の動作例を説明する。
作業者は、ベース2を作業机の天面等に設置し、適宜、切断機本体6を前方に位置させ、傾動機構7により切断機本体6の傾きを決定して、テーブル12の回転位置やフェンス14の位置を調節し、テーブル12に被加工材を置く。そして、ハンドル部38を把持し、切断機本体6を図示の状態に下げて、スイッチレバー40を引くと、電源コード44を介してモータへの給電がなされ、切断刃4が回転する。
このような卓上切断機1の動作例を説明する。
作業者は、ベース2を作業机の天面等に設置し、適宜、切断機本体6を前方に位置させ、傾動機構7により切断機本体6の傾きを決定して、テーブル12の回転位置やフェンス14の位置を調節し、テーブル12に被加工材を置く。そして、ハンドル部38を把持し、切断機本体6を図示の状態に下げて、スイッチレバー40を引くと、電源コード44を介してモータへの給電がなされ、切断刃4が回転する。
この状態で、作業者がハンドル部38を後方に押していくと、切断機本体6が複数段スライド機構8により後方に移動し、テーブル12上の被加工材に、回転する切断刃4が当たって、被加工材が切断されていく。
切断機本体6を最前方に位置させると(図4〜5)、第1スライド支持部64と第2スライド支持部74が双方とも最前方に位置し、切断刃4の下縁部が刃口28aの前端部に位置する。又、切断機本体6を最後方に位置させると(図1〜3)、第1スライド支持部64と第2スライド支持部74が双方とも最後方に位置し、切断刃4の下縁部が刃口28aの後端部に位置する。
切断機本体6のスライドによる前後移動において、第1スライド支持部64や第2スライド支持部74、各第2スライドバー70は移動するが、各第1スライドバー60やアーム52は移動しない。
切断機本体6を最前方に位置させると(図4〜5)、第1スライド支持部64と第2スライド支持部74が双方とも最前方に位置し、切断刃4の下縁部が刃口28aの前端部に位置する。又、切断機本体6を最後方に位置させると(図1〜3)、第1スライド支持部64と第2スライド支持部74が双方とも最後方に位置し、切断刃4の下縁部が刃口28aの後端部に位置する。
切断機本体6のスライドによる前後移動において、第1スライド支持部64や第2スライド支持部74、各第2スライドバー70は移動するが、各第1スライドバー60やアーム52は移動しない。
[第1形態の効果等]
以上の卓上切断機1は、被加工材が載せられるベース2と、当該被加工材を切断する切断刃4が設けられた切断機本体6と、ベース2と切断機本体6に介在する複数段スライド機構8とを備えており、複数段スライド機構8は、前後方向へのスライドが不能な状態でベース2に接続される各第1スライドバー60及びアーム52と、前後方向へのスライドが可能な状態で、第1スライドバー60,60に案内される第1スライド支持部64と、第1スライド支持部64に支持される各第2スライドバー70と、卓上切断機1の最後部(第1スライドバー止め62)より前方において前後方向へのスライドが可能な状態で、第2スライドバー70,70に案内される第2スライド支持部74とを含んでいる。
よって、第1スライド支持部64及び第2スライド支持部74に係る2段のスライドにより、スライド量を充分に確保することができ、更に、同等のスライド量となる1段のスライド機構と比べ、スライド支持部案内用のスライドバーに係る前後の大きさが切断機本体6の後方移動時に小さくなって、切断時に邪魔になり難い。又、第1スライド支持部64を案内する各第1スライドバー60及びアーム52がベース2に前後方向へのスライドが不能な状態で接続されると共に、第2スライド支持部74が第1スライド支持部64の前方において案内されることにより、切断機本体6の前後移動時に第1スライドバー止め62より後方に複数段スライド機構8が突出することがなく、卓上切断機1の後部を壁際に設置した際に複数段スライド機構8が壁に当たる事態を防止することができ、スライド量の減らない状態で壁際に設置可能な設置し易いものとすることができる。
以上の卓上切断機1は、被加工材が載せられるベース2と、当該被加工材を切断する切断刃4が設けられた切断機本体6と、ベース2と切断機本体6に介在する複数段スライド機構8とを備えており、複数段スライド機構8は、前後方向へのスライドが不能な状態でベース2に接続される各第1スライドバー60及びアーム52と、前後方向へのスライドが可能な状態で、第1スライドバー60,60に案内される第1スライド支持部64と、第1スライド支持部64に支持される各第2スライドバー70と、卓上切断機1の最後部(第1スライドバー止め62)より前方において前後方向へのスライドが可能な状態で、第2スライドバー70,70に案内される第2スライド支持部74とを含んでいる。
よって、第1スライド支持部64及び第2スライド支持部74に係る2段のスライドにより、スライド量を充分に確保することができ、更に、同等のスライド量となる1段のスライド機構と比べ、スライド支持部案内用のスライドバーに係る前後の大きさが切断機本体6の後方移動時に小さくなって、切断時に邪魔になり難い。又、第1スライド支持部64を案内する各第1スライドバー60及びアーム52がベース2に前後方向へのスライドが不能な状態で接続されると共に、第2スライド支持部74が第1スライド支持部64の前方において案内されることにより、切断機本体6の前後移動時に第1スライドバー止め62より後方に複数段スライド機構8が突出することがなく、卓上切断機1の後部を壁際に設置した際に複数段スライド機構8が壁に当たる事態を防止することができ、スライド量の減らない状態で壁際に設置可能な設置し易いものとすることができる。
又、第1スライド支持部64を案内する各第1スライドバー60と、第2スライド支持部74を案内する各第2スライドバー70が設けられており、各第1スライドバー60と各第2スライドバー70は、左右方向において互いにずれているので、第1スライド支持部64と第2スライド支持部74が互いに引っ掛かる事態を防止することができ、切断機本体6の前後移動時の操作性が良好であり且つ設置し易い卓上切断機1における、切断機本体6の前後移動に係る動作を更に円滑なものとすることができる。
更に、第1スライド支持部64や第2スライド支持部74を案内するものは、第1スライドバー60や第2スライドバー70であるため、第1スライド支持部64や第2スライド支持部74を案内する機構をシンプルに構成することができる。
又更に、各第1スライドバー60及びアーム52や、各第2スライドバー70は、ベース2の上方に配置されているため、各第1スライドバー60や各第2スライドバー70とベース2を上下にオーバーラップさせることができ、前後方向あるいは左右方向においてコンパクト化を図ることができる。
加えて、各第1スライドバー60及びアーム52は、第1スライド支持部64を案内する各第1スライドバー60、及び各第1スライドバー60とベース2の間に介在するアーム52を含んでおり、アーム52は、アーム上部52bがアーム下部52aに対して前方に位置する形状となっており、各第1スライドバー60は、アーム上部52bの後部から後方へ突出する状態で、アーム52に固定されているので、第1スライド支持部64の前方でスライドする第2スライド支持部74や、これを案内する各第2スライドバー70との前後方向のバランスを確保することができ、動作を円滑なものとすることができるし、各第1スライドバー60の後端(第1スライドバー止め62)をより前方に配置して、前後方向にコンパクトにすることができる。
更に、第1スライド支持部64や第2スライド支持部74を案内するものは、第1スライドバー60や第2スライドバー70であるため、第1スライド支持部64や第2スライド支持部74を案内する機構をシンプルに構成することができる。
又更に、各第1スライドバー60及びアーム52や、各第2スライドバー70は、ベース2の上方に配置されているため、各第1スライドバー60や各第2スライドバー70とベース2を上下にオーバーラップさせることができ、前後方向あるいは左右方向においてコンパクト化を図ることができる。
加えて、各第1スライドバー60及びアーム52は、第1スライド支持部64を案内する各第1スライドバー60、及び各第1スライドバー60とベース2の間に介在するアーム52を含んでおり、アーム52は、アーム上部52bがアーム下部52aに対して前方に位置する形状となっており、各第1スライドバー60は、アーム上部52bの後部から後方へ突出する状態で、アーム52に固定されているので、第1スライド支持部64の前方でスライドする第2スライド支持部74や、これを案内する各第2スライドバー70との前後方向のバランスを確保することができ、動作を円滑なものとすることができるし、各第1スライドバー60の後端(第1スライドバー止め62)をより前方に配置して、前後方向にコンパクトにすることができる。
[第2形態の構成等]
図6は第2形態に係る卓上切断機101の図1相当図であり、図7は第2形態の図2相当図であり、図8は第2形態の図3相当図であり、図9は第2形態の図4相当図であり、図10は第2形態の図5相当図である。
第2形態の卓上切断機101は、複数段スライド機構を除き、第1形態と同様に構成される。以下、第1形態と同様の部材には同じ符号を付し、適宜説明を省略する。
図6は第2形態に係る卓上切断機101の図1相当図であり、図7は第2形態の図2相当図であり、図8は第2形態の図3相当図であり、図9は第2形態の図4相当図であり、図10は第2形態の図5相当図である。
第2形態の卓上切断機101は、複数段スライド機構を除き、第1形態と同様に構成される。以下、第1形態と同様の部材には同じ符号を付し、適宜説明を省略する。
第2形態の複数段スライド機構108は、アーム152と、アーム152の上部から前方へ突出するように設置された各第1スライドバー160と、各第1スライドバー160の前端部に共通に配置される第1スライドバー止め162と、第1スライドバー160,160上を前後に移動可能であり第1スライドバー160,160に案内される第1スライド支持部164を備えている。各第1スライドバー160及びアーム152は、第1スライド案内部を構成し、各第1スライドバー160は、第1案内部材を構成する。
アーム152は、上下方向に長い部材であり、アーム下部152aにおいて傾動移動用レバー54と連係されており、又保持部50に傾動可能に支持されている。アーム152は、傾動機構7により左右方向にスイングするものの、前後方向にスライド不能である。又、アーム152は、アーム上部152bがアーム下部152aに対して後方に出るよう、後方に向かい斜行するアーム中央部152cを有している。
第1スライドバー160,160は、前後方向に沿っており互いに平行である状態で上下に配置され、上の第1スライドバー160が下の第1スライドバー160より平面視で右側となるように配置されている。アーム上部152bと第1スライドバー止め162は、第1スライドバー160,160の配置に合わせ、上に行くほど右に寄るよう右に傾いている。
アーム上部152bは、第1スライドバー160,160の後端部を共に保持しており、当該後端部まで移動してきた第1スライド支持部164を止める。
第1スライドバー止め162は、第1スライドバー160,160の前端部を共に保持しており、当該前端部まで移動してきた第1スライド支持部64を止める。
第1スライド支持部164は、アーム上部152bや第1スライドバー止め162と同様に傾いている第1スライドバー受け部164aと、第1スライドバー受け部64aの後下部から上方へ突出するように設けられた第2スライドバー止め部164bと、これらを繋ぐ連結部164cを有する。第1スライドバー受け部164a、第2スライドバー止め部164b、及び連結部164cは、一体である。第1スライドバー受け部164aは、図示しない上下2個の前後方向の孔において第1スライドバー160,160を受け入れている。当該上下の孔には、何れか一方の第1スライドバー160を受け入れる円筒状のベアリング164d,164d・・が、ベアリング74c,74c・・と同様に設置されている。
第1スライドバー160,160は、前後方向に沿っており互いに平行である状態で上下に配置され、上の第1スライドバー160が下の第1スライドバー160より平面視で右側となるように配置されている。アーム上部152bと第1スライドバー止め162は、第1スライドバー160,160の配置に合わせ、上に行くほど右に寄るよう右に傾いている。
アーム上部152bは、第1スライドバー160,160の後端部を共に保持しており、当該後端部まで移動してきた第1スライド支持部164を止める。
第1スライドバー止め162は、第1スライドバー160,160の前端部を共に保持しており、当該前端部まで移動してきた第1スライド支持部64を止める。
第1スライド支持部164は、アーム上部152bや第1スライドバー止め162と同様に傾いている第1スライドバー受け部164aと、第1スライドバー受け部64aの後下部から上方へ突出するように設けられた第2スライドバー止め部164bと、これらを繋ぐ連結部164cを有する。第1スライドバー受け部164a、第2スライドバー止め部164b、及び連結部164cは、一体である。第1スライドバー受け部164aは、図示しない上下2個の前後方向の孔において第1スライドバー160,160を受け入れている。当該上下の孔には、何れか一方の第1スライドバー160を受け入れる円筒状のベアリング164d,164d・・が、ベアリング74c,74c・・と同様に設置されている。
又、複数段スライド機構108は、第1スライド支持部164の第2スライドバー止め部164bから前方へ突出するように設置された第2スライドバー70,70と、各第2スライドバー70の前端部に共通に配置される第2スライドバー止め72と、第2スライドバー70,70上を前後に移動可能であり第2スライドバー70,70に案内される第2スライド支持部74を備えている。第2スライドバー70,70は、第2スライド案内部を構成し、各第2スライドバー70は、第2案内部材を構成する。
第1スライド支持部164の第2スライドバー止め部164bは、第2スライドバー70,70の後端部を共に保持しており、当該後端部まで移動してきた第2スライド支持部74を止める。第2スライドバー止め72は、第2スライドバー70,70の前端部を共に保持しており、当該前端部まで移動してきた第2スライド支持部74を止める。
第1スライド支持部164の第2スライドバー止め部164bは、第2スライドバー70,70の後端部を共に保持しており、当該後端部まで移動してきた第2スライド支持部74を止める。第2スライドバー止め72は、第2スライドバー70,70の前端部を共に保持しており、当該前端部まで移動してきた第2スライド支持部74を止める。
複数段スライド機構108は、第1スライド支持部164と第2スライド支持部74を有する、2段のスライド機構となっている。
第1スライド支持部164を案内する第1スライドバー160,160が、上の第1スライドバー160につき下の第1スライドバー160より平面視で右側に位置する状態で設置されている一方、第2スライド支持部74を案内する第2スライドバー70,70が、上の第2スライドバー70につき、各第1スライドバー160より左方にある下の第2スライドバー70の真上に配置した状態で設置されており、第1スライドバー160,160と第2スライドバー70,70は、左右方向において互いにオフセットしている。
又、複数段スライド機構108におけるアーム上部152bが、卓上切断機101における最後部となっている。
第1スライド支持部164を案内する第1スライドバー160,160が、上の第1スライドバー160につき下の第1スライドバー160より平面視で右側に位置する状態で設置されている一方、第2スライド支持部74を案内する第2スライドバー70,70が、上の第2スライドバー70につき、各第1スライドバー160より左方にある下の第2スライドバー70の真上に配置した状態で設置されており、第1スライドバー160,160と第2スライドバー70,70は、左右方向において互いにオフセットしている。
又、複数段スライド機構108におけるアーム上部152bが、卓上切断機101における最後部となっている。
[第2形態の動作等]
卓上切断機101の動作例を説明する。
作業者がハンドル部38を後方に押していくと、切断機本体6が複数段スライド機構108により後方に移動し、テーブル12上の被加工材に、回転する切断刃4が当たって、被加工材が切断されていく。
切断機本体6を最前方に位置させると(図9〜10)、第1スライド支持部164と第2スライド支持部74が双方とも最前方に位置し、切断刃4の下縁部が刃口28aの前端部に位置する。又、切断機本体6を最後方に位置させると(図6〜8)、第1スライド支持部164と第2スライド支持部74が双方とも最後方に位置し、切断刃4の下縁部が刃口28aの後端部に位置する。
切断機本体6のスライドによる前後移動において、第1スライド支持部164や第2スライド支持部74、第2スライドバー70,70は移動するが、第1スライドバー160,160やアーム152は移動しない。
卓上切断機101の動作例を説明する。
作業者がハンドル部38を後方に押していくと、切断機本体6が複数段スライド機構108により後方に移動し、テーブル12上の被加工材に、回転する切断刃4が当たって、被加工材が切断されていく。
切断機本体6を最前方に位置させると(図9〜10)、第1スライド支持部164と第2スライド支持部74が双方とも最前方に位置し、切断刃4の下縁部が刃口28aの前端部に位置する。又、切断機本体6を最後方に位置させると(図6〜8)、第1スライド支持部164と第2スライド支持部74が双方とも最後方に位置し、切断刃4の下縁部が刃口28aの後端部に位置する。
切断機本体6のスライドによる前後移動において、第1スライド支持部164や第2スライド支持部74、第2スライドバー70,70は移動するが、第1スライドバー160,160やアーム152は移動しない。
[第2形態の効果等]
以上の卓上切断機101は、被加工材が載せられるベース2と、当該被加工材を切断する切断刃4が設けられた切断機本体6と、ベース2と切断機本体6に介在する複数段スライド機構108とを備えており、複数段スライド機構108は、前後方向へのスライドが不能な状態でベース2に接続される各第1スライドバー160及びアーム152と、前後方向へのスライドが可能な状態で、第1スライドバー160,160に案内される第1スライド支持部164と、第1スライド支持部164に支持される各第2スライドバー70と、卓上切断機1の最後部(第1スライドバー160後端のアーム上部152a)より前方において前後方向へのスライドが可能な状態で、第2スライドバー70,70に案内される第2スライド支持部74とを含んでいる。
よって、第1スライド支持部164及び第2スライド支持部74に係る2段のスライドにより、スライド量を充分に確保することができ、更に、同等のスライド量となる1段のスライド機構と比べ、スライド支持部案内用のスライドバーに係る前後の大きさが切断機本体6の後方移動時に小さくなって、切断時に邪魔になり難い。又、第1スライド支持部164を案内する各第1スライドバー160及びアーム152がベース2に前後方向へのスライドが不能な状態で接続されると共に、第2スライド支持部74が第1スライド支持部164の前方に支持されることにより、切断機本体6の前後移動時にアーム152より後方に複数段スライド機構108が突出することがなく、卓上切断機101の後部を壁際に設置した際に複数段スライド機構108が壁に当たる事態を防止することができ、スライド量の減らない状態で壁際に設置可能な設置し易いものとすることができる。
以上の卓上切断機101は、被加工材が載せられるベース2と、当該被加工材を切断する切断刃4が設けられた切断機本体6と、ベース2と切断機本体6に介在する複数段スライド機構108とを備えており、複数段スライド機構108は、前後方向へのスライドが不能な状態でベース2に接続される各第1スライドバー160及びアーム152と、前後方向へのスライドが可能な状態で、第1スライドバー160,160に案内される第1スライド支持部164と、第1スライド支持部164に支持される各第2スライドバー70と、卓上切断機1の最後部(第1スライドバー160後端のアーム上部152a)より前方において前後方向へのスライドが可能な状態で、第2スライドバー70,70に案内される第2スライド支持部74とを含んでいる。
よって、第1スライド支持部164及び第2スライド支持部74に係る2段のスライドにより、スライド量を充分に確保することができ、更に、同等のスライド量となる1段のスライド機構と比べ、スライド支持部案内用のスライドバーに係る前後の大きさが切断機本体6の後方移動時に小さくなって、切断時に邪魔になり難い。又、第1スライド支持部164を案内する各第1スライドバー160及びアーム152がベース2に前後方向へのスライドが不能な状態で接続されると共に、第2スライド支持部74が第1スライド支持部164の前方に支持されることにより、切断機本体6の前後移動時にアーム152より後方に複数段スライド機構108が突出することがなく、卓上切断機101の後部を壁際に設置した際に複数段スライド機構108が壁に当たる事態を防止することができ、スライド量の減らない状態で壁際に設置可能な設置し易いものとすることができる。
又、第1スライド支持部164を案内する各第1スライドバー160と、第2スライド支持部74を案内する各第2スライドバー70が設けられており、各第1スライドバー160と各第2スライドバー70は、左右方向において互いにずれているので、第1スライド支持部164と第2スライド支持部74が互いに引っ掛かる事態を防止することができ、切断機本体6の前後移動時の操作性が良好であり且つ設置し易い卓上切断機101における、切断機本体6の前後移動に係る動作を更に円滑なものとすることができる。
更に、第1スライド支持部164や第2スライド支持部74を案内するものは、各第1スライドバー160や各第2スライドバー70であるため、第1スライド支持部64や第2スライド支持部74を案内する機構をシンプルに構成することができる。
又更に、各第1スライドバー160及びアーム52や、各第2スライドバー70は、ベース2の上方に配置されているため、第1スライドバー160や第2スライドバー70とベース2を上下にオーバーラップさせることができ、前後方向あるいは左右方向においてコンパクト化を図ることができる。
更に、第1スライド支持部164や第2スライド支持部74を案内するものは、各第1スライドバー160や各第2スライドバー70であるため、第1スライド支持部64や第2スライド支持部74を案内する機構をシンプルに構成することができる。
又更に、各第1スライドバー160及びアーム52や、各第2スライドバー70は、ベース2の上方に配置されているため、第1スライドバー160や第2スライドバー70とベース2を上下にオーバーラップさせることができ、前後方向あるいは左右方向においてコンパクト化を図ることができる。
[上記形態の変更例等]
尚、本発明は上記形態に限定されず、例えば次のような変更を適宜施すことができる。
複数段スライド機構8,108を、3段のスライド機構とする。
より詳しくは、第2スライド支持部74を、第1スライド支持部64,164と同様に形成し、第3スライドバーを有するものとする。第3スライドバーは、第2スライド支持部74の前方に突出させても良いし、第1スライドバー60,160の後端より常に前方にある状態であれば、第2スライド支持部74の後方に突出させても良い。
又、第3スライドバーには、第3スライド支持部をスライド可能に配置し、その第3スライド支持部に、揺動機構9を介して切断機本体6を取り付ける。更に、第3スライドバーに、第3スライドバー止めを配することができる。尚、第3スライドバーが第1スライドバー60,160の後端より常に前方にある状態について換言すると、第1スライド支持部ないし第3スライド支持部が何れも最後方に位置した場合に、第3スライド支持部が第1スライドバー60,160の後端より前方にある、ということになる。又、第3スライドバーや第3スライド支持部につき、第1スライドバー60,160の後端より後方に突出する別部材を有する、上記形態とは別形状の卓上切断機において、その卓上切断機の最後部より前に配置することができる。更に、このような卓上切断機において、第2スライドバーを第1スライド支持部の後部から後方に突出させる(ただし卓上切断機の最後部より常に前になるようにする)ことができる。
同様に、複数段スライド機構8,108を、4段以上のスライド機構とすることも可能である。
尚、本発明は上記形態に限定されず、例えば次のような変更を適宜施すことができる。
複数段スライド機構8,108を、3段のスライド機構とする。
より詳しくは、第2スライド支持部74を、第1スライド支持部64,164と同様に形成し、第3スライドバーを有するものとする。第3スライドバーは、第2スライド支持部74の前方に突出させても良いし、第1スライドバー60,160の後端より常に前方にある状態であれば、第2スライド支持部74の後方に突出させても良い。
又、第3スライドバーには、第3スライド支持部をスライド可能に配置し、その第3スライド支持部に、揺動機構9を介して切断機本体6を取り付ける。更に、第3スライドバーに、第3スライドバー止めを配することができる。尚、第3スライドバーが第1スライドバー60,160の後端より常に前方にある状態について換言すると、第1スライド支持部ないし第3スライド支持部が何れも最後方に位置した場合に、第3スライド支持部が第1スライドバー60,160の後端より前方にある、ということになる。又、第3スライドバーや第3スライド支持部につき、第1スライドバー60,160の後端より後方に突出する別部材を有する、上記形態とは別形状の卓上切断機において、その卓上切断機の最後部より前に配置することができる。更に、このような卓上切断機において、第2スライドバーを第1スライド支持部の後部から後方に突出させる(ただし卓上切断機の最後部より常に前になるようにする)ことができる。
同様に、複数段スライド機構8,108を、4段以上のスライド機構とすることも可能である。
3段以上のスライド機構について、次のように述べることができる。
即ち、第n−1のスライド支持部に支持される第nのスライド案内部と、卓上切断機の最後部(第1スライドバーの後端又は当該後端に取り付けられる部材等)より前方において前後方向へのスライドが可能な状態で、第nのスライド案内部に案内される第nのスライド支持部が更に設けられる。
ここで、nは、3段の場合は3であり、4段の場合は3と4であり、5段の場合は、3と4と5であり、以下同様である。これを式で表すと、n={3}or{3,4}or{3,4,5}or・・となる。
尚、このような3段以上のスライド機構であっても、第1スライド支持部と、卓上切断機の最後部より前方でスライドする第2スライド支持部を含んでいることに変わりはない。
即ち、第n−1のスライド支持部に支持される第nのスライド案内部と、卓上切断機の最後部(第1スライドバーの後端又は当該後端に取り付けられる部材等)より前方において前後方向へのスライドが可能な状態で、第nのスライド案内部に案内される第nのスライド支持部が更に設けられる。
ここで、nは、3段の場合は3であり、4段の場合は3と4であり、5段の場合は、3と4と5であり、以下同様である。これを式で表すと、n={3}or{3,4}or{3,4,5}or・・となる。
尚、このような3段以上のスライド機構であっても、第1スライド支持部と、卓上切断機の最後部より前方でスライドする第2スライド支持部を含んでいることに変わりはない。
ベース2においてテーブル12を省略したり、傾動機構7を省略したり、切断機本体6のハンドル部38のループ数を1又は3以上としたり、スイッチレバー40をプッシュスイッチとしたり、照明具42を省略したりする等、適宜部材や機構を省略し、変更しあるいは追加する。
ギアハウジング30とモータハウジング32を統合し、あるいはギアハウジング30を分割する等、各種ハウジングやケースの分け方を変える。
各スライド支持部の案内を、1本又は3本以上のスライドバーによるものとしたり、ボールネジによるものとしたり、ベルトやチェーンによるものとしたり、これらの組合せとしたりする。
電源コード44による給電に変えて、バッテリによる給電とする。そのバッテリを、ベース2や切断機本体6等に装着可能にする。
ギアハウジング30とモータハウジング32を統合し、あるいはギアハウジング30を分割する等、各種ハウジングやケースの分け方を変える。
各スライド支持部の案内を、1本又は3本以上のスライドバーによるものとしたり、ボールネジによるものとしたり、ベルトやチェーンによるものとしたり、これらの組合せとしたりする。
電源コード44による給電に変えて、バッテリによる給電とする。そのバッテリを、ベース2や切断機本体6等に装着可能にする。
1,101・・卓上切断機、2・・ベース、4・・切断刃、6・・切断機本体、8,108・・複数段スライド機構、52,152・・アーム(第1のスライド案内部の一部)、52a,152a・・アーム下部、52b・・アーム上部、60,160・・第1スライドバー(第1のスライド案内部の一部,第1の案内部材)、62・・第1スライドバー止め(各第1スライドバー60の後端、卓上切断機1の最後部)、64,164・・第1スライド支持部、70・・第2スライドバー(第2のスライド案内部)、74・・第2スライド支持部、152b・・アーム上部(各第1スライドバー160の後端、卓上切断機101の最後部)。
Claims (6)
- 被加工材が載せられるベースと、
前記被加工材を切断する切断刃が設けられた切断機本体と、
前記ベースと前記切断機本体に介在する複数段スライド機構と
を備えた卓上切断機であって、
前記複数段スライド機構は、
前後方向へのスライドが不能な状態で前記ベースに接続される第1のスライド案内部と、
前後方向へのスライドが可能な状態で、前記第1のスライド案内部に案内される第1のスライド支持部と、
前記第1のスライド支持部に支持される第2のスライド案内部と、
前記卓上切断機の最後部より前方において前後方向へのスライドが可能な状態で、前記第2のスライド案内部に案内される第2のスライド支持部と
を含むことを特徴とする卓上切断機。 - 前記第n−1のスライド支持部に支持される第nのスライド案内部(n={3}or{3,4}or{3,4,5}or・・)と、
前記最後部より前方において前後方向へのスライドが可能な状態で、第nのスライド案内部に案内される第nのスライド支持部を含む
ことを特徴とする請求項1に記載の卓上切断機。 - 少なくとも2つの前記スライド案内部が、左右方向において互いにずれている
ことを特徴とする請求項1又は請求項2に記載の卓上切断機。 - 前記スライド案内部が、前後に長いスライドバーを含んでいる
ことを特徴とする請求項1ないし請求項3の何れかに記載の卓上切断機。 - 前記スライド案内部は、前記ベースの上方に配置されている
ことを特徴とする請求項1ないし請求項4の何れかに記載の卓上切断機。 - 前記第1のスライド案内部は、前記第1のスライド支持部を案内する第1の案内部材、及び当該第1の案内部材とベースの間に介在するアームを含んでおり、
前記アームは、アーム上部がアーム下部に対して前方に位置する形状となっており、
前記第1の案内部材は、前記アーム上部の後部から後方へ突出する状態で、前記アームに固定されている
ことを特徴とする請求項1ないし請求項5の何れかに記載の卓上切断機。
Priority Applications (1)
| Application Number | Priority Date | Filing Date | Title |
|---|---|---|---|
| JP2013036134A JP2014161970A (ja) | 2013-02-26 | 2013-02-26 | 卓上切断機 |
Applications Claiming Priority (1)
| Application Number | Priority Date | Filing Date | Title |
|---|---|---|---|
| JP2013036134A JP2014161970A (ja) | 2013-02-26 | 2013-02-26 | 卓上切断機 |
Publications (1)
| Publication Number | Publication Date |
|---|---|
| JP2014161970A true JP2014161970A (ja) | 2014-09-08 |
Family
ID=51613091
Family Applications (1)
| Application Number | Title | Priority Date | Filing Date |
|---|---|---|---|
| JP2013036134A Pending JP2014161970A (ja) | 2013-02-26 | 2013-02-26 | 卓上切断機 |
Country Status (1)
| Country | Link |
|---|---|
| JP (1) | JP2014161970A (ja) |
Cited By (3)
| Publication number | Priority date | Publication date | Assignee | Title |
|---|---|---|---|---|
| US20180029146A1 (en) * | 2016-07-27 | 2018-02-01 | Tti (Macao Commercial Offshore) Limited | Miter saw |
| US11027344B2 (en) | 2016-12-05 | 2021-06-08 | Makita Corporation | Cutting device |
| US11179787B2 (en) | 2018-10-30 | 2021-11-23 | Makita Corporation | Battery adapter for a cutting power tool |
-
2013
- 2013-02-26 JP JP2013036134A patent/JP2014161970A/ja active Pending
Cited By (5)
| Publication number | Priority date | Publication date | Assignee | Title |
|---|---|---|---|---|
| US20180029146A1 (en) * | 2016-07-27 | 2018-02-01 | Tti (Macao Commercial Offshore) Limited | Miter saw |
| CN107662023A (zh) * | 2016-07-27 | 2018-02-06 | 创科(澳门离岸商业服务)有限公司 | 斜切锯 |
| US10543542B2 (en) * | 2016-07-27 | 2020-01-28 | Tti (Macao Commercial Offshore) Limited | Miter saw |
| US11027344B2 (en) | 2016-12-05 | 2021-06-08 | Makita Corporation | Cutting device |
| US11179787B2 (en) | 2018-10-30 | 2021-11-23 | Makita Corporation | Battery adapter for a cutting power tool |
Similar Documents
| Publication | Publication Date | Title |
|---|---|---|
| JP6284071B2 (ja) | 切断機 | |
| US8375836B2 (en) | Cutting devices | |
| JP5666094B2 (ja) | 卓上切断機 | |
| US8025001B2 (en) | Miter saw with support devices | |
| JP2005279934A5 (ja) | ||
| US20150059548A1 (en) | Cutting devices | |
| JP2014161970A (ja) | 卓上切断機 | |
| JP4552873B2 (ja) | 卓上切断機 | |
| EP2436494B1 (en) | Cutting machine with a safety cover | |
| US9533361B2 (en) | Cutting machines | |
| JP5290040B2 (ja) | 切断機 | |
| CN201808103U (zh) | 台式圆盘锯用夹具及台式圆盘锯 | |
| JP2010005750A (ja) | 卓上切断機 | |
| JP5391840B2 (ja) | 卓上切断機 | |
| JP5814137B2 (ja) | 切断機 | |
| JP2020185735A (ja) | 切断機 | |
| JP6215047B2 (ja) | 卓上切断工具 | |
| JP2015221540A (ja) | 切断機 | |
| JP2019136220A (ja) | バリカン刃 | |
| JP6410091B2 (ja) | 卓上切断機 | |
| JP2013078864A (ja) | 携帯用切断機 | |
| JP2010046774A (ja) | 卓上丸鋸盤 | |
| JP2004330618A (ja) | 卓上丸鋸 | |
| JP2024158145A (ja) | 携帯用切断機用スタンドおよび定置式切断機 | |
| JP2025114875A (ja) | 携帯型バンドソー |