JP2014047587A - ボイラとボイラ建屋の同時解体方法 - Google Patents

ボイラとボイラ建屋の同時解体方法 Download PDF

Info

Publication number
JP2014047587A
JP2014047587A JP2012193525A JP2012193525A JP2014047587A JP 2014047587 A JP2014047587 A JP 2014047587A JP 2012193525 A JP2012193525 A JP 2012193525A JP 2012193525 A JP2012193525 A JP 2012193525A JP 2014047587 A JP2014047587 A JP 2014047587A
Authority
JP
Japan
Prior art keywords
boiler
main pillar
jack
building
fixed
Prior art date
Legal status (The legal status is an assumption and is not a legal conclusion. Google has not performed a legal analysis and makes no representation as to the accuracy of the status listed.)
Granted
Application number
JP2012193525A
Other languages
English (en)
Other versions
JP5953186B2 (ja
Inventor
Hiroaki Miyamoto
博章 宮本
Tomoya Hamada
智也 濱田
Current Assignee (The listed assignees may be inaccurate. Google has not performed a legal analysis and makes no representation or warranty as to the accuracy of the list.)
Taihei Dengyo Kaisha Ltd
Original Assignee
Taihei Dengyo Kaisha Ltd
Priority date (The priority date is an assumption and is not a legal conclusion. Google has not performed a legal analysis and makes no representation as to the accuracy of the date listed.)
Filing date
Publication date
Application filed by Taihei Dengyo Kaisha Ltd filed Critical Taihei Dengyo Kaisha Ltd
Priority to JP2012193525A priority Critical patent/JP5953186B2/ja
Publication of JP2014047587A publication Critical patent/JP2014047587A/ja
Application granted granted Critical
Publication of JP5953186B2 publication Critical patent/JP5953186B2/ja
Active legal-status Critical Current
Anticipated expiration legal-status Critical

Links

Images

Landscapes

  • Working Measures On Existing Buildindgs (AREA)

Abstract

【課題】ボイラとボイラ建屋を同時に容易に安全かつ確実に解体する方法を提供する。
【解決手段】主柱2が構築されているボイラ建屋の基礎上に、固定部7と、垂直に伸縮可能な可動部8と、可動部8のヘッド9に取り付けられた、可動部側固定ジャッキ10とからなる昇降用ジャッキ5を設置し、可動部8を上昇させた後、可動部側固定ジャッキ10によりヘッド9を主柱2に固定し、主柱2の基部を残して主柱2を切断し撤去すると共に、ボイラの下部を切断撤去し、可動部8を下降させた後、可動部側固定ジャッキに10よる主柱2の固定を解除し、可動部8を上昇させた後、可動部側固定ジャッキ10によりヘッド9を主柱2に固定し、固定部7とヘッド9との間の主柱2を切断撤去すると共に、ボイラの下部を切断撤去する作業を繰り返し行い、最後に主柱2の基部2aを撤去し、ボイラとボイラ建屋とを同時にボイラ建屋の基礎上で解体する。
【選択図】図4

Description

この発明は、ボイラとボイラ建屋の同時解体方法、特に、ボイラとボイラ建屋を同時に容易に安全かつ確実に解体することが可能な、ボイラとボイラ建屋の同時解体方法に関するものである。
例えば、火力発電所に設置されているボイラは、吊り下げ式ボイラである。吊り下げ式ボイラとは、ボイラ建屋に設置された天井梁からボイラを吊り下げたものである。
このような吊り下げ式ボイラの解体方法の一例が特許文献1(特開2009−287371号公報)に開示されている。以下、このボイラ解体方法を従来解体方法といい、図面を参照しながら説明する。
図8は、従来解体方法により仮設梁、吊り下げ用ジャッキおよび補強用ストランドが設置されたボイラ解体前のボイラ建屋を示す正面図、図9は、従来解体方法により仮設梁、吊り下げ用ジャッキおよび補強用ストランドが設置されたボイラ解体前のボイラ建屋を示す側面図、図10は、従来解体方法により仮設梁、吊り下げ用ジャッキおよび補強用ストランドが設置されたボイラ解体前のボイラ建屋を示す平面図、図11は、図8の部分拡大図、図12は、図8のA−A線拡大断面図、図13は、従来解体方法によりボイラの下部を解体した状態を示す正面図、図14は、従来解体方法によりボイラの下部を解体した状態を示す側面図である。
図8から図12において、21は、鉄骨により構築されたボイラ建屋である。ボイラ建屋21は、間隔をあけて垂直に構築された一対の本設柱21Aを備えている。22は、後述する仮設梁より下方の一対の本設柱21Aの上部間に水平に張り渡された天井梁、23は、一対の本設柱21A間において、天井梁22から吊り下げられたボイラ、24は、一対の本設柱21Aの頂部間に張り渡された仮設梁である。仮設梁24は、天井梁22の上方に天井梁22と平行に設置されている。
25は、仮設梁24に設置された吊り下げ用ジャッキである。吊り下げ用ジャッキ25は、例えば、特許文献2(特許第2828430号公報)に開示された油圧ジャッキであり、吊り下げ用ストランド26を間欠的に引き上げ、または、引き下げることによって重量物を昇降させる機能を有している。吊り下げ用ストランド26は、仮設梁24を通過して天井梁22に固定されている。
27は、補強用ストランドである。補強用ストランド27は、図10に示すように、ボイラ建屋21の前面および背面にそれぞれ一対、張り渡され、一対の補強用ストランド27は、互いに交差して張り渡されている。補強用ストランド27の上端は、天井梁22の一端に固定され、補強用ストランド27の下端は、本設柱21Aの下部コーナー部の地面に、耐震ジャッキ28を介して固定されている。吊り下げ用ストランド26および補強用ストランド27は、何れも、PC鋼より線からなっている。補強用ストランド27は、ボイラ解体中に発生する地震等による、吊り荷、すなわち、天井梁22およびボイラ23の揺れを抑制して、ボイラ建屋21の揺れを抑制する機能、すなわち、ボイラ建屋21の耐震性を向上させる機能を有している。
次に、従来解体方法によるボイラの解体方法について説明する。
先ず、ボイラ建屋21の前面および背面に、耐震ジャッキ28を介して補強用ストランド27を交差して張り渡すと共に、一対の本設柱21Aの頂部間に仮設梁24を張り渡し、仮設梁24に吊り下げ用ジャッキ25を設置する。
このようにして、補強用ストランド27、仮設梁24および吊り下げ用ジャッキ25を設置したら、天井梁22の両端部を切断して、天井梁22をボイラ建屋21から切り離す。これにより、天井梁22およびボイラ23は、仮設梁24に設置された吊り下げ用ジャッキ25の吊り下げ用ストランド26により吊り下げられることになる。
天井梁22をボイラ建屋21から切り離したら、図13および図14に示すように、吊り下げ用ジャッキ25を操作して、ボイラ23の下面が地面に着地するまで、ボイラ23を天井梁22と共に吊り下ろす。ボイラ23を地面まで吊り下ろしたら、ボイラ23の下部を解体し、解体物をボイラ建屋21外に撤去ずる。そして、撤去後、再度、ボイラ23を地面まで吊り下ろし、ボイラ23の次の下部の解体と撤去を行う。この際、ボイラ23の解体の進行に伴って天井梁22が下降するので、これに合わせて補強用ストランド27を張り直す。
以上の作業を繰り返し行えば、ボイラ3を全て解体することができる。
特開2009−287371号公報 特許第2828430号公報
上述した従来解体方法によれば、一対の本設柱21Aの頂部間に、吊り下げ用ジャッキ25を設置した仮設梁24を張り渡すことによって、ボイラ23の解体が容易に行える。しかも、補強用ストランド27によりボイラ建屋21を補強することによって、ボイラ建屋21の耐震性を向上させることはできるが、以下のような問題があった。
(1)従来解体方法は、ボイラ23を解体するのみであるので、ボイラ23の解体後、ボイラ建屋21を解体する必要があるので、ボイラ23とボイラ建屋21を解体するのに長期間を要する。
(2)仮設梁24および吊り下げ用ジャッキの設置作業、および、天井梁22をボイラ建屋21から切り離す作業は、何れも、高所作業となるので、危険が伴い、しかも、足場を組む必要があった。
従って、この発明の目的は、ボイラとボイラ建屋を同時に容易に安全かつ確実に解体することが可能な、ボイラとボイラ建屋の同時解体方法を提供することにある。
この発明は、上記目的を達成するためになされたものであり、下記を特徴とするものである。
請求項1に記載の発明は、複数本の主柱により構築されたボイラ建屋と、前記ボイラ建屋内に収容された吊り下げ式ボイラとを同時に解体する方法であって、前記主柱が構築されている前記ボイラ建屋の基礎上に、固定部と、前記固定部に対して垂直に伸縮可能な可動部と、前記可動部のヘッドに取り付けられた、前記ヘッドを前記主柱に固定するための可動部側固定ジャッキとからなる昇降用ジャッキを設置し、前記可動部を上昇させた後、前記可動部側固定ジャッキにより前記ヘッドを前記主柱に固定し、次いで、前記主柱の基部を残して、前記固定部と前記ヘッドとの間の前記主柱を切断し、撤去すると共に、前記ボイラの下部を切断し、撤去し、次いで、前記可動部を下降させた後、前記可動部側固定ジャッキによる前記主柱の固定を解除し、次いで、再度、前記可動部を上昇させた後、前記可動部側固定ジャッキにより前記ヘッドを前記主柱に固定し、次いで、前記固定部と前記ヘッドとの間の前記主柱を切断し、撤去すると共に、前記ボイラの下部を切断し、撤去する作業を繰り返し行い、そして、最後に前記主柱の前記基部を撤去し、かくして、前記ボイラと前記ボイラ建屋とを同時に前記ボイラ建屋の基礎上で解体することに特徴を有するものである。
請求項2に記載の発明は、請求項1に記載の発明において、前記昇降用ジャッキは、複数台の油圧ジャッキからなり、前記複数台の油圧ジャッキは、前記主柱の前記基部を取り囲むように設置され、前記複数台の油圧ジャッキの前記ヘッドは、一体化され、一体化された前記ヘッドには、前記主柱の貫通孔が形成され、前記貫通孔に前記可動部側固定ジャッキが取り付けられていることに特徴を有するものである。
請求項3に記載の発明は、請求項1または2に記載の発明において、前記ボイラ建屋の解体中に、前記主柱に作用する水平力を支持する水平力支持フレームを設置することに特徴を有するものである。
請求項4に記載の発明は、請求項1から3の何れか1つに記載の発明において、前記ボイラ建屋のコーナー部間にジャッキを介して補強用ストランドを交差して張り渡すことに特徴を有するものである。
請求項5に記載の発明は、請求項1から4の何れか1つに記載の発明において、前記昇降用ジャッキを、前記固定部に取り付けた固定部側固定ジャッキにより前記主柱の前記基部に固定することに特徴を有するものである。
請求項6に記載の発明は、請求項1から5の何れか1つに記載の発明において、前記主柱は、H形鋼からなっていることに特徴を有するものである。
この発明によれば、以下のような効果がもたらされる。
(a)ボイラとボイラ建屋を同時に解体することができる。
(b)ボイラとボイラ建屋の解体作業は、全てボイラ建屋の基礎上で行えるので、容易に安全かつ確実に解体作業が行える。
この発明の解体方法により水平力支持フレームを設置した、ボイラが収容されたボイラ建屋を示す概略平面図である。 図1のA−A線断面図である。 図1のB−B線断面図である。 主柱の基部の周囲に昇降用ジャッキを設置した状態を示す部分正面図である。 図4のA矢視図である。 図4のB矢視図である。 この発明によるボイラ建屋の解体工程の、可動部を上昇させた後、可動部側固定ジャッキによりヘッドを主柱に固定した状態を示す部分側面図である。 この発明によるボイラ建屋の解体工程の、固定部とヘッドとの間の主柱を切断し、撤去した状態を示す部分側面図である。 この発明によるボイラ建屋の解体工程の、可動部を下降させた状態を示す部分側面図である。 この発明によるボイラ建屋の解体工程の、可動部側固定ジャッキによる主柱の固定を解除した状態を示す部分側面図である。 この発明によるボイラ建屋の解体工程の、再度、可動部を上昇させた状態を示す部分側面図である。 従来解体方法により仮設梁、吊り下げ用ジャッキおよび補強用ストランドが設置されたボイラ解体前のボイラ建屋を示す正面図である。 従来解体方法により仮設梁、吊り下げ用ジャッキおよび補強用ストランドが設置されたボイラ解体前のボイラ建屋を示す側面図である。 従来解体方法により仮設梁、吊り下げ用ジャッキおよび補強用ストランドが設置されたボイラ解体前のボイラ建屋を示す平面図である。 図8の部分拡大図である。 図8のA−A線拡大断面図である。 従来解体方法によりボイラの下部を解体した状態を示す正面図である。 従来解体方法によりボイラの下部を解体した状態を示す側面図である。
この発明の、ボイラとボイラ建屋の同時解体方法の一実施態様を、図面を参照しながら説明する。
図1は、この発明の解体方法により水平力支持フレームを設置した、ボイラ収容されたボイラ建屋を示す概略平面図、図2は、図1のA−A線断面図、図3は、図1のB−B線断面図である。
図1から図3において、1は、複数本の主柱2により構築されたボイラ建屋であり、主柱2は、H形鋼からなっている。なお、主柱2は、H形鋼以外に角柱等であっても良い。3は、ボイラ建屋1内に収容された吊り下げ式ボイラであり、ボイラ建屋1の天井梁4から吊り下げられている。
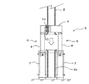
5は、昇降用ジャッキである。昇降用ジャッキ5は、複数台(この例では4台)の油圧ジャッキ6からなり、油圧ジャッキ6は、主柱2の基部2aを取り囲むように、主柱2が構築されているボイラ建屋1の基礎上に設置されている。油圧ジャッキ6は、固定部7(シリンダ)と、固定部7に対して垂直に伸縮可能な可動部8(ピストン)とからなっている。複数台の油圧ジャッキ6の可動部8のヘッド9は、一体化され、同時に昇降可能になっている。主柱2は、一体化されたヘッド9に形成された貫通孔9a(図5参照)を貫通し、ヘッド9は、後述する可動部側固定ジャッキ10により主柱2に固定される。
10は、ヘッド9の貫通孔9aに取り付けられた可動部側固定ジャッキである。ヘッド9は、可動部側固定ジャッキ10を伸ばすことによって、ヘッド9の貫通孔9aを貫通する主柱2に固定される。
11は、油圧ジャッキ6の固定部7に取り付けられた固定部側固定ジャッキである。固定部側固定ジャッキ11を伸ばすことによって、昇降用ジャッキ5は、主柱2の基部2aに固定される。
12は、図1に示すように、主柱2間の基礎上に設置された水平力支持フレームである。水平力支持フレーム12は、主柱2をガイドするチルタンク(図示せず)を有し、地震や風などにより主柱2に作用する水平力を支持して、解体中のボイラ建屋1の倒壊等を防ぐ作用を有している。
13は、図3に示すように、ボイラ建屋1のコーナー部間にジャッキ14を介して交差して張り渡された補強用ストランドである。補強用ストランド13は、ボイラ建屋1を補強して、解体中のボイラ建屋1の倒壊等を防ぐ作用を有している。ジャッキ14は、例えば、センターホールジャッキからなり、ボイラ建屋1の解体の進行に合わせて補強用ストランド13を引っ張り、解体中は、常時、補強用ストランド13に張力をかけておく機能を有している。なお、ボイラ建屋1に水平力支持フレーム12および補強用ストランド13の両方を設置しても良いし、どちらか一方でも良い。
次に、この発明による、ボイラとボイラ建屋の同時解体方法について説明する。
先ず、図4から図6に示すように、主柱2が構築されているボイラ建屋1の基礎上に、主柱2の基部2aを取り囲むように昇降用ジャッキ5の油圧ジャッキ6を設置し、固定部側固定ジャッキ11を伸ばして、油圧ジャッキ6を主柱2の基部2aに固定する。昇降用ジャッキ5は、全ての主柱2に対して設置する。さらに、主柱2間の基礎上に水平力支持フレーム12を設置する。さらに、ボイラ建屋1のコーナー部間にジャッキ14を介して補強用ストランド13を交差して張り渡す。
次いで、図7(a)に示すように、油圧ジャッキ6の可動部8を上昇させた後、可動部側固定ジャッキ10を伸ばしてヘッド9を主柱2に固定する。
次いで、図7(b)に示すように、主柱2の基部2aを残して、油圧ジャッキ6の固定部7とヘッド9との間の主柱2を切断し、撤去する。なお、主柱2の切断線を図7(a)中、(X)で示す。これと同時に、ボイラ3の下部を切断し、撤去する。主柱2とボイラ3の切断、撤去作業は、何れも、ボイラ建屋1の基礎上に行えるので、足場を組む必要がなく、しかも、高所作業ではないので、安全かつ確実に行える。なお、主柱2とボイラ3の撤去作業は、図2に示すように、ボイラ建屋1内に搬入した重機16により行う。
このようにして、全ての主柱2の切断作業とボイラ3の下部の切断作業が終了したら、図7(c)に示すように、油圧ジャッキ6の可動部8を下降させる。これによって、ボイラ建屋1とボイラ3が切断長さ分、下降する。この際、ジャッキ14を操作して、弛んだ補強用ストランド13に張力をかける。
次いで、図7(d)に示すように、可動部側固定ジャッキ10による主柱2の固定を解除する。
次いで、図7(e)に示すように、再度、可動部8を上昇させた後、可動部側固定ジャッキ10によりヘッド9を主柱2に固定する。この後、図7(a)におけると同様に、固定部7とヘッド9との間の主柱2を切断線(X)に沿って切断し、撤去すると共に、ボイラ3の下部を切断し、撤去する。
上述した作業を繰り返し行い、そして、最後に主柱2の基部2aを撤去すれば、ボイラ3とボイラ建屋1とを同時に解体することができる。
ボイラ建屋1の解体中に、主柱2は、水平力支持フレーム12により支持されるので、地震や風等によって、主柱2に水平力が作用しても、ボイラ建屋1が倒壊するおそれはない。
この発明によれば、各主柱2の基部2aを取り囲むように、昇降用ジャッキ5の油圧ジャッキ6を設置し、上昇させた油圧ジャッキ6の可動部8に可動部側固定ジャッキ10により主柱2を固定し、次いで、固定部7とヘッド9との間の主柱2を切断し、撤去すると共に、ボイラ3の下部を切断し、撤去し、次いで、可動部8を下降させた後、可動部側固定ジャッキ10による主柱2の固定を解除し、次いで、再度、可動部8を上昇させた後、可動部側固定ジャッキ10によりヘッド9を主柱2に固定し、次いで、固定部7とヘッド9との間の主柱2を切断し、撤去すると共に、ボイラ3の下部を切断し、撤去する作業を繰り返し行い、そして、最後に主柱2の基部2aを撤去することによって、ボイラ3とボイラ建屋1を同時に解体することができ、しかも、ボイラ3とボイラ建屋1の解体作業は、全てボイラ建屋1の基礎上で行えるので、容易に安全かつ確実に解体作業が行える。
しかも、ボイラ建屋1に水平力支持フレーム12および補強用ストランド13を設置することによって、解体中のボイラ建屋1の倒壊等を確実に防ぐことができる。
1:ボイラ建屋
2:主柱
2a:基部
3:ボイラ
4:天井梁
5:昇降用ジャッキ
6:油圧ジャッキ
7:固定部
8:可動部
9:ヘッド
9a:貫通孔
10:可動部側固定ジャッキ
11:固定部側固定ジャッキ
12:水平力支持フレーム
13:補強用ストランド
14:ジャッキ
15:重機
21:ボイラ建屋
21A:本設柱
22:天井梁
23:ボイラ
24:仮設梁
25:吊り下げ用ジャッキ
26:吊り下げ用ストランド
27:補強用ストランド
28:耐震ジャッキ

Claims (6)

  1. 複数本の主柱により構築されたボイラ建屋と、前記ボイラ建屋内に収容された吊り下げ式ボイラとを同時に解体する方法であって、前記主柱が構築されている前記ボイラ建屋の基礎上に、固定部と、前記固定部に対して垂直に伸縮可能な可動部と、前記可動部のヘッドに取り付けられた、前記ヘッドを前記主柱に固定するための可動部側固定ジャッキとからなる昇降用ジャッキを設置し、前記可動部を上昇させた後、前記可動部側固定ジャッキにより前記ヘッドを前記主柱に固定し、次いで、前記主柱の基部を残して、前記固定部と前記ヘッドとの間の前記主柱を切断し、撤去すると共に、前記ボイラの下部を切断し、撤去し、次いで、前記可動部を下降させた後、前記可動部側固定ジャッキによる前記主柱の固定を解除し、次いで、再度、前記可動部を上昇させた後、前記可動部側固定ジャッキにより前記ヘッドを前記主柱に固定し、次いで、前記固定部と前記ヘッドとの間の前記主柱を切断し、撤去すると共に、前記ボイラの下部を切断し、撤去する作業を繰り返し行い、そして、最後に前記主柱の前記基部を撤去し、かくして、前記ボイラと前記ボイラ建屋とを同時に前記ボイラ建屋の基礎上で解体することを特徴とする、ボイラとボイラ建屋の同時解体方法。
  2. 前記昇降用ジャッキは、複数台の油圧ジャッキからなり、前記複数台の油圧ジャッキは、前記主柱の前記基部を取り囲むように設置され、前記複数台の油圧ジャッキの前記ヘッドは、一体化され、一体化された前記ヘッドには、前記主柱の貫通孔が形成され、前記貫通孔に前記可動部側固定ジャッキが取り付けられていることを特徴とする、請求項1に記載の、ボイラとボイラ建屋の同時解体方法。
  3. 前記ボイラ建屋の解体中に、前記主柱に作用する水平力を支持する水平力支持フレームを設置することを特徴とする、請求項1または2に記載の、ボイラとボイラ建屋の同時解体方法。
  4. 前記ボイラ建屋のコーナー部間にジャッキを介して補強用ストランドを交差して張り渡すことを特徴とする、請求項1から3の何れか1つに記載の、ボイラとボイラ建屋の同時解体方法。
  5. 前記昇降用ジャッキを、前記固定部に取り付けた固定部側固定ジャッキにより前記主柱の前記基部に固定することを特徴とする、請求項1から4の何れか1つに記載の、ボイラとボイラ建屋の同時解体方法。
  6. 前記主柱は、H形鋼からなっていることを特徴とする、請求項1から5の何れか1つに記載の、ボイラとボイラ建屋の同時解体方法。
JP2012193525A 2012-09-03 2012-09-03 ボイラとボイラ建屋の同時解体方法 Active JP5953186B2 (ja)

Priority Applications (1)

Application Number Priority Date Filing Date Title
JP2012193525A JP5953186B2 (ja) 2012-09-03 2012-09-03 ボイラとボイラ建屋の同時解体方法

Applications Claiming Priority (1)

Application Number Priority Date Filing Date Title
JP2012193525A JP5953186B2 (ja) 2012-09-03 2012-09-03 ボイラとボイラ建屋の同時解体方法

Publications (2)

Publication Number Publication Date
JP2014047587A true JP2014047587A (ja) 2014-03-17
JP5953186B2 JP5953186B2 (ja) 2016-07-20

Family

ID=50607551

Family Applications (1)

Application Number Title Priority Date Filing Date
JP2012193525A Active JP5953186B2 (ja) 2012-09-03 2012-09-03 ボイラとボイラ建屋の同時解体方法

Country Status (1)

Country Link
JP (1) JP5953186B2 (ja)

Cited By (3)

* Cited by examiner, † Cited by third party
Publication number Priority date Publication date Assignee Title
CN108678423A (zh) * 2018-08-06 2018-10-19 建研科技股份有限公司 钢筋混凝土结构逆向拆除竖向转换支撑结构
JP2019112684A (ja) * 2017-12-25 2019-07-11 株式会社ナベカヰ 高炉及び高炉周辺設備の解体工法
KR102518053B1 (ko) * 2022-02-08 2023-04-05 주식회사 대하하이드로릭 상향식 화력발전소 연통철거공법

Citations (5)

* Cited by examiner, † Cited by third party
Publication number Priority date Publication date Assignee Title
JPH0726727A (ja) * 1993-07-02 1995-01-27 Toyo Eng Corp 建築物揚重装置およびそれを用いた建築方法
JPH08270232A (ja) * 1995-03-30 1996-10-15 Taihei Dengiyou Kk 鉄骨建屋の解体工法
JP2009287372A (ja) * 2008-06-02 2009-12-10 Taihei Dengyo Kaisha Ltd ボイラーおよびボイラー建屋の解体工法
JP2012107461A (ja) * 2010-11-19 2012-06-07 Besutera Kk H鋼支持システム及びそれを用いた建造物の解体方法
JP2012132145A (ja) * 2010-12-19 2012-07-12 Takenaka Komuten Co Ltd 建物の昇降装置

Patent Citations (5)

* Cited by examiner, † Cited by third party
Publication number Priority date Publication date Assignee Title
JPH0726727A (ja) * 1993-07-02 1995-01-27 Toyo Eng Corp 建築物揚重装置およびそれを用いた建築方法
JPH08270232A (ja) * 1995-03-30 1996-10-15 Taihei Dengiyou Kk 鉄骨建屋の解体工法
JP2009287372A (ja) * 2008-06-02 2009-12-10 Taihei Dengyo Kaisha Ltd ボイラーおよびボイラー建屋の解体工法
JP2012107461A (ja) * 2010-11-19 2012-06-07 Besutera Kk H鋼支持システム及びそれを用いた建造物の解体方法
JP2012132145A (ja) * 2010-12-19 2012-07-12 Takenaka Komuten Co Ltd 建物の昇降装置

Cited By (4)

* Cited by examiner, † Cited by third party
Publication number Priority date Publication date Assignee Title
JP2019112684A (ja) * 2017-12-25 2019-07-11 株式会社ナベカヰ 高炉及び高炉周辺設備の解体工法
CN108678423A (zh) * 2018-08-06 2018-10-19 建研科技股份有限公司 钢筋混凝土结构逆向拆除竖向转换支撑结构
CN108678423B (zh) * 2018-08-06 2023-12-08 中建研科技股份有限公司 钢筋混凝土结构逆向拆除竖向转换支撑结构
KR102518053B1 (ko) * 2022-02-08 2023-04-05 주식회사 대하하이드로릭 상향식 화력발전소 연통철거공법

Also Published As

Publication number Publication date
JP5953186B2 (ja) 2016-07-20

Similar Documents

Publication Publication Date Title
JP5169549B2 (ja) 大梁ブロック吊上げ工法およびこれに利用されるジャッキアップステージ
JP6181505B2 (ja) 飛散防止装置および、それを使用した建物の解体方法
JP6508958B2 (ja) 解体システムおよび解体方法
CN105442853B (zh) 一种大跨度异形钢网架与落地钢结构安装施工方法
JP2012132145A (ja) 建物の昇降装置
JP6503716B2 (ja) 解体システム及び解体方法
JP5953186B2 (ja) ボイラとボイラ建屋の同時解体方法
KR101658907B1 (ko) 다이아고날 케이블의 장력 제거를 이용한 케이블 돔 해체공법
JP2010242429A (ja) 鉄塔の解体方法
JP4789876B2 (ja) 二重構造煙突の解体方法及びその解体装置
JP6257317B2 (ja) 構造物構築方法および構造物解体方法
KR20090100476A (ko) 교각을 이용하여 교량을 인상하는 장치 및 이를 이용한교량인상 방법
JP3179138U (ja) 脚頭部施工用足場支保工
JP3881343B2 (ja) 筒状構造物の解体方法およびその解体装置
JP2010255374A (ja) 超高層建物の解体方法
JPH08270232A (ja) 鉄骨建屋の解体工法
JP5528311B2 (ja) 多層建築物の解体工法
JP6320242B2 (ja) 仮設柱の設置方法
CN115787474B (zh) 一种桥梁墩柱移动作业平台及施工方法
JP6294657B2 (ja) 構造物の解体工事あるいは建設工事で使用する柱体昇降支持装置
JP2020133264A (ja) コンクリート柱の型枠構築装置およびそれを用いたコンクリート柱の型枠構築方法
JP6173771B2 (ja) 建築物の解体工法およびそれに用いる建築物解体用支持装置
JP6508959B2 (ja) 解体システムおよび解体方法
JP6418825B2 (ja) ジャッキ反力支持部材とこの反力支持部材を用いた建物解体方法
JP7005262B2 (ja) 建物の構築方法

Legal Events

Date Code Title Description
A621 Written request for application examination

Free format text: JAPANESE INTERMEDIATE CODE: A621

Effective date: 20150804

A977 Report on retrieval

Free format text: JAPANESE INTERMEDIATE CODE: A971007

Effective date: 20160426

TRDD Decision of grant or rejection written
A01 Written decision to grant a patent or to grant a registration (utility model)

Free format text: JAPANESE INTERMEDIATE CODE: A01

Effective date: 20160517

A61 First payment of annual fees (during grant procedure)

Free format text: JAPANESE INTERMEDIATE CODE: A61

Effective date: 20160613

R150 Certificate of patent or registration of utility model

Ref document number: 5953186

Country of ref document: JP

Free format text: JAPANESE INTERMEDIATE CODE: R150

R250 Receipt of annual fees

Free format text: JAPANESE INTERMEDIATE CODE: R250

R250 Receipt of annual fees

Free format text: JAPANESE INTERMEDIATE CODE: R250

R250 Receipt of annual fees

Free format text: JAPANESE INTERMEDIATE CODE: R250

R250 Receipt of annual fees

Free format text: JAPANESE INTERMEDIATE CODE: R250

R250 Receipt of annual fees

Free format text: JAPANESE INTERMEDIATE CODE: R250

R250 Receipt of annual fees

Free format text: JAPANESE INTERMEDIATE CODE: R250

R250 Receipt of annual fees

Free format text: JAPANESE INTERMEDIATE CODE: R250