JP2013238564A - 開路電圧推定装置、状態推定装置及び開路電圧推定方法 - Google Patents

開路電圧推定装置、状態推定装置及び開路電圧推定方法 Download PDF

Info

Publication number
JP2013238564A
JP2013238564A JP2012113271A JP2012113271A JP2013238564A JP 2013238564 A JP2013238564 A JP 2013238564A JP 2012113271 A JP2012113271 A JP 2012113271A JP 2012113271 A JP2012113271 A JP 2012113271A JP 2013238564 A JP2013238564 A JP 2013238564A
Authority
JP
Japan
Prior art keywords
circuit voltage
open circuit
storage element
voltage
elapsed time
Prior art date
Legal status (The legal status is an assumption and is not a legal conclusion. Google has not performed a legal analysis and makes no representation as to the accuracy of the status listed.)
Granted
Application number
JP2012113271A
Other languages
English (en)
Other versions
JP6066163B2 (ja
Inventor
Kenichi Sejima
賢一 瀬島
Current Assignee (The listed assignees may be inaccurate. Google has not performed a legal analysis and makes no representation or warranty as to the accuracy of the list.)
GS Yuasa Corp
Original Assignee
GS Yuasa Corp
Priority date (The priority date is an assumption and is not a legal conclusion. Google has not performed a legal analysis and makes no representation as to the accuracy of the date listed.)
Filing date
Publication date
Application filed by GS Yuasa Corp filed Critical GS Yuasa Corp
Priority to JP2012113271A priority Critical patent/JP6066163B2/ja
Priority to KR1020130044011A priority patent/KR101996974B1/ko
Priority to CN201310142247.2A priority patent/CN103424708B/zh
Priority to US13/897,115 priority patent/US10901039B2/en
Priority to EP13168298.1A priority patent/EP2664938B1/en
Publication of JP2013238564A publication Critical patent/JP2013238564A/ja
Application granted granted Critical
Publication of JP6066163B2 publication Critical patent/JP6066163B2/ja
Active legal-status Critical Current
Anticipated expiration legal-status Critical

Links

Images

Classifications

    • GPHYSICS
    • G01MEASURING; TESTING
    • G01RMEASURING ELECTRIC VARIABLES; MEASURING MAGNETIC VARIABLES
    • G01R31/00Arrangements for testing electric properties; Arrangements for locating electric faults; Arrangements for electrical testing characterised by what is being tested not provided for elsewhere
    • G01R31/36Arrangements for testing, measuring or monitoring the electrical condition of accumulators or electric batteries, e.g. capacity or state of charge [SoC]
    • G01R31/382Arrangements for monitoring battery or accumulator variables, e.g. SoC
    • GPHYSICS
    • G01MEASURING; TESTING
    • G01RMEASURING ELECTRIC VARIABLES; MEASURING MAGNETIC VARIABLES
    • G01R31/00Arrangements for testing electric properties; Arrangements for locating electric faults; Arrangements for electrical testing characterised by what is being tested not provided for elsewhere
    • G01R31/36Arrangements for testing, measuring or monitoring the electrical condition of accumulators or electric batteries, e.g. capacity or state of charge [SoC]
    • G01R31/367Software therefor, e.g. for battery testing using modelling or look-up tables
    • GPHYSICS
    • G01MEASURING; TESTING
    • G01RMEASURING ELECTRIC VARIABLES; MEASURING MAGNETIC VARIABLES
    • G01R19/00Arrangements for measuring currents or voltages or for indicating presence or sign thereof
    • G01R19/165Indicating that current or voltage is either above or below a predetermined value or within or outside a predetermined range of values
    • G01R19/16528Indicating that current or voltage is either above or below a predetermined value or within or outside a predetermined range of values using digital techniques or performing arithmetic operations
    • GPHYSICS
    • G01MEASURING; TESTING
    • G01RMEASURING ELECTRIC VARIABLES; MEASURING MAGNETIC VARIABLES
    • G01R19/00Arrangements for measuring currents or voltages or for indicating presence or sign thereof
    • G01R19/165Indicating that current or voltage is either above or below a predetermined value or within or outside a predetermined range of values
    • G01R19/16533Indicating that current or voltage is either above or below a predetermined value or within or outside a predetermined range of values characterised by the application
    • G01R19/16538Indicating that current or voltage is either above or below a predetermined value or within or outside a predetermined range of values characterised by the application in AC or DC supplies
    • G01R19/16542Indicating that current or voltage is either above or below a predetermined value or within or outside a predetermined range of values characterised by the application in AC or DC supplies for batteries
    • GPHYSICS
    • G01MEASURING; TESTING
    • G01RMEASURING ELECTRIC VARIABLES; MEASURING MAGNETIC VARIABLES
    • G01R31/00Arrangements for testing electric properties; Arrangements for locating electric faults; Arrangements for electrical testing characterised by what is being tested not provided for elsewhere
    • G01R31/36Arrangements for testing, measuring or monitoring the electrical condition of accumulators or electric batteries, e.g. capacity or state of charge [SoC]
    • G01R31/3644Constructional arrangements
    • G01R31/3648Constructional arrangements comprising digital calculation means, e.g. for performing an algorithm
    • GPHYSICS
    • G01MEASURING; TESTING
    • G01RMEASURING ELECTRIC VARIABLES; MEASURING MAGNETIC VARIABLES
    • G01R31/00Arrangements for testing electric properties; Arrangements for locating electric faults; Arrangements for electrical testing characterised by what is being tested not provided for elsewhere
    • G01R31/36Arrangements for testing, measuring or monitoring the electrical condition of accumulators or electric batteries, e.g. capacity or state of charge [SoC]
    • G01R31/382Arrangements for monitoring battery or accumulator variables, e.g. SoC
    • G01R31/3835Arrangements for monitoring battery or accumulator variables, e.g. SoC involving only voltage measurements
    • GPHYSICS
    • G01MEASURING; TESTING
    • G01RMEASURING ELECTRIC VARIABLES; MEASURING MAGNETIC VARIABLES
    • G01R31/00Arrangements for testing electric properties; Arrangements for locating electric faults; Arrangements for electrical testing characterised by what is being tested not provided for elsewhere
    • G01R31/36Arrangements for testing, measuring or monitoring the electrical condition of accumulators or electric batteries, e.g. capacity or state of charge [SoC]
    • G01R31/382Arrangements for monitoring battery or accumulator variables, e.g. SoC
    • G01R31/3842Arrangements for monitoring battery or accumulator variables, e.g. SoC combining voltage and current measurements
    • GPHYSICS
    • G01MEASURING; TESTING
    • G01RMEASURING ELECTRIC VARIABLES; MEASURING MAGNETIC VARIABLES
    • G01R31/00Arrangements for testing electric properties; Arrangements for locating electric faults; Arrangements for electrical testing characterised by what is being tested not provided for elsewhere
    • G01R31/50Testing of electric apparatus, lines, cables or components for short-circuits, continuity, leakage current or incorrect line connections
    • G01R31/52Testing for short-circuits, leakage current or ground faults
    • HELECTRICITY
    • H01ELECTRIC ELEMENTS
    • H01MPROCESSES OR MEANS, e.g. BATTERIES, FOR THE DIRECT CONVERSION OF CHEMICAL ENERGY INTO ELECTRICAL ENERGY
    • H01M10/00Secondary cells; Manufacture thereof
    • H01M10/42Methods or arrangements for servicing or maintenance of secondary cells or secondary half-cells
    • H01M10/48Accumulators combined with arrangements for measuring, testing or indicating the condition of cells, e.g. the level or density of the electrolyte
    • YGENERAL TAGGING OF NEW TECHNOLOGICAL DEVELOPMENTS; GENERAL TAGGING OF CROSS-SECTIONAL TECHNOLOGIES SPANNING OVER SEVERAL SECTIONS OF THE IPC; TECHNICAL SUBJECTS COVERED BY FORMER USPC CROSS-REFERENCE ART COLLECTIONS [XRACs] AND DIGESTS
    • Y02TECHNOLOGIES OR APPLICATIONS FOR MITIGATION OR ADAPTATION AGAINST CLIMATE CHANGE
    • Y02EREDUCTION OF GREENHOUSE GAS [GHG] EMISSIONS, RELATED TO ENERGY GENERATION, TRANSMISSION OR DISTRIBUTION
    • Y02E60/00Enabling technologies; Technologies with a potential or indirect contribution to GHG emissions mitigation
    • Y02E60/10Energy storage using batteries

Landscapes

  • Physics & Mathematics (AREA)
  • General Physics & Mathematics (AREA)
  • Engineering & Computer Science (AREA)
  • Power Engineering (AREA)
  • Manufacturing & Machinery (AREA)
  • Chemical & Material Sciences (AREA)
  • Chemical Kinetics & Catalysis (AREA)
  • Electrochemistry (AREA)
  • General Chemical & Material Sciences (AREA)
  • Secondary Cells (AREA)
  • Tests Of Electric Status Of Batteries (AREA)
  • Measurement Of Current Or Voltage (AREA)

Abstract

【課題】蓄電素子の開路電圧を早期に推定すること。
【解決手段】BMSは、蓄電素子の一例である各単電池の電圧値Vを測定する電圧測定回路と、CPUと、を備える。CPUは、組電池の充放電終了後に所定時間間隔で各単電池の電圧値Vを測定し、組電池の充放電終了タイミングからの経過時間Tに関連付けて記憶する処理(S8)と、極値点Pにおける経過時間Tpを常用対数で表した値Xpに各単電池の活物質毎に定められた係数を積して算出時間Wを算出する処理(S14)と、経過時間Tを常用対数で表した場合における極値点Pの傾きを用いて極値点Pの近似直線の近似式を算出する処理(S16)と、近似式に算出時間Wを代入したものを開路電圧Yとして推定する処理(S18)と、を実行する。
【選択図】図2

Description

本発明は、蓄電素子の開路電圧を推定する技術に関する。
従来から、二次電池など繰り返し使用可能な蓄電素子が用いられている。蓄電素子は、電気自動車など現在その使用分野を広げている。
従来から、蓄電素子の内部状態を推定する技術が知られている(例えば、特許文献1)。この技術では、蓄電素子の開路電圧と内部状態の相関関係を利用して蓄電素子の内部状態を推定する。すなわち、蓄電素子の開路電圧を測定し、当該測定された蓄電素子の開路電圧と予め得られている蓄電素子の開路電圧と内部状態の相関関係から蓄電素子の内部状態を推定する。
特開2009−204314号公報
蓄電素子の開路電圧は、充放電終了後に安定化した蓄電素子の端子電圧であるため、従来技術では、蓄電素子の開路電圧を測定する際に、蓄電素子の充放電終了後、蓄電素子の端子電圧が安定するまで待つ必要があった。そのため、従来技術では、蓄電素子の端子電圧が安定状態となるまで蓄電素子の開路電圧を測定することができず、蓄電素子の内部状態を早期に推定することができない問題が生じていた。
本発明は、蓄電素子の開路電圧を早期に推定する技術を提供することにある。
本発明の開路電圧推定装置は、蓄電素子の開路電圧を推定する開路電圧推定装置であって、前記蓄電素子の端子電圧を測定する電圧測定部と、制御部と、を備え、前記制御部は、前記蓄電素子の充放電終了後に前記端子電圧を測定し、前記蓄電素子の充放電終了タイミングからの経過時間に関連付けて記憶する電圧測定処理と、前記蓄電素子の充放電終了後から所定の経過時間における前記端子電圧の近似直線の近似式を算出する直線算出処理と、前記所定の経過時間と、前記蓄電素子の活物質及び前記所定の経過時間に応じて定められた係数とから算出時間を算出する時間算出処理と、前記近似式に前記算出時間を代入したものを前記開路電圧として推定する電圧推定処理と、を実行する構成を有する。
一般に、蓄電素子では、充放電終了後、端子電圧が比較的長い経過時間を経て開路電圧に変化するまでに、例えば充電により端子電圧が開路電圧より上昇している場合には、端子電圧が減少する過程を経て端子電圧が開路電圧に収束する。また、放電により端子電圧が開路電圧より下降している場合には、端子電圧が増大する過程を経て端子電圧が開路電圧に収束する。
発明者は、充放電終了後、端子電圧が開路電圧に収束するまでの経過期間に測定される端子電圧から開路電圧を推定する技術について研究を重ねた。その結果、経過期間中の所定の経過時間における端子電圧の近似直線の近似式の傾きが、当該所定の経過時間における端子電圧と開路電圧の差と比例関係にあることを見出した。そして、この定数が、蓄電素子の内部状態によらず、蓄電素子の活物質及び当該所定の経過時間によって定まることを見出した。
この開路電圧推定装置では、上記所定の経過時間における端子電圧の近似直線の近似式と、蓄電素子の活物質及び当該所定の経過時間に応じて定められた係数とから開路電圧を推定する。そのため、経過期間中の所定の経過時間における近似式及び係数が得られれば、経過期間に亘って端子電圧を測定する必要がなく、開路電圧を早期に推定することができる。
上記開路電圧推定装置では、前記直線算出処理において、前記経過時間を常用対数で表した値を用いて前記近似式を算出する構成を有していてもよい。この開路電圧推定装置によれば、経過時間の常用対数値を用いることで、比較的長い時間をかけて緩やかに変化する端子電圧の近似直線の近似式を算出しやすい。
上記開路電圧推定装置では、前記制御部は、前記端子電圧の傾きの絶対値が最も大きくなる極値点を検出する極値点検出処理を更に実行し、前記直線算出処理及び前記時間算出処理では、前記蓄電素子の充放電終了後から前記極値点までの経過時間を前記所定の経過時間として処理を実行する構成を有していてもよい。
蓄電素子では、充放電終了後、端子電圧が開路電圧に収束するまでの経過期間において極値点が存在することがある。例えば充電により端子電圧が開路電圧より上昇している場合には、端子電圧が低下を始め、端子電圧の時間変化の絶対値が増大する第1過程と、端子電圧の時間変化の絶対値が減少を始め、端子電圧が開路電圧に収束する第2過程がこの順で存在することがある。また、放電により端子電圧が開路電圧より下降している場合には、端子電圧が増加を始め、その傾きの絶対値が増大する第1過程と、端子電圧の傾きの絶対値が減少を始め、端子電圧が開路電圧に収束する第2過程がこの順で存在することがある。つまり、蓄電素子では、充放電終了後、第1過程から第2過程に移行する際に、端子電圧の傾きの絶対値が最大となる極値点を経過することがある。
この開路電圧推定装置では、この極値点において開路電圧を推定する。すなわち、端子電圧の極値点という蓄電素子の特定の状態における近似式等を用いて開路電圧を推定するので、開路電圧を精度よく推定することができる。
上記開路電圧推定装置では、前記蓄電素子の温度を測定する温度測定部を更に備え、前記係数は、前記蓄電素子の温度に応じて定められており、前記制御部は、前記時間算出処理において、前記所定の経過時間における前記蓄電素子の温度に応じて前記係数を決定して前記算出時間を算出する構成を有していてもよい。この開路電圧推定装置によれば、所定の経過時間における蓄電素子の温度に応じて係数を決定することで、開路電圧を精度よく推定することができる。
上記開路電圧推定装置では、前記制御部は、前記電圧測定処理において、前記経過時間が予め定められた規定時間経過したことを条件に、前記端子電圧の測定を終了する構成を有していてもよい。この開路電圧推定装置によれば、規定時間が経過した事を条件に端子電圧の測定を終了することができ、端子電圧の測定を開路電圧が測定されるまで継続する必要がない。
上記開路電圧推定装置では、前記蓄電素子の充放電電流を検出する電流検出部を更に備え、前記制御部は、前記電圧測定処理において、前記電流検出部の検出結果から、前記充放電終了タイミングを検出する構成を有していてもよい。この開路電圧推定装置によれば、電流検出部を用いて充放電終了タイミングを正確に検出することができる。
本発明は、上記の開路電圧推定装置を用いた状態推定装置にも具現化される。本発明の状態推定装置は、上記の開路電圧推定装置と、前記蓄電素子の開路電圧と内部状態との相関関係に関する情報が記憶されるメモリと、を備え、前記制御部は、前記電圧推定処理で推定された前記開路電圧と、前記メモリに記憶された前記相関関係に関する情報から前記蓄電素子の内部状態を推定する状態推定処理を更に実行する構成を有する。この状態推定装置によれば、早期に推定された開路電圧を用いて蓄電素子の内部状態を早期に推定することができる。
本発明は、また、上記の開路電圧推定装置を用いた開路電圧推定方法にも具現化される。本発明の開路電圧推定方法は、蓄電素子の開路電圧を推定する開路電圧推定方法であって、前記蓄電素子の充放電終了後に前記蓄電素子の端子電圧を測定し、前記蓄電素子の充放電終了タイミングからの経過時間に関連付けて記憶する電圧測定工程と、前記蓄電素子の充放電終了後から所定の経過時間における前記端子電圧の近似直線の近似式を算出する直線算出工程と、前記所定の経過時間と、前記蓄電素子の活物質及び前記所定の経過時間に応じて定められた係数とから算出時間を算出する時間算出工程と、前記近似式に前記算出時間を代入したものを前記開路電圧として推定する電圧推定工程と、を備える。
また、上記開路電圧推定方法では、前記直線算出工程において、前記経過時間を常用対数で表した値を用いて前記近似式を算出する構成としてもよい。
また、上記開路電圧推定方法では、前記端子電圧の傾きの絶対値が最も大きくなる極値点を検出する極値点検出工程を更に備え、前記直線算出工程及び前記時間算出工程において、前記蓄電素子の充放電終了後から前記極値点までの経過時間を前記所定の経過時間として処理を実行する構成としてもよい。
また、上記開路電圧推定方法では、前記係数は、前記蓄電素子の温度に応じて定められており、前記時間算出工程において、前記所定の経過時間における前記蓄電素子の温度に応じて前記係数を決定して前記算出時間を算出する構成としてもよい。
また、上記開路電圧推定方法では、前記電圧測定工程において、前記経過時間が予め定められた規定時間経過したことを条件に、前記端子電圧の測定を終了する構成としてもよい。
また、上記開路電圧推定方法では、前記電圧測定工程において、前記蓄電素子の充放電電流を検出した結果から、前記充放電終了タイミングを検出する構成としてもよい。
本発明によれば、蓄電素子の開路電圧を早期に推定することができる。
電池システムの構成を示す概略図 状態推定処理を示すフローチャート 充電終了後の単電池の電圧値の変化 放電終了後の単電池の電圧値の変化 単電池の開路電圧とSOCとの相関関係表
<実施形態>
以下、一実施形態について、図1〜図5を参照しつつ説明する。
1.状態推定装置の構成
図1は、本実施形態における電池システム10の構成を示す図である。本実施形態の電池システム10は、例えば電気自動車やハイブリット自動車に搭載され、電気エネルギーで作動する動力源に電力を供給するシステムである。
図1に示すように、電池システム10は、組電池12と電池管理装置(以下、BMS)20を備える。組電池12は、複数の単電池14が直列接続された構成であり、各単電池は、繰り返し充放電可能な二次電池であり、より具体的には満充電時の両端間の電圧値が略4Vとなるリチウムイオン電池である。組電池12は、電気自動車等の内部または外部に設けられた充電装置18、または、電気自動車等の内部に設けられた動力源等の負荷18に、接続端子16を介して接続される。BMS20は、組電池12の充放電を制御するとともに、各単電池14の開路電圧Y及び残存容量(内部状態の一例 以下、SOC)を推定する。単電池14は、蓄電素子の一例である。BMS20は、開路電圧推定装置の一例であり、状態推定装置の一例である。
図1に示すように、BMS20は、制御ユニット30と電流センサ22と電圧測定回路24と温度センサ26を含む。制御ユニット30は、中央処理装置(以下、CPU)32と、ROMやRAMなどのメモリ34と、アナログ−デジタル変換機(以下、ADC)36と、を有する。メモリ34には、BMS20の動作を制御するための各種のプログラム(電池管理プログラムを含む)が記憶されており、CPU30は、メモリ34から読み出したプログラムに従って、後述する状態推定処理を実行するなど、各部の制御を行う。メモリ34には、また、各単電池14の活物質に関する情報及び係数Cが記憶されているとともに、各単電池14の開路電圧YとSOCとの相関関係表が記憶されている(図5参照)。制御ユニット30は、制御部の一例であり、電流センサ22は、電流検出部の一例であり、電圧測定回路24は、電圧測定回路の一例であり、温度センサ26は、温度測定部の一例である。
電流センサ22は、接続端子16と組電池12を接続する配線52を介して組電池12を流れる充電電流または放電電流(以下、充放電電流という)の電流値Iを所定期間毎に検出し、その検出した電流値I[A]に応じたアナログ信号をADC36に送信する。
電圧測定回路24は、組電池12に含まれる各単電池14の両端に接続され、各単電池14の両端間の電圧値V[V]を所定期間毎に測定し、その測定した電圧値Vに応じたアナログ信号をADC36に送信する。各単電池14の両端間の電圧値Vが、端子電圧の一例である。
温度センサ26は、接触式あるいは非接触式で組電池12に含まれる各単電池14の温度D[℃]を所定期間毎に測定し、その測定した温度Dに応じたアナログ信号をADC36に送信する。
ADC36は、電流センサ22、電圧測定回路24、及び温度センサ26から送信されるアナログ信号をデジタル信号に変換し、電流値I、電圧値V、及び温度Dを示すデジタルデータをメモリ34に記憶する。
なお、電池システム10には、ユーザからの入力を受け付ける操作部(図示せず)、組電池12の劣化状態等を表示する液晶ディスプレイからなる表示部(図示せず)が設けられている。
2.状態推定処理
図2ないし図5を用いて、組電池12の充放電終了後にBMS20で行われる状態推定処理を説明する。図2に、BMS20のCPU30で実行される状態推定処理のフローチャートを示す。この状態推定処理では、各単電池14の電圧値Vから当該単電池14の開路電圧Yを推定し、推定された開路電圧Yに基づいて当該単電池14のSOCを推定する。単電池14のSOCの推定は、組電池12に含まれる各単電池14毎に順番に行われる。
CPU30は、例えば電気自動車への電源の投入、あるいは電気自動車への充電開始等、ユーザによって電池システム10が起動され、組電池12への充放電が開始されると、BMS20が起動し、制御ユニット30は状態推定処理を開始する。具体的には、CPU35は、上記プログラムをメモリ34から読み出して、図2に示す状態推定処理を実行する。CPU30は、状態推定処理を開始すると、単電池14の温度D及び電圧値Vの測定を開始し、電流値Iの測定を開始する(S2)。
CPU30は、電流値Iを用いて、組電池12への充放電が終了したか否かを検出する(S4:NO)。CPU30は、例えば電気自動車が停止し、あるいは電気自動車への充電が終了等して電流値Iがゼロとなると(S4:YES)、組電池12への充放電が終了したことを検出する。ここで、「電流値Iがゼロ」となる状態とは、電流値Iが完全にゼロとなる状態だけでなく、電流値Iがほぼゼロになった状態、すなわち、予め定められた充電終了電流以下となった状態をも意味する。
CPU30は、電流値Iがゼロとなるタイミング(以下、充放電終了タイミング)からの経過時間Tを計測する(S6)とともに、充放電終了タイミング後も単電池14の温度D及び電圧値Vの測定を継続する。CPU30は、充放電終了タイミング後において、測定された温度D及び電圧値Vを経過時間Tに関連つけてメモリ34に記憶する(S8)。CPU30は、経過時間Tが予め定められた規定時間KTに達するまで単電池14の温度D及び電圧値Vの測定を継続する(S10:NO)。規定時間TKは、単電池14の活物質、及び単電池14のSOC毎に設定されている。
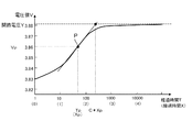
CPU30は、経過時間Tが規定時間KTに達すると、単電池14の温度D及び電圧値Vの測定を終了し(S10:YES)、極値点P(Tp、Vp)を検出する処理を実行する(S12)。CPU30は、経過時間Tを常用対数で表した経過時間Xを算出し、この経過時間Xとの関係において、測定された電圧値Vの傾きの絶対値が最も大きくなる極値点P(Tp(Xp)、Vp)を検出する処理を実行する。ここで、Tp(Xp)は、電圧値Vが極値点Pとなるまでの経過時間T(X)を意味し、Vpは、極値点Pにおける電圧値Vを意味する。
X=log10
図3に、充電終了後の電圧値Vの変化を示す。図3は、SOC10%からSOC30%まで充電した後の電圧値Vの変化を示す。図3では、横軸を常用対数で表した経過時間T(つまり、経過時間X)とし、縦軸を電圧値Vとして表す。図3に示すように、充電終了タイミングにおいて、電圧値Vは開路電圧Yよりも高い値となっており、充電終了タイミング後、電圧値Vは減少を始めるとともに、負の値を有する傾きが徐々に減少する。そして、経過時間TがTpとなり、傾きが極小となる極値点Pに達すると、傾きの絶対値が最大となる。極値点P経過後、電圧値Vの傾きは増大を始め、電圧値Vは開路電圧Yへと収束する。
また、図4に、放電終了後の電圧値Vの変化を示す。図4は、SOC70%からSOC50%まで放電した後の電圧値Vの変化を示す。図4でも、横軸を常用対数で表した経過時間T(つまり、経過時間X)とし、縦軸を電圧値Vとして表す。図4に示すように、放電終了タイミングにおいて、電圧値Vは開路電圧Yよりも低い値となっており、放電終了タイミング後、電圧値Vは増大を始めるとともに、正の値を有する傾きが徐々に増大する。そして、経過時間TがTpとなり、傾きが極大となる極値点Pに達すると、傾きの絶対値が最大となる。極値点P経過後、電圧値Vの傾きは減少を始め、電圧値Vは開路電圧Yへと収束する。
つまり、図3、4に示すように、充放電終了後の電圧値Vは、開路電圧Yに到達するに先立って、傾きの絶対値が最大となる極値点Pに達し、極値点Pを経過した後に開路電圧Yへと収束する。
CPU30は、経過時間Xを用いて所定時間毎に測定される電圧値Vの傾きを算出し、当該傾きの絶対値を用いて極値点Pに達したか否かを検出する。CPU30は、規定時間KTまでに測定された電圧値Vの傾きの絶対値が増大を続けている場合、極値点Pが存在しないと判断し(S12:NO)、状態推定処理を終了する。なお、電圧値Vは所定時間毎に測定されてもよければ、連続的に測定されてもよい。
一方、CPU30は、規定時間KTまでに測定された電圧値Vの傾きの絶対値が減少に転じる部分が存在する場合、極値点Pが存在すると判断し(S12:YES)、電圧値Vの傾きの絶対値が最大となる極値点Pを検出するとともに、極値点Pにおける温度Dpを検出する。
次に、CPU30は、メモリ34から単電池14の係数Cを読み出し、算出時間Wを算出する。係数Cは、単電池14の活物質の種類に対応付けて決定される定数であり、各単電池14の極値点Pにおける係数Cとしてメモリ34に記憶されている。また、係数Cは、単電池14の温度Dに応じて定められる定数であり、単電池14の温度Dに対応付けられてメモリ34に記憶されている。例えば、正極活物質としてリチウム含有金属酸化物,負極活物質として炭素材料を用いたリチウムイオン電池では、温度Dが25℃の場合、係数Cは1.48(無単位)となり、温度Dが0℃の場合、係数Cは1.38(無単位)となる。
CPU30は、極値点Pにおける温度Dpに対応付けられてメモリ34に記憶されている係数Cを選出し(S13)、極値点Pの経過時間XであるXpに係数Cを積した算出時間Wを算出する(S14)。
W=C*Xp
次に、CPU30は、極値点Pにおける近似直線の近似式を算出する(S16)。近似式を算出する方法としては、例えば、横軸を経過時間Xとし、縦軸を電圧値Vとして表したグラフにおいて、極値点Pの直前に測定された電圧値V及び経過時間Xと、極値点Pの直後に測定された電圧値V及び経過時間Xを直線で結んだものを極値点Pの近似直線とし、その近似式を算出してもよい。また、極値点Pと極値点Pの直前及び直後に測定された電圧値V及び経過時間Xに最小二乗法等の公知の方法を用いて算出された近似式を、極値点Pの近似式としてもよい。極値点Pにおける傾きをAとし、切片をBとすると、近似式は下記の式ように表される。
V=A*X+B
次に、CPU30は、開路電圧Yを推定する(S18)。CPU30は、算出時間Wを近似式の電圧値Xに代入し、この際に得られる電圧値Vを開路電圧Yとして推定する(図3、4参照)。
次に、CPU30は、推定した開路電圧Yから単電池14のSOCを推定する(S20)。CPU30は、メモリ34から図5に示す単電池14の開路電圧YとSOCとの相関関係表を読み出し、当該相関関係表において推定した開路電圧Yに対応つけられたSOCを単電池14のSOCとして推定する。
なお、メモリ34に記憶されている係数Cは、同一の単電池14を用いて決定されてメモリ34に記憶されており、または同一の活物質を有する他の単電池14を用いて決定されている。係数Cを測定する場合には、単電池14の使用開始時等の任意の基準時において、充放電終了後の温度D及び電圧値Vを測定し、当該測定における極値点P(Tp、Vp)、極値点Pにおける温度Dp、極値点Pにおける近似直線の近似式、及び開路電圧Yを求めておき、上記の式を用いて決定することができる。
3.本実施形態の効果
(1)本実施形態の電池システム10では、極値点Pにおける近似直線の近似式と、単電池14の活物質から決定される係数Cから開路電圧Yを推定する。そのため、極値点P及び当該極値点Pにおける近似式が得られれば、極値点P経過後、電圧値Vが開路電圧Yに収束するまで電圧値Vの測定を継続する必要がなく、開路電圧Yを早期に推定することができる。例えば、従来では、25℃において、3%程度の精度が必要な場合、電圧値Vの測定を40分程度継続して行う必要があったが、本実施形態の電池システムでは、3%程度の精度が必要な場合、電圧値Vの測定を100秒以下にまで短縮することができる。
特に、開路電圧Yの推定中は、単電池14の充放電ができない、いわゆる使用不能期間となる。使用不能期間が比較的長く存在すると、単電池14の使用効率が低下する。本実施形態の電池システムでは、開路電圧Y(あるいはSOC)を推定する際の使用不能期間を短縮することができ、単電池14の使用効率を向上させることができる。
(2)本実施形態の電池システム10では、単電池14の活物質から決定される係数Cを用いて開路電圧Yを推定する。係数Cは、単電池14の活物質の種類に対応付けて決定されている定数であるので、単電池14の活物質の種類が解かっていれば、充放電毎に係数Cを求める必要がなく、開路電圧Yを早期に推定することができる。
(3)本実施形態の電池システム10では、温度センサ26が測定した極値点Pにおける温度Dpに基づいて係数Cを選出し、当該選出された係数Cを用いて開路電圧Yを推定するので、開路電圧Yを精度よく推定することができる。
(4)本実施形態の電池システム10では、規定時間TKに亘って温度D及び電圧値Vの測定を継続した後に、温度D及び電圧値Vの測定を終了するので、電圧値Vが開路電圧Yに収束するまで電圧値Vの測定を継続する場合に比べて、開路電圧Yを早期に推定することができる。
(5)本実施形態の電池システム10では、電流センサ22が検出する電流値Iがゼロとなるタイミングから充放電終了タイミングを検出するので、充放電終了タイミングを正確に検出することができる。
(6)本実施形態の電池システム10では、極値点Pにおける近似直線の近似式と、単電池14の活物質から決定される係数Cとを用いて早期に推定される開路電圧Yを用いて単電池14のSOCを推定するので、単電池14のSOCを早期に推定することができる。
<他の実施形態>
本明細書が開示する技術は上記記述及び図面によって説明した実施形態に限定されるものではなく、例えば次のような種々の態様も本発明の技術的範囲に含まれる。
(1)上記実施形態では、蓄電素子の一例として二次電池の単電池14を示したが、これに限らず、蓄電素子は、電気化学現象を伴うキャパシタ等であってもよい。
(2)上記実施形態では、極値点Pにおける近似直線の近似式と、極値点Pにおける係数Cから開路電圧Yを推定する例を用いて説明を行った。しかし、組電池12への充放電終了後、近似直線を求めるタイミングは極値点Pに限られず、電圧値Vが開路電圧Yに収束するまでの任意のタイミングにおける近似直線の近似式から開路電圧Yを推定してもよい。
この場合、係数Cは、単電池14の活物質、温度Dに加え、充放電終了タイミングからの経過時間T(X)に対応付けられてメモリ34に記憶されている。CPU30は、近似直線の近似式が算出されると、当該近似直線に係る経過時間Tに対応付けてメモリ34に記憶されている係数Cを選出し、算出時間Wを算出する。そして、当該近似式と算出時間Wから開路電圧Yを推定する
(3)上記実施形態では、図3,4に示すように、電圧値Vの近似直線を設定する際に、経過時間Tを常用対数で表した経過時間Xとの関係において、近似直線を設定し、その近似式を求める例を用いて説明を行った。しかし、近似直線を設定する際に、経過時間Tをそのまま用いてもよければ、経過時間Tを自然対数で表したものとの関係において、近似直線を設定してもよい。
(4)上記実施形態では、推定された単電池14の開路電圧Yから当該単電池14のSOCを推定する際に、開路電圧YとSOCとの相関関係表を用いてSOCを推定する例を用いて説明を行った。しかし、SOCを推定する方法は、これに限られず、開路電圧YからSOCを推定する公知の方法を利用することができる。
(5)上記実施形態では、充放電終了タイミングを検出するのに、BMS20が有する電流センサ22が測定する組電池12の電流値Iがゼロとなるタイミングを充放電終了タイミングとして検出する例を用いて説明を行った。しかし、充放電終了タイミングを検出する方法は、これに限られず、例えば電池システム10を管理する管理装置から入力されるシステムステータス情報等に基づいて充放電終了タイミングを検出してもよい。
(6)上記実施形態では、係数Cが極値点Pにおける温度Dpに基づいて選出される例を用いて説明を行ったが、必ずしも温度Dpに基づいて選出されなくてもよい。また、係数Cの選出に関わる温度Dは、極値点Pにおける温度Dpにも限られず、充放電終了タイミング後、極値点Pが測定される経過時間Xpまでに測定された単電池14の温度Dに基づいて係数Cを選出してもよい。
(7)上記実施形態では、制御部の一例として、1つのCPU32等を備える制御ユニット30を例挙げた。しかし、制御部は、複数のCPUを備える構成や、ASIC(Application Specific Integrated Circuit)などのハード回路を備える構成や、ハード回路及びCPUの両方を備える構成でもよい。要するに、制御部は、上記の状態推定処理を、ソフト処理またはハード回路を利用して実行するものであればよい。
(8)さらには、必ずしも状態推定処理の全ての処理を実行しなくてもよい。例えば、SOCを推定する処理(S20)を除いたものは、単電池14の開路電圧Yを推定する開路電圧推定処理として利用することができる。
(9)上記実施形態では、CPU30が読み込んで実行するプログラムとして、メモリ34に記憶されたものを例に挙げた。しかし、プログラムは、これに限らず、ハードディスク装置、フラッシュメモリ(登録商標)などの不揮発性メモリや、CD−Rなどの記憶媒体などに記憶されたものでもよい。また、メモリ34は、必ずしも制御ユニット30の内部に設けられる必要はなく、制御ユニット30の外部に設けられていてもよい。
10:電池システム、12:組電池、14:単電池、20:BMS、22:電流センサ、24:電圧測定回路、26:温度センサ、30:制御ユニット、32:CPU、34:メモリ、36:ADC、C:係数、D:温度、I:電流値、P:極値点、T:経過時間、V:電圧値、W:算出時間

Claims (13)

  1. 蓄電素子の開路電圧を推定する開路電圧推定装置であって、
    前記蓄電素子の端子電圧を測定する電圧測定部と、
    制御部と、
    を備え、
    前記制御部は、
    前記蓄電素子の充放電終了後に前記端子電圧を測定し、前記蓄電素子の充放電終了タイミングからの経過時間に関連付けて記憶する電圧測定処理と、
    前記蓄電素子の充放電終了後から所定の経過時間における前記端子電圧の近似直線の近似式を算出する直線算出処理と、
    前記所定の経過時間と、前記蓄電素子の活物質及び前記所定の経過時間に応じて定められた係数とから算出時間を算出する時間算出処理と、
    前記近似式に前記算出時間を代入したものを前記開路電圧として推定する電圧推定処理と、
    を実行する構成を有する、開路電圧推定装置。
  2. 請求項1に記載の開路電圧推定装置であって、
    前記直線算出処理において、前記経過時間を常用対数で表した値を用いて前記近似式を算出する構成を有する、開路電圧推定装置。
  3. 請求項1または請求項2に記載の開路電圧推定装置であって、
    前記制御部は、
    前記端子電圧の傾きの絶対値が最も大きくなる極値点を検出する極値点検出処理を更に実行し、
    前記直線算出処理及び前記時間算出処理では、前記蓄電素子の充放電終了後から前記極値点までの経過時間を前記所定の経過時間として処理を実行する構成を有する、開路電圧推定装置。
  4. 請求項1ないし請求項3のいずれか一項に記載の開路電圧推定装置であって、
    前記蓄電素子の温度を測定する温度測定部を更に備え、
    前記係数は、前記蓄電素子の温度に応じて定められており、
    前記制御部は、
    前記時間算出処理において、前記所定の経過時間における前記蓄電素子の温度に応じて前記係数を決定して前記算出時間を算出する構成を有する、開路電圧推定装置。
  5. 請求項1ないし請求項4のいずれか一項に記載の開路電圧推定装置であって、
    前記制御部は、
    前記電圧測定処理において、前記経過時間が予め定められた規定時間経過したことを条件に、前記端子電圧の測定を終了する構成を有する、開路電圧推定装置。
  6. 請求項1ないし請求項5のいずれか一項に記載の開路電圧推定装置であって、
    前記蓄電素子の充放電電流を検出する電流検出部を更に備え、
    前記制御部は、
    前記電圧測定処理において、前記電流検出部の検出結果から、前記充放電終了タイミングを検出する構成を有する、開路電圧推定装置。
  7. 蓄電素子の内部状態を推定する状態推定装置であって、
    請求項1ないし請求項6のいずれか一項に記載の開路電圧推定装置と、
    前記蓄電素子の開路電圧と内部状態との相関関係に関する情報が記憶されるメモリと、
    を備え、
    前記制御部は、
    前記電圧推定処理で推定された前記開路電圧と、前記メモリに記憶された前記相関関係に関する情報から前記蓄電素子の内部状態を推定する状態推定処理を更に実行する構成を有する、状態推定装置。
  8. 蓄電素子の開路電圧を推定する開路電圧推定方法であって、
    前記蓄電素子の充放電終了後に前記蓄電素子の端子電圧を測定し、前記蓄電素子の充放電終了タイミングからの経過時間に関連付けて記憶する電圧測定工程と、
    前記蓄電素子の充放電終了後から所定の経過時間における前記端子電圧の近似直線の近似式を算出する直線算出工程と、
    前記所定の経過時間と、前記蓄電素子の活物質及び前記所定の経過時間に応じて定められた係数とから算出時間を算出する時間算出工程と、
    前記近似式に前記算出時間を代入したものを前記開路電圧として推定する電圧推定工程と、
    を備える、開路電圧推定方法。
  9. 請求項8に記載の開路電圧推定方法であって、
    前記直線算出工程において、前記経過時間を常用対数で表した値を用いて前記近似式を算出する、開路電圧推定方法。
  10. 請求項8または請求項9に記載の開路電圧推定方法であって、
    前記端子電圧の傾きの絶対値が最も大きくなる極値点を検出する極値点検出工程を更に備え、
    前記直線算出工程及び前記時間算出工程において、前記蓄電素子の充放電終了後から前記極値点までの経過時間を前記所定の経過時間として処理を実行する、開路電圧推定方法。
  11. 請求項8ないし請求項10のいずれか一項に記載の開路電圧推定方法であって、
    前記係数は、前記蓄電素子の温度に応じて定められており、
    前記時間算出工程において、前記所定の経過時間における前記蓄電素子の温度に応じて前記係数を決定して前記算出時間を算出する、開路電圧推定方法。
  12. 請求項8ないし請求項11のいずれか一項に記載の開路電圧推定方法であって、
    前記電圧測定工程において、前記経過時間が予め定められた規定時間経過したことを条件に、前記端子電圧の測定を終了する、開路電圧推定方法。
  13. 請求項8ないし請求項12のいずれか一項に記載の開路電圧推定方法であって、
    前記電圧測定工程において、前記蓄電素子の充放電電流を検出した結果から、前記充放電終了タイミングを検出する、開路電圧推定方法。
JP2012113271A 2012-05-17 2012-05-17 開路電圧推定装置、状態推定装置及び開路電圧推定方法 Active JP6066163B2 (ja)

Priority Applications (5)

Application Number Priority Date Filing Date Title
JP2012113271A JP6066163B2 (ja) 2012-05-17 2012-05-17 開路電圧推定装置、状態推定装置及び開路電圧推定方法
KR1020130044011A KR101996974B1 (ko) 2012-05-17 2013-04-22 개로 전압 추정 장치, 상태 추정 장치 및 개로 전압 추정 방법
CN201310142247.2A CN103424708B (zh) 2012-05-17 2013-04-23 开路电压推断装置、状态推断装置及开路电压推断方法
US13/897,115 US10901039B2 (en) 2012-05-17 2013-05-17 Open circuit voltage estimation device, condition estimation device, and method of estimating open circuit voltage
EP13168298.1A EP2664938B1 (en) 2012-05-17 2013-05-17 Open circuit voltage estimation device, condition estimation device, and method of estimating open circuit voltage

Applications Claiming Priority (1)

Application Number Priority Date Filing Date Title
JP2012113271A JP6066163B2 (ja) 2012-05-17 2012-05-17 開路電圧推定装置、状態推定装置及び開路電圧推定方法

Publications (2)

Publication Number Publication Date
JP2013238564A true JP2013238564A (ja) 2013-11-28
JP6066163B2 JP6066163B2 (ja) 2017-01-25

Family

ID=48538960

Family Applications (1)

Application Number Title Priority Date Filing Date
JP2012113271A Active JP6066163B2 (ja) 2012-05-17 2012-05-17 開路電圧推定装置、状態推定装置及び開路電圧推定方法

Country Status (5)

Country Link
US (1) US10901039B2 (ja)
EP (1) EP2664938B1 (ja)
JP (1) JP6066163B2 (ja)
KR (1) KR101996974B1 (ja)
CN (1) CN103424708B (ja)

Cited By (3)

* Cited by examiner, † Cited by third party
Publication number Priority date Publication date Assignee Title
JP2018156759A (ja) * 2017-03-16 2018-10-04 プライムアースEvエナジー株式会社 二次電池の状態判定方法及び二次電池の状態判定装置
JPWO2018173174A1 (ja) * 2017-03-22 2019-04-04 中国電力株式会社 入口弁の動作検知システム及び入口弁の動作検知方法
WO2021091086A1 (ko) * 2019-11-05 2021-05-14 주식회사 엘지화학 배터리 진단 장치, 배터리 진단 방법 및 에너지 저장 시스템

Families Citing this family (8)

* Cited by examiner, † Cited by third party
Publication number Priority date Publication date Assignee Title
DE102012013405A1 (de) * 2012-07-05 2014-01-09 Audi Ag Diagnoseeinrichtung zur Überprüfung einer Steuersignalleitung
CN103983833B (zh) * 2014-05-28 2016-10-05 山东大学 基于gm(1,1)灰色模型的电池开路电压预测方法
US10282874B2 (en) * 2014-09-17 2019-05-07 Circonus, Inc. Efficient time-series histograms
US10365334B2 (en) * 2015-05-25 2019-07-30 Nec Corporation Storage battery control device, power storage system, control method, and computer-readable medium
DE102016223326A1 (de) * 2016-02-04 2017-08-10 Siemens Aktiengesellschaft Verfahren zur Bestimmung der Alterung eines elektrochemischen Speichers
CN106338646A (zh) * 2016-10-12 2017-01-18 上海信耀电子有限公司 一种汽车铅酸电池开路电压的计算方法及系统
FR3104728B1 (fr) 2019-12-11 2021-12-10 Electricite De France Diagnostic de systèmes de stockage d’énergie en opération
CN114460475B (zh) * 2022-04-12 2022-07-22 深圳市思远半导体有限公司 电池ocv确定方法及装置、电池soc的估算方法

Citations (3)

* Cited by examiner, † Cited by third party
Publication number Priority date Publication date Assignee Title
JPH04134279A (ja) * 1990-09-27 1992-05-08 Yuasa Corp 鉛蓄電池の開路電圧測定法
JP2002250757A (ja) * 2001-02-23 2002-09-06 Yazaki Corp 車両用バッテリの開回路電圧推定方法及びその装置
JP2009234557A (ja) * 2007-11-14 2009-10-15 Autonetworks Technologies Ltd 開放電圧値推定方法及び開放電圧値推定装置

Family Cites Families (17)

* Cited by examiner, † Cited by third party
Publication number Priority date Publication date Assignee Title
US4344142A (en) * 1974-05-23 1982-08-10 Federal-Mogul Corporation Direct digital control of rubber molding presses
US4514694A (en) * 1981-07-23 1985-04-30 Curtis Instruments Quiescent battery testing method and apparatus
JPH0798367A (ja) 1993-09-28 1995-04-11 Honda Motor Co Ltd 電池の残容量推定方法
JP2810630B2 (ja) * 1993-11-16 1998-10-15 キヤノン株式会社 太陽電池の電力制御装置、電力制御システム、電力制御方法及び電圧電流出力特性の測定方法
US6313605B1 (en) * 1998-12-08 2001-11-06 Total Battery Management, Inc. Battery charger and method of charging nickel based batteries
US6624636B2 (en) * 2001-02-23 2003-09-23 Yazaki Corporation Method and apparatus for estimating terminal voltage of battery, method and apparatus for computing open circuit voltage of battery, and method and apparatus for computing battery capacity
JP4078880B2 (ja) * 2002-05-24 2008-04-23 日産自動車株式会社 蓄電システム
CN100520431C (zh) * 2003-07-29 2009-07-29 松下电动车辆能源股份有限公司 二次电池的充放电电量推定方法及装置
KR100805116B1 (ko) 2006-09-08 2008-02-21 삼성에스디아이 주식회사 배터리 관리 시스템 및 그 구동방법
KR100985667B1 (ko) * 2007-08-22 2010-10-05 주식회사 엘지화학 배터리 개방전압 추정장치, 이를 이용한 배터리 충전상태추정장치 및 그 제어 방법
JP2009072020A (ja) * 2007-09-14 2009-04-02 Calsonic Kansei Corp 二次電池の内部状態推定装置
JP4459997B2 (ja) * 2007-11-06 2010-04-28 株式会社日本自動車部品総合研究所 車載バッテリの状態推定装置、内燃機関の自動停止始動装置、及び内燃機関の自動停止始動システム
JP5262179B2 (ja) 2008-02-26 2013-08-14 日産自動車株式会社 二次電池の充電率推定装置および充電率推定方法
JP4702859B2 (ja) 2008-04-11 2011-06-15 古河電気工業株式会社 蓄電池の状態検知方法
KR101187766B1 (ko) 2008-08-08 2012-10-05 주식회사 엘지화학 배터리 셀의 전압 변화 거동을 이용한 셀 밸런싱 장치 및 방법
JP2010200574A (ja) 2009-02-27 2010-09-09 Panasonic Corp 自己診断回路、及び電源装置
JP2010203854A (ja) 2009-03-02 2010-09-16 Nissan Motor Co Ltd 二次電池の内部状態推定装置

Patent Citations (3)

* Cited by examiner, † Cited by third party
Publication number Priority date Publication date Assignee Title
JPH04134279A (ja) * 1990-09-27 1992-05-08 Yuasa Corp 鉛蓄電池の開路電圧測定法
JP2002250757A (ja) * 2001-02-23 2002-09-06 Yazaki Corp 車両用バッテリの開回路電圧推定方法及びその装置
JP2009234557A (ja) * 2007-11-14 2009-10-15 Autonetworks Technologies Ltd 開放電圧値推定方法及び開放電圧値推定装置

Cited By (4)

* Cited by examiner, † Cited by third party
Publication number Priority date Publication date Assignee Title
JP2018156759A (ja) * 2017-03-16 2018-10-04 プライムアースEvエナジー株式会社 二次電池の状態判定方法及び二次電池の状態判定装置
JPWO2018173174A1 (ja) * 2017-03-22 2019-04-04 中国電力株式会社 入口弁の動作検知システム及び入口弁の動作検知方法
WO2021091086A1 (ko) * 2019-11-05 2021-05-14 주식회사 엘지화학 배터리 진단 장치, 배터리 진단 방법 및 에너지 저장 시스템
US11796599B2 (en) 2019-11-05 2023-10-24 Lg Energy Solution, Ltd. Battery diagnosis apparatus, battery diagnosis method and energy storage system

Also Published As

Publication number Publication date
CN103424708B (zh) 2017-12-22
EP2664938A3 (en) 2015-07-22
US20130311118A1 (en) 2013-11-21
EP2664938A2 (en) 2013-11-20
US10901039B2 (en) 2021-01-26
JP6066163B2 (ja) 2017-01-25
CN103424708A (zh) 2013-12-04
KR101996974B1 (ko) 2019-07-05
KR20130129096A (ko) 2013-11-27
EP2664938B1 (en) 2016-11-23

Similar Documents

Publication Publication Date Title
JP6066163B2 (ja) 開路電圧推定装置、状態推定装置及び開路電圧推定方法
JP6155830B2 (ja) 状態推定装置、状態推定方法
JP6119402B2 (ja) 内部抵抗推定装置及び内部抵抗推定方法
EP2711727B1 (en) Battery condition estimation device and method of generating open circuit voltage characteristic
JP6477733B2 (ja) 充電状態推定装置
US11022653B2 (en) Deterioration degree estimation device and deterioration degree estimation method
JP5397679B2 (ja) 二次電池の劣化診断方法、及び二次電池の劣化診断装置
CN106461732B (zh) 用于估计电池的健康状态的方法
JP6300000B2 (ja) 充電状態推定装置、充電状態推定方法
US9983270B2 (en) State of charge estimation device and method of estimating state of charge
WO2007074614A1 (ja) 二次電池の充電状態推定装置および充電状態推定方法
JP2018146372A (ja) 蓄電池の劣化判定方法及び蓄電池の劣化判定装置
JP2012108139A (ja) 電池の残存容量検出装置
CN104335057A (zh) 用于确定电池的实际容量的方法和设备
JP5911407B2 (ja) バッテリの健全度算出装置および健全度算出方法
JPWO2019230131A1 (ja) 充電制御装置、輸送機器、及びプログラム
JP2014109535A (ja) 内部抵抗推定装置、充電装置、放電装置、内部抵抗推定方法
CN112415409A (zh) 估算电池容量的方法和装置、存储介质及车辆
JP5904916B2 (ja) バッテリの健全度算出装置および健全度算出方法
JP5999409B2 (ja) 状態推定装置及び状態推定方法
JP2010197354A (ja) 二次電池の容量推定装置
JP2014059251A (ja) 内部抵抗推定装置及び内部抵抗推定方法
WO2014038555A1 (ja) 電池残量検出装置、電池システム、電池残量検出方法およびプログラム
JP2003047165A (ja) 充電装置
JP2019070622A (ja) 二次電池システム

Legal Events

Date Code Title Description
A621 Written request for application examination

Free format text: JAPANESE INTERMEDIATE CODE: A621

Effective date: 20150421

A977 Report on retrieval

Free format text: JAPANESE INTERMEDIATE CODE: A971007

Effective date: 20160324

A131 Notification of reasons for refusal

Free format text: JAPANESE INTERMEDIATE CODE: A131

Effective date: 20160329

A521 Request for written amendment filed

Free format text: JAPANESE INTERMEDIATE CODE: A523

Effective date: 20160527

A131 Notification of reasons for refusal

Free format text: JAPANESE INTERMEDIATE CODE: A131

Effective date: 20160628

A131 Notification of reasons for refusal

Free format text: JAPANESE INTERMEDIATE CODE: A131

Effective date: 20161004

TRDD Decision of grant or rejection written
A01 Written decision to grant a patent or to grant a registration (utility model)

Free format text: JAPANESE INTERMEDIATE CODE: A01

Effective date: 20161201

A61 First payment of annual fees (during grant procedure)

Free format text: JAPANESE INTERMEDIATE CODE: A61

Effective date: 20161214

R150 Certificate of patent or registration of utility model

Ref document number: 6066163

Country of ref document: JP

Free format text: JAPANESE INTERMEDIATE CODE: R150