JP2013155195A - 副甲状腺ホルモンを低減する治療剤 - Google Patents
副甲状腺ホルモンを低減する治療剤 Download PDFInfo
- Publication number
- JP2013155195A JP2013155195A JP2013099331A JP2013099331A JP2013155195A JP 2013155195 A JP2013155195 A JP 2013155195A JP 2013099331 A JP2013099331 A JP 2013099331A JP 2013099331 A JP2013099331 A JP 2013099331A JP 2013155195 A JP2013155195 A JP 2013155195A
- Authority
- JP
- Japan
- Prior art keywords
- seq
- pth
- compound
- amino acid
- peptide
- Prior art date
- Legal status (The legal status is an assumption and is not a legal conclusion. Google has not performed a legal analysis and makes no representation as to the accuracy of the status listed.)
- Granted
Links
Images
Classifications
-
- C—CHEMISTRY; METALLURGY
- C07—ORGANIC CHEMISTRY
- C07K—PEPTIDES
- C07K7/00—Peptides having 5 to 20 amino acids in a fully defined sequence; Derivatives thereof
- C07K7/04—Linear peptides containing only normal peptide links
- C07K7/06—Linear peptides containing only normal peptide links having 5 to 11 amino acids
-
- A—HUMAN NECESSITIES
- A61—MEDICAL OR VETERINARY SCIENCE; HYGIENE
- A61K—PREPARATIONS FOR MEDICAL, DENTAL OR TOILETRY PURPOSES
- A61K31/00—Medicinal preparations containing organic active ingredients
- A61K31/59—Compounds containing 9, 10- seco- cyclopenta[a]hydrophenanthrene ring systems
-
- A—HUMAN NECESSITIES
- A61—MEDICAL OR VETERINARY SCIENCE; HYGIENE
- A61K—PREPARATIONS FOR MEDICAL, DENTAL OR TOILETRY PURPOSES
- A61K47/00—Medicinal preparations characterised by the non-active ingredients used, e.g. carriers or inert additives; Targeting or modifying agents chemically bound to the active ingredient
- A61K47/50—Medicinal preparations characterised by the non-active ingredients used, e.g. carriers or inert additives; Targeting or modifying agents chemically bound to the active ingredient the non-active ingredient being chemically bound to the active ingredient, e.g. polymer-drug conjugates
- A61K47/51—Medicinal preparations characterised by the non-active ingredients used, e.g. carriers or inert additives; Targeting or modifying agents chemically bound to the active ingredient the non-active ingredient being chemically bound to the active ingredient, e.g. polymer-drug conjugates the non-active ingredient being a modifying agent
- A61K47/56—Medicinal preparations characterised by the non-active ingredients used, e.g. carriers or inert additives; Targeting or modifying agents chemically bound to the active ingredient the non-active ingredient being chemically bound to the active ingredient, e.g. polymer-drug conjugates the non-active ingredient being a modifying agent the modifying agent being an organic macromolecular compound, e.g. an oligomeric, polymeric or dendrimeric molecule
- A61K47/59—Medicinal preparations characterised by the non-active ingredients used, e.g. carriers or inert additives; Targeting or modifying agents chemically bound to the active ingredient the non-active ingredient being chemically bound to the active ingredient, e.g. polymer-drug conjugates the non-active ingredient being a modifying agent the modifying agent being an organic macromolecular compound, e.g. an oligomeric, polymeric or dendrimeric molecule obtained otherwise than by reactions only involving carbon-to-carbon unsaturated bonds, e.g. polyureas or polyurethanes
- A61K47/60—Medicinal preparations characterised by the non-active ingredients used, e.g. carriers or inert additives; Targeting or modifying agents chemically bound to the active ingredient the non-active ingredient being chemically bound to the active ingredient, e.g. polymer-drug conjugates the non-active ingredient being a modifying agent the modifying agent being an organic macromolecular compound, e.g. an oligomeric, polymeric or dendrimeric molecule obtained otherwise than by reactions only involving carbon-to-carbon unsaturated bonds, e.g. polyureas or polyurethanes the organic macromolecular compound being a polyoxyalkylene oligomer, polymer or dendrimer, e.g. PEG, PPG, PEO or polyglycerol
-
- A—HUMAN NECESSITIES
- A61—MEDICAL OR VETERINARY SCIENCE; HYGIENE
- A61K—PREPARATIONS FOR MEDICAL, DENTAL OR TOILETRY PURPOSES
- A61K9/00—Medicinal preparations characterised by special physical form
- A61K9/0012—Galenical forms characterised by the site of application
- A61K9/0019—Injectable compositions; Intramuscular, intravenous, arterial, subcutaneous administration; Compositions to be administered through the skin in an invasive manner
-
- A—HUMAN NECESSITIES
- A61—MEDICAL OR VETERINARY SCIENCE; HYGIENE
- A61K—PREPARATIONS FOR MEDICAL, DENTAL OR TOILETRY PURPOSES
- A61K9/00—Medicinal preparations characterised by special physical form
- A61K9/08—Solutions
-
- A—HUMAN NECESSITIES
- A61—MEDICAL OR VETERINARY SCIENCE; HYGIENE
- A61P—SPECIFIC THERAPEUTIC ACTIVITY OF CHEMICAL COMPOUNDS OR MEDICINAL PREPARATIONS
- A61P13/00—Drugs for disorders of the urinary system
- A61P13/12—Drugs for disorders of the urinary system of the kidneys
-
- A—HUMAN NECESSITIES
- A61—MEDICAL OR VETERINARY SCIENCE; HYGIENE
- A61P—SPECIFIC THERAPEUTIC ACTIVITY OF CHEMICAL COMPOUNDS OR MEDICINAL PREPARATIONS
- A61P3/00—Drugs for disorders of the metabolism
-
- A—HUMAN NECESSITIES
- A61—MEDICAL OR VETERINARY SCIENCE; HYGIENE
- A61P—SPECIFIC THERAPEUTIC ACTIVITY OF CHEMICAL COMPOUNDS OR MEDICINAL PREPARATIONS
- A61P3/00—Drugs for disorders of the metabolism
- A61P3/12—Drugs for disorders of the metabolism for electrolyte homeostasis
- A61P3/14—Drugs for disorders of the metabolism for electrolyte homeostasis for calcium homeostasis
-
- A—HUMAN NECESSITIES
- A61—MEDICAL OR VETERINARY SCIENCE; HYGIENE
- A61P—SPECIFIC THERAPEUTIC ACTIVITY OF CHEMICAL COMPOUNDS OR MEDICINAL PREPARATIONS
- A61P43/00—Drugs for specific purposes, not provided for in groups A61P1/00-A61P41/00
-
- A—HUMAN NECESSITIES
- A61—MEDICAL OR VETERINARY SCIENCE; HYGIENE
- A61P—SPECIFIC THERAPEUTIC ACTIVITY OF CHEMICAL COMPOUNDS OR MEDICINAL PREPARATIONS
- A61P5/00—Drugs for disorders of the endocrine system
-
- A—HUMAN NECESSITIES
- A61—MEDICAL OR VETERINARY SCIENCE; HYGIENE
- A61P—SPECIFIC THERAPEUTIC ACTIVITY OF CHEMICAL COMPOUNDS OR MEDICINAL PREPARATIONS
- A61P5/00—Drugs for disorders of the endocrine system
- A61P5/14—Drugs for disorders of the endocrine system of the thyroid hormones, e.g. T3, T4
-
- A—HUMAN NECESSITIES
- A61—MEDICAL OR VETERINARY SCIENCE; HYGIENE
- A61P—SPECIFIC THERAPEUTIC ACTIVITY OF CHEMICAL COMPOUNDS OR MEDICINAL PREPARATIONS
- A61P5/00—Drugs for disorders of the endocrine system
- A61P5/18—Drugs for disorders of the endocrine system of the parathyroid hormones
-
- A—HUMAN NECESSITIES
- A61—MEDICAL OR VETERINARY SCIENCE; HYGIENE
- A61P—SPECIFIC THERAPEUTIC ACTIVITY OF CHEMICAL COMPOUNDS OR MEDICINAL PREPARATIONS
- A61P5/00—Drugs for disorders of the endocrine system
- A61P5/18—Drugs for disorders of the endocrine system of the parathyroid hormones
- A61P5/20—Drugs for disorders of the endocrine system of the parathyroid hormones for decreasing, blocking or antagonising the activity of PTH
-
- C—CHEMISTRY; METALLURGY
- C07—ORGANIC CHEMISTRY
- C07K—PEPTIDES
- C07K5/00—Peptides containing up to four amino acids in a fully defined sequence; Derivatives thereof
- C07K5/04—Peptides containing up to four amino acids in a fully defined sequence; Derivatives thereof containing only normal peptide links
- C07K5/10—Tetrapeptides
- C07K5/1002—Tetrapeptides with the first amino acid being neutral
- C07K5/1005—Tetrapeptides with the first amino acid being neutral and aliphatic
- C07K5/1013—Tetrapeptides with the first amino acid being neutral and aliphatic the side chain containing O or S as heteroatoms, e.g. Cys, Ser
-
- C—CHEMISTRY; METALLURGY
- C07—ORGANIC CHEMISTRY
- C07K—PEPTIDES
- C07K7/00—Peptides having 5 to 20 amino acids in a fully defined sequence; Derivatives thereof
- C07K7/04—Linear peptides containing only normal peptide links
- C07K7/08—Linear peptides containing only normal peptide links having 12 to 20 amino acids
-
- A—HUMAN NECESSITIES
- A61—MEDICAL OR VETERINARY SCIENCE; HYGIENE
- A61K—PREPARATIONS FOR MEDICAL, DENTAL OR TOILETRY PURPOSES
- A61K2300/00—Mixtures or combinations of active ingredients, wherein at least one active ingredient is fully defined in groups A61K31/00 - A61K41/00
-
- A—HUMAN NECESSITIES
- A61—MEDICAL OR VETERINARY SCIENCE; HYGIENE
- A61K—PREPARATIONS FOR MEDICAL, DENTAL OR TOILETRY PURPOSES
- A61K38/00—Medicinal preparations containing peptides
Landscapes
- Health & Medical Sciences (AREA)
- Chemical & Material Sciences (AREA)
- Organic Chemistry (AREA)
- Medicinal Chemistry (AREA)
- General Health & Medical Sciences (AREA)
- Life Sciences & Earth Sciences (AREA)
- Veterinary Medicine (AREA)
- Animal Behavior & Ethology (AREA)
- Public Health (AREA)
- Pharmacology & Pharmacy (AREA)
- Engineering & Computer Science (AREA)
- Bioinformatics & Cheminformatics (AREA)
- Proteomics, Peptides & Aminoacids (AREA)
- Molecular Biology (AREA)
- Biochemistry (AREA)
- Biophysics (AREA)
- Genetics & Genomics (AREA)
- Epidemiology (AREA)
- Nuclear Medicine, Radiotherapy & Molecular Imaging (AREA)
- Chemical Kinetics & Catalysis (AREA)
- General Chemical & Material Sciences (AREA)
- Diabetes (AREA)
- Endocrinology (AREA)
- Dermatology (AREA)
- Obesity (AREA)
- Urology & Nephrology (AREA)
- Hematology (AREA)
- Rheumatology (AREA)
- Medicines That Contain Protein Lipid Enzymes And Other Medicines (AREA)
- Peptides Or Proteins (AREA)
- Pharmaceuticals Containing Other Organic And Inorganic Compounds (AREA)
- Acyclic And Carbocyclic Compounds In Medicinal Compositions (AREA)
- Medicinal Preparation (AREA)
- Organic Low-Molecular-Weight Compounds And Preparation Thereof (AREA)
Abstract
【解決手段】一態様では、式:X1−X2−X3−X4−X5−X6−X7、を含む化合物が提供され、式中、X1はチオール含有基を含むサブユニットであり;X5はカチオン性サブユニットであり;X6は非カチオン性サブユニットであり;X7はカチオン性サブユニットであり;X2、X3およびX4のうちの少なくとも1つ、好ましくは2つは、それぞれ独立して、カチオン性サブユニットであり;化合物は、副甲状腺ホルモン濃度を減少させる活性を有する。
【選択図】なし
Description
本願は、2009年7月29日に出願された米国仮特許出願第61/229,695号、2009年10月28日に出願された米国仮特許出願第61/255,816号、および2010年3月12日に出願された米国仮特許出願第61/313,635号の利益を主張する。これらの出願の各々は、それらの全体が本明細書中に参考として援用される。
配列表は、「632008017WO00seqlist.txt」 (85,400バイト)という名前で、2010年7月29日に作製され、テキストファイルの形でEFSにより電子的に提出されている。その内容は、その全体が、本明細書中に参考として援用される。
本主題は、副甲状腺ホルモン(PTH)レベルを減少させる活性を持つ化合物、その化合物を含む薬学的組成物、および、これらに限定されないが、高カルシウム血症もしくは副甲状腺機能亢進症を治療すること、またはin vivoでPTHレベルを調節することを含めた治療方法におけるそのような化合物および組成物の使用に関する。
X1−X2−X3−X4−X5−X6−X7
を含む化合物が提供され、式中、X1はチオール含有基を含むサブユニットであり;X5はカチオン性サブユニットであり;X6は非カチオン性サブユニットであり;X7はカチオン性サブユニットであり;X2、X3およびX4のうちの少なくとも1つ、好ましくは2つは、それぞれ独立して、カチオン性サブユニットであり;化合物は、副甲状腺ホルモン濃度を減少させる活性を有する。一実施形態では、副甲状腺ホルモン濃度の低下は、処置前の被験体における血液中または血漿中の副甲状腺ホルモン濃度と比較した、化合物で処置した被験体における血液中または血漿中の副甲状腺ホルモン濃度の低下である。別の実施形態では、副甲状腺ホルモン濃度の低下は、ヒスタミン応答なく実現される。
本発明は以下をも提供する。
(1) 式:
X1−X2−X3−X4−X5−X6−X7
(式中、
X1はチオール含有基を含むサブユニットであり;
X5はカチオン性サブユニットであり;
X6は非カチオン性サブユニットであり;
X7はカチオン性サブユニットであり;
X2、X3およびX4のうちの少なくとも2つは、独立して、カチオン性サブユニットである)
を含む化合物であって、
被験体における副甲状腺ホルモンレベルを減少させる活性を有する化合物。
(2) 前記X1サブユニットのチオール基が、チオール含有アミノ酸残基および有機チオール含有部分からなる群から選択される、項目1に記載の化合物。
(3) 前記チオール含有アミノ酸残基が、システイン、グルタチオン、n−アセチル化システインおよびペグ化システインからなる群から選択される、項目2に記載の化合物。
(4) 前記有機チオール含有部分が、メルカプトプロピオン酸、メルカプト酢酸、チオベンジル、およびチオプロピルから選択される、項目2に記載の化合物。
(5) 前記X1サブユニットが、アセチル基、ベンゾイル基、ブチル基、アセチル化ベータアラニンを含むように化学的に修飾されている、または、別のチオール部分に共有結合によってつながっている、項目1に記載の化合物。
(6) 前記式X1−X2−X3−X4−X5−X6−X7が、アミノ酸残基の連続した配列、有機化合物の連続した配列、またはそれらの混合物で構成される、項目1に記載の化合物。
(7) アミノ酸残基の前記連続した配列が、L−アミノ酸残基の連続した配列、D−アミノ酸残基の連続した配列、L−アミノ酸残基とD−アミノ酸残基の混合物の連続した配列、またはアミノ酸残基と非天然アミノ酸残基の混合物である、項目6に記載の化合物。
(8) 前記式X1−X2−X3−X4−X5−X6−X7がアミノ酸残基の連続した配列である、項目1に記載の化合物。
(9) アミノ酸残基の前記連続した配列が、細胞膜を通る輸送を促進するための化合物とコンジュゲートしている、項目8に記載の化合物。
(10) アミノ酸残基の前記連続した配列が、長さ8〜50アミノ酸残基の間のアミノ酸残基の配列内に含有される、項目8に記載の化合物。
(11) 前記X3サブユニットがカチオン性アミノ酸残基である、項目6に記載の化合物。
(12) 前記X2サブユニットが非カチオン性アミノ酸残基である、項目11に記載の化合物。
(13) X4が非カチオン性アミノ酸残基である、項目11に記載の化合物。
(14) 前記非カチオン性アミノ酸残基がD−アミノ酸である、項目12または項目13に記載の化合物。
(15) X3およびX4がカチオン性D−アミノ酸残基である、項目6に記載の化合物。
(16) X5がD−アミノ酸残基である、項目15に記載の化合物。
(17) 前記式が、前記X1サブユニット内のチオール含有基を介して、第2の連続した配列に共有結合で結合している、項目1から16までのいずれか一項に記載の化合物。
(18) 前記第2の連続した配列が前記式と同一である、項目17に記載の化合物。
(19) 前記第2の連続した配列が、前記化合物が細胞膜を通って移動することを促進するペプチドである、項目17に記載の化合物。
(20) 配列carrrar(配列番号2)を含むペプチドとコンジュゲート基とで構成されるコンジュゲートであって、該ペプチドが、そのN末端残基においてジスルフィド結合によって該コンジュゲート基に連結している、コンジュゲート。
(21) 前記ペプチドが、N末端、C末端、またはその両方において化学的に修飾されている、項目20に記載のコンジュゲート。
(22) 前記N末端がアセチル化によって化学的に修飾されており、前記C末端がアミド化によって化学的に修飾されている、項目20に記載のコンジュゲート。
(23) Ac−c(C)arrrar−NH2(配列番号3)である、項目20に記載のコンジュゲート。
(24) 項目1から19までのいずれか一項に記載の化合物または項目20から23までのいずれか一項に記載のコンジュゲートを提供することを含む、被験体における二次性副甲状腺機能亢進症(SHPT)の治療において使用する組成物。
(25) 項目1から19までのいずれか一項に記載の化合物または項目20から23までのいずれか一項に記載のコンジュゲートを提供することを含む、慢性腎疾患に罹患している被験体におけるSHPTにおいて使用する組成物。
(26) 項目1から19までのいずれか一項に記載の化合物または項目20から23までのいずれか一項に記載のコンジュゲートを提供することを含む、被験体における副甲状腺ホルモンレベルを減少させることにおいて使用する組成物。
(27) 経皮的に提供される、項目24、25または26のいずれか一項に記載の組成物。
(28) 項目1から16までのいずれか一項に記載の化合物または項目20から23までのいずれか一項に記載のコンジュゲートおよび第2の治療剤を含む、治療レジメン。
(29) 前記第2の治療剤がビタミンD、ビタミンD類似体またはシナカルセト塩酸塩である、項目28に記載のレジメン。
本出願の範囲内では、別段の指定のない限り、本出願の用語の定義および技法の実例は、いくつかの周知の参考文献、例えば:Sambrook、J.ら、Molecular Cloning:A Laboratory Manual、Cold Spring Harbor Laboratory Press(1989年);Goeddel、D.編、Gene Expression Technology、Methods in Enzymology、185巻、Academic Press、San Diego、CA(1991年);「Guide to Protein Purification」Deutshcer、M.P.編、Methods in Enzymology、Academic Press、San Diego、CA(1989年);Innisら、PCR Protocols:A guide to Methods and Applications、Academic Press、San Diego、CA(1990年);Freshney、R.I.、Culture of Animal Cells:A Manual of Basic Technique、第2版、Alan Liss、Inc. New York、NY(1987年);Murray、E.J.編、Gene Transfer and Expression Protocols、109〜128頁、The Humana Press Inc.、Clifton、NJおよびLewin、B.、Genes VI、Oxford University Press、New York(1997年)などのいずれかにおいて見ることができる。
一態様では、X1−X2−X3−X4−X5−X6−X7のサブユニットの配列を含む化合物が提供され、X1はチオール基を含むサブユニットであり;X5はカチオン性サブユニットであり;X6は非カチオン性サブユニットであり;X7はカチオン性サブユニットであり;X2、X3およびX4のうちの少なくとも2つは、独立して、カチオン性サブユニットである。化合物は、被験体の血液中の副甲状腺ホルモン(PTH)レベルを減少させる活性および/またはカルシウムレベルを減少させる活性を有する。副甲状腺ホルモンレベルの減少は、下に例示する通り、被験体における血漿中PTH濃度または血中PTH濃度が、化合物で処置する前の血漿中PTH濃度または血中PTH濃度と比較して低減することを意味する。一実施形態では、化合物により、投薬後1時間以内に、投薬する前の血漿PTHと比較して少なくとも50%の血漿PTH濃度の低下が実現される。化合物は、ペプチドによって例証されるが、当業者は、本明細書に記載の構造と活性の関連性についての試験に基づいて所望の活性を有する非ペプチド性化合物を設計することができることを理解されたい。
**イソフルラン(isofluorane)で麻酔した正常なラットにおける、0.5mg/kgをIV投与した後のPTH低下−投与の1時間後、2時間後、3時間後および4時間後にPTHを測定し、累積AUCを算出した。PTHのデータを次式に従って算出した:AUC化合物処置/AUC生理食塩水対照×100。
**イソフルラン(isofluorine)で麻酔した正常なラットにおける、0.5mg/kgをIV投与した後のPTH低下−投与の1時間後、2時間後、3時間後および4時間後にPTHを測定し、累積AUCを算出した。PTHのデータを次式に従って算出した:AUC化合物処置/AUC生理食塩水対照×100。
**イソフルランで麻酔した正常なラットにおける、0.5mg/kgをIV投与した後のPTH低下−投与の1時間後、2時間後、3時間後および4時間後にPTHを測定し、累積AUCを算出した。PTHのデータを次式に従って算出した:AUC化合物処置/AUC生理食塩水対照×100。
化合物の治療的活性に対する、化合物の各サブユニットの性質の影響をさらに評価するために、追加的な構造活性試験を行った。これらの試験を、ここで実施例5を参照しながら説明する。
**イソフルランで麻酔した正常なラットにおける、0.5mg/kgをIV投与した後のPTH低下−投与の1時間後、2時間後、3時間後および4時間後にPTHを測定し、累積AUCを算出した。PTHのデータを次式に従って算出した:AUC化合物処置/AUC生理食塩水対照×100。
**イソフルランで麻酔した正常なラットにおける、0.5mg/kgをIV投与した後のPTH低下−投与の1時間後、2時間後、3時間後および4時間後にPTHを測定し、累積AUCを算出した。PTHのデータを次式に従って算出した:AUC化合物処置/AUC生理食塩水対照×100。
**イソフルランで麻酔した正常なラットにおける、0.5mg/kgをIV投与した後のPTH低下−投与の1時間後、2時間後、3時間後および4時間後にPTHを測定し、累積AUCを算出した。PTHのデータを次式に従って算出した:AUC化合物処置/AUC生理食塩水対照×100。
***化合物を、10mg/kg(ペグ化されていないペプチド0.5mg/kgに対するおよその当量モル濃度)で投薬した
****化合物を、20mg/kg(ペグ化されていないペプチド0.5mg/kgに対するおよその当量モル濃度)で投薬した。
ポリカチオン性化合物は、活性な生体アミンであるヒスタミンの放出を誘発することが文献において報告されている。Churchら、J. Immunol.、128巻(5号):2116〜2121頁(1982年);Lagunoffら、Ann. Rev. Pharmacol. Toxicol.、23巻:331〜51頁(1983年)を参照されたい。ヒスタミンの放出は、Gαi依存的に起こる肥満細胞および好塩基球の活性化の結果であると考えられている。Aridorら、J. Cell Biol.、111巻(3号):909〜17頁(1990年)を参照されたい。この生理学的反応を低下させること、または排除することはとりわけ、カチオン性ペプチドカルシウム模倣薬のSHPTの治療に対する治療限界を改善するために望ましい。
一部の実施形態では、化合物は、化合物のチオールとコンジュゲート基由来のチオールとの間のジスルフィド結合によって、チオール含有コンジュゲート基と化学的に架橋している。チオール含有コンジュゲート基は、システインなどの低分子、またはシステイン残基を含有するポリペプチドなどの高分子であってよい。適切なチオール含有コンジュゲート基の例としては、システイン、グルタチオン、チオアルキル、チオベンジルなどの部分、メルカプトプロピオン酸、N−アセチル化システイン、システアミド、N−アセチルシステアミド(N−acetylcysteamide)、ホモシステイン、ペニシラミン、およびポリ(エチレングリコール)(PEG)修飾(「ペグ化」と称される)チオール、例えばペグ化システインなど、または化合物の複製物(すなわち、ジスルフィド結合によって連結されたホモ二量体を形成するための)が挙げられる。好ましい実施形態では、チオール含有コンジュゲート基は、システインである。他のシステインホモログも、単独で、または大きなコンジュゲート基に含まれるかのいずれかで、チオール含有コンジュゲート基として使用することが意図されている。同様に、システイン、ホモシステイン、およびシステアミド(cysteamide)の立体異性体は、チオール含有部分として使用するのに適している。コンジュゲート基を使用して、医薬製品の化学的安定性および、したがって貯蔵寿命を改善することができる。ある特定の実施形態では、チオール含有コンジュゲート基とペプチドは同一であり(すなわち、コンジュゲートは二量体である)、それは予想外にシステインなどの異種性のコンジュゲート基と比較して非常に良好な化学的安定性を示した。理論に束縛されることなく、おそらく、チオール含有コンジュゲート基とペプチドが同一である場合、任意の不均化(例えば、コンジュゲート基をスクランブルすること)により、元の二量体化合物が再構成される。対照的に、システインなどの異種性のコンジュゲート基を用いて化合物を不均化することにより、ペプチドのホモ二量体とシスチン(システイン−システインホモ二量体)と残りの親化合物の形成が導かれ得る。ペプチドのホモ二量体(すなわち、コンジュゲート基とペプチドが同一である)は、体循環内の還元型システインが高濃度なので、in vivoでシステインがコンジュゲートした形態のペプチドに変換されることになる。
一態様では、本明細書に記載の化合物を投与することによって、副甲状腺機能亢進症、骨疾患および/または他の高カルシウム血障害を予防、治療または改善するための方法が意図されている。上で例示した通り、化合物は、標的組織もしくは複数の標的組織、または被験体におけるPTHレベルおよび/またはカルシウムレベルを減少させる活性を有する。ある特定の実施形態では、当該記載の化合物は、該化合物の治療有効量をそのような治療を必要とする被験体に投与すると、PTHレベルおよび/またはカルシウムレベルを減少させることができる。使用方法を、ここで実施例3および実施例8〜11を参照しながら説明する。
当該記載の化合物および少なくとも1つの薬学的に許容される賦形剤またはキャリアを含む薬学的組成物が提供される。そのような薬学的組成物を調製する方法は、一般には当該記載の化合物をキャリアおよび、必要に応じて、1つ以上のアクセサリー成分と結びつけるステップを含む。当該記載の化合物および/またはそれを含む薬学的組成物は、当業者に公知の従来の方法によって薬学的に許容できる剤形に製剤化することができる。一般には、製剤は、当該記載の化合物を液体キャリアまたは細かく分割された固体キャリア、またはその両方に結びつけ、次いで、必要であれば、産物を形づくることによって均一かつ密接に調製する。
これらの化合物は、治療のために、任意の適切な投与経路によってヒトおよび他の動物に投与することができる。本明細書で使用される投与「経路」という用語は、これらに限定されないが、皮下注射、皮下デポ剤、静脈内注射、静脈内注入もしくは皮下注入、眼内注射、皮内注射、筋肉内注射、腹腔内注射、気管内投与、脂肪内(intraadiposal)投与、関節内投与、くも膜下腔内投与、硬膜外投与、吸入、鼻腔内投与、舌下投与、頬側投与、直腸内投与、膣内投与、槽内投与および局所投与、経皮投与、または局所送達による投与(例えばカテーテルまたはステントによる)を含むものとする。
上記の通り、使用方法は、単独で、または高カルシウム血症および/または骨疾患を治療するための他の手法と組み合わせて使用することができる。そのような他の手法としては、これらに限定されないが、ビスホスホネート剤、インテグリン遮断薬、ホルモン補充療法、選択的なエストロゲン受容体モジュレーター、カテプシンK阻害剤、ビタミンD療法、ビタミンD類似体、例えばZEMPLAR(商標)(パリカルシトール)、CALCIJEX(登録商標)(カルシトリオール)、ONE−ALPHA(登録商標)(アルファカルシドール)およびHECTOROL(登録商標)(ドキセルカルシフェロール)など、抗炎症剤、低用量PTH療法(エストロゲンあり、またはなし)、カルシウム模倣薬、ホスフェート結合剤、カルシトニン、RANKリガンドの阻害剤、RANKリガンドに対する抗体、オステオプロテゲリン、アデノシンアンタゴニスト、およびATPプロトンポンプ阻害剤などの作用剤を用いた治療が挙げられる。
当該記載の治療方法の有効性の決定は、種々の方法によって決定することができる。
本発明は、本発明の治療レジメンを実行するためのキットも提供する。そのようなキットは、治療有効量の、CaSRモジュレーターとしての活性を有する当該記載の化合物を、薬学的に許容される形態で、単独で、または薬学的に許容される形態の他の作用剤と組み合わせて含む。好ましい薬学的形態としては、滅菌生理食塩水、ブドウ糖溶液、緩衝溶液、滅菌水、または他の薬学的に許容される滅菌流体と組み合わせた当該記載の化合物が挙げられる。あるいは、組成物は、抗菌剤または静菌剤を含んでよい。あるいは、組成物は、凍結乾燥または乾燥されていてよい。この場合、キットは、注射用溶液を形成するための、薬学的に許容される溶液、好ましくは滅菌された溶液をさらに含んでよい。別の実施形態では、キットは、組成物を注射するための、好ましくは滅菌形態に包装されたニードルまたはシリンジをさらに含んでよい。他の実施形態では、キットは、組成物を被験体に投与するための指示手段をさらに含む。指示手段は、折込み書面、オーディオテープ、視聴覚テープ、または組成物を被験体に投与することについて指示する任意の他の手段であってよい。
PTHを低減させる活性を持つカチオン性化合物
腎不全のモデル
急性腎不全のラットモデル(1K1Cモデルとも称される)を開発して末期腎疾患に関連するSHPTの病態をシミュレートした。このモデルは、腎機能の欠如に関連する副甲状腺機能亢進症(hyper parathyroidsm)、詳細には血漿PTHの顕著な上昇および血清カルシウムの低下の病理学的特性を示す。このモデルを開発したことにより、腎機能障害を持ち、PTHが上昇した被験体の状況において当該記載の化合物をさらに特徴づけることが可能になった。このモデルにおける典型的なベースラインのPTHレベルは、平均約450pg/mLであった。
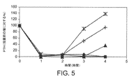
以下の配列を有する化合物を、腎不全モデルにおいて試験するために調製した:Ac−crrrr−NH2(配列番号4)、n=4、Ac−crrrrr−NH2(配列番号5)、n=4、Ac−crrrrrr−NH2(配列番号6)、n=7、Ac−crrrrrrr−NH2(配列番号7)、n=4、および生理食塩水の対照、n=2。ペプチドを、3mg/kgの用量で、30分間のIV注入によって動物に投与した。投薬する前にベースラインである投薬前のPTH血漿濃度を決定するために血液試料を抜き取った。図1に、以下の通り結果が示されている:Ac−crrrr−NH2(配列番号4、ひし形)、Ac−crrrrr−NH2(配列番号5、四角)、Ac−crrrrrr−NH2(配列番号6、三角形)、およびAc−crrrrrrr−NH2(配列番号7、白抜きの四角)。
ヒトカルシウム感知受容体を発現しているHEK−293におけるin vitro細胞アッセイ
ヒト胎児由来腎臓(HEK)293T細胞を、T25フラスコ中に、フラスコ当たり細胞2百万個で播種し、5%のCO2中、37℃で一晩インキュベートした。その翌日、これらの細胞を、lipofectamine2000トランスフェクション試薬を使用してヒトCaSR受容体でトランスフェクトした。トランスフェクトした24時間後、細胞を、384ウェルプレート中に、細胞8,000個/ウェルで播種した。トランスフェクトした48時間後にアッセイを行った。ある場合では、EC50値を、ヒトカルシウム感知受容体で安定にトランスフェクトしたHEK293細胞におけるイノシトールモノホスフェートの産生を測定することによって決定した(表1参照)。
カチオン性サブユニットを持つ化合物のin vivo投与
ペプチドを、イソフルランで麻酔した正常なスプラーグドーリーラットに、0.5mg/kgの用量で静脈内投与した。ラットの対照群を生理食塩水で処置した。投薬する前、および4時間にわたって毎時、血液を抜き取った。ラットを、試験中イソフルラン麻酔下で維持した。血漿中のPTHの濃度を、生物活性のあるインタクトなPTH1〜84を検出するELISA(Immutopics International カタログ番号60−2700)によって測定し、1〜4時間を含めたデータ点について、AUCについての累積曲線下面積を算出した。パーセントPTH低下を次式に従って算出した:AUC化合物処置/AUC生理食塩水対照×100。
構造と活性の関連性についての試験:in vivo活性
本明細書において配列番号26として識別される被試験ペプチド(Ac−carrrar−NH2)、および配列番号29として識別される被試験ペプチド(Ac−arrrar−NH2)を、CaSRでトランスフェクトしたHEK293細胞を使用して、実施例2の手順に従ってin vitroで試験した。ペプチドを、正常なスプラーグドーリーラットに、配列番号29については9mg/kg、および配列番号26については0.5mg/kgの用量でIVボーラスとして投与することによってin vivoでも試験した。生理食塩水の静脈内(IV)ボーラスを対照として使用した。血漿(K2EDTA)PTHレベルを、投薬する前、ならびに投薬の1時間後、2時間後、3時間後、および4時間後に評価した。ラットを、試験中イソフルラン麻酔下で維持した。図2A〜2Bに結果が群の平均±標準偏差(SD)として示されている。図2Bでは、PTHがベースラインである投薬前の値に対するパーセントとして示されている。
構造と活性の関連性についての試験:D−アミノ酸サブユニットおよびL−アミノ酸サブユニット
D−アミノ酸残基を置換したL−アミノ酸残基を有する一連の化合物を調製した。化合物を、正常なスプラーグドーリーラットに、0.5mg/kgの用量でIVボーラスとして投与した。生理食塩水の静脈内(IV)ボーラスを対照として使用した。血漿(K2EDTA)PTHレベルを、投薬する前、ならびに投薬の1時間後、2時間後、3時間後、および4時間後に評価し、上記の通りAUCを算出した。ラットを、試験中イソフルラン麻酔下で維持した。上記の表4に結果が示されている。
構造と活性の関連性についての試験:ヒスタミンの放出
化合物に関連するヒスタミンの放出に対する正味の正電荷の影響を評価するために、4つ〜7つのカチオン性(アルギニン)残基を含有するペプチドを生成し、in vivoでヒスタミンの放出を誘発するそれらの能力について試験した。試験したペプチドとしては、(i)Ac−crrrr−NH2(配列番号4)、(ii)Ac−crrrrr−NH2(配列番号5)、(iii)Ac−crrrrrr−NH2(配列番号6)および(iv)Ac−crrrrrrrr−NH2;配列番号41)を含めた。
構造と活性の関連性についての試験:ヒスタミンの放出
ヒスタミンの放出についてin vitroで評価するために、単離されたラットの腹膜肥満細胞を、ヘパリン(5u/mL)を含有する冷たいHBSS+25mMのHEPES、pH7.4を使用して腹膜洗浄を実施することによって単離した。細胞を、刺激緩衝液(HBSS+25mMのHEPES、pH7.4)中で2回洗い、96ウェルプレート(106/ウェル)で、刺激緩衝液(HBSS+25mMのHEPES、pH7.4)中10μMの化合物と一緒に、37℃で15分間インキュベートした。細胞の上清を、ヒスタミンEIAキット(Cayman#589651)を使用してヒスタミンについて分析した。表10にデータが示されている。
構造と活性の関連性についての試験:in vivo活性
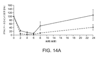
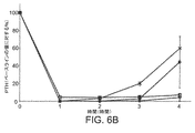
化合物Ac−carrrar−NH2(配列番号26)と比較するために、化合物Ac−c(C)arrrar−NH2(配列番号3)を調製した。化合物Ac−c(C)arrrar−NH2(配列番号3)では、X1位のチオール含有サブユニットが、ジスルフィド結合によってL−Cys残基とコンジュゲートしている。2つの化合物を、急性腎不全の1K1Cモデルの動物に、0.3mg/kgおよび0.5mg/kgの用量でIVボーラスによって投与した。投薬する前、および投薬後24時間にわたって定期的に血漿PTHレベルを評価した。図10に結果が示されており、示されているデータは群の平均±SEMであり、急性腎不全の1K1Cモデルのラットにおける、時間を単位とした時間の関数として、化合物Ac−c(C)arrrar−NH2(配列番号3)は、四角(0.3mg/kg、n=5)および*記号(0.5mg/kg、n=6)で表され、化合物Ac−c(Ac−C)arrrar−NH2(配列番号141)は三角形(0.3mg/kg、n=8)およびひし形(0.5mg/kg、n=7)で表されている。
カルシウム模倣剤の、マイクロポアによって促進した経皮送達
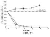
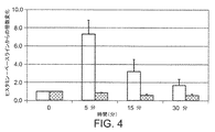
カルシウム模倣剤(calicimimetic agent)の全身送達を評価するために、Ac−crrrrrr−NH2(配列番号6)を、CD無毛ラットに、レザバーを使用して経皮的に投与した。Ac−crrrrrr−NH2(配列番号6)を、生理食塩水中10%溶液として、1.0mmのダーマローラーを適度な圧力下で5回通過させることによってマイクロポレーションしたCD(登録商標)無毛ラットの背部のおよそ1cm2の領域に塗布した。ポリスチレンチャンバー(I.D.9.5mm)を、マイクロポレーションした皮膚の領域一面に接着して、Ac−crrrrrr−NH2(配列番号6)の溶液または生理食塩水溶液のいずれかが塗布される薬物レザバーを創出した。Ac−crrrrrr−NH2(配列番号6)の10%溶液を、2匹のラット上のレザバーチャンバーに投与し、生理食塩水溶液単独を、1匹のラット上のレザバーチャンバーに投与した。レザバーをテープで覆って蒸発を予防した。4時間の期間にわたって血液を抜き取り、血漿を、PTHレベルについてELISAによって分析した。図11に結果が示されている。
マイクロポアによって促進した経皮パッチによるカルシウム模倣剤の持続性送達
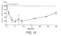
カルシウム模倣剤の全身送達をさらに評価するために、Ac−c(C)arrrar−NH2(配列番号3)を、正常なラットに、経皮パッチを使用して経皮的に投与した。正常なラットを、マイクロニードルアレイおよび経皮パッチ系で処置した。スプラーグドーリーラット(約350g)の背部柔皮の狭い面積につき、バリカンを使用して毛を刈り、皮膚の領域を、14×14アレイ(約1cm2)のマイクロニードル(約0.5mm)を使用してマイクロポレーションした。Ac−c(C)arrrar−NH2(配列番号3)の生理食塩水中10%溶液(重量で)を含有する経皮パッチ系を、マイクロポレーションした領域一面に置き、約30時間にわたって適所に放置した。30時間にわたって定期的にラットから血液を抜き取り、血漿試料を、PTHレベルについてELISAによって分析した。図12に結果が示されている。
カルシウム模倣剤の注入
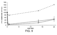
カルシウム模倣化合物のPTHを低減させる効果をさらに評価するために、Ac−c(C)arrrar−NH2(配列番号3)を、正常なラットおよび腎不全のラットに非常に低用量のIV注入によって投与して、注入、経皮パッチ系または顕著なPTH低下を実現するための他の持続性送達手段によって投与する必要がある最低用量を同定した。正常なスプラーグドーリーの雄のラット(250〜300g)に、Ac−c(C)arrrar−NH2(配列番号3)を、1μg/kg/時間、3μg/kg/時間、および10μg/kg/時間の投薬速度で6時間にわたって静脈内注入した。投薬する前、2時間、4時間、6時間(注入終了;EOIの直前)および8時間(EOIの2時間後)において血液試料を取得し、血漿を、PTHレベルについてELISAによって分析した。図13にデータが示されており、6時間にわたって、1μg/kg/時間で処置したラット(四角)、3μg/kg/時間で処置したラット(ひし形)、および10μg/kg/時間で処置したラット(三角形)が、注入の間に、ベースラインからの顕著なPTH低下をもたらすのに有効であった。
Claims (1)
- 明細書中に記載の発明。
Applications Claiming Priority (6)
| Application Number | Priority Date | Filing Date | Title |
|---|---|---|---|
| US22969509P | 2009-07-29 | 2009-07-29 | |
| US61/229,695 | 2009-07-29 | ||
| US25581609P | 2009-10-28 | 2009-10-28 | |
| US61/255,816 | 2009-10-28 | ||
| US31363510P | 2010-03-12 | 2010-03-12 | |
| US61/313,635 | 2010-03-12 |
Related Parent Applications (1)
| Application Number | Title | Priority Date | Filing Date |
|---|---|---|---|
| JP2012523061A Division JP5270799B2 (ja) | 2009-07-29 | 2010-07-29 | 副甲状腺ホルモンを低減する治療剤 |
Related Child Applications (1)
| Application Number | Title | Priority Date | Filing Date |
|---|---|---|---|
| JP2014023488A Division JP2014094967A (ja) | 2009-07-29 | 2014-02-10 | 副甲状腺ホルモンを低減する治療剤 |
Publications (3)
| Publication Number | Publication Date |
|---|---|
| JP2013155195A true JP2013155195A (ja) | 2013-08-15 |
| JP2013155195A5 JP2013155195A5 (ja) | 2014-03-27 |
| JP5764613B2 JP5764613B2 (ja) | 2015-08-19 |
Family
ID=43527590
Family Applications (3)
| Application Number | Title | Priority Date | Filing Date |
|---|---|---|---|
| JP2012523061A Active JP5270799B2 (ja) | 2009-07-29 | 2010-07-29 | 副甲状腺ホルモンを低減する治療剤 |
| JP2013099331A Active JP5764613B2 (ja) | 2009-07-29 | 2013-05-09 | 副甲状腺ホルモンを低減する治療剤 |
| JP2014023488A Pending JP2014094967A (ja) | 2009-07-29 | 2014-02-10 | 副甲状腺ホルモンを低減する治療剤 |
Family Applications Before (1)
| Application Number | Title | Priority Date | Filing Date |
|---|---|---|---|
| JP2012523061A Active JP5270799B2 (ja) | 2009-07-29 | 2010-07-29 | 副甲状腺ホルモンを低減する治療剤 |
Family Applications After (1)
| Application Number | Title | Priority Date | Filing Date |
|---|---|---|---|
| JP2014023488A Pending JP2014094967A (ja) | 2009-07-29 | 2014-02-10 | 副甲状腺ホルモンを低減する治療剤 |
Country Status (29)
| Country | Link |
|---|---|
| US (11) | US8999932B2 (ja) |
| EP (5) | EP3539555B1 (ja) |
| JP (3) | JP5270799B2 (ja) |
| KR (1) | KR101781841B1 (ja) |
| CN (2) | CN107674114B (ja) |
| AU (1) | AU2010278897B2 (ja) |
| BR (1) | BR112012002143B8 (ja) |
| CA (1) | CA2769525C (ja) |
| CY (3) | CY1118388T1 (ja) |
| DK (2) | DK3192520T3 (ja) |
| ES (2) | ES2729051T3 (ja) |
| FR (1) | FR17C1009I2 (ja) |
| HR (2) | HRP20161614T1 (ja) |
| HU (3) | HUE030960T2 (ja) |
| IL (1) | IL217749A (ja) |
| LT (3) | LT3192520T (ja) |
| LU (1) | LUC00008I2 (ja) |
| MX (1) | MX2012001213A (ja) |
| NO (1) | NO2017021I1 (ja) |
| NZ (1) | NZ597922A (ja) |
| PL (2) | PL2459208T3 (ja) |
| PT (2) | PT2459208T (ja) |
| RU (1) | RU2557654C3 (ja) |
| SG (2) | SG10201406921SA (ja) |
| SI (2) | SI2459208T1 (ja) |
| SM (3) | SMT201700014T1 (ja) |
| TW (1) | TWI520744B (ja) |
| WO (1) | WO2011014707A2 (ja) |
| ZA (1) | ZA201200726B (ja) |
Cited By (1)
| Publication number | Priority date | Publication date | Assignee | Title |
|---|---|---|---|---|
| JP2018512415A (ja) * | 2015-03-26 | 2018-05-17 | アムジェン インコーポレイテッド | エテルカルセチドの調製のための液相方法 |
Families Citing this family (33)
| Publication number | Priority date | Publication date | Assignee | Title |
|---|---|---|---|---|
| CN101668421B (zh) | 2006-11-16 | 2014-05-21 | 凯制药公司 | 用于治疗甲状旁腺功能亢进和高钙血症的聚阳离子钙调节肽 |
| ES2729051T3 (es) * | 2009-07-29 | 2019-10-30 | Kai Pharmaceuticals Inc | Agentes terapéuticos para reducir los niveles de hormona paratiroidea |
| EP2546231B1 (en) | 2010-03-04 | 2018-11-07 | EA Pharma Co., Ltd. | Alkylamine derivative |
| EP2543660A4 (en) | 2010-03-04 | 2014-04-30 | Ajinomoto Kk | PROPHYLACTIC OR THERAPEUTIC ACTIVE AGAINST DIABETES OR ADIPOSITAS |
| WO2011118843A1 (ja) | 2010-03-24 | 2011-09-29 | 味の素株式会社 | グルタミン酸エステル誘導体又はその塩 |
| JPWO2011126099A1 (ja) | 2010-04-02 | 2013-07-11 | 味の素株式会社 | 糖尿病又は肥満症の予防又は治療剤 |
| WO2012170955A1 (en) * | 2011-06-08 | 2012-12-13 | Kai Pharmaceuticals, Inc. | Therapeutic agents for regulating serum phosphorus |
| AU2012335009B2 (en) * | 2011-11-10 | 2017-08-31 | Kai Pharmaceuticals, Inc. | Calcimimetics and methods for their use |
| WO2013158739A1 (en) | 2012-04-17 | 2013-10-24 | Brown University | Neuroprotective composition and method of use |
| US20200354428A9 (en) | 2013-06-23 | 2020-11-12 | Wisconsin Alumni Research Foundation | Analogues of parathyroid hormone (1-34) that function as agonists of the parathyroid hormone receptor-1 and display modified activity profiles |
| CA2916222C (en) * | 2013-06-28 | 2021-05-18 | Amgen Inc. | Stable liquid formulation of amg 416 (etelcalcetide) |
| PL3126373T3 (pl) * | 2014-04-03 | 2020-07-27 | Amgen Inc. | Sposób wytwarzania amg 416 |
| CN105504012A (zh) * | 2014-09-30 | 2016-04-20 | 深圳翰宇药业股份有限公司 | 一种多肽的制备方法 |
| WO2016065052A1 (en) | 2014-10-22 | 2016-04-28 | Extend Biosciences, Inc. | Insulin vitamin d conjugates |
| US9585934B2 (en) | 2014-10-22 | 2017-03-07 | Extend Biosciences, Inc. | Therapeutic vitamin D conjugates |
| US9336841B1 (en) * | 2015-04-16 | 2016-05-10 | Taiwan Semiconductor Manufacturing Co., Ltd. | Pipeline register with data alignment therein |
| CN106928321B (zh) * | 2015-12-31 | 2019-07-26 | 深圳翰宇药业股份有限公司 | 一种合成Etelcalcetide的方法 |
| CN106928320B (zh) * | 2015-12-31 | 2021-01-15 | 深圳翰宇药业股份有限公司 | 一种合成Etelcalcetide的方法 |
| US10105375B2 (en) | 2016-08-30 | 2018-10-23 | Wisconsin Alumni Research Foundation | Combination of low dose 2-methylene-19-nor-(20S)1α, 25-dihydroxyvitamin D3 and calcimimetics to treat secondary hyperparathyroidism |
| MA50582A (fr) * | 2017-11-07 | 2020-09-16 | Alphacore Pharma Llc | Méthodes de traitement et de protection contre une maladie cardiaque, une maladie cardiovasculaire et des états et des symptômes associés |
| RU2020123405A (ru) | 2017-12-20 | 2022-01-20 | ЕА Фарма Ко., Лтд. | Лекарственная композиция для профилактики или лечения вторичного гиперпаратиреоза при поддерживающем диализе |
| KR101933685B1 (ko) * | 2018-06-29 | 2018-12-28 | 주식회사 에스알바이오텍 | 약물이 코팅된 마이크로 니들 및 이의 제조방법 |
| KR20210124958A (ko) * | 2018-11-02 | 2021-10-15 | 앰퍼샌드 바이오파마슈티컬스, 인코포레이티드 | 국소적으로 적용되는 완충제(buffers)를 사용하는 양이온 과부하 및 전해질 불균형의 위험 가능성 관리를 위한 제형 및 방법 |
| JP7166309B2 (ja) | 2019-04-03 | 2022-11-07 | Eaファーマ株式会社 | 安定性の良好な医薬組成物 |
| WO2021038431A1 (en) | 2019-08-26 | 2021-03-04 | Auro Peptides Ltd | An improved process for the preparation of etelcalcetide hydrochloride |
| AU2020399030A1 (en) * | 2019-12-09 | 2022-06-23 | Beijing Tuo Jie Biopharmaceutical Co. Ltd. | Calcium-sensing receptor agonist compound and application thereof |
| US20230223125A1 (en) * | 2020-05-04 | 2023-07-13 | University Of Louisville Research Foundation, Inc. | Artificial intelligence-based systems and methods for dosing of pharmacologic agents |
| AU2021338639B2 (en) * | 2020-09-10 | 2024-05-23 | Shaanxi Micot Pharmaceutical Technology Co., Ltd. | Bispecific fusion polypeptide compound |
| US11359134B2 (en) | 2020-10-19 | 2022-06-14 | Saudi Arabian Oil Company | Treatment fluids and methods for recovering hydrocarbons from a subterranean formation |
| TW202313655A (zh) * | 2021-06-08 | 2023-04-01 | 大陸商北京拓界生物醫藥科技有限公司 | 鈣敏感受體激動劑化合物的鹽酸鹽及醫藥組成物和其應用 |
| TW202247854A (zh) * | 2021-06-08 | 2022-12-16 | 大陸商北京拓界生物醫藥科技有限公司 | 一種鈣敏感受體激動劑的組成物及其應用 |
| US12233115B2 (en) | 2022-09-30 | 2025-02-25 | Extend Biosciences, Inc. | Long-acting parathyroid hormone |
| WO2025054169A1 (en) * | 2023-09-05 | 2025-03-13 | Wake Forest University Health Sciences | Compositions and methods for topical treatment |
Citations (1)
| Publication number | Priority date | Publication date | Assignee | Title |
|---|---|---|---|---|
| WO2008067199A2 (en) * | 2006-11-16 | 2008-06-05 | Kai Pharmaceuticals, Inc. | Polycationic calcium modulator peptides for the treatment of hyperparathyroidism and hypercalcemic disorders |
Family Cites Families (53)
| Publication number | Priority date | Publication date | Assignee | Title |
|---|---|---|---|---|
| US5602116A (en) | 1988-08-02 | 1997-02-11 | Bone Care International, Inc. | Method for treating and preventing secondary hyperparathyroidism |
| US5869473A (en) | 1988-08-02 | 1999-02-09 | Bone Care International, Inc. | Method for treating and preventing hyperparathyroidism |
| CA1333616C (en) | 1989-03-09 | 1994-12-20 | Hector F. Deluca | 19-nor-vitamin d compounds |
| US5246925A (en) | 1989-03-09 | 1993-09-21 | Wisconsin Alumni Research Foundation | 19-nor-vitamin D compounds for use in treating hyperparathyroidism |
| US5304121A (en) | 1990-12-28 | 1994-04-19 | Boston Scientific Corporation | Drug delivery system making use of a hydrogel polymer coating |
| AU9131091A (en) | 1990-11-07 | 1992-06-11 | Scripps Research Institute, The | Peptides that inhibit platelet binding of adhesion molecules |
| US6031003A (en) * | 1991-08-23 | 2000-02-29 | Nps Pharmaceuticals, Inc. | Calcium receptor-active molecules |
| US5814603A (en) * | 1992-06-12 | 1998-09-29 | Affymax Technologies N.V. | Compounds with PTH activity |
| US5886026A (en) | 1993-07-19 | 1999-03-23 | Angiotech Pharmaceuticals Inc. | Anti-angiogenic compositions and methods of use |
| CA2145214A1 (en) | 1995-02-28 | 1996-08-29 | Rick E. Preddie | Agents for pre-symptomatic diagnosis, prevention and cure huntington's disease (hd) in humans |
| US6099562A (en) | 1996-06-13 | 2000-08-08 | Schneider (Usa) Inc. | Drug coating with topcoat |
| US5688489A (en) * | 1995-09-15 | 1997-11-18 | Resolution Pharmaceuticals, Inc. | Non-receptor mediated imaging agents |
| EP0917537B1 (en) | 1996-07-31 | 2005-09-07 | The General Hospital Corporation | Novel parathyroid hormone-related peptide analogs |
| US5895368A (en) * | 1996-09-23 | 1999-04-20 | Medisystems Technology Corporation | Blood set priming method and apparatus |
| US6165977A (en) * | 1996-10-18 | 2000-12-26 | Board Of Trustees Of The Leland Stanford Junior University | Isozyme-specific activators of protein kinase C methods and compositions |
| WO1998033812A1 (en) | 1997-02-05 | 1998-08-06 | Brigham And Women's Hospital, Inc. | Mast cell protease peptide inhibitors |
| CN1261281A (zh) | 1997-05-14 | 2000-07-26 | 罗纳·布朗克罗尔药制品有限公司 | 肽甲状旁腺激素类似物 |
| IL132941A0 (en) * | 1997-05-21 | 2001-03-19 | Univ Leland Stanford Junior | Composition and method for enhancing transport across biological membranes |
| US6258774B1 (en) | 1998-03-19 | 2001-07-10 | University Of Medicine And Dentistry Of New Jersey | Carrier for in vivo delivery of a therapeutic agent |
| US7399489B2 (en) | 1999-01-14 | 2008-07-15 | Amylin Pharmaceuticals, Inc. | Exendin analog formulations |
| JP2000336099A (ja) * | 1999-05-27 | 2000-12-05 | Sekisui Chem Co Ltd | ペプチド及びc型肝炎抗体検出用試薬 |
| US6051567A (en) | 1999-08-02 | 2000-04-18 | Abbott Laboratories | Low oxygen content compositions of 1α, 25-dihydroxycholecalciferol |
| US6274169B1 (en) | 1999-08-02 | 2001-08-14 | Abbott Laboratories | Low oxygen content compostions of 1α, 25-dihydroxycholecalciferol |
| US20020068342A1 (en) * | 2000-02-09 | 2002-06-06 | Rami Khosravi | Novel nucleic acid and amino acid sequences and novel variants of alternative splicing |
| WO2002006218A2 (en) | 2000-07-18 | 2002-01-24 | Bone Care International, Inc. | STABILIZED 1α-HYDROXY VITAMIN D |
| DE10041126A1 (de) * | 2000-08-22 | 2002-04-04 | Aventis Res & Tech Gmbh & Co | DNA-bindende Peptiddomänen und ein Verfahren zur Bereitstellung solcher Domänen |
| US20080249016A1 (en) * | 2000-09-18 | 2008-10-09 | Sanos Bioscience A/S | Use of GLP-2 in a combination treatment for bone-related disorders |
| US20020168354A1 (en) * | 2000-11-10 | 2002-11-14 | Daria Mochly-Rosen | psiepsilonRack peptide composition and method for protection against tissue damage due to ischemia |
| CA2434643C (en) * | 2001-01-18 | 2013-10-29 | The Board Of Trustees Of The Leland Stanford Junior University | Peptides for activation and inhibition of.delta.pkc |
| AU2002240312A1 (en) | 2001-02-08 | 2002-08-19 | Pankaj Paranjp | Enhanced oral and transcompartmental delivery of therapeutic or diagnostic agents using polymer conjugates |
| US20030036627A1 (en) * | 2001-02-16 | 2003-02-20 | Montelaro Ronald C. | Virus derived antimicrobial peptides |
| ES2527339T3 (es) | 2001-02-23 | 2015-01-23 | Polyphor Ltd. | Peptidomiméticos fijados a patrón con actividad antimicrobiana |
| WO2003014078A2 (en) * | 2001-08-08 | 2003-02-20 | The Research Foundation Of The State University Of New York | Muc7d1 peptides as antifungal and antibacterial agents |
| WO2003013543A1 (en) | 2001-08-08 | 2003-02-20 | Genomed, Llc | Treatment or prevention of acute renal failure |
| US7060023B2 (en) | 2001-09-25 | 2006-06-13 | The Foundry Inc. | Pericardium reinforcing devices and methods of using them |
| US7037897B2 (en) * | 2001-10-31 | 2006-05-02 | Abbott Laboratories | TRI-, TETRA-, and penta-peptides having antiangiogenic activity |
| JP2005287302A (ja) | 2002-04-03 | 2005-10-20 | Haruhiko Fujiwara | ポリペプチドの架橋方法 |
| US20040018976A1 (en) * | 2002-05-14 | 2004-01-29 | Feder John N. | Polynucleotide encoding novel human G-protein coupled receptors, and splice variants thereof |
| ATE377023T1 (de) | 2003-11-05 | 2007-11-15 | Pevion Biotech Ltd | Zusammensetzungen, die von melittin abgeleitet sind und peptide enthalten, und verfahren zur potenzierung von immunreaktionen gegen target- antigene |
| CA2549052A1 (en) * | 2003-12-11 | 2005-06-30 | The Board Of Trustees Of The Leland Stanford Junior University | Isozyme-specific antagonists of protein kinase c |
| US7939634B2 (en) | 2004-01-27 | 2011-05-10 | Compugen Ltd. | Polynucleotides encoding polypeptides and methods using same |
| JP2008508294A (ja) * | 2004-07-27 | 2008-03-21 | ジェンザイム・コーポレイション | 骨の再生のためのチロトロピンの使用法 |
| US7265092B2 (en) * | 2004-09-30 | 2007-09-04 | Kai Pharmaceuticals, Inc. | Pharmaceutical formulation |
| DE102005013846A1 (de) | 2005-03-24 | 2006-10-05 | Ganymed Pharmaceuticals Ag | Identifizierung von Oberflächen-assoziierten Antigenen für die Tumordiagnose und -therapie |
| KR100687932B1 (ko) * | 2005-08-09 | 2007-02-27 | 삼성전자주식회사 | 영상표시장치 및 영상표시방법 |
| AU2006285127A1 (en) * | 2005-08-30 | 2007-03-08 | Acologix, Inc. | Regulation of mineral and skeletal metabolism |
| WO2008089491A2 (en) | 2007-01-19 | 2008-07-24 | Kai Pharmaceuticals, Inc. | Modifications of peptide compositions to increase stability and delivery efficiency |
| WO2009046220A2 (en) * | 2007-10-02 | 2009-04-09 | Mdrna, Inc. | Lipopeptides for delivery of nucleic acids |
| EP2229473A4 (en) | 2007-12-07 | 2011-02-02 | Steven A Goldstein | IDENTIFICATION OF TOXIN LIGANDS |
| US20090318351A1 (en) * | 2008-03-12 | 2009-12-24 | Kevin Grimes | Method of treating acute st-elevation myocardial infarction with a delta pkc antagonist |
| ES2729051T3 (es) | 2009-07-29 | 2019-10-30 | Kai Pharmaceuticals Inc | Agentes terapéuticos para reducir los niveles de hormona paratiroidea |
| WO2012170955A1 (en) * | 2011-06-08 | 2012-12-13 | Kai Pharmaceuticals, Inc. | Therapeutic agents for regulating serum phosphorus |
| AU2012335009B2 (en) | 2011-11-10 | 2017-08-31 | Kai Pharmaceuticals, Inc. | Calcimimetics and methods for their use |
-
2010
- 2010-07-29 ES ES16190682T patent/ES2729051T3/es active Active
- 2010-07-29 ES ES10805078.2T patent/ES2607954T3/es active Active
- 2010-07-29 HU HUE10805078A patent/HUE030960T2/en unknown
- 2010-07-29 NZ NZ597922A patent/NZ597922A/en unknown
- 2010-07-29 EP EP19159337.5A patent/EP3539555B1/en active Active
- 2010-07-29 KR KR1020127004785A patent/KR101781841B1/ko active Active
- 2010-07-29 SM SM20170014T patent/SMT201700014T1/it unknown
- 2010-07-29 BR BR112012002143A patent/BR112012002143B8/pt active IP Right Grant
- 2010-07-29 PT PT108050782T patent/PT2459208T/pt unknown
- 2010-07-29 EP EP10805078.2A patent/EP2459208B1/en active Active
- 2010-07-29 EP EP20209086.6A patent/EP3808363B1/en active Active
- 2010-07-29 EP EP22193946.5A patent/EP4154900B1/en active Active
- 2010-07-29 US US12/846,724 patent/US8999932B2/en active Active
- 2010-07-29 DK DK16190682.1T patent/DK3192520T3/da active
- 2010-07-29 SM SM201700014T patent/SMT201700014B/it unknown
- 2010-07-29 CA CA2769525A patent/CA2769525C/en active Active
- 2010-07-29 DK DK10805078.2T patent/DK2459208T3/en active
- 2010-07-29 MX MX2012001213A patent/MX2012001213A/es active IP Right Grant
- 2010-07-29 TW TW099125105A patent/TWI520744B/zh active
- 2010-07-29 LT LTEP16190682.1T patent/LT3192520T/lt unknown
- 2010-07-29 PL PL10805078T patent/PL2459208T3/pl unknown
- 2010-07-29 JP JP2012523061A patent/JP5270799B2/ja active Active
- 2010-07-29 CN CN201710873189.9A patent/CN107674114B/zh active Active
- 2010-07-29 SM SM20190307T patent/SMT201900307T1/it unknown
- 2010-07-29 PT PT16190682T patent/PT3192520T/pt unknown
- 2010-07-29 SI SI201031337A patent/SI2459208T1/sl unknown
- 2010-07-29 WO PCT/US2010/043792 patent/WO2011014707A2/en not_active Ceased
- 2010-07-29 SG SG10201406921SA patent/SG10201406921SA/en unknown
- 2010-07-29 SI SI201031894T patent/SI3192520T1/sl unknown
- 2010-07-29 EP EP16190682.1A patent/EP3192520B1/en active Active
- 2010-07-29 RU RU2012107428A patent/RU2557654C3/ru active
- 2010-07-29 CN CN201080045024.9A patent/CN102711789B/zh active Active
- 2010-07-29 LT LTEP10805078.2T patent/LT2459208T/lt unknown
- 2010-07-29 SG SG2012006185A patent/SG178143A1/en unknown
- 2010-07-29 HU HUE16190682A patent/HUE043838T2/hu unknown
- 2010-07-29 PL PL16190682T patent/PL3192520T3/pl unknown
- 2010-07-29 HR HRP20161614TT patent/HRP20161614T1/hr unknown
- 2010-07-29 AU AU2010278897A patent/AU2010278897B2/en active Active
-
2012
- 2012-01-26 IL IL217749A patent/IL217749A/en active Protection Beyond IP Right Term
- 2012-01-30 ZA ZA2012/00726A patent/ZA201200726B/en unknown
- 2012-02-02 US US13/365,213 patent/US8377880B2/en active Active
-
2013
- 2013-02-18 US US13/769,744 patent/US9278995B2/en active Active
- 2013-05-09 JP JP2013099331A patent/JP5764613B2/ja active Active
-
2014
- 2014-02-10 JP JP2014023488A patent/JP2014094967A/ja active Pending
-
2015
- 2015-03-04 US US14/639,020 patent/US9567370B2/en active Active
-
2016
- 2016-02-08 US US15/018,567 patent/US9701712B2/en active Active
- 2016-12-27 CY CY20161101349T patent/CY1118388T1/el unknown
-
2017
- 2017-01-09 US US15/402,133 patent/US20170114095A1/en not_active Abandoned
- 2017-03-01 HU HUS1700008 patent/HUS1700008I1/hu unknown
- 2017-03-09 LU LU00008C patent/LUC00008I2/fr unknown
- 2017-03-10 LT LTPA2017007C patent/LTC2459208I2/lt unknown
- 2017-03-16 CY CY2017010C patent/CY2017010I2/el unknown
- 2017-03-17 FR FR17C1009C patent/FR17C1009I2/fr active Active
- 2017-05-05 NO NO2017021C patent/NO2017021I1/no unknown
- 2017-06-21 US US15/629,536 patent/US10280198B2/en active Active
-
2019
- 2019-03-11 US US16/298,902 patent/US20190194252A1/en not_active Abandoned
- 2019-05-17 HR HRP20190923TT patent/HRP20190923T1/hr unknown
- 2019-05-31 CY CY20191100579T patent/CY1121922T1/el unknown
-
2020
- 2020-09-02 US US17/010,773 patent/US20200399309A1/en not_active Abandoned
-
2022
- 2022-10-04 US US17/960,060 patent/US20240116983A1/en not_active Abandoned
-
2025
- 2025-01-16 US US19/025,984 patent/US20250163103A1/en active Pending
Patent Citations (1)
| Publication number | Priority date | Publication date | Assignee | Title |
|---|---|---|---|---|
| WO2008067199A2 (en) * | 2006-11-16 | 2008-06-05 | Kai Pharmaceuticals, Inc. | Polycationic calcium modulator peptides for the treatment of hyperparathyroidism and hypercalcemic disorders |
Cited By (1)
| Publication number | Priority date | Publication date | Assignee | Title |
|---|---|---|---|---|
| JP2018512415A (ja) * | 2015-03-26 | 2018-05-17 | アムジェン インコーポレイテッド | エテルカルセチドの調製のための液相方法 |
Also Published As
Similar Documents
| Publication | Publication Date | Title |
|---|---|---|
| JP5764613B2 (ja) | 副甲状腺ホルモンを低減する治療剤 | |
| HK1241270A1 (en) | Therapeutic agents for reducing parathyroid hormone levels | |
| HK1241270B (en) | Therapeutic agents for reducing parathyroid hormone levels | |
| HK1167108B (en) | Therapeutic agents for reducing parathyroid hormone levels |
Legal Events
| Date | Code | Title | Description |
|---|---|---|---|
| A621 | Written request for application examination |
Free format text: JAPANESE INTERMEDIATE CODE: A621 Effective date: 20130722 |
|
| A521 | Request for written amendment filed |
Free format text: JAPANESE INTERMEDIATE CODE: A523 Effective date: 20140210 |
|
| A131 | Notification of reasons for refusal |
Free format text: JAPANESE INTERMEDIATE CODE: A131 Effective date: 20141021 |
|
| A521 | Request for written amendment filed |
Free format text: JAPANESE INTERMEDIATE CODE: A523 Effective date: 20150116 |
|
| TRDD | Decision of grant or rejection written | ||
| A01 | Written decision to grant a patent or to grant a registration (utility model) |
Free format text: JAPANESE INTERMEDIATE CODE: A01 Effective date: 20150604 |
|
| A61 | First payment of annual fees (during grant procedure) |
Free format text: JAPANESE INTERMEDIATE CODE: A61 Effective date: 20150615 |
|
| R150 | Certificate of patent or registration of utility model |
Ref document number: 5764613 Country of ref document: JP Free format text: JAPANESE INTERMEDIATE CODE: R150 |
|
| R250 | Receipt of annual fees |
Free format text: JAPANESE INTERMEDIATE CODE: R250 |
|
| R250 | Receipt of annual fees |
Free format text: JAPANESE INTERMEDIATE CODE: R250 |
|
| R250 | Receipt of annual fees |
Free format text: JAPANESE INTERMEDIATE CODE: R250 |
|
| R250 | Receipt of annual fees |
Free format text: JAPANESE INTERMEDIATE CODE: R250 |
|
| R250 | Receipt of annual fees |
Free format text: JAPANESE INTERMEDIATE CODE: R250 |
|
| R250 | Receipt of annual fees |
Free format text: JAPANESE INTERMEDIATE CODE: R250 |
|
| R250 | Receipt of annual fees |
Free format text: JAPANESE INTERMEDIATE CODE: R250 |
