JP2013017444A - 皮剥装置 - Google Patents

皮剥装置 Download PDF

Info

Publication number
JP2013017444A
JP2013017444A JP2011155100A JP2011155100A JP2013017444A JP 2013017444 A JP2013017444 A JP 2013017444A JP 2011155100 A JP2011155100 A JP 2011155100A JP 2011155100 A JP2011155100 A JP 2011155100A JP 2013017444 A JP2013017444 A JP 2013017444A
Authority
JP
Japan
Prior art keywords
cylindrical
hole
rotating
plate
blade
Prior art date
Legal status (The legal status is an assumption and is not a legal conclusion. Google has not performed a legal analysis and makes no representation as to the accuracy of the status listed.)
Granted
Application number
JP2011155100A
Other languages
English (en)
Other versions
JP2013017444A5 (ja
JP5460652B2 (ja
Inventor
Kenichi Yasukata
健一 安形
Current Assignee (The listed assignees may be inaccurate. Google has not performed a legal analysis and makes no representation or warranty as to the accuracy of the list.)
TAKUZEN KOGYO KK
Original Assignee
TAKUZEN KOGYO KK
Priority date (The priority date is an assumption and is not a legal conclusion. Google has not performed a legal analysis and makes no representation as to the accuracy of the date listed.)
Filing date
Publication date
Application filed by TAKUZEN KOGYO KK filed Critical TAKUZEN KOGYO KK
Priority to JP2011155100A priority Critical patent/JP5460652B2/ja
Publication of JP2013017444A publication Critical patent/JP2013017444A/ja
Publication of JP2013017444A5 publication Critical patent/JP2013017444A5/ja
Application granted granted Critical
Publication of JP5460652B2 publication Critical patent/JP5460652B2/ja
Active legal-status Critical Current
Anticipated expiration legal-status Critical

Links

Images

Landscapes

  • Apparatuses For Bulk Treatment Of Fruits And Vegetables And Apparatuses For Preparing Feeds (AREA)

Abstract

【課題】効率よく皮剥作業ができる皮剥装置を提供する。
【解決手段】皮剥装置1は、筒状体3と、この筒状体3内の被皮剥物を下方から支持する回転体4とを備える。筒状体3は筒状板部51を有し、この筒状板部51には、複数の筒状体孔部52を形成する。筒状板部51のうち各筒状体孔部52に臨んだ部分には、皮剥用の筒状体刃部を内方突出状に形成する。回転体4は回転板部73を有し、この回転板部73には、複数の回転体孔部77を形成する。回転板部73のうち各回転体孔部77に臨んだ部分には、皮剥用の回転体刃部を上方突出状に形成する。
【選択図】図1

Description

本発明は、効率よく皮剥作業ができる皮剥装置に関するものである。
従来、例えば特許文献1に記載された皮剥装置が知られている。
この従来の皮剥装置は、被皮剥物が投入される円筒状の筒状体(皮剥筒)と、この筒状体内の被皮剥物を下方から支持する円板状の回転体(回転ディスク)とを備えている。そして、筒状体の内周面は、多孔性のパンチングメタルで構成されている。回転体の上面は、カーボランダム粒子が固定されてやすり状の面となっている。
特開平5−84057号公報(図2、図3)
しかしながら、上記従来の皮剥装置のように、筒状体の内周面を通常のパンチングメタルで構成しかつ回転体の上面をカーボランダム粒子からなるやすり状の面で構成したものでは、効率よく皮剥作業ができないおそれがある。
本発明は、このような点に鑑みなされたもので、効率よく皮剥作業ができる皮剥装置を提供することを目的とする。
請求項1記載の皮剥装置は、被皮剥物が投入される筒状体と、この筒状体内の被皮剥物を下方から支持する回転体とを備え、前記筒状体は、筒状板部と、この筒状板部に形成された複数の筒状体孔部と、前記筒状板部のうち前記各筒状体孔部に臨んだ部分に内方突出状に形成された皮剥用の筒状体刃部とを有し、前記回転体は、回転板部と、この回転板部に形成された複数の回転体孔部と、前記回転板部のうち前記各回転体孔部に臨んだ部分に上方突出状に形成された皮剥用の回転体刃部とを有するものである。
請求項2記載の皮剥装置は、請求項1記載の皮剥装置において、筒状体刃部は、孔形成装置による筒状体孔部の形成の際に、筒状板部の一部の折り曲げにより形成され、回転体刃部は、前記孔形成装置による回転体孔部の形成の際に、回転板部の一部の折り曲げにより形成されるものである。
請求項3記載の皮剥装置は、請求項1または2記載の皮剥装置において、筒状板部は、内方に向かって膨出する内方膨出部分を有し、回転板部は、上方に向かって膨出する上方膨出部分を有するものである。
請求項4記載の皮剥装置は、請求項3記載の皮剥装置において、筒状体孔部および筒状体刃部が、筒状板部の内方膨出部分に形成され、回転体孔部および回転体刃部が、回転板部の上方膨出部分に形成されているものである。
請求項5記載の皮剥装置は、請求項1ないし4のいずれか一記載の皮剥装置において、筒状体の筒状板部には、被皮剥物を取り出すための開口部が形成され、前記開口部を開閉する開閉体を備え、前記開閉体には、筒状体孔部および筒状体刃部と同じ開閉体孔部および開閉体刃部が形成されているものである。
請求項6記載の皮剥装置は、請求項1ないし5のいずれか一記載の皮剥装置において、筒状体の筒状板部および回転体の回転板部は、いずれもステンレス板にて構成されているものである。
本発明によれば、筒状体の内方突出状の筒状体刃部と回転体の上方突出状の回転体刃部とによって被皮剥物の皮が剥かれるため、効率よく皮剥作業ができる。
本発明の一実施の形態に係る皮剥装置の分解斜視図である。 同上皮剥装置の上方側斜視図である。 同上皮剥装置の下方側斜視図である。 同上皮剥装置の開閉体の開状態時の上方側斜視図である。 同上皮剥装置の開閉体の開状態時の下方側斜視図である。 同上皮剥装置の正面図である。 図6のA−A断面図である。 同上皮剥装置の概略縦断面図である。 同上皮剥装置の筒状体の斜視図である。 同上筒状体の平面図である。 同上筒状体の正面図である。 図11のB−B拡大断面図である。 同上皮剥装置の回転体の上方側斜視図である。 同上回転体の下方側斜視図である。 同上回転体の平面図である。 図15のC−C拡大断面図である。 同上回転体の正面図である。 同上回転体の分解斜視図である。 孔形成装置のパンチ部品およびダイ部品を示す正面図である。 同上パンチ部品およびダイ部品を示す下方側斜視図である。 同上パンチ部品およびダイ部品を示す上方側斜視図である。 (a)〜(c)は刃部の形成方法の説明図である。 本発明の他の実施の形態の皮剥装置の一部分解斜視図である。 同上皮剥装置の回転体の部分斜視図である。 同上回転体の回転板部の断面図である。 (a)が回転体刃部が形成される前の平面図であり、(b)が回転体刃部が形成された後の平面図である。
本発明の一実施の形態について図面を参照して説明する。
図1ないし図8において、1は皮剥装置で、この皮剥装置1は、被皮剥物aの皮を剥く皮剥作業を行うものである。なお、被皮剥物aは、例えば皮を有する略球形状のもので、ジャガイモ、サツマイモ、里芋等の芋類、或いは果物等である。
皮剥装置1は、上方に向かって開口する本体筒状部7を有する装置本体2と、本体筒状部7内に出し入れ可能に配設され複数の被皮剥物aが上面開口部8から内部に投入される上下方向の筒状体3と、本体筒状部7内に出し入れ可能に配設され筒状体3内の被皮剥物aを下方から支持する水平状の回転体4と、この回転体4を定位置に位置した筒状体3に対して上下方向の回転中心軸線Xを中心として所定方向に回転させる回転駆動手段5とを備えている。なお、回転体4の回転中心軸線Xは、筒状体3の軸芯(上下方向中心軸線)を通る線である。
装置本体2は、本体筒状部7と、この本体筒状部7を支持する支持部9とを有している。この支持部9は、前後左右の4本の脚10を有している。
本体筒状部7は、上下方向に軸方向を有する有底円筒状に形成されている。つまり、本体筒状部7は、上面開口状の円筒壁11と、この円筒壁11の下周端部に設けられ水平状に位置する円形状の底板12とにて構成されている。
底板12の一方側である左側には、被皮剥物aから剥かれた皮を排出するための排出孔部13が上下面に貫通して形成されている(図7および図8参照)。排出孔部13は、前後方向に長手方向を有する略矩形状に形成されている。排出孔部13の長辺の長さは、例えば短辺の長さの約3倍程度である。2本の長辺のうちの底板12の中心側の長辺は前後方向に沿った直線であるが、2本の長辺のうちの底板12の外周側の長辺は底板12の外周方向に沿った円弧状の曲線である。なお、製造上の容易性から、排出孔部13の形状は、例えば円弧状の曲線の代わりに、円弧の頂点を結ぶ2本の対角線を有する5角形状等でもよく、或いはその他の多角形状等でもよい。
また、本体筒状部7の底板12の下面側には、排出孔部13に対応する形状の排出ダクト部14が取り付けられている。そして、被皮剥物aから剥かれた皮は、排出孔部13から落下して排出ダクト部14内を通って、装置本体2外に排出される。
なお、底板12の排出孔部13は、従来の円形の孔(例えば直径50mm)に比べて大きな略矩形状の孔であるため、剥かれた皮が詰まって閉塞するようなことがない。
さらに、本体筒状部7の底板12の中央部には軸挿通用孔部16が形成され、この軸挿通用孔部16には上下方向の回転軸17が挿通され、この回転軸17の上端部に回転体4が脱着可能に取り付けられている。この回転体4は、回転軸17に対して工具レスで脱着可能となっている。
そして、回転軸17は、回転中心軸線Xからずれた位置に配設された単一の駆動源であるモータ18からの動力を動力伝達手段19を介して受けて、回転体4と一体となって回転中心軸線Xを中心として回転する。動力伝達手段19は、モータ18の出力軸20の上端部に固着された駆動プーリ21と、回転軸17の下端部に固着された従動プーリ22と、これら両プーリ21,22に掛け渡された無端状のベルト23とにて構成されている。例えば図示しないが動力伝達手段19はチェーン式でもよい。
なお、モータ18、動力伝達手段19および回転軸17にて、回転体4を所定方向(図1等に示す回転方向)に回転させる回転駆動手段5が構成されている。回転駆動手段5を図示しないカバー手段にて覆うようにしてもよい。
また、本体筒状部7の円筒壁11の内周面の複数箇所、すなわち例えば周方向に120度間隔をおいた3箇所には、筒状体3を定位置に位置決めする回り止め用の位置決め凸部25が内方に向かって突出状に固設されている。各位置決め凸部25は、断面四角形状の上下方向長手状のもので、円筒壁11の内周面の上端部から下端近傍にわたって設けられている。そして、これら位置決め凸部25に筒状体3が脱着可能に取り付けられている。この筒状体3は、位置決め凸部25に対して工具レスで脱着可能となっている。
さらに、本体筒状部7の円筒壁11には、皮が剥かれた被皮剥物a、つまり皮剥処理済みの被皮剥物aを取り出すための取出口部26が前方に向かって開口するように形成されている。また、筒状体3のうち取出口部26と対向する部分にも、皮が剥かれた被皮剥物aを取り出すための開口部30が取出口部26と同形状に形成されている。
本体筒状部7の円筒壁11の外周面から前方に向かって突出する左右1対の支持板部31には、取出口部26および開口部30を開閉する中空の湾曲板状の開閉体33がL字状の操作レバー軸32を介して上下方向に回動可能に取り付けられている。つまり、開閉体33は、操作レバー軸32によって手動操作可能なもので、下方への回動により閉状態となって取出口部26および開口部30を一斉に閉鎖し、上方への回動により開状態となって取出口部26および開口部30を一斉に開口させる。
そして、開閉体33の開状態時には、皮が剥かれた被皮剥物aは、それぞれ開口した取出口部26および開口部30を通って、両支持板部31の下端部間の前下り傾斜状の取出シュート34上を経て、装置本体2外に取り出される。なお、開閉体33を閉状態にロックするロック手段(図示せず)が設けられている。
また、本体筒状部7の円筒壁11の上端部には、筒状体3内に向けて先端噴射口35から水を噴射する噴射ノズル36が取り付けられている。噴射ノズル36の基端部には、この噴射ノズル36に水を供給する給水ホース37が接続されている。なお、噴射ノズル36の先端噴射口35は、筒状体3に形成されたノズル用孔部38に対向している。
さらに、本体筒状部7の円筒壁11の上端縁には、下方に向かって徐々に縮径する逆截頭円錐面状の案内面40を有する環状の投入シュート41が脱着可能に取り付けられている。投入シュート41の内部空間が、皮が付いた被皮剥物aを上面開口部8を通過させて筒状体3内に投入するための投入口部42となっている。そして、投入口部42は、投入シュート41に対して脱着可能な開閉蓋43によって開閉可能となっている。開閉蓋43は、円板状の蓋本体部44と、この蓋本体部44の中央部に設けられた取手部45とを有している。
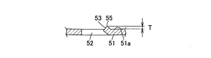
筒状体(皮剥ドラム)3は、図9ないし図12に示されるように、上下方向に軸方向を有する上下面開口状の円筒状をなす筒状板部51と、この筒状板部51にこの筒状板部51の全体にわたって分散して位置するように内外面に貫通して形成された上下方向長手状で矩形状の複数の筒状体孔部52と、筒状板部51のうち各筒状体孔部52に臨んだ部分に内方突出状に折り曲げにより一体に形成された上下方向長手状の皮剥用の筒状体刃部53とを有している。つまり、筒状体3は、互いに同じ数の筒状体孔部52および筒状体刃部53を有している。
そして、筒状体刃部53は、筒状板部51のうち筒状体孔部52に臨んだ部分における、回転体4の回転方向前側の縁部に形成されている。つまり、筒状板部51における筒状体孔部52の周縁部のうち回転体4の回転方向前側に位置する一縁部分が、筒状体刃部53となっている。
また、筒状体刃部53は、後述する孔形成装置91による筒状体孔部52の形成の際に、筒状板部51の一部(孔対向部分)の折り曲げにより形成されたものである。筒状体刃部53は、図12に示されるように、筒状板部51のうち筒状体刃部53が形成されていない部分の内面51aよりも内方に突出して位置する断面三角状の突出部分55を有している。この突出部分55の突出寸法Tは、例えば0.3mmである。
さらに、筒状板部51は、内方に向かって湾曲面状に膨出する複数(例えば3つ)の内方膨出部分57を有し、この内方膨出部分57にも筒状体孔部52および筒状体刃部53がそれぞれ形成されている。つまり、筒状板部51は、回転体4の回転中心軸線Xを中心とする円筒面に沿って位置する円筒部分56と、この円筒部分56よりも内方に膨出して位置する内方膨出部分57とにて構成されており、これら両部分56,57に孔部52および刃部53が形成されている。なお、3つの内方膨出部分57は、筒状板部51の周方向に120度間隔をおいて位置している。また、皮が剥かれた被皮剥物aを取り出すための開口部30は、円筒部分56に形成されている。
また、筒状板部51の各内方膨出部分57の外面には、互いに離間対向する対をなす外方突出状の突出板部58が固設されている。両突出板部58の上端部相互が、装置本体2に対する筒状体3の脱着の際の手掛け部となる上板部59にて連結されている。そして、内方膨出部分57、両突出板部58および上板部59にて、装置本体2の位置決め凸部25と嵌脱可能に嵌合する嵌合凹部60が構成されている。位置決め凸部25と嵌合凹部60との嵌合により、筒状体3が装置本体2に取り付けられて定位置に位置することとなる。
なお、図4および図5に示されるように、開閉体33は、それぞれ湾曲板状に形成された内側板部61および外側板部62を有している。これら内側板部61および外側板部62間には、空間部63が存在する。内側板部61は、開閉体33の開状態時に、筒状板部51の開口部30に嵌入してこの開口部30を閉鎖する。この内側板部61には、筒状板部51と同様、筒状体孔部52および筒状体刃部53と同じ開閉体孔部67および開閉体刃部68が形成されている。外側板部62は、開閉体33の開状態時に、本体筒状部7の取出口部26を閉鎖するものである。
回転体(皮剥ディスク)4は、図13ないし図18に示されるように、回転駆動手段5の回転軸17の上端部に脱着可能に取り付けられる取付基部71を有している。取付基部71には、回転軸17に対する回転体4の脱着の際に把持される取手部72が脱着可能に取り付けられている。取付基部71には、円板状の回転板部73およびこの回転板部73を支持する円形状の枠部74がそれぞれ脱着可能に取り付けられている。枠部74には、被皮剥物aから剥かれた皮を排出孔部13に向けて掻き寄せる例えばゴム製の掻き寄せ板部75が脱着可能に取り付けられている。
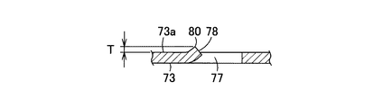
また、回転体4は、水平状の回転板部73にこの回転板部73の全体にわたって分散して位置するように上下面に貫通して形成された径方向長手状で矩形状の複数の回転体孔部77と、回転板部73のうち各回転体孔部77に臨んだ部分に上方突出状に折り曲げにより一体に形成された径方向長手状の皮剥用の回転体刃部78とを有している。つまり、回転体4は、互いに同じ数の回転体孔部77および回転体刃部78を有している。
そして、回転体刃部78は、回転板部73のうち回転体孔部77に臨んだ部分における、回転体4の回転方向後側の縁部に形成されている。つまり、回転板部73における回転体孔部77の周縁部のうち回転体4の回転方向後側に位置する一縁部分が、回転体刃部78となっている。
また、回転体刃部78は、後述する孔形成装置91による回転体孔部77の形成の際に、回転板部73の一部(孔対向部分)の折り曲げにより形成されたものである。回転体刃部78は、図16に示されるように、回転板部73のうち回転体刃部78が形成されていない部分の上面73aよりも上方に突出して位置する断面三角状の突出部分80を有している。この突出部分80の突出寸法Tは、例えば0.3mmである。
さらに、回転板部73は、上方に向かって湾曲面状に膨出する複数(例えば2つ)の上方膨出部分82を有し、この上方膨出部分82にも回転体孔部77および回転体刃部78がそれぞれ形成されている。つまり、回転板部73は、水平面に沿って位置する水平部分81と、この水平部分81よりも上方に膨出して位置する上方膨出部分82とにて構成されており、これら両部分81,82に孔部77および刃部78が形成されている。2つの上方膨出部分82は、回転板部73の周方向に180度間隔をおいて位置している。また、図18に示すように、例えば水平部分81と上方膨出部分82とが別体で、水平部分81の扇状の孔部83に上方膨出部分82が固着されている。なお、上方膨出部分82が水平部分81に対して脱着可能な構成でもよく、また、水平部分81と上方膨出部分82とが予め一体の構成でもよい。
また、図15に示されるように、回転体孔部77は、平面視で回転板部73の周方向に30度間隔をおいて位置している。回転体孔部77は、水平部分81では回転板部73の径方向に3つ並んでいるが、上方膨出部分82では回転板部73の径方向に4つ並んでいる。そして、回転体孔部77および回転体刃部78は、平面視で、回転中心軸線Xを中心として放射状に位置している。なお、回転体孔部77および回転体刃部78を放射状に設けることが好ましいが、周方向の間隔は30度以外でもよく、また例えば放射状ではなくランダムに設けてもよい。
さらに、図8に示されるように、回転体4は、装置本体2の本体筒状部7内において筒状体3の下端部の下方近傍に回転可能に配設されており、この回転体4と底板12との間の空間部84に皮が一時的に溜まるようになっている。また、筒状体3と回転体4との間には、隙間85が存在する。また、筒状体3と本体筒状部7との間には、隙間86が存在する。
また、筒状体3の筒状板部51、回転体4の回転板部73および開閉体33の内側板部61は、いずれも例えば金属板であるステンレス板にて構成されている。
ここで、図19ないし図22に示されるように、打ち抜き装置である孔形成装置91は、各板部51,73,61を構成するステンレス板90に対してパンチ加工を施すもので、パンチ部92を有するパンチ部品93と、パンチ部92が挿入出されるダイ孔部94を有するダイ部品95とを備えている。
パンチ部92は、切欠部96を有する略直方体形状に形成されている。また、ダイ部品95は、ステンレス板90が載置される板受面部97を上面に有している。この板受面部97は、水平面状の水平面部分98と、ダイ孔部94側に向かって下り傾斜する細長い傾斜面状の傾斜面部分99とにて構成されている。
そして、孔形成装置91を用いて、ステンレス板90にスリット状の孔部101を形成する場合、まず、図22の(a)に示すように、ダイ部品95の板受面部97の水平面部分98に、ステンレス板90を載置する。
次いで、図22の(b)に示すように、パンチ部品93の下降でパンチ部92をダイ部品95のダイ孔部94内に挿入させると、ステンレス板90の一部が打ち抜かれ、スリット状の孔部101が形成される。この際、ステンレス板90のうち孔部101に臨んだ部分の一部が、ダイ部品95の板受面部97の傾斜面部分99に押し付けられて傾斜状に折れ曲がる。
その結果、図22の(c)に示すように、ステンレス板90には、孔部101および刃部102が同時に形成される。つまり、ステンレス板90には、矩形状の孔部101の4辺のうちの1辺(長辺)のみに沿って、刃部102が突出状に形成される。この刃部102の突出寸法Tは、例えば0.3mmであるが、この値に限定されるものではない。
なお、孔部101が筒状体孔部52、開閉体孔部67および回転体孔部77となり、刃部102が筒状体刃部53、開閉体刃部68および回転体刃部78となる。
次に、皮剥装置1の作用等を説明する。
所定量の複数個の被皮剥物aは、投入口部42および上面開口部8を通って筒状体3内に投入され、回転体4にて下方から支持される。
そして、噴射ノズル36から水が噴射された状態で、回転体4が所定方向に回転すると、被皮剥物aは、定位置に位置した筒状体3内において、任意方向に回転しながら姿勢変更する。
この際、被皮剥物aの皮(表皮)は、筒状体刃部53、開閉体刃部68および回転体孔部78との各接触により、剥ぎ取られる。つまり、被皮剥物aの皮全体が、これら突出状の刃部53,68,78によって剥かれる。また、被皮剥物aは、噴射ノズル36からの水で洗浄される。
また、剥かれて被皮剥物aから分離した皮は、排水とともに排出孔部13から落下して排出ダクト部14内を通って、装置本体2外に排出される。
さらに、皮が剥かれた被皮剥物aは、開閉体33を開状態とすると、開口した取出口部26および開口部30から取出シュート34上を通って、装置本体2外に取り出される。
なお、皮剥作業後の洗浄時には、筒状体3および回転体4を装置本体2の本体筒状部7内から取り出すことができるため、洗浄作業を容易に行うことが可能である。また、筒状体3や、回転体4の回転板部(プレート)73は、一定期間の使用後に交換が必要な消耗品であるが、その交換作業も容易である。
そして、このような皮剥装置1によれば、筒状体3は被皮剥物aが投入される筒状板部51とこの筒状板部51にそれぞれ形成された筒状体孔部52および筒状体刃部53とを有し、かつ、回転体4は筒状体3内の被皮剥物aを下方から支持する回転板部73とこの回転板部73にそれぞれ形成された回転体孔部77および回転体刃部78とを有することから、筒状体3の内方突出状の筒状体刃部53と回転体4の上方突出状の回転体刃部78とによって被皮剥物aの皮が剥かれるため、従来に比べて、効率よく皮剥作業ができる。
また、各構成部品の製造時において、1台の孔形成装置91を用いて、筒状体孔部52、開閉体孔部67および回転体孔部77を形成すると同時に、筒状体刃部53、開閉体刃部68および回転体刃部78を容易に形成することができ、製造性に優れている。しかも、刃部53,68,78は板部51,61,73に一体形成されているため、刃部53,68,78が取れてしまうことがなく、異物混入の不具合を防止できる。
さらに、筒状板部51は内方に向かって膨出する内方膨出部分57を有し、回転板部73は上方に向かって膨出する上方膨出部分82を有するため、各膨出部分57,82との接触により被皮剥物aが筒状体3内で効率的に姿勢変更することとなり、より一層効率よく皮剥作業ができる。
また、筒状体孔部52および筒状体刃部53が内方膨出部分57に形成され、回転体孔部77および回転体刃部78が上方膨出部分82に形成されているため、より一層効率よくかつ適切に皮剥作業ができる。
さらに、筒状体3の筒状板部51や回転体4の回転板部73等がステンレス板にて構成されているため、錆び等が発生せず、清掃作業も容易である。
また、従来のような上面をカーボランダム粒子からなるやすり状の面とした回転体(ディスク)では、目詰まりが生じやすいため、大量の水を供給して目詰まり防止を図っているが、孔部52,67,77および刃部53,68,78を形成した構成では、目詰まりが生じにくく、大量の水を供給する必要がなく、水の使用量を少なくできる。
なお、上記皮剥装置1の孔部52,67,77および刃部53,68,78の数、配置や形状等は、任意であり、図示したものには限定されない。すなわち例えば、孔部52,67,77の形状は、細長い矩形状(スリット状)には限定されず、正方形状や楕円形状等でもよい。
また、筒状体孔部52および筒状体刃部53が内方膨出部分57に形成されかつ回転体孔部77および回転体刃部78が上方膨出部分82に形成された構成には限定されず、例えば内方膨出部分57に筒状体孔部52および筒状体刃部53を形成しない構成や、上方膨出部分82に回転体孔部77および回転体刃部78を形成しない構成でもよい。
さらに、例えば筒状体3の筒状板部51や回転体4の回転板部73を波板形状に形成してもよい。
また、例えば刃部53,68,78は、孔部52,67,77に臨んだ部分の一方側のみに形成されたものには限定されず、例えば孔部52,67,77に臨んだ部分の両側に形成するようにしてもよい。
さらに、内方膨出部分57や上方膨出部分82の数や形状等も任意であり、例えば内方膨出部分57や上方膨出部分82有しない構成等でもよい。
なお、図23ないし図26には、他の実施の形態に係る皮剥装置1を示す。
この皮剥装置1では、孔部52,67,77が、スリット状ではなく、星型多角形状、すなわち例えば10個(5個や6個、10個以上でもよい)の角を有する星型多角形状に形成されている。また、孔部52,67,77と刃部53,68,78との数の比が1対1ではなく、1(単数)対10(複数)となっている。つまり、1個の星型多角形状の孔部の周囲に10個の三角板状の刃部がその孔部を中心として周方向に等間隔で形成されている。
図24および図25には、回転体4の回転板部73に形成された回転体孔部77および回転体刃部78が図示されているが、筒状体孔部52および開閉体孔部67はその回転体孔部77と同形状であり、筒状体刃部53および開閉体刃部68はその回転体刃部78と同形状である。
そして、筒状体孔部52、開閉体孔部67および回転体孔部77となる孔部101や、筒状体刃部53、開閉体刃部68および回転体刃部78となる刃部102は、前記孔形成装置91とは異なる孔形成装置(図示せず)によって形成される。
すなわち例えば、図26(a)に示すように、パンチ部品の下降でパンチ部をダイ部品のダイ孔部内に挿入させることにより、ステンレス板90の一部を打ち抜いて、星型多角形状の孔部101を形成する。
その後、図26(b)に示すように、ステンレス板90のうち孔部101に臨んだ部分であるすべての各角部(平面視で三角形状の部分)を傾斜状に折り曲げて、突出状の刃部102を形成する。この刃部102の突出寸法Tは、例えば0.3mmであるが、この値に限定されるものではない。
このような他の実施の形態に係る皮剥装置1であっても、従来に比べて効率よく皮剥作業ができる等、前記一実施の形態と同様の作用効果を奏し得る。
1 皮剥装置
3 筒状体
4 回転体
30 開口部
33 開閉体
51 筒状板部
52 筒状体孔部
53 筒状体刃部
57 内方膨出部分
67 開閉体孔部
68 開閉体刃部
73 回転板部
77 回転体孔部
78 回転体刃部
82 上方膨出部分
90 ステンレス板
91 孔形成装置
a 被皮剥物

Claims (6)

  1. 被皮剥物が投入される筒状体と、
    この筒状体内の被皮剥物を下方から支持する回転体とを備え、
    前記筒状体は、
    筒状板部と、
    この筒状板部に形成された複数の筒状体孔部と、
    前記筒状板部のうち前記各筒状体孔部に臨んだ部分に内方突出状に形成された皮剥用の筒状体刃部とを有し、
    前記回転体は、
    回転板部と、
    この回転板部に形成された複数の回転体孔部と、
    前記回転板部のうち前記各回転体孔部に臨んだ部分に上方突出状に形成された皮剥用の回転体刃部とを有する
    ことを特徴とする皮剥装置。
  2. 筒状体刃部は、孔形成装置による筒状体孔部の形成の際に、筒状板部の一部の折り曲げにより形成され、
    回転体刃部は、前記孔形成装置による回転体孔部の形成の際に、回転板部の一部の折り曲げにより形成される
    ことを特徴とする請求項1記載の皮剥装置。
  3. 筒状板部は、内方に向かって膨出する内方膨出部分を有し、
    回転板部は、上方に向かって膨出する上方膨出部分を有する
    ことを特徴とする請求項1または2記載の皮剥装置。
  4. 筒状体孔部および筒状体刃部が、筒状板部の内方膨出部分に形成され、
    回転体孔部および回転体刃部が、回転板部の上方膨出部分に形成されている
    ことを特徴とする請求項3記載の皮剥装置。
  5. 筒状体の筒状板部には、被皮剥物を取り出すための開口部が形成され、
    前記開口部を開閉する開閉体を備え、
    前記開閉体には、筒状体孔部および筒状体刃部と同じ開閉体孔部および開閉体刃部が形成されている
    ことを特徴とする請求項1ないし4のいずれか一記載の皮剥装置。
  6. 筒状体の筒状板部および回転体の回転板部は、いずれもステンレス板にて構成されている
    ことを特徴とする請求項1ないし5のいずれか一記載の皮剥装置。
JP2011155100A 2011-07-13 2011-07-13 皮剥装置 Active JP5460652B2 (ja)

Priority Applications (1)

Application Number Priority Date Filing Date Title
JP2011155100A JP5460652B2 (ja) 2011-07-13 2011-07-13 皮剥装置

Applications Claiming Priority (1)

Application Number Priority Date Filing Date Title
JP2011155100A JP5460652B2 (ja) 2011-07-13 2011-07-13 皮剥装置

Publications (3)

Publication Number Publication Date
JP2013017444A true JP2013017444A (ja) 2013-01-31
JP2013017444A5 JP2013017444A5 (ja) 2013-05-02
JP5460652B2 JP5460652B2 (ja) 2014-04-02

Family

ID=47689529

Family Applications (1)

Application Number Title Priority Date Filing Date
JP2011155100A Active JP5460652B2 (ja) 2011-07-13 2011-07-13 皮剥装置

Country Status (1)

Country Link
JP (1) JP5460652B2 (ja)

Cited By (1)

* Cited by examiner, † Cited by third party
Publication number Priority date Publication date Assignee Title
CN111699862A (zh) * 2020-06-21 2020-09-25 衢州吾同园艺工具有限公司 修剪筛分袋

Families Citing this family (1)

* Cited by examiner, † Cited by third party
Publication number Priority date Publication date Assignee Title
JP5832055B1 (ja) * 2015-03-20 2015-12-16 松本 英夫 野菜皮むき器

Citations (6)

* Cited by examiner, † Cited by third party
Publication number Priority date Publication date Assignee Title
JPS5856634B2 (ja) * 1978-04-14 1983-12-15 松下電器産業株式会社 調理器
JPH056939Y2 (ja) * 1986-06-12 1993-02-22
JPH0584057A (ja) * 1991-04-26 1993-04-06 Nagano Seiko Kk 球根皮剥機
JPH11319982A (ja) * 1998-05-12 1999-11-24 Shigeru Kogyo:Kk 研削板の製造方法
JP2007117444A (ja) * 2005-10-28 2007-05-17 Izumi Products Co 電動おろし調理器およびおろし金
JP2008502346A (ja) * 2004-06-18 2008-01-31 ビュン−クグ チョイ 剥皮機

Patent Citations (6)

* Cited by examiner, † Cited by third party
Publication number Priority date Publication date Assignee Title
JPS5856634B2 (ja) * 1978-04-14 1983-12-15 松下電器産業株式会社 調理器
JPH056939Y2 (ja) * 1986-06-12 1993-02-22
JPH0584057A (ja) * 1991-04-26 1993-04-06 Nagano Seiko Kk 球根皮剥機
JPH11319982A (ja) * 1998-05-12 1999-11-24 Shigeru Kogyo:Kk 研削板の製造方法
JP2008502346A (ja) * 2004-06-18 2008-01-31 ビュン−クグ チョイ 剥皮機
JP2007117444A (ja) * 2005-10-28 2007-05-17 Izumi Products Co 電動おろし調理器およびおろし金

Cited By (1)

* Cited by examiner, † Cited by third party
Publication number Priority date Publication date Assignee Title
CN111699862A (zh) * 2020-06-21 2020-09-25 衢州吾同园艺工具有限公司 修剪筛分袋

Also Published As

Publication number Publication date
JP5460652B2 (ja) 2014-04-02

Similar Documents

Publication Publication Date Title
US2813376A (en) Abrading machine actuated by water pressure
EP1781120A4 (en) APPARATUS FOR EPLUCHING
US20180084818A1 (en) Partial or Whole Food Hopper, Grinder and Cold Press Counter-Top Juicing Machine, System and Method
JP5843273B1 (ja) 生海苔の異物分離装置
KR20110120681A (ko) 다용도 탈피기
US9649668B1 (en) Rotary impingement cleaning device with replaceable cartridge gear train
JP5460652B2 (ja) 皮剥装置
JP2013017444A5 (ja)
JP2001103946A (ja) 皮剥き機
US20070194032A1 (en) Food processor bowl and food processor
WO2019112901A1 (en) Partial or whole food hopper, grinder and cold press counter-top juicing machine, system and method
KR20090010066U (ko) 밤 껍질 제거장치
RU2597530C2 (ru) Жидкостная система для очистительной машины
JP2004008079A (ja) 野菜・果物の皮剥き装置
KR20160147081A (ko) 원액기용 세척장치
KR101406034B1 (ko) 과채류 박피기
JP5165138B1 (ja) 皮剥装置
KR200404908Y1 (ko) 감자 박피기
JPH0584057A (ja) 球根皮剥機
KR20180042618A (ko) 밤 껍질 박피 장치
JP5202553B2 (ja) おろし装置
US20060213378A1 (en) Fruit skin peeling device
JP6692661B2 (ja) 皮剥装置の回転板体、皮剥装置の筒状体、皮剥装置の回転筒体、および皮剥装置
KR200384958Y1 (ko) 디스크 형 구근 세척 탈피장치
JP3514987B2 (ja) 穀類用粉取り器とそのアタッチメント及びフードプロセッサ

Legal Events

Date Code Title Description
A521 Request for written amendment filed

Free format text: JAPANESE INTERMEDIATE CODE: A523

Effective date: 20130313

A621 Written request for application examination

Free format text: JAPANESE INTERMEDIATE CODE: A621

Effective date: 20130313

A871 Explanation of circumstances concerning accelerated examination

Free format text: JAPANESE INTERMEDIATE CODE: A871

Effective date: 20130313

A975 Report on accelerated examination

Free format text: JAPANESE INTERMEDIATE CODE: A971005

Effective date: 20130417

A131 Notification of reasons for refusal

Free format text: JAPANESE INTERMEDIATE CODE: A131

Effective date: 20130619

A521 Request for written amendment filed

Free format text: JAPANESE INTERMEDIATE CODE: A523

Effective date: 20130703

A02 Decision of refusal

Free format text: JAPANESE INTERMEDIATE CODE: A02

Effective date: 20130828

A521 Request for written amendment filed

Free format text: JAPANESE INTERMEDIATE CODE: A523

Effective date: 20131001

A911 Transfer to examiner for re-examination before appeal (zenchi)

Free format text: JAPANESE INTERMEDIATE CODE: A911

Effective date: 20131105

TRDD Decision of grant or rejection written
A01 Written decision to grant a patent or to grant a registration (utility model)

Free format text: JAPANESE INTERMEDIATE CODE: A01

Effective date: 20140108

A61 First payment of annual fees (during grant procedure)

Free format text: JAPANESE INTERMEDIATE CODE: A61

Effective date: 20140114

R150 Certificate of patent or registration of utility model

Free format text: JAPANESE INTERMEDIATE CODE: R150

Ref document number: 5460652

Country of ref document: JP

Free format text: JAPANESE INTERMEDIATE CODE: R150

R250 Receipt of annual fees

Free format text: JAPANESE INTERMEDIATE CODE: R250

R250 Receipt of annual fees

Free format text: JAPANESE INTERMEDIATE CODE: R250

R250 Receipt of annual fees

Free format text: JAPANESE INTERMEDIATE CODE: R250

R250 Receipt of annual fees

Free format text: JAPANESE INTERMEDIATE CODE: R250

R250 Receipt of annual fees

Free format text: JAPANESE INTERMEDIATE CODE: R250

S533 Written request for registration of change of name

Free format text: JAPANESE INTERMEDIATE CODE: R313533

R350 Written notification of registration of transfer

Free format text: JAPANESE INTERMEDIATE CODE: R350

R250 Receipt of annual fees

Free format text: JAPANESE INTERMEDIATE CODE: R250

R250 Receipt of annual fees

Free format text: JAPANESE INTERMEDIATE CODE: R250

R250 Receipt of annual fees

Free format text: JAPANESE INTERMEDIATE CODE: R250

R250 Receipt of annual fees

Free format text: JAPANESE INTERMEDIATE CODE: R250

R250 Receipt of annual fees

Free format text: JAPANESE INTERMEDIATE CODE: R250