JP2012201218A - 洋上風力発電設備の施工方法 - Google Patents

洋上風力発電設備の施工方法 Download PDF

Info

Publication number
JP2012201218A
JP2012201218A JP2011067679A JP2011067679A JP2012201218A JP 2012201218 A JP2012201218 A JP 2012201218A JP 2011067679 A JP2011067679 A JP 2011067679A JP 2011067679 A JP2011067679 A JP 2011067679A JP 2012201218 A JP2012201218 A JP 2012201218A
Authority
JP
Japan
Prior art keywords
floating body
tower
procedure
power generation
wind power
Prior art date
Legal status (The legal status is an assumption and is not a legal conclusion. Google has not performed a legal analysis and makes no representation as to the accuracy of the status listed.)
Granted
Application number
JP2011067679A
Other languages
English (en)
Other versions
JP5738643B2 (ja
Inventor
Iku Sato
郁 佐藤
Osamu Kobayashi
修 小林
Tomoaki Utsunomiya
智昭 宇都宮
Current Assignee (The listed assignees may be inaccurate. Google has not performed a legal analysis and makes no representation or warranty as to the accuracy of the list.)
Toda Corp
Original Assignee
Toda Corp
Priority date (The priority date is an assumption and is not a legal conclusion. Google has not performed a legal analysis and makes no representation as to the accuracy of the date listed.)
Filing date
Publication date
Application filed by Toda Corp filed Critical Toda Corp
Priority to JP2011067679A priority Critical patent/JP5738643B2/ja
Publication of JP2012201218A publication Critical patent/JP2012201218A/ja
Application granted granted Critical
Publication of JP5738643B2 publication Critical patent/JP5738643B2/ja
Active legal-status Critical Current
Anticipated expiration legal-status Critical

Links

Images

Classifications

    • YGENERAL TAGGING OF NEW TECHNOLOGICAL DEVELOPMENTS; GENERAL TAGGING OF CROSS-SECTIONAL TECHNOLOGIES SPANNING OVER SEVERAL SECTIONS OF THE IPC; TECHNICAL SUBJECTS COVERED BY FORMER USPC CROSS-REFERENCE ART COLLECTIONS [XRACs] AND DIGESTS
    • Y02TECHNOLOGIES OR APPLICATIONS FOR MITIGATION OR ADAPTATION AGAINST CLIMATE CHANGE
    • Y02EREDUCTION OF GREENHOUSE GAS [GHG] EMISSIONS, RELATED TO ENERGY GENERATION, TRANSMISSION OR DISTRIBUTION
    • Y02E10/00Energy generation through renewable energy sources
    • Y02E10/70Wind energy
    • Y02E10/727Offshore wind turbines

Landscapes

  • Wind Motors (AREA)

Abstract

【課題】洋上での容易かつ安全な設置を可能とし、施工コストの削減を図る。
【解決手段】浮体を起立場所まで運搬する第1手順と、起立場所において、浮体内部にバラストを投入することによって前記浮体を直立状態に起立させる第2手順と、前記浮体を洋上設置場所より浅い海域に曳航後、バラスト水31を投入することによって前記浮体を着底させる第3手順と、デッキ及びタワーを取り付ける第4手順と、前記バラスト水31を排水することによって前記浮体を浮かべ、洋上設置場所まで曳航する第5手順とを含む施工方法とする。
【選択図】図10

Description

本発明は、比較的水深の深い海上に設置されるスパー型の洋上風力発電設備の施工方法に関する。
従来より、主として水力、火力及び原子力発電等の発電方式が採用されてきたが、近年は環境や自然エネルギーの有効活用の点から自然風を利用して発電を行う風力発電が注目されている。この風力発電設備には、陸上設置式と、水上(主として海上)設置式とがあるが、沿岸域から後背に山岳地形をかかえる我が国の場合は、沿岸域に安定した風が見込める平野が少ない状況にある。一方、日本は四方を海で囲まれており、海上は発電に適した風が容易に得られるとともに、設置の制約が少ないなどの利点を有する。そこで、近年は洋上風力発電設備又は浮体構造が多く提案されている。
例えば、下記特許文献1では、上下の蓋体と、これらの間に連続的に設置された筒状のプレキャストコンクリートブロックとがPC鋼材で一体接合されてなる下部浮体と、該下部浮体にPC鋼材で一体接合された、上記プレキャストコンクリートブロックよりも小径なプレキャストコンクリートブロックと上蓋とからなる上部浮体とから構成され、下部浮体の下部内側に隔壁によって複数のバラストタンクが形成され、上部浮体の内側には隔壁によって複数の水密区画部が形成された洋上風力発電の浮体構造が提案されている。この特許文献1は、釣浮きのように起立状態で浮くため「スパー型」と呼ばれている。
特開2009−18671号公報
前記スパー型浮体上に風力発電タワーを設置する場合、波の穏やかな湾内で施工を行うのが望ましいが、浮体の吃水(水面下の部分)が概ね70mと深いのに対して、湾内の水深は一般的にこれより浅いため、湾内での施工は困難であった。このため、タワーの設置作業は水深の深い湾外で行わざるを得ないが、湾外で行う場合、湾内より波が高いため、波で揺れる浮体に対し同様に波で揺れるクレーン船で吊り下げたタワーを取り付けることは、浮体とクレーン船とでは波に対する揺動特性が異なるため、タワーを浮体に取り付けることは困難を極め且つ危険を伴う作業であった。従って、波が穏やかな時期を選んで施工を行わざるを得ないため年間の施工日数が限られ、重機の待機時間が長期化し費用が増大するだけでなく、ウインドファームのように複数の風車を設置する場合には、複数のクレーン船や作業船等の船団を組んで洋上設置場所に送り込む必要があった。
他方で、クレーン船としてスパット台船を使用すれば少なくとも台船の揺れが抑えられるようになるが、風力発電設備の洋上設置場所は水深が100m近くになるため、最大適用水深が15m程度しかないスパット台船は利用できない。一方、水深が浅い湾内などでの作業を可能にするため、浮体内部のバラスト水などを除いて浮体の吃水を浅くする方法も考えられるが、吃水を浅くした場合には浮体としての安定性が損なわれるので、このような浮体に対しタワーを設置するのは危険であった。
そこで本発明の主たる課題は、洋上での容易かつ安全な設置を可能とし、施工コストの削減を図った洋上風力発電設備の施工方法を提供することにある。
上記課題を解決するために請求項1に係る本発明として、浮体と、前記浮体に繋がれた係留索と、前記浮体の上に立設されるタワーと、このタワーの頂部に設備されるナセル及び複数の風車ブレードとからなる洋上風力発電設備の施工方法であって、
前記浮体を浮体の起立場所まで運搬する第1手順と、
起立場所において、前記浮体内部にバラストを投入することによって前記浮体を直立状態に起立させる第2手順と、
前記浮体を洋上設置場所より浅い海域に曳航後、バラスト水を投入することによって前記浮体を着底させる第3手順と、
少なくとも前記タワーを取り付ける第4手順と、
前記バラスト水を排水することによって前記浮体を浮かべ、洋上設置場所まで曳航する第5手順とを含む洋上風力発電設備の施工方法が提供される。
上記請求項1記載の発明は、本発明に係る洋上風力発電設備の施工方法の第1形態例である。本形態例では、特に第3手順において浮体を洋上設置場所より浅い海域に曳航後、バラスト水を投入することによって前記浮体を着底させた後、第4手順において少なくともタワーを取り付けるので、タワー等の取付時に浮体が安定するため、洋上での容易かつ安全な設置が可能となる。また、浮体の安定度が増加するため施工速度が向上し、施工コストの削減が図れるようになる。更に、比較的浅い海域の着底場所は繰り返し利用できるので、ウインドファームのように洋上風力発電設備を複数設置する場合には、より効率的となる。
請求項2に係る本発明として、浮体と、前記浮体に繋がれた係留索と、前記浮体の上に立設されるタワーと、このタワーの頂部に設備されるナセル及び複数の風車ブレードとからなる洋上風力発電設備の施工方法であって、
前記浮体を洋上設置場所より浅い海域に運搬後、前記浮体内部にバラストを投入することによって前記浮体を直立状態に起立させるとともに、バラスト水を投入することによって前記浮体を着底させる第1手順と、
少なくとも前記タワーを取り付ける第2手順と、
前記バラスト水を排水することによって前記浮体を浮かべ、洋上設置場所まで曳航する第3手順とを含む洋上風力発電設備の施工方法が提供される。
上記請求項2記載の発明は、本発明に係る洋上風力発電設備の施工方法の第2形態例である。本形態例では、上記第1形態例と比較して、浮体の起立作業をはじめから比較的浅い海域の着底場所で行うようにした点で相違する。即ち、上記第1形態例では、第1手順において浮体を起立場所まで運搬した後、第2手順で起立作業を行い、第3手順で比較的浅い海域に曳航後、着底作業を行うのに対して、本第2形態例では、浮体をはじめから比較的浅い海域の着底場所まで運搬後、この場所で起立作業及び着底作業を纏めて行うようにしたものである。これにより作業効率がさらに向上できる。
請求項3に係る本発明として、前記浮体は、上端部を開口させた有底中空部を有するスパー型の浮体構造とし、少なくとも施工時に前記タワーは前記デッキ上に設けたタワー昇降設備によって昇降自在とされるとともに、前記浮体内部に収容可能とされ、
請求項1記載の第4手順又は請求項2記載の第2手順において取り付けたタワーを前記タワー昇降設備によって浮体内部に収容した状態で、請求項1記載の第5手順又は請求項2記載の第3手順において前記浮体を洋上設置場所まで曳航した後、前記タワー昇降設備によって前記タワーを任意の高さ位置まで引き上げる請求項1、2いずれかに記載の洋上風力発電設備の施工方法が提供される。
上記請求項3記載の発明では、浮体に対してタワーを昇降自在に設けるとともに、浮体内部に収容可能とした場合の施工方法について規定したものであり、タワーをタワー昇降設備によって浮体内部に収容した状態で、浮体を洋上設置場所まで曳航した後、前記タワー昇降設備によって前記タワーを任意の高さ位置まで引き上げるようにしたものである。比較的浅い海域の着底場所から洋上設置場所に曳航する際、タワーを浮体内部に収容した状態にできるため、曳航時の安定性が確保でき、安全かつ迅速な施工作業が可能となる。
請求項4に係る本発明として、請求項1記載の第4手順又は請求項2記載の第2手順において取り付けたタワーの頂部に前記ナセルを設置した状態で、請求項1記載の第5手順又は請求項2記載の第3手順において前記浮体を洋上設置場所まで曳航する請求項1〜3いずれかに記載の洋上風力発電設備の施工方法が提供される。
上記請求項4記載の発明では、比較的浅い海域の着底場所で浮体を着底させた状態でタワーの頂部にナセルを設置しておき、その後浮体を浮かべ、洋上設置場所まで曳航することによって、作業効率が向上し、容易かつ安全な設置が可能となる。
以上詳説のとおり本発明によれば、洋上での容易かつ安全な設置を可能とし、施工コストの削減を図った洋上風力発電設備の施工方法が提供できるようになる。
本発明に係る洋上風力発電設備1の概略図である。 浮体2の縦断面図である。 プレキャスト筒状体12(13)を示す、(A)は縦断面図、(B)は平面図(B-B線矢視図)、(C)は底面図(C-C線矢視図)である。 プレキャスト筒状体12(13)同士の緊結要領図(A)(B)である。 上側鋼製浮体構造部を示す縦断面図である。 洋上風力発電設備1の施工手順図(その1)である。 洋上風力発電設備1の施工手順図(その2)である。 洋上風力発電設備1の施工手順図(その3)である。 洋上風力発電設備1の施工手順図(その4)である。 洋上風力発電設備1の施工手順図(その5)である。 洋上風力発電設備1の施工手順図(その6)である。 洋上風力発電設備1の施工手順図(その7)である。 洋上風力発電設備1の施工手順図(その8)である。 洋上風力発電設備1の施工手順図(その9)である。 洋上風力発電設備1の施工手順図(その10)である。 洋上風力発電設備1の施工手順図(その11)である。 洋上風力発電設備1の施工手順図(その12)である。 洋上風力発電設備1の施工手順図(その13)である。
以下、本発明の実施の形態について図面を参照しながら詳述する。
図1に示されるように、洋上風力発電設備1は、浮体2と、この浮体2の上部に設置されるデッキ3と、前記浮体2に繋がれた係留索4、4…と、前記デッキ3の上に立設されるタワー5と、このタワー5の頂部に設備されるナセル6及び複数の風車ブレード7,7…からなるものである。
そして、前記浮体2は、図2に示されるように、コンクリート製のプレキャスト筒状体12〜13を高さ方向に複数段積み上げ、各プレキャスト筒状体12〜13をPC鋼材により緊結し一体化を図った下側コンクリート製浮体構造部2Aと、この下側コンクリート浮体構造部2Aの上側に連設された上側鋼製浮体構造部2Bとからなるとともに、上端部を開口させた有底中空部を有するスパー型の浮体構造とし、前記タワー5は少なくとも施工時に前記デッキ3上に設けたタワー昇降設備によって昇降自在とされ、前記浮体2内部に収容可能となっているものである。前記浮体2の吃水Lは、2MW級発電設備の場合概ね60m以上に設定される。
以下、更に具体的に詳述する。
前記浮体2は、図2に示されるように、有底円筒形状のバラスト部10と、このバラスト部10の上面に連設された下側コンクリート浮体構造部2Aと、この下側コンクリート浮体構造部2Aの上側に連設された上側鋼製浮体構造部2Bとからなる。前記バラスト部10及び下側コンクリート浮体構造部2Aはすべてコンクリートのプレキャスト部材とされる。下側コンクリート浮体構造部2Aと上側鋼製浮体構造部2Bとの境界部に合成プレキャスト部材13が介在され、両者が接合されている。前記上側鋼製浮体構造部2Bは、高さ方向に段階的に外径寸法が縮小される変断面形状としてある。図示例では2段階の変断面形状としてある。
前記下側コンクリート浮体構造部2Aは、コンクリート製のプレキャスト筒状体12…と、合成プレキャスト部材13の下半部分とで構成されている。前記プレキャスト筒状体12は、図3に示されるように、軸方向に同一断面とされる円形筒状のプレキャスト部材であり、それぞれが同一の型枠を用いて製作されるか、遠心成形により製造された中空プレキャスト部材が用いられる。
壁面内には鉄筋20の他、周方向に適宜の間隔でPC鋼棒19を挿通するためのシース21、21…が埋設されている。このシース21、21…の下端部にはPC鋼棒19同士を連結するためのカップラーを挿入可能とするためにシース拡径部21aが形成されているとともに、上部には定着用アンカープレートを嵌設するための箱抜き部22が形成されている。また、上面には吊り金具23が複数設けられている。
プレキャスト筒状体12同士の緊結は、図4(A)に示されるように、下段側プレキャスト筒状体12から上方に延長されたPC鋼棒19、19…をシース21、21…に挿通させながらプレキャスト筒状体12,12を積み重ねたならば、アンカープレート24を箱抜き部22に嵌設し、ナット部材25によりPC鋼棒19に張力を導入し一体化を図る。また、グラウト注入孔27からグラウト材をシース21内に注入する。なお、前記アンカープレート24に形成された孔24aはグラウト注入確認孔であり、該確認孔からグラウト材が吐出されたことをもってグラウト材の充填を終了する。
次に、図4(B)に示されるように、PC鋼棒19の突出部に対してカップラー26を螺合し、上段側のPC鋼棒19、19…を連結したならば、上段となるプレキャスト筒状体12のシース21、21…に前記PC鋼棒19、19…を挿通させながら積み重ね、前記要領によりPC鋼棒19の定着を図る手順を順次繰り返すことにより高さ方向に積み上げられる。この際、下段側プレキャスト筒状体12と上段側プレキャスト筒状体12との接合面には止水性確保及び合わせ面の接合のためにエポキシ樹脂系などの接着剤28やシール材が塗布される。
次いで、前記合成プレキャスト部材13は、図5にも示されるように、コンクリート製のプレキャスト筒状体16と鋼製筒状体17との合成構造である。これらは一体的に製作される。前記プレキャスト筒状体16は、前記鋼製筒状体17の肉厚分の厚さを減じた外径寸法とされ、この外周に前記鋼製筒状体17の下半部分が外嵌された構造とし、前記プレキャスト筒状体16の上端面がPC鋼棒19の締結面とされる。
前記上側鋼製浮体構造部2Bは、前記合成プレキャスト部材13の上半部分と、鋼製筒状体14,15とで構成されている。下段側の鋼製筒状体14は、合成プレキャスト部材13と同一の外径寸法とされ、合成プレキャスト部材13に対して、ボルト又は溶接等(図示例はボルト締結)によって連結される。上段側の鋼製筒状体15は、前記下段側の鋼製筒状体14よりも外径寸法が縮小され、変断面形状とされ、下段側の鋼製筒状体14に対してボルト又は溶接等(図示例はボルト締結)によって連結される。前記上段側鋼製筒状体15の上端は開口のままとされるとともに、前記上段側鋼製筒状体15及び下段側鋼製筒状体14との境界部及び下段側鋼製筒状体14と鋼製筒状体17との境界部は空間が仕切られておらず、浮体2内部にはタワー5を収容するための中空部が形成されている。
一方、前記タワー5は、鋼材、コンクリート又はPRC(プレストレスト鉄筋コンクリート)から構成されるものが使用されるが、好ましいのは総重量が小さくなるように鋼材によって製作されたものを用いるのが望ましい。また、前記ナセル6は、風車の回転を電気に変換する発電機やブレードの角度を自動的に変えることができる制御器などが搭載された装置である。
〔施工手順〕
以下、図6〜図18に基づき、前記洋上風力発電設備1の施工手順について詳述する。
〈第1形態例〉
(第1手順)
製作ヤードに隣接した洋上において、図6に示されるように、浮体2を海上に横向きで浮かべ、曳航船18により起立場所まで曳航する。なお、下側コンクリート浮体構造部2Aと、上側鋼製浮体構造部2Bとでは、下側コンクリート浮体構造部2A側の方が重いため、バランス調整用浮体32を浮かべるとともに、この浮体上に設置したウインチ33から繰り出されたワイヤの一端を下側コンクリート浮体構造部2Aの端部に連結し、浮体2が水平になるように調整する。なお、前記上段側鋼製筒状体15の上端開口は塞がれている。また、浮体2は、海上に横向きで浮かべた状態でバラスト水31(水又は海水)を注水し、吃水を調整するようにしてもよい。前記起立場所とは、浮体2を起立させ、所定のバラストを投入し所定の吃水を確保した状態で浮体2の底面が海底に着底しない程度の水深を有する洋上のことである。
前記曳航船18により曳航する方法に代えて、図示しないが、浮体2を台船に搭載して洋上設置場所まで運搬し、洋上設置場所にてクレーンで洋上に浮かべる方法としてもよい。この場合、浮体2内にはバラスト水やバラスト材を投入しておかないことが好ましい。
(第2手順)
図7に示されるように、起立場所に到着したならば、バラスト水31(水又は海水)を注水するとともに、前記バランス調整用浮体32上のウインチ33からワイヤを徐々に繰り出すことにより、ゆっくりと浮体2を直立状態に起立させる。なお、この状態ではバラスト水31を注水しただけなので、重心が高く、起立した浮体2が不安定な状態にある。
次に、図8に示されるように、この起立場所に、バラスト材43を搭載した材料船40と大型ポンプ42を装備した浚渫船41とを配置する。前記材料船40に搭載されたバラスト材43を、材料船40で混合水(水又は海水)と混合した後、浚渫船41に延びるホースを通じて浚渫船41に流体輸送するとともに、浚渫船41に装備された大型ポンプ42から浮体2内部に延びるホースを通じて浮体2の内部に投入する。これと同時に、浮体2内部の余剰水を、材料船40に装備された吸引ポンプによって排水する。浮体2内部に注入されたバラスト材43は、比重差により浮体2の底部に沈降する。バラスト材43の注入により浮体2の吃水が徐々に高くなるので、それに伴いバランス調整用浮体32上のウインチ33からワイヤを繰り出すことにより、浮体2の直立状態を保持する(図9)。
前記バラスト材43としては、水より高比重である粉粒状のものが使用され、具体的には、砂、砂利、重晶石を含む鉱物類及び鉄、鉛等の金属粉、金属粒を含む金属類のうち一種または複数種の組み合わせからなるものとすることが好ましい。また、適宜モルタルを混合することもできる。バラスト材43の材質を調整することで、適切な比重のバラスト材43が投入できるようになる。
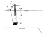
(第3手順)
図10に示されるように、曳航船18により浮体2を洋上設置場所より浅い海域に曳航後、バラスト水31を注入することによって浮体2を海底に着底させる。前記浅い海域は、海底がなるべく平坦な場所を選定し、浮体2ができる限り垂直になるようにする。必要に応じて仮係留をしてもよい。
(第4手順)
図11に示されるように、浮体2を着底させたならば、浮体2の上部にデッキ3を設置するとともに、浮体2上にタワー昇降設備8を設置し、さらにクレーン船44によってタワー5を設置する。上記第3手順において浮体2は着底して安定しているため、タワー5等の取付時に洋上での容易かつ安全な設置が可能となる。また、浮体2の安定度が増加するため施工速度が向上し、施工コストの削減が図れるようになる。更に、比較的浅い海域の着底場所は繰り返し利用できるので、ウインドファームのように洋上風力発電設備を複数設置する場合にはより効率的となる。このような着底場所として、季節によって適切な入り江等を選択することにより、稼働日を増加させることができ、施工コストの削減が図れるようになる。また、洋上設置場所と比較すると水深が浅いので、波が比較的穏やかであり、クレーン船44の安定性も比較的高くなり、タワーの設置作業が容易且つ安全に行えるようになる。
前記タワー昇降設備8は、例えば図11に示されるように、タワー5の基部周囲に所定の間隔でセンターホールジャッキ9,9…を配置するとともに、PC鋼線10の一端をシーブ11を巻回させた後、センターホールジャッキ9を通してタワー5の下端に緊結し、前記センターホールジャッキ9の伸縮操作により、タワー5の下降と上昇とを可能とした設備である。
デッキ3上に設置したタワー5は、図12に示されるように、タワー昇降設備8により降下させ、先端部を突出させた状態で浮体2内部に収容しておく。
その後、図13に示されるように、クレーン船44により、タワー5の頂部にナセル6を設置する。
(第5手順)
図14に示されるように、バラスト水31を排水することによって浮体2を再び浮かべ、曳航船18によって洋上設置場所まで曳航する。このとき、バラスト水31を排水しているため、タワー5を上昇させていると不安定になりやすいので注意する必要がある。
(第6手順)
図15に示されるように、浮体2にバラスト水31を注入して吃水を調整したならば、前記浮体2に係留索4の一端を繋ぎ止めるとともに、他端を海底に沈設したアンカーに繋ぎ留めて浮体2の安定を図る。
(第7手順)
図16に示されるように、2枚の風車ブレード7,7を設置した後、図17に示されるように、若干タワー5を引き上げて、残りの風車ブレード7を取り付ける。なお、タワー5を完全に引き上げてから、3枚の風車ブレード7,7…を設置するようにしてもよい。
(第8手順)
すべての部材取付け作業を終えたならば、図18に示されるように、前記タワー昇降設備8によってタワー5を上昇させ、タワー固定用ベース金具34等によりタワー5を正規の高さ位置に固定し施工を完了する。
〈第2形態例〉
本第2形態例では、上記第1形態例と比較して、浮体2の起立作業をはじめから比較的浅い海域の着底場所で行うようにした点で相違する。即ち、上記第1形態例では、第1手順において浮体2を海上に横向きで浮かべ起立場所まで曳航した後、第2手順で起立作業を行い、第3手順で比較的浅い海域に曳航後、着底作業を行うのに対して、本第2形態例では、浮体2を海上に横向きで浮かべはじめから比較的浅い海域の着底場所まで曳航後、この場所において起立作業及び着底作業を纏めて行うようにしたものである。以下具体的に説明する。
(第1手順)
上記第1形態例と同様に、図6に示されるように、浮体2を海上に横向きで浮かべ、曳航船18により曳航する。曳航先は、上記第1形態例と異なり、洋上設置場所より浅い海域とする。
この比較的浅い海域に到着したならば、上記第1形態例と同様に、浮体2内部にバラストを投入することによって浮体2を直立状態に起立させる。更に同様の場所で上記第1形態例と同様に、バラスト水を投入することによって浮体2を着底させる。
このように、本第2形態例では、起立場所と着底場所が同一であるため、曳航作業が不要となり、作業効率がさらに向上できる。
(第2手順以後)
以後の手順は、上記第1形態例に係る第4手順以後と同様である。
〔他の形態例〕
(1)上記形態例では、第1形態例の第2手順(第2形態例の第1手順)において、浮体2内部に投入するバラストとしてバラスト材43と水又は海水とを混合したものを投入し、余剰水を排水するようにしたが、コンクリートなどの固化体を投入してもよいし、水又は海水のみであってもよい。またコンクリートブロックを内部に投入してもよいし、バラスト部10の上側にコンクリート筒状体12の外周にコンクリート製のリングを外嵌させるようにしてもよく、これらは併用してもよい。なお、これらの場合には余剰水を排水する必要がない。
(2)上記形態例では、タワー5をタワー昇降設備8によって昇降自在とし、浮体2内部に収容可能としたが、タワー昇降設備8を設けずに、タワー5を直接浮体2の上端部に固設するようにしてもよい。
(3)上記形態例では、比較的浅い海域の着底場所にてタワー5の頂部にナセル6を取り付けたが、浮体2を洋上設置場所に曳航した後、ナセル6を取り付けるようにしてもよい。一方、予めタワー5の頂部にナセル6を取り付けておき、このタワー5を浮体2に設置するようにしてもよい。
(4)上記形態例では、タワー5を浮体2内部に収容して比較的浅い海域から洋上設置場所に曳航したが、タワー5の全部又は一部を突出させた状態で曳航してもよい。
(5)上記形態例では、前記タワー昇降設備8を撤去したが、残置しておき、その後のメンテナンス時や強風、波浪時にタワー5を下降させる際に使用できるようにしてもよい。もちろん、タワー下降作業時にタワー昇降設備8を新たに設置するようにしてもよい。
1…洋上風力発電設備、2…浮体、3…デッキ、4…係留索、5…タワー、6…ナセル、7…風車ブレード、8…タワー昇降設備、40…材料船、41…浚渫船、42…大型ポンプ、43…バラスト材

Claims (4)

  1. 浮体と、前記浮体に繋がれた係留索と、前記浮体の上に立設されるタワーと、このタワーの頂部に設備されるナセル及び複数の風車ブレードとからなる洋上風力発電設備の施工方法であって、
    前記浮体を浮体の起立場所まで運搬する第1手順と、
    起立場所において、前記浮体内部にバラストを投入することによって前記浮体を直立状態に起立させる第2手順と、
    前記浮体を洋上設置場所より浅い海域に曳航後、バラスト水を投入することによって前記浮体を着底させる第3手順と、
    少なくとも前記タワーを取り付ける第4手順と、
    前記バラスト水を排水することによって前記浮体を浮かべ、洋上設置場所まで曳航する第5手順とを含む洋上風力発電設備の施工方法。
  2. 浮体と、前記浮体に繋がれた係留索と、前記浮体の上に立設されるタワーと、このタワーの頂部に設備されるナセル及び複数の風車ブレードとからなる洋上風力発電設備の施工方法であって、
    前記浮体を洋上設置場所より浅い海域に運搬後、前記浮体内部にバラストを投入することによって前記浮体を直立状態に起立させるとともに、バラスト水を投入することによって前記浮体を着底させる第1手順と、
    少なくとも前記タワーを取り付ける第2手順と、
    前記バラスト水を排水することによって前記浮体を浮かべ、洋上設置場所まで曳航する第3手順とを含む洋上風力発電設備の施工方法。
  3. 前記浮体は、上端部を開口させた有底中空部を有するスパー型の浮体構造とし、少なくとも施工時に前記タワーは前記デッキ上に設けたタワー昇降設備によって昇降自在とされるとともに、前記浮体内部に収容可能とされ、
    請求項1記載の第4手順又は請求項2記載の第2手順において取り付けたタワーを前記タワー昇降設備によって浮体内部に収容した状態で、請求項1記載の第5手順又は請求項2記載の第3手順において前記浮体を洋上設置場所まで曳航した後、前記タワー昇降設備によって前記タワーを任意の高さ位置まで引き上げる請求項1、2いずれかに記載の洋上風力発電設備の施工方法。
  4. 請求項1記載の第4手順又は請求項2記載の第2手順において取り付けたタワーの頂部に前記ナセルを設置した状態で、請求項1記載の第5手順又は請求項2記載の第3手順において前記浮体を洋上設置場所まで曳航する請求項1〜3いずれかに記載の洋上風力発電設備の施工方法。
JP2011067679A 2011-03-25 2011-03-25 洋上風力発電設備の施工方法 Active JP5738643B2 (ja)

Priority Applications (1)

Application Number Priority Date Filing Date Title
JP2011067679A JP5738643B2 (ja) 2011-03-25 2011-03-25 洋上風力発電設備の施工方法

Applications Claiming Priority (1)

Application Number Priority Date Filing Date Title
JP2011067679A JP5738643B2 (ja) 2011-03-25 2011-03-25 洋上風力発電設備の施工方法

Publications (2)

Publication Number Publication Date
JP2012201218A true JP2012201218A (ja) 2012-10-22
JP5738643B2 JP5738643B2 (ja) 2015-06-24

Family

ID=47182644

Family Applications (1)

Application Number Title Priority Date Filing Date
JP2011067679A Active JP5738643B2 (ja) 2011-03-25 2011-03-25 洋上風力発電設備の施工方法

Country Status (1)

Country Link
JP (1) JP5738643B2 (ja)

Cited By (9)

* Cited by examiner, † Cited by third party
Publication number Priority date Publication date Assignee Title
JP2015155655A (ja) * 2014-02-20 2015-08-27 戸田建設株式会社 洋上風力発電設備の施工方法
CN107792307A (zh) * 2017-11-24 2018-03-13 惠生(南通)重工有限公司 一种便于安装的浮式风电塔
EP3153399A4 (en) * 2014-05-27 2018-05-30 Esteyco S.A.P. Floating substructure for a wind generator and method of installing same
CN109927857A (zh) * 2019-04-22 2019-06-25 上海交通大学 一种自稳型多柱式海上浮式风电Spar平台
WO2020019559A1 (zh) * 2018-07-25 2020-01-30 惠生(南通)重工有限公司 浮力塔平台及该平台安装方法
JP2020163979A (ja) * 2019-03-29 2020-10-08 ジャパンマリンユナイテッド株式会社 浮体構造物、浮体式風力発電装置及び浮体構造物の製造方法
CN115489693A (zh) * 2022-10-12 2022-12-20 交通运输部广州打捞局 一种漂浮式风机安装的解决方案
CN115871885A (zh) * 2022-12-08 2023-03-31 交通运输部广州打捞局 漂浮式风机坐底防台的方法
JP2023087835A (ja) * 2021-12-14 2023-06-26 清水建設株式会社 洋上風力発電装置及び洋上風力発電装置の施工方法

Families Citing this family (1)

* Cited by examiner, † Cited by third party
Publication number Priority date Publication date Assignee Title
GB2636813A (en) 2023-12-21 2025-07-02 Acergy France SAS Support structures for offshore wind turbines

Citations (10)

* Cited by examiner, † Cited by third party
Publication number Priority date Publication date Assignee Title
JPS5231541A (en) * 1975-09-04 1977-03-10 Takenaka Komuten Co Ltd Method of constructing marine structure
US4126010A (en) * 1976-07-23 1978-11-21 Compagnie Generale Pour Les Developpements Operationnels Des Richesses Sous-Marines "C.G. Doris" Oscillating installation for installing in a body of water and method for its construction
JPS62182310A (ja) * 1986-02-04 1987-08-10 Mitsubishi Heavy Ind Ltd 氷海用構造物
JPH07247539A (ja) * 1994-03-03 1995-09-26 Kajima Corp 大水深基礎構造物の施工方法およびその構造物
JP2003293938A (ja) * 2002-04-02 2003-10-15 Tetra Co Ltd 風力発電装置の施工方法
JP2005069025A (ja) * 2003-08-27 2005-03-17 Mitsui Eng & Shipbuild Co Ltd 洋上風力発電装置の基礎構造及び設置方法
US20070221112A1 (en) * 2006-03-24 2007-09-27 Haney James A Solution mining to refloat and dispose of an offshore floating structure
JP2009248792A (ja) * 2008-04-08 2009-10-29 Penta Ocean Construction Co Ltd 洋上風力発電用のスパー型浮体構造およびその製造方法ならびにその設置方法
JP2010223114A (ja) * 2009-03-24 2010-10-07 Toda Constr Co Ltd 洋上風力発電設備及びその施工方法
JP2012045981A (ja) * 2010-08-24 2012-03-08 Ihi Marine United Inc 浮体構造物

Patent Citations (10)

* Cited by examiner, † Cited by third party
Publication number Priority date Publication date Assignee Title
JPS5231541A (en) * 1975-09-04 1977-03-10 Takenaka Komuten Co Ltd Method of constructing marine structure
US4126010A (en) * 1976-07-23 1978-11-21 Compagnie Generale Pour Les Developpements Operationnels Des Richesses Sous-Marines "C.G. Doris" Oscillating installation for installing in a body of water and method for its construction
JPS62182310A (ja) * 1986-02-04 1987-08-10 Mitsubishi Heavy Ind Ltd 氷海用構造物
JPH07247539A (ja) * 1994-03-03 1995-09-26 Kajima Corp 大水深基礎構造物の施工方法およびその構造物
JP2003293938A (ja) * 2002-04-02 2003-10-15 Tetra Co Ltd 風力発電装置の施工方法
JP2005069025A (ja) * 2003-08-27 2005-03-17 Mitsui Eng & Shipbuild Co Ltd 洋上風力発電装置の基礎構造及び設置方法
US20070221112A1 (en) * 2006-03-24 2007-09-27 Haney James A Solution mining to refloat and dispose of an offshore floating structure
JP2009248792A (ja) * 2008-04-08 2009-10-29 Penta Ocean Construction Co Ltd 洋上風力発電用のスパー型浮体構造およびその製造方法ならびにその設置方法
JP2010223114A (ja) * 2009-03-24 2010-10-07 Toda Constr Co Ltd 洋上風力発電設備及びその施工方法
JP2012045981A (ja) * 2010-08-24 2012-03-08 Ihi Marine United Inc 浮体構造物

Cited By (13)

* Cited by examiner, † Cited by third party
Publication number Priority date Publication date Assignee Title
JP2015155655A (ja) * 2014-02-20 2015-08-27 戸田建設株式会社 洋上風力発電設備の施工方法
EP3153399A4 (en) * 2014-05-27 2018-05-30 Esteyco S.A.P. Floating substructure for a wind generator and method of installing same
CN107792307A (zh) * 2017-11-24 2018-03-13 惠生(南通)重工有限公司 一种便于安装的浮式风电塔
CN107792307B (zh) * 2017-11-24 2023-08-22 惠生(南通)重工有限公司 一种便于安装的浮式风电塔
WO2020019559A1 (zh) * 2018-07-25 2020-01-30 惠生(南通)重工有限公司 浮力塔平台及该平台安装方法
JP7234005B2 (ja) 2019-03-29 2023-03-07 ジャパンマリンユナイテッド株式会社 浮体構造物、浮体式風力発電装置及び浮体構造物の製造方法
JP2020163979A (ja) * 2019-03-29 2020-10-08 ジャパンマリンユナイテッド株式会社 浮体構造物、浮体式風力発電装置及び浮体構造物の製造方法
WO2020203435A1 (ja) * 2019-03-29 2020-10-08 ジャパンマリンユナイテッド株式会社 浮体構造物、浮体式風力発電装置及び浮体構造物の製造方法
CN109927857A (zh) * 2019-04-22 2019-06-25 上海交通大学 一种自稳型多柱式海上浮式风电Spar平台
JP2023087835A (ja) * 2021-12-14 2023-06-26 清水建設株式会社 洋上風力発電装置及び洋上風力発電装置の施工方法
JP7750727B2 (ja) 2021-12-14 2025-10-07 清水建設株式会社 洋上風力発電装置及び洋上風力発電装置の施工方法
CN115489693A (zh) * 2022-10-12 2022-12-20 交通运输部广州打捞局 一种漂浮式风机安装的解决方案
CN115871885A (zh) * 2022-12-08 2023-03-31 交通运输部广州打捞局 漂浮式风机坐底防台的方法

Also Published As

Publication number Publication date
JP5738643B2 (ja) 2015-06-24

Similar Documents

Publication Publication Date Title
JP5738643B2 (ja) 洋上風力発電設備の施工方法
JP5274329B2 (ja) 洋上風力発電設備及びその施工方法
KR102155394B1 (ko) 부체식 해상 풍력발전 설비
JP5330048B2 (ja) 洋上風力発電設備の施工方法
JP6270527B2 (ja) 洋上風力発電設備の施工方法
JP5738644B2 (ja) 洋上風力発電設備の施工方法
JP2010223114A5 (ja)
EP3924159B1 (en) Method of manufacturing a suction anchor
CN104081044B (zh) 浮体式风力发电装置及该浮体式风力发电装置的浮设方法
CN111891308A (zh) 浮式风力发电平台
US20150104259A1 (en) Method of construction, installation, and deployment of an offshore wind turbine on a concrete tension leg platform
KR20110030628A (ko) 근해 풍력 기지 산업에 이용하기 위한 지지 구조물
CN103255752A (zh) 支撑海上风机、桥梁、海洋建筑物的浮力支撑固定平台
US20140248091A1 (en) Construction and installation process to deploy a wind turbine "WTG" on a tension leg platform/spar in medium to deep water
JP5738642B2 (ja) 洋上風力発電設備の施工方法
JP6937627B2 (ja) 洋上風力発電設備及びその施工方法
CN212294724U (zh) 一种码头前沿预制海上风电筒型基础的设备
CN111005399A (zh) 一种码头前沿预制海上风电筒型基础的设备及方法
JP2024179238A (ja) スパー型洋上風力発電設備の建造方法
JP2025004632A (ja) スパー型洋上風力発電設備の建造方法
JP7474669B2 (ja) 洋上風力発電設備への風車搭載方法
JP2024175445A (ja) スパー型洋上風力発電設備の建造方法
CN205653811U (zh) 海上风机重力式基础及基础系统
JP2025017761A (ja) スパー型洋上風力発電設備の建造方法
WO2025263115A1 (ja) スパー型洋上風力発電設備の建造方法

Legal Events

Date Code Title Description
A621 Written request for application examination

Free format text: JAPANESE INTERMEDIATE CODE: A621

Effective date: 20140203

A977 Report on retrieval

Free format text: JAPANESE INTERMEDIATE CODE: A971007

Effective date: 20141016

A131 Notification of reasons for refusal

Free format text: JAPANESE INTERMEDIATE CODE: A131

Effective date: 20141022

A521 Request for written amendment filed

Free format text: JAPANESE INTERMEDIATE CODE: A523

Effective date: 20141218

TRDD Decision of grant or rejection written
A01 Written decision to grant a patent or to grant a registration (utility model)

Free format text: JAPANESE INTERMEDIATE CODE: A01

Effective date: 20150420

A61 First payment of annual fees (during grant procedure)

Free format text: JAPANESE INTERMEDIATE CODE: A61

Effective date: 20150422

R150 Certificate of patent or registration of utility model

Ref document number: 5738643

Country of ref document: JP

Free format text: JAPANESE INTERMEDIATE CODE: R150

R250 Receipt of annual fees

Free format text: JAPANESE INTERMEDIATE CODE: R250

R250 Receipt of annual fees

Free format text: JAPANESE INTERMEDIATE CODE: R250

R250 Receipt of annual fees

Free format text: JAPANESE INTERMEDIATE CODE: R250