JP2012171984A - 色調補正フィルムとこれを用いた機能性フィルム - Google Patents
色調補正フィルムとこれを用いた機能性フィルム Download PDFInfo
- Publication number
- JP2012171984A JP2012171984A JP2011032361A JP2011032361A JP2012171984A JP 2012171984 A JP2012171984 A JP 2012171984A JP 2011032361 A JP2011032361 A JP 2011032361A JP 2011032361 A JP2011032361 A JP 2011032361A JP 2012171984 A JP2012171984 A JP 2012171984A
- Authority
- JP
- Japan
- Prior art keywords
- film
- gas barrier
- color tone
- tone correction
- component
- Prior art date
- Legal status (The legal status is an assumption and is not a legal conclusion. Google has not performed a legal analysis and makes no representation as to the accuracy of the status listed.)
- Withdrawn
Links
- 238000012937 correction Methods 0.000 title claims abstract description 33
- 230000004888 barrier function Effects 0.000 claims abstract description 56
- 229920005989 resin Polymers 0.000 claims abstract description 41
- 239000011347 resin Substances 0.000 claims abstract description 41
- VGGSQFUCUMXWEO-UHFFFAOYSA-N Ethene Chemical compound C=C VGGSQFUCUMXWEO-UHFFFAOYSA-N 0.000 claims abstract description 14
- 239000005977 Ethylene Substances 0.000 claims abstract description 14
- JFNLZVQOOSMTJK-KNVOCYPGSA-N norbornene Chemical compound C1[C@@H]2CC[C@H]1C=C2 JFNLZVQOOSMTJK-KNVOCYPGSA-N 0.000 claims abstract description 14
- 229920001577 copolymer Polymers 0.000 claims abstract description 10
- -1 cyclic olefin Chemical class 0.000 claims abstract description 7
- JRZJOMJEPLMPRA-UHFFFAOYSA-N olefin Natural products CCCCCCCC=C JRZJOMJEPLMPRA-UHFFFAOYSA-N 0.000 claims abstract description 4
- 125000004122 cyclic group Chemical group 0.000 claims description 8
- 229920005672 polyolefin resin Polymers 0.000 claims description 8
- 239000000155 melt Substances 0.000 claims description 5
- 238000007334 copolymerization reaction Methods 0.000 claims description 4
- 239000000758 substrate Substances 0.000 abstract description 6
- 239000010408 film Substances 0.000 description 249
- 239000007789 gas Substances 0.000 description 55
- 239000010410 layer Substances 0.000 description 40
- 238000000034 method Methods 0.000 description 31
- 239000000463 material Substances 0.000 description 19
- 238000002834 transmittance Methods 0.000 description 17
- 239000002585 base Substances 0.000 description 16
- 230000000052 comparative effect Effects 0.000 description 12
- 230000000694 effects Effects 0.000 description 12
- 230000008569 process Effects 0.000 description 12
- XLYOFNOQVPJJNP-UHFFFAOYSA-N water Substances O XLYOFNOQVPJJNP-UHFFFAOYSA-N 0.000 description 12
- 238000004519 manufacturing process Methods 0.000 description 10
- 239000000975 dye Substances 0.000 description 9
- 239000000049 pigment Substances 0.000 description 9
- 229920003207 poly(ethylene-2,6-naphthalate) Polymers 0.000 description 9
- 239000011112 polyethylene naphthalate Substances 0.000 description 9
- 229910052814 silicon oxide Inorganic materials 0.000 description 9
- XLOMVQKBTHCTTD-UHFFFAOYSA-N Zinc monoxide Chemical compound [Zn]=O XLOMVQKBTHCTTD-UHFFFAOYSA-N 0.000 description 8
- QVGXLLKOCUKJST-UHFFFAOYSA-N atomic oxygen Chemical compound [O] QVGXLLKOCUKJST-UHFFFAOYSA-N 0.000 description 8
- 239000001301 oxygen Substances 0.000 description 8
- 229910052760 oxygen Inorganic materials 0.000 description 8
- 229920000089 Cyclic olefin copolymer Polymers 0.000 description 7
- VYPSYNLAJGMNEJ-UHFFFAOYSA-N Silicium dioxide Chemical compound O=[Si]=O VYPSYNLAJGMNEJ-UHFFFAOYSA-N 0.000 description 7
- 238000000576 coating method Methods 0.000 description 7
- 238000001125 extrusion Methods 0.000 description 7
- 229920000139 polyethylene terephthalate Polymers 0.000 description 7
- 239000005020 polyethylene terephthalate Substances 0.000 description 7
- 229920001187 thermosetting polymer Polymers 0.000 description 7
- 238000010521 absorption reaction Methods 0.000 description 6
- 230000015572 biosynthetic process Effects 0.000 description 6
- 239000012044 organic layer Substances 0.000 description 6
- 239000008188 pellet Substances 0.000 description 6
- 238000004544 sputter deposition Methods 0.000 description 6
- 239000012790 adhesive layer Substances 0.000 description 5
- 239000011248 coating agent Substances 0.000 description 5
- 230000009477 glass transition Effects 0.000 description 5
- 238000005259 measurement Methods 0.000 description 5
- 238000002156 mixing Methods 0.000 description 5
- 239000011241 protective layer Substances 0.000 description 5
- LFQSCWFLJHTTHZ-UHFFFAOYSA-N Ethanol Chemical compound CCO LFQSCWFLJHTTHZ-UHFFFAOYSA-N 0.000 description 4
- 230000008859 change Effects 0.000 description 4
- 239000004973 liquid crystal related substance Substances 0.000 description 4
- LIVNPJMFVYWSIS-UHFFFAOYSA-N silicon monoxide Chemical class [Si-]#[O+] LIVNPJMFVYWSIS-UHFFFAOYSA-N 0.000 description 4
- 239000011787 zinc oxide Substances 0.000 description 4
- OKKJLVBELUTLKV-UHFFFAOYSA-N Methanol Chemical compound OC OKKJLVBELUTLKV-UHFFFAOYSA-N 0.000 description 3
- YXFVVABEGXRONW-UHFFFAOYSA-N Toluene Chemical compound CC1=CC=CC=C1 YXFVVABEGXRONW-UHFFFAOYSA-N 0.000 description 3
- 230000005540 biological transmission Effects 0.000 description 3
- 238000010438 heat treatment Methods 0.000 description 3
- 239000003973 paint Substances 0.000 description 3
- 238000012545 processing Methods 0.000 description 3
- 238000012360 testing method Methods 0.000 description 3
- 230000003685 thermal hair damage Effects 0.000 description 3
- 239000010409 thin film Substances 0.000 description 3
- 238000004383 yellowing Methods 0.000 description 3
- WKBPZYKAUNRMKP-UHFFFAOYSA-N 1-[2-(2,4-dichlorophenyl)pentyl]1,2,4-triazole Chemical compound C=1C=C(Cl)C=C(Cl)C=1C(CCC)CN1C=NC=N1 WKBPZYKAUNRMKP-UHFFFAOYSA-N 0.000 description 2
- XKRFYHLGVUSROY-UHFFFAOYSA-N Argon Chemical compound [Ar] XKRFYHLGVUSROY-UHFFFAOYSA-N 0.000 description 2
- 229920002799 BoPET Polymers 0.000 description 2
- 239000004713 Cyclic olefin copolymer Substances 0.000 description 2
- VEXZGXHMUGYJMC-UHFFFAOYSA-N Hydrochloric acid Chemical compound Cl VEXZGXHMUGYJMC-UHFFFAOYSA-N 0.000 description 2
- KFZMGEQAYNKOFK-UHFFFAOYSA-N Isopropanol Chemical compound CC(C)O KFZMGEQAYNKOFK-UHFFFAOYSA-N 0.000 description 2
- LRHPLDYGYMQRHN-UHFFFAOYSA-N N-Butanol Chemical compound CCCCO LRHPLDYGYMQRHN-UHFFFAOYSA-N 0.000 description 2
- ATJFFYVFTNAWJD-UHFFFAOYSA-N Tin Chemical compound [Sn] ATJFFYVFTNAWJD-UHFFFAOYSA-N 0.000 description 2
- HCHKCACWOHOZIP-UHFFFAOYSA-N Zinc Chemical compound [Zn] HCHKCACWOHOZIP-UHFFFAOYSA-N 0.000 description 2
- 239000000853 adhesive Substances 0.000 description 2
- 230000001070 adhesive effect Effects 0.000 description 2
- 229910052782 aluminium Inorganic materials 0.000 description 2
- XAGFODPZIPBFFR-UHFFFAOYSA-N aluminium Chemical compound [Al] XAGFODPZIPBFFR-UHFFFAOYSA-N 0.000 description 2
- 239000003795 chemical substances by application Substances 0.000 description 2
- 238000012790 confirmation Methods 0.000 description 2
- 239000000470 constituent Substances 0.000 description 2
- 238000003851 corona treatment Methods 0.000 description 2
- 230000006866 deterioration Effects 0.000 description 2
- KPUWHANPEXNPJT-UHFFFAOYSA-N disiloxane Chemical class [SiH3]O[SiH3] KPUWHANPEXNPJT-UHFFFAOYSA-N 0.000 description 2
- 238000011156 evaluation Methods 0.000 description 2
- 238000007756 gravure coating Methods 0.000 description 2
- 229910003437 indium oxide Inorganic materials 0.000 description 2
- PJXISJQVUVHSOJ-UHFFFAOYSA-N indium(iii) oxide Chemical compound [O-2].[O-2].[O-2].[In+3].[In+3] PJXISJQVUVHSOJ-UHFFFAOYSA-N 0.000 description 2
- 229910010272 inorganic material Inorganic materials 0.000 description 2
- 239000011147 inorganic material Substances 0.000 description 2
- 229910052809 inorganic oxide Inorganic materials 0.000 description 2
- 238000010030 laminating Methods 0.000 description 2
- 229910052751 metal Inorganic materials 0.000 description 2
- 239000002184 metal Substances 0.000 description 2
- 229910044991 metal oxide Inorganic materials 0.000 description 2
- 150000004706 metal oxides Chemical class 0.000 description 2
- 239000000203 mixture Substances 0.000 description 2
- 238000012986 modification Methods 0.000 description 2
- 230000004048 modification Effects 0.000 description 2
- 150000004767 nitrides Chemical class 0.000 description 2
- 239000003960 organic solvent Substances 0.000 description 2
- 229920000642 polymer Polymers 0.000 description 2
- 239000000843 powder Substances 0.000 description 2
- 238000002360 preparation method Methods 0.000 description 2
- 239000002904 solvent Substances 0.000 description 2
- 230000003595 spectral effect Effects 0.000 description 2
- 229910052718 tin Inorganic materials 0.000 description 2
- 229910052725 zinc Inorganic materials 0.000 description 2
- 239000011701 zinc Substances 0.000 description 2
- UWLMMYPVDYOQNP-UHFFFAOYSA-N 4-n-[(7-chloroquinolin-4-yl)methyl]-1-n,1-n-diethylpentane-1,4-diamine;hydrochloride Chemical compound Cl.ClC1=CC=C2C(CNC(C)CCCN(CC)CC)=CC=NC2=C1 UWLMMYPVDYOQNP-UHFFFAOYSA-N 0.000 description 1
- 239000004925 Acrylic resin Substances 0.000 description 1
- 229920000178 Acrylic resin Polymers 0.000 description 1
- IJGRMHOSHXDMSA-UHFFFAOYSA-N Atomic nitrogen Chemical compound N#N IJGRMHOSHXDMSA-UHFFFAOYSA-N 0.000 description 1
- MYMOFIZGZYHOMD-UHFFFAOYSA-N Dioxygen Chemical compound O=O MYMOFIZGZYHOMD-UHFFFAOYSA-N 0.000 description 1
- GYHNNYVSQQEPJS-UHFFFAOYSA-N Gallium Chemical compound [Ga] GYHNNYVSQQEPJS-UHFFFAOYSA-N 0.000 description 1
- CTQNGGLPUBDAKN-UHFFFAOYSA-N O-Xylene Chemical compound CC1=CC=CC=C1C CTQNGGLPUBDAKN-UHFFFAOYSA-N 0.000 description 1
- UDKADRZWHRKFGZ-UHFFFAOYSA-K P(=O)([O-])([O-])[O-].[Co+3]=O Chemical compound P(=O)([O-])([O-])[O-].[Co+3]=O UDKADRZWHRKFGZ-UHFFFAOYSA-K 0.000 description 1
- NRCMAYZCPIVABH-UHFFFAOYSA-N Quinacridone Chemical class N1C2=CC=CC=C2C(=O)C2=C1C=C1C(=O)C3=CC=CC=C3NC1=C2 NRCMAYZCPIVABH-UHFFFAOYSA-N 0.000 description 1
- 229910004541 SiN Inorganic materials 0.000 description 1
- 229910004298 SiO 2 Inorganic materials 0.000 description 1
- 229910020286 SiOxNy Inorganic materials 0.000 description 1
- BLRPTPMANUNPDV-UHFFFAOYSA-N Silane Chemical compound [SiH4] BLRPTPMANUNPDV-UHFFFAOYSA-N 0.000 description 1
- XUIMIQQOPSSXEZ-UHFFFAOYSA-N Silicon Chemical compound [Si] XUIMIQQOPSSXEZ-UHFFFAOYSA-N 0.000 description 1
- 229910006404 SnO 2 Inorganic materials 0.000 description 1
- BOTDANWDWHJENH-UHFFFAOYSA-N Tetraethyl orthosilicate Chemical compound CCO[Si](OCC)(OCC)OCC BOTDANWDWHJENH-UHFFFAOYSA-N 0.000 description 1
- RTAQQCXQSZGOHL-UHFFFAOYSA-N Titanium Chemical compound [Ti] RTAQQCXQSZGOHL-UHFFFAOYSA-N 0.000 description 1
- QCWXUUIWCKQGHC-UHFFFAOYSA-N Zirconium Chemical compound [Zr] QCWXUUIWCKQGHC-UHFFFAOYSA-N 0.000 description 1
- 230000032900 absorption of visible light Effects 0.000 description 1
- 239000002253 acid Substances 0.000 description 1
- 239000000654 additive Substances 0.000 description 1
- 239000003513 alkali Substances 0.000 description 1
- 239000002216 antistatic agent Substances 0.000 description 1
- 229910052786 argon Inorganic materials 0.000 description 1
- 239000012298 atmosphere Substances 0.000 description 1
- 125000000751 azo group Chemical group [*]N=N[*] 0.000 description 1
- IRERQBUNZFJFGC-UHFFFAOYSA-L azure blue Chemical compound [Na+].[Na+].[Na+].[Na+].[Na+].[Na+].[Na+].[Na+].[Al+3].[Al+3].[Al+3].[Al+3].[Al+3].[Al+3].[S-]S[S-].[O-][Si]([O-])([O-])[O-].[O-][Si]([O-])([O-])[O-].[O-][Si]([O-])([O-])[O-].[O-][Si]([O-])([O-])[O-].[O-][Si]([O-])([O-])[O-].[O-][Si]([O-])([O-])[O-] IRERQBUNZFJFGC-UHFFFAOYSA-L 0.000 description 1
- 238000005266 casting Methods 0.000 description 1
- 239000010941 cobalt Substances 0.000 description 1
- 229910017052 cobalt Inorganic materials 0.000 description 1
- GUTLYIVDDKVIGB-UHFFFAOYSA-N cobalt atom Chemical compound [Co] GUTLYIVDDKVIGB-UHFFFAOYSA-N 0.000 description 1
- 239000013065 commercial product Substances 0.000 description 1
- 238000009833 condensation Methods 0.000 description 1
- 230000005494 condensation Effects 0.000 description 1
- 230000008602 contraction Effects 0.000 description 1
- 230000018044 dehydration Effects 0.000 description 1
- 238000006297 dehydration reaction Methods 0.000 description 1
- 238000013461 design Methods 0.000 description 1
- 238000011161 development Methods 0.000 description 1
- 238000007607 die coating method Methods 0.000 description 1
- ZMAPKOCENOWQRE-UHFFFAOYSA-N diethoxy(diethyl)silane Chemical compound CCO[Si](CC)(CC)OCC ZMAPKOCENOWQRE-UHFFFAOYSA-N 0.000 description 1
- 229910001873 dinitrogen Inorganic materials 0.000 description 1
- 229910001882 dioxygen Inorganic materials 0.000 description 1
- 238000007598 dipping method Methods 0.000 description 1
- 208000028659 discharge Diseases 0.000 description 1
- 239000006185 dispersion Substances 0.000 description 1
- 239000003822 epoxy resin Substances 0.000 description 1
- 238000005530 etching Methods 0.000 description 1
- 125000001495 ethyl group Chemical group [H]C([H])([H])C([H])([H])* 0.000 description 1
- 238000002474 experimental method Methods 0.000 description 1
- 229910052733 gallium Inorganic materials 0.000 description 1
- 239000011521 glass Substances 0.000 description 1
- LNEPOXFFQSENCJ-UHFFFAOYSA-N haloperidol Chemical compound C1CC(O)(C=2C=CC(Cl)=CC=2)CCN1CCCC(=O)C1=CC=C(F)C=C1 LNEPOXFFQSENCJ-UHFFFAOYSA-N 0.000 description 1
- RBTKNAXYKSUFRK-UHFFFAOYSA-N heliogen blue Chemical compound [Cu].[N-]1C2=C(C=CC=C3)C3=C1N=C([N-]1)C3=CC=CC=C3C1=NC([N-]1)=C(C=CC=C3)C3=C1N=C([N-]1)C3=CC=CC=C3C1=N2 RBTKNAXYKSUFRK-UHFFFAOYSA-N 0.000 description 1
- 230000007062 hydrolysis Effects 0.000 description 1
- 238000006460 hydrolysis reaction Methods 0.000 description 1
- 230000001771 impaired effect Effects 0.000 description 1
- 230000006872 improvement Effects 0.000 description 1
- 229910052738 indium Inorganic materials 0.000 description 1
- APFVFJFRJDLVQX-UHFFFAOYSA-N indium atom Chemical compound [In] APFVFJFRJDLVQX-UHFFFAOYSA-N 0.000 description 1
- 150000002472 indium compounds Chemical class 0.000 description 1
- AMGQUBHHOARCQH-UHFFFAOYSA-N indium;oxotin Chemical compound [In].[Sn]=O AMGQUBHHOARCQH-UHFFFAOYSA-N 0.000 description 1
- 229910052500 inorganic mineral Inorganic materials 0.000 description 1
- 239000007788 liquid Substances 0.000 description 1
- 239000000314 lubricant Substances 0.000 description 1
- 239000012528 membrane Substances 0.000 description 1
- 125000002496 methyl group Chemical group [H]C([H])([H])* 0.000 description 1
- 239000011707 mineral Substances 0.000 description 1
- 150000007522 mineralic acids Chemical class 0.000 description 1
- 238000000465 moulding Methods 0.000 description 1
- 229910052758 niobium Inorganic materials 0.000 description 1
- 239000010955 niobium Substances 0.000 description 1
- GUCVJGMIXFAOAE-UHFFFAOYSA-N niobium atom Chemical compound [Nb] GUCVJGMIXFAOAE-UHFFFAOYSA-N 0.000 description 1
- 239000011368 organic material Substances 0.000 description 1
- 150000001282 organosilanes Chemical class 0.000 description 1
- 125000005375 organosiloxane group Chemical group 0.000 description 1
- 230000002093 peripheral effect Effects 0.000 description 1
- 230000035699 permeability Effects 0.000 description 1
- 238000009832 plasma treatment Methods 0.000 description 1
- 229920000647 polyepoxide Polymers 0.000 description 1
- 229920001296 polysiloxane Polymers 0.000 description 1
- 238000012805 post-processing Methods 0.000 description 1
- 238000010248 power generation Methods 0.000 description 1
- 239000000047 product Substances 0.000 description 1
- 239000002994 raw material Substances 0.000 description 1
- 238000005546 reactive sputtering Methods 0.000 description 1
- 238000005096 rolling process Methods 0.000 description 1
- 238000005464 sample preparation method Methods 0.000 description 1
- 230000001953 sensory effect Effects 0.000 description 1
- 229910000077 silane Inorganic materials 0.000 description 1
- 239000010703 silicon Substances 0.000 description 1
- 229910052710 silicon Inorganic materials 0.000 description 1
- 239000002356 single layer Substances 0.000 description 1
- 239000003381 stabilizer Substances 0.000 description 1
- 239000000126 substance Substances 0.000 description 1
- 238000004381 surface treatment Methods 0.000 description 1
- 229910052715 tantalum Inorganic materials 0.000 description 1
- GUVRBAGPIYLISA-UHFFFAOYSA-N tantalum atom Chemical compound [Ta] GUVRBAGPIYLISA-UHFFFAOYSA-N 0.000 description 1
- 238000010345 tape casting Methods 0.000 description 1
- ANRHNWWPFJCPAZ-UHFFFAOYSA-M thionine Chemical compound [Cl-].C1=CC(N)=CC2=[S+]C3=CC(N)=CC=C3N=C21 ANRHNWWPFJCPAZ-UHFFFAOYSA-M 0.000 description 1
- 239000011135 tin Substances 0.000 description 1
- XOLBLPGZBRYERU-UHFFFAOYSA-N tin dioxide Chemical compound O=[Sn]=O XOLBLPGZBRYERU-UHFFFAOYSA-N 0.000 description 1
- 229910001887 tin oxide Inorganic materials 0.000 description 1
- 239000010936 titanium Substances 0.000 description 1
- 229910052719 titanium Inorganic materials 0.000 description 1
- 238000000411 transmission spectrum Methods 0.000 description 1
- DENFJSAFJTVPJR-UHFFFAOYSA-N triethoxy(ethyl)silane Chemical compound CCO[Si](CC)(OCC)OCC DENFJSAFJTVPJR-UHFFFAOYSA-N 0.000 description 1
- WFKWXMTUELFFGS-UHFFFAOYSA-N tungsten Chemical compound [W] WFKWXMTUELFFGS-UHFFFAOYSA-N 0.000 description 1
- 229910052721 tungsten Inorganic materials 0.000 description 1
- 239000010937 tungsten Substances 0.000 description 1
- 235000013799 ultramarine blue Nutrition 0.000 description 1
- 239000006097 ultraviolet radiation absorber Substances 0.000 description 1
- 238000001771 vacuum deposition Methods 0.000 description 1
- 230000000007 visual effect Effects 0.000 description 1
- 238000009736 wetting Methods 0.000 description 1
- 239000008096 xylene Substances 0.000 description 1
- 229910052726 zirconium Inorganic materials 0.000 description 1
Images
Landscapes
- Manufacture Of Macromolecular Shaped Articles (AREA)
- Laminated Bodies (AREA)
- Compositions Of Macromolecular Compounds (AREA)
- Physical Vapour Deposition (AREA)
Abstract
【課題】従来よりも優れた耐熱性、耐湿性を有する色調補正フィルム及びこれを用いてなる機能性フィルムを提供する。
【解決手段】ノルボルネンとエチレンの共重合体である環状オレフィン系樹脂成分100に対し、ブルーイング成分101を少量分散して色調補正フィルム1を作製する。当該色調補正フィルム1を基材フィルムとし、その表面にガスバリア層10を形成したガスバリアフィルム2を作製する。或いは前記基材フィルムの表面に透明導電膜20を形成した透明導電膜付フィルム3を作製する。
【選択図】図1
【解決手段】ノルボルネンとエチレンの共重合体である環状オレフィン系樹脂成分100に対し、ブルーイング成分101を少量分散して色調補正フィルム1を作製する。当該色調補正フィルム1を基材フィルムとし、その表面にガスバリア層10を形成したガスバリアフィルム2を作製する。或いは前記基材フィルムの表面に透明導電膜20を形成した透明導電膜付フィルム3を作製する。
【選択図】図1
Description
本発明は、色調補正フィルムに関し、特に有機EL、電子ペーパー、太陽電池、タッチパネル等に用いられるガスバリアフィルムや透明導電膜付フィルム等の機能性フィルムに関する。
樹脂フィルムを基材とし、これに所定の無機膜を形成してなる機能性フィルムが知られている。
このうち、酸素や水分等のガスの透過を防止するフィルムとして、ガスバリアフィルムがある。代表的なガスバリアフィルムは、透明な樹脂フィルムからなる基材を用い、柔軟性を確保するとともに、基材表面に所定の無機膜を形成して構成される。ガスバリアフィルムは、液晶ディスプレイ(LCD)や有機ELディスプレイ(OELD)等のフラットディスプレイパネル(FPD)の表面に配設され、透過光として表示画像を外部に取り出すとともに、液晶層や発光層が大気中の水分(水蒸気)や酸素成分と触れて劣化するのを防止する。また、電子ペーパーの構成要素や太陽電池の発電要素を保護するために利用されることもある。
このうち、酸素や水分等のガスの透過を防止するフィルムとして、ガスバリアフィルムがある。代表的なガスバリアフィルムは、透明な樹脂フィルムからなる基材を用い、柔軟性を確保するとともに、基材表面に所定の無機膜を形成して構成される。ガスバリアフィルムは、液晶ディスプレイ(LCD)や有機ELディスプレイ(OELD)等のフラットディスプレイパネル(FPD)の表面に配設され、透過光として表示画像を外部に取り出すとともに、液晶層や発光層が大気中の水分(水蒸気)や酸素成分と触れて劣化するのを防止する。また、電子ペーパーの構成要素や太陽電池の発電要素を保護するために利用されることもある。
一般にガスバリア特性として、ガラス並みの水蒸気透過率(10−6g/m2/day)の要求等を満たすのは困難であり、優れたガスバリア特性を得るために開発がなされている。例えばスパッタリング法等の真空成膜法を用い、SiOx、SiOxNy(x、yは任意の数)などの組成からなる薄い無機膜(無機酸化物膜)を基材フィルムに形成したガスバリアフィルムが開発されている(例えば特許文献5)。
このような無機膜は、膜中の酸素含有量を減少させた膜質にすると、ガスバリア特性の向上がみられる。一方、酸素含有量を若干低減させると、機能性フィルム全体の透過光において、比較的短波長(ブルーイング成分)の波長吸収が起こり、色目の黄色が強くなる傾向がみられる。CIE表色系で言えば、b*値が正値の方向に増加する。このようにガスバリア特性と色目安定性とはトレードオフの関係にある。
一方、別の機能性フィルムとして、透明な樹脂フィルムの表面にITO、IZO等の金属酸化物からなる透明導電膜を所定のパターンで配設した透明導電膜付フィルムが知られている。当該フィルムは、例えば抵抗膜式タッチパネルの構成要素に用いられ、上記FPDの表示面上に重ねて使用される。この透明導電膜付フィルムにおいても、金属酸化物中の酸素含有量を若干低減されると導電性が向上するが、同時に透明導電膜が黄変を生じ、機能性フィルム全体の透過光の色目が黄色に変色する。これにより、ディスプレイの表示画像を良好に外部に取り出すことができない。
そこで、このような機能性フィルムにおける黄変を改善する方法として、従来から基材フィルムに青色インクを添加したり、青色フィルムを積層することにより方法が知られている。これにより、透過光の波長バランスを整える工夫がなされる。
現在、機能性フィルムについては、当該フィルムを配設するディスプレイの使用環境や製造工程中の温度環境の条件により、耐熱性、耐湿性の向上が要求されている。
特にカーナビゲーションシステムの液晶ディスプレイに対してガスバリアフィルムを用いたり、当該ディスプレイにタッチパネルを配設する際には、車内環境によって比較的高い温度や湿度に曝される場合がある。このような条件下においても良好な画像表示特性を維持するためには、従来よりも耐熱性、耐湿性に優れ、画像表示を損なわない透明性を有する機能性フィルムを用いる必要がある。
特にカーナビゲーションシステムの液晶ディスプレイに対してガスバリアフィルムを用いたり、当該ディスプレイにタッチパネルを配設する際には、車内環境によって比較的高い温度や湿度に曝される場合がある。このような条件下においても良好な画像表示特性を維持するためには、従来よりも耐熱性、耐湿性に優れ、画像表示を損なわない透明性を有する機能性フィルムを用いる必要がある。
本発明は以上の課題に鑑みてなされたものであって、従来よりも優れた耐熱性、耐湿性を有する色調補正フィルム及びこれを用いてなる機能性フィルムを提供することを目的とする。
上記課題を解決するため、本発明は、ノルボルネンとエチレンの共重合体である環状オレフィン系樹脂成分に対し、ブルーイング成分を添加してなる色調補正フィルムとした。
ここで前記環状オレフィン系樹脂は、ノルボルネンとエチレンとの共重合比率が80:20〜90:10であり、メルトボリュームレート(MVR)が0.8〜2.0cm3/10分の条件で形成することもできる。
ここで前記環状オレフィン系樹脂は、ノルボルネンとエチレンとの共重合比率が80:20〜90:10であり、メルトボリュームレート(MVR)が0.8〜2.0cm3/10分の条件で形成することもできる。
また本発明は、基材フィルムの少なくとも一方の表面に無機膜が形成され、
前記基材フィルムが上記した本発明の色調補正フィルムを含んで構成されている機能性フィルムとした。
ここで、前記無機膜を透明導電膜とすることもできる。
或いは、前記無機膜をガスバリア層とすることもできる。
前記基材フィルムが上記した本発明の色調補正フィルムを含んで構成されている機能性フィルムとした。
ここで、前記無機膜を透明導電膜とすることもできる。
或いは、前記無機膜をガスバリア層とすることもできる。
以上の構成を有する本発明の色度調整フィルムは、ノルボルネンとエチレンの共重合体である環状オレフィン系樹脂成分に対し、ブルーイング成分を添加して構成されている。この環状ポリオレフィン系樹脂成分は、従来のポリエチレンテレフタレート(PET)、(ポリエチレンナフタレート)PEN等の樹脂に比べて耐熱性、耐湿性及び透明性の各特性のバランスが優れている。従って、当該樹脂成分を用いた色度調整フィルムでは、その全体においてこれらの諸特性が発揮される。
その結果、本発明の色度調整フィルムにおいては、比較的高温・多湿環境においても安定した色度調整効果が維持され、高い信頼性を実現できる。特に本発明の色度調整フィルムは可視光透過率が高く、ディスプレイの画像表示性能の低下を最小限に留めることが可能である。従って、外光の入射が顕著で、且つ、夏場などに高温・多湿環境に長期間曝される可能性のあるカーナビゲーションシステムのLCDへの応用や、当該ディスプレイに配設するタッチパネルの構成要素として利用する場合に、極めて効果を期待できる。
また、このような本発明の色度調整フィルムを用いた本発明のガスバリアフィルムや透明導電膜付フィルム等の機能性フィルムでは、無機膜中の酸素含有量を低減して黄変を生じたとしても、幅広い温度範囲及び湿度範囲に亘り、良好な色調特性を得ることとができるとともに、当該機能性フィルムを配設したディスプレイの画像表示性能やタッチパネル特性を効果的に維持することができ、ディスプレイやタッチパネルの長寿命化を期待できる。
<実施の形態1>
(色度調整フィルムの構成)
図1に、本発明の実施の形態1に係る色度調整フィルム1の模式断面図を示す。
色度調整フィルム1は、主成分である樹脂成分100に対し、ブルーイング成分101を分散させて構成されている。膜厚は20〜300μmが好適であり、さらに40μm〜200μmの範囲が強度及び可視光透過率の観点で好ましい。膜厚が薄すぎると強度が不足する。膜厚が厚過ぎると可撓性及び可視光透過率が低下する。従ってフィルム強度が十分であれば過度に厚くする必要はなく、ここでは一例として膜厚を100μmとしている。
(色度調整フィルムの構成)
図1に、本発明の実施の形態1に係る色度調整フィルム1の模式断面図を示す。
色度調整フィルム1は、主成分である樹脂成分100に対し、ブルーイング成分101を分散させて構成されている。膜厚は20〜300μmが好適であり、さらに40μm〜200μmの範囲が強度及び可視光透過率の観点で好ましい。膜厚が薄すぎると強度が不足する。膜厚が厚過ぎると可撓性及び可視光透過率が低下する。従ってフィルム強度が十分であれば過度に厚くする必要はなく、ここでは一例として膜厚を100μmとしている。
各成分の混合比率としては、樹脂成分100とブルーイング成分101の重量比を80:10〜90:10の範囲とするのが好適である。
樹脂成分100は、エチレン−ノルボルネン共重合体からなる環状オレフィン系樹脂である。
なお、本発明のエチレン−ノルボルネン共重合体は市販品を利用することができる。例えばTOPAS Advanced Polymers社製の製品「TOPAS」等を挙げることができる。
樹脂成分100は、エチレン−ノルボルネン共重合体からなる環状オレフィン系樹脂である。
なお、本発明のエチレン−ノルボルネン共重合体は市販品を利用することができる。例えばTOPAS Advanced Polymers社製の製品「TOPAS」等を挙げることができる。
エチレン−ノルボルネン共重合体の吸水率(23℃/24時間)としては、通常は0.005%〜0.1%の範囲が好ましい。吸水率が0.1%を超えると、色度調整フィルムの寸法安定性が低下する傾向にあるため留意する。
また、エチレン−ノルボルネン共重合体の屈折率は、通常は1.49〜1.55程度であり、光線透過率は93.0〜90.8%程度である。
また、エチレン−ノルボルネン共重合体の屈折率は、通常は1.49〜1.55程度であり、光線透過率は93.0〜90.8%程度である。
ブルーイング成分101は、一般的な顔料或いは染料(例えば銅フタロシアニン系の顔料であるBASFジャパン株式会社製 K6911D(FP)のようなブルーイング材料)を用いることができる。これら顔料、染料は有機系、無機系のいずれであってもよい。また、1種以上の顔料や染料を混合して用いることもできる。顔料としては例えばNa6Al6Si6O24S4系等の群青、シアニンブルー、コバルトブルー、酸化燐酸コバルト、キナクリドン系、アゾ系顔料を例示できる。ここで市販品として、ブルーイング成分を樹脂材料と混合してなるペレットが存在するが、このようなペレットを前記樹脂成分と混合し、加熱溶融させた後、押し出し成型することも可能である。
なお、色度調整フィルム1には、上記樹脂成分及びブルーイング成分のほか、紫外線吸収剤、アンチブロッキング剤、滑剤、静電気防止剤、安定剤等、従来より用いられている公知の添加剤を適量添加することもできる。
また色度調整フィルム1には、表面の濡れ性及び接着性を向上させるために、フレーム処理、紫外線照射処理、コロナ放電処理、プラズマ処理、CCVD(イトロ)処理、プライマー処理、化学薬品処理、賦形処理等の表面処理を行うこともできる。コロナ放電処理及び紫外線照射処理については、空気中、窒素ガス中、希ガス中等で行うことができる。このような表面改質処理によって、環状オレフィン系樹脂フィルム表面の濡れ張力を、450μN/cm(23℃)以上とすることが好ましく、500μN/cm(23℃)以上とすることがより好ましい。
(色度調整フィルム1の効果について)
以上の構成を有する色度調整フィルム1は、ノルボルネンとエチレンの共重合体である環状オレフィン系樹脂成分100に対し、ブルーイング成分101を添加(少量分散)して構成されている。具体的に樹脂成分100は、ガラス転移温度が170〜200℃であり、従来のPET(110℃)、PEN(155℃)等に比べて良好な耐熱性を有しているほか、耐湿性及び透明性の各特性を優れたバランスで有しており、色度調整フィルム1全体においてもこれらの諸特性が発揮される。
また色度調整フィルム1には、表面の濡れ性及び接着性を向上させるために、フレーム処理、紫外線照射処理、コロナ放電処理、プラズマ処理、CCVD(イトロ)処理、プライマー処理、化学薬品処理、賦形処理等の表面処理を行うこともできる。コロナ放電処理及び紫外線照射処理については、空気中、窒素ガス中、希ガス中等で行うことができる。このような表面改質処理によって、環状オレフィン系樹脂フィルム表面の濡れ張力を、450μN/cm(23℃)以上とすることが好ましく、500μN/cm(23℃)以上とすることがより好ましい。
(色度調整フィルム1の効果について)
以上の構成を有する色度調整フィルム1は、ノルボルネンとエチレンの共重合体である環状オレフィン系樹脂成分100に対し、ブルーイング成分101を添加(少量分散)して構成されている。具体的に樹脂成分100は、ガラス転移温度が170〜200℃であり、従来のPET(110℃)、PEN(155℃)等に比べて良好な耐熱性を有しているほか、耐湿性及び透明性の各特性を優れたバランスで有しており、色度調整フィルム1全体においてもこれらの諸特性が発揮される。
その結果、色度調整フィルム1の使用時には、比較的高温・多湿環境においても安定した色度調整効果が維持され、高い信頼性を実現できる。樹脂成分100が高温や湿度による変質を起こしにくいため、樹脂成分100の変質に伴ってブルーイング成分101が変質する問題も良好に防止でき、信頼性の向上を一層期待できる。具体的に樹脂成分100は、吸水率が0.01%と非常に低く、従来のPET(吸水率0.3%)、PEN(吸水率0.3%)に比べて高度な耐湿性を期待できる。
また、色度調整フィルム1は樹脂成分100の可視光透過率が高いため、ブルーイング処理を行っても十分な可視光を透過できる。このため、ディスプレイの表面に設けても、画像表示性能の低下(特に輝度低下)を最小限に留めることが可能である。
このような特性を有する色度調整フィルム1は、外光の入射が顕著であり、且つ、夏場などに高温・多湿環境に長期間曝される可能性のあるカーナビゲーションシステムのLCDへの応用や、当該ディスプレイに配設するタッチパネルの構成要素として利用する場合に、極めて高い効果を期待できるものである。
このような特性を有する色度調整フィルム1は、外光の入射が顕著であり、且つ、夏場などに高温・多湿環境に長期間曝される可能性のあるカーナビゲーションシステムのLCDへの応用や、当該ディスプレイに配設するタッチパネルの構成要素として利用する場合に、極めて高い効果を期待できるものである。
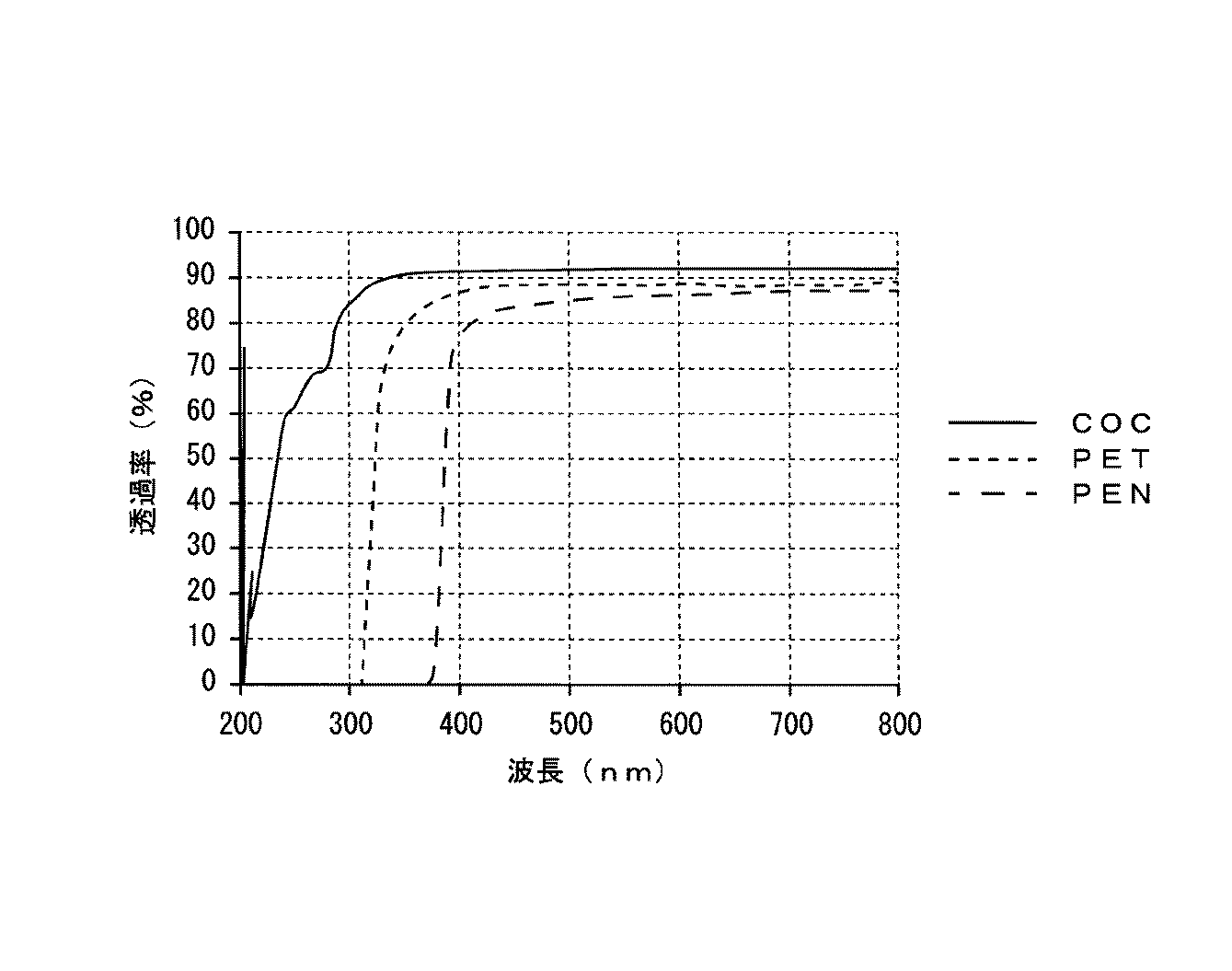
ここで図2は、本発明の樹脂成分100で構成したフィルムと、従来のPETフィルム、PENフィルムの可視光波長近辺の透過スペクトル(分光透過率)を示すグラフである。当図に示されるように、樹脂成分100(図中の「COC」)の光線透過率は、従来のPET、PEN等の樹脂に比べて格段に優れている。このためフィルム1では、ブルーイング成分101を比較的多く添加しても、同量のブルーイング成分101を添加したPET、PEN等を用いてなる従来の色度調整フィルムに比べて可視光透過率が高い。従って色度調整フィルム1は、ブルーイング成分101の添加範囲について幅広い設計自由度を有しており、要求に合わせてブルーイング成分101の細かな濃度調整を図ることができる。この点においても、色度調整フィルム1は高い効果を奏するものである。
(その他の構成について)
なお、色度調整フィルム1では、主成分である樹脂成分100中にブルーイング成分101を分散した構成としているが、エチレン−ノルボルネン共重合体からなる環状オレフィン系樹脂フィルムの上に、ブルーイング成分を粘着層材料に分散させてなる、厚さ数μm程度のUVカット粘着層(PSA層等)を設けた構成の色度調整フィルムとしても、一定の可視光透過率及び耐熱性、耐湿性を期待できると思われる。図1(b)は、このようなフィルム1Xの構成を示す模式断面図である。当図中、102はUVカット粘着層を示す。
なお、色度調整フィルム1では、主成分である樹脂成分100中にブルーイング成分101を分散した構成としているが、エチレン−ノルボルネン共重合体からなる環状オレフィン系樹脂フィルムの上に、ブルーイング成分を粘着層材料に分散させてなる、厚さ数μm程度のUVカット粘着層(PSA層等)を設けた構成の色度調整フィルムとしても、一定の可視光透過率及び耐熱性、耐湿性を期待できると思われる。図1(b)は、このようなフィルム1Xの構成を示す模式断面図である。当図中、102はUVカット粘着層を示す。
但し、一般的にUVカット粘着層102の厚みは薄いため、当該層へのブルーイング成分101の添加量をそれほど多くできないほか、比較的大量にブルーイング成分101を投入すると、可視光透過率が大きく低下したり、粘着性が損なわれ、粘着材料を塗工できない等の点に留意すべきである。
(色度調整フィルムの製造方法例)
次に、色度調整フィルムの製造方法を例示する。図3に示すように、プロセスとしては、樹脂及び青色ペレットの準備工程、材料の混合・押し出し工程、ロール工程を順次経る。
(色度調整フィルムの製造方法例)
次に、色度調整フィルムの製造方法を例示する。図3に示すように、プロセスとしては、樹脂及び青色ペレットの準備工程、材料の混合・押し出し工程、ロール工程を順次経る。
[粉砕・混合工程]
まず、ブルーイング成分を含むペレットを用意し、これを凍結粉砕する。このパウダーを環状オレフィン共重合体樹脂成分のパウダー(樹脂成分を含むペレットを粉砕したもの)と、得たい色調となる比率で混合する。この混合物をペレタイザーによってペレット化する。
まず、ブルーイング成分を含むペレットを用意し、これを凍結粉砕する。このパウダーを環状オレフィン共重合体樹脂成分のパウダー(樹脂成分を含むペレットを粉砕したもの)と、得たい色調となる比率で混合する。この混合物をペレタイザーによってペレット化する。
これによりガラス転移温度が170〜200℃のブルーイングされた環状オレフィンの付加(共)重合体を得ることができる。
なお、ノルボルネンの重量比率が80%以下になると、170℃以上の高いガラス転移温度が得られない。またエチレンの重量比率が10%以下になると、得られるフィルムの強度が弱くなり、必要な後加工(コーティング、薄膜形成等)工程に耐えることができない。従ってエチレン、ノルボルネンの重量比率には注意が必要である。この点について、エチレンとのノルボルネンの重量比率を変更した場合の耐熱評価データを表1に示す。評価方法としては、A5サイズ(148mm×210mm)にフィルムをカットした後、各温度条件に設定された熱風循環炉の中に30分間入れて、フィルムの変形の有無を調べた。なお、フィルムは4隅に立てたピンの上に置き、フィルムの中央部がだれて下がった場合に、フィルムの軟化による変形が発生していると判断した。
なお、ノルボルネンの重量比率が80%以下になると、170℃以上の高いガラス転移温度が得られない。またエチレンの重量比率が10%以下になると、得られるフィルムの強度が弱くなり、必要な後加工(コーティング、薄膜形成等)工程に耐えることができない。従ってエチレン、ノルボルネンの重量比率には注意が必要である。この点について、エチレンとのノルボルネンの重量比率を変更した場合の耐熱評価データを表1に示す。評価方法としては、A5サイズ(148mm×210mm)にフィルムをカットした後、各温度条件に設定された熱風循環炉の中に30分間入れて、フィルムの変形の有無を調べた。なお、フィルムは4隅に立てたピンの上に置き、フィルムの中央部がだれて下がった場合に、フィルムの軟化による変形が発生していると判断した。
次に前記ペレットを用い、溶融押し出し法に基づき、メルトボリュームレート(MVR)が温度260℃、荷重2.16kgの条件での10分当たりの吐出体積(cm3)が0.8〜2.0cm3/10分となるように設定し、押し出し成型を行う。引っ張りロール温度は130℃程度に調整する。
なお、MVRが0.8cm3/10分以下では、流動性が低く、原料製造時あるいはフィルム製造時に成形機内の圧力が高くなりすぎて製造できない。またMVRが2.0cm3/10分以上では、得られるフィルムの強度が弱くなり、必要な後加工(コーティング、薄膜形成等)工程に耐えることができない。よって、適切なMVR値を用いるべきである。この点について、各MVR値での製造における官能試験を行い、得られたデータを表2に示す。
次に、上記押し出し工程を経た材料を2本の異なる周速の金属ロール間に通し、フィルム温度を190℃程度に保ったまま走行させて延伸し、延伸倍率2.0倍程度、最終膜厚を所定値(200〜300μm)に調整して巻き取る。
以上で、色度調整フィルム1を得ることができる。
なお、その後色度調整フィルムの表面に対し、真空プロセス等により無機膜を形成すれば、後述する実施の形態2、3の機能性フィルムを得ることができる。
なお、ノルボルネンとエチレンとの共重合体からフィルムを得る方法は溶融押し出し法に限定されず、例えば溶液流延法、カレンダー法等のいずれかを例示できる。またノルボルネンとエチレンとの共重合体フィルムを延伸する手法も特に限定はなく、ロール延伸法の他にテンタークリップ延伸法、圧延法等を例示できる。
なお、その後色度調整フィルムの表面に対し、真空プロセス等により無機膜を形成すれば、後述する実施の形態2、3の機能性フィルムを得ることができる。
なお、ノルボルネンとエチレンとの共重合体からフィルムを得る方法は溶融押し出し法に限定されず、例えば溶液流延法、カレンダー法等のいずれかを例示できる。またノルボルネンとエチレンとの共重合体フィルムを延伸する手法も特に限定はなく、ロール延伸法の他にテンタークリップ延伸法、圧延法等を例示できる。
なお、フィルムを延伸して異方性を付与し、位相差フィルムを作製することもできる。位相差フィルムは偏光板との組み合わせで用いられ、そのリタデーションは100〜150nmが好ましい。一方、このような延伸工程を行わずに等方性フィルムを作製することもできる。従って、得ようとするフィルムの特性に合わせて延伸工程の実施を選択すればよい。
[サンプルの作製]
以下の手順で実施例1、2を作製し、収縮率(寸法変化率)を測定した。
[サンプルの作製]
以下の手順で実施例1、2を作製し、収縮率(寸法変化率)を測定した。
測定手順としては、まず100×100mmのサイズに切り出したフィルムの4辺の長さを0.001mm単位で測長機にて測定した。次いで、測定したフィルムを160℃に設定したオーブンに30分間投入した。その後はフィルムをオーブンから取り出し、再度フィルムの4辺の長さを0.001mm単位で測長機にて測定することにより、加熱前後の4辺の長さのそれぞれの変化量を求めた。サンプルフィルムは2枚ずつ測定し、MD方向、TD方向それぞれの測定値の平均値を求め、収縮率とした。なお、値がマイナスの場合は収縮を意味し、プラスの場合は膨張を意味する。
(実施例1)
ノルボルネンとエチレンの共重合比率が82:18であり、ガラス転移温度180℃、MVR=1.5の共重合体を用いた。溶融押出法にて樹脂温度300℃、引取りロール温度130℃で、厚みが100μmになるように処理することで、フィルムを作製した。
(実施例1)
ノルボルネンとエチレンの共重合比率が82:18であり、ガラス転移温度180℃、MVR=1.5の共重合体を用いた。溶融押出法にて樹脂温度300℃、引取りロール温度130℃で、厚みが100μmになるように処理することで、フィルムを作製した。
次いでロール周速が7.0m/minとロール周速が14.0m/minの2本の異なる周速の金属ロール間を、フィルム温度を190℃に保った状態で走行させることにより、延伸倍率2.0倍、フィルム厚み86μm、リタデーション138nmのフィルムを得た。リタデーションは、王子計測機器製自動複屈折計 KOBRA 21-ADHで測定した。
得られたフィルムの160℃で30分での寸法変化率はMD=−0.46%、TD=0.22%であった。
得られたフィルムの強度は十分使用できるものであった。
(実施例2)
ノルボルネンとエチレンとの共重合比率が、82:18であり、ガラス転移温度180℃、MVR=1.5の共重合体を溶融押出法にて樹脂温度300℃、引取りロール温度130℃で、厚みが200μmになるようにフィルムを作製した。
得られたフィルムの強度は十分使用できるものであった。
(実施例2)
ノルボルネンとエチレンとの共重合比率が、82:18であり、ガラス転移温度180℃、MVR=1.5の共重合体を溶融押出法にて樹脂温度300℃、引取りロール温度130℃で、厚みが200μmになるようにフィルムを作製した。
次いでテンタークリップ方式の延伸機にて、速度1.0m/min、延伸倍率2.0倍、フィルム温度を185.5℃にて横延伸することにより、フィルム厚み95μm、リタデーション138nmのフィルムを得た。
得られたフィルムの160℃で30分での寸法変化率はMD=−0.06%、TD=−0.12%であった。
得られたフィルムの160℃で30分での寸法変化率はMD=−0.06%、TD=−0.12%であった。
得られたフィルムの強度は十分使用できるものであった。
次に、本発明の別の実施の形態について、実施の形態1との差異を中心に説明する。
<実施の形態2>
(ガスバリアフィルム2の構成)
図4(a)は本発明の機能性フィルムの一例である、ガスバリアフィルム2の構成を示す模式断面図である。
次に、本発明の別の実施の形態について、実施の形態1との差異を中心に説明する。
<実施の形態2>
(ガスバリアフィルム2の構成)
図4(a)は本発明の機能性フィルムの一例である、ガスバリアフィルム2の構成を示す模式断面図である。
ガスバリアフィルム2は、実施の形態1の色調補正フィルム1を基材フィルムとし、当該フィルムの一方の面に、ガスバリア層10を形成してなる。
ガスバリア層10は、少なくとも水蒸気および酸素に対する高いガスバリア性と、高い光線透過性を有する層である。
具体的にガスバリア層10は、酸化物、酸窒化物、窒化物のうちの1種以上のケイ素化物(SiO2等のSiOx系、SiON、SiN等)を含む無機材料を用いて成膜される。具体的な成膜方法としては、スパッタリング等の真空成膜法を例示できる。
ガスバリア層10は、少なくとも水蒸気および酸素に対する高いガスバリア性と、高い光線透過性を有する層である。
具体的にガスバリア層10は、酸化物、酸窒化物、窒化物のうちの1種以上のケイ素化物(SiO2等のSiOx系、SiON、SiN等)を含む無機材料を用いて成膜される。具体的な成膜方法としては、スパッタリング等の真空成膜法を例示できる。
以下に、酸化珪素(SiOx)からなるガスバリア層の作製方法を例示すると、まず色調補正フィルム1をスパッタリング装置の送り出しロールに装着する。そして下記成膜条件にて、厚さ80nmの酸化珪素膜を形成し、ガスバリア層10とする。
[成膜条件]
具体的な成膜条件として、10−4Pa台まで真空引きを行った後、アルゴンガスおよび酸素ガスを導入してSiターゲットを用いて反応性スパッタリングを実施した。
[成膜条件]
具体的な成膜条件として、10−4Pa台まで真空引きを行った後、アルゴンガスおよび酸素ガスを導入してSiターゲットを用いて反応性スパッタリングを実施した。
なお、水蒸気バリア性を高めるためには、膜厚を1μm以上に設定するのがさらに望ましい。
なお、ガスバリア層10の膜厚が厚すぎるとクラックが発生するおそれがあり、逆に薄すぎると十分なガスバリア性を得にくいことがあるので留意すべきである。
また、無機材料としてはこれ以外にもケイ素化物、アルミニウム、ジルコニウム、タンタル、ニオブ、亜鉛、錫、インジウム化合物、の内のいずれか1種以上の酸化物、酸窒化物、窒化物を挙げられる。
なお、ガスバリア層10の膜厚が厚すぎるとクラックが発生するおそれがあり、逆に薄すぎると十分なガスバリア性を得にくいことがあるので留意すべきである。
また、無機材料としてはこれ以外にもケイ素化物、アルミニウム、ジルコニウム、タンタル、ニオブ、亜鉛、錫、インジウム化合物、の内のいずれか1種以上の酸化物、酸窒化物、窒化物を挙げられる。
ここで、ガスバリア層10は無機膜のみで構成する場合に限定されない。すなわち、図4(b)に示すように、ガスバリア層10と同じ構成及び成膜方法で構成された無機層110A、110Bと、所定の有機材料を含んでなる有機層120A、120Bとを繰り返し積層した多段構造で構成してもよい。
この場合、有機層120A、120Bとしては、鉱酸(無機酸)、水及び有機溶剤の存在下で重縮合する、主成分が直鎖状ポリマーよりなる公知樹脂(アクリル系樹脂やシリコン系樹脂、エポキシ系樹脂等、各種公知の紫外線硬化樹脂材料や熱硬化型樹脂材料の一方または両方)を用いるのが好適である。
この場合、有機層120A、120Bとしては、鉱酸(無機酸)、水及び有機溶剤の存在下で重縮合する、主成分が直鎖状ポリマーよりなる公知樹脂(アクリル系樹脂やシリコン系樹脂、エポキシ系樹脂等、各種公知の紫外線硬化樹脂材料や熱硬化型樹脂材料の一方または両方)を用いるのが好適である。
有機層120A、120Bの成膜工程を例示する。
まず前記樹脂材料を含む塗工液を用意する。公知塗工方式(ロールコート、グラビアコート、ナイフコート、ダイコートやディッピング等)により塗工液を基材表面に塗布し、溶媒を気化させた後、紫外線照射または加熱処理により硬化させて成膜する。最終的な有機層120A、120Bの膜厚としては0.1μm以上10μm以下の範囲に設定するのが好適で、1μm以上6μm以下の範囲に設定するのがさらに好適である。
まず前記樹脂材料を含む塗工液を用意する。公知塗工方式(ロールコート、グラビアコート、ナイフコート、ダイコートやディッピング等)により塗工液を基材表面に塗布し、溶媒を気化させた後、紫外線照射または加熱処理により硬化させて成膜する。最終的な有機層120A、120Bの膜厚としては0.1μm以上10μm以下の範囲に設定するのが好適で、1μm以上6μm以下の範囲に設定するのがさらに好適である。
熱硬化型樹脂材料を用いた具体的方法を例示すると、ジエチルジエトキシシラン、エチルトリエトキシシラン、テトラエトキシシランなどの有機シラン材料の一部加水分解、脱水縮合させたものと、これに所定容量のフルオロシラン化合物あるいはメチル基、エチル基等を有するオルガノシラン材料(オルガノシロキサン材料)を用意する。この材料に対し、メタノール、エタノール、イソプロパノール、ブタノールなどのアルコール系有機溶媒、水、塩酸を配合させ、ゾルとして調整したものを塗料とする。この塗料をグラビアコート法などのロールコーティング法で所定の最終膜厚となるように塗布する。塗布した塗料について所定の加熱処理(熱硬化処理)を行い、乾燥させると、オルガノポリシロキサンを含んでなる有機層120A、120Bが得られる。
(ガスバリアフィルム2の効果について)
以上の構成を有するガスバリアフィルム2においても、実施の形態1の色度調整フィルム1と同様に、優れた耐熱性、耐湿性、高い可視光透過率等の諸特性が発揮される。
このため、例えば無機層からなるガスバリア層10を高温下で成膜したり、処理等する際においても、ガスバリアフィルム2の熱損傷を抑制できる。
以上の構成を有するガスバリアフィルム2においても、実施の形態1の色度調整フィルム1と同様に、優れた耐熱性、耐湿性、高い可視光透過率等の諸特性が発揮される。
このため、例えば無機層からなるガスバリア層10を高温下で成膜したり、処理等する際においても、ガスバリアフィルム2の熱損傷を抑制できる。
さらに、ガスバリア層10の構成要素である無機酸化物の酸素成分を低減させ、ガスバリア特性を向上させる場合、一方で黄変を生じる可能性があるが、この場合も基材フィルム(ここではフィルム1)中に添加されているブルーイング成分101の色調補正効果によって、最適な色目の可視光が安定して得られる。
さらに、樹脂成分100自体がPET、PEN等と同等以上の良好なガスバリア特性を有しているため、ガスバリア層10とともに良好なガスバリア特性を発揮できる。
さらに、樹脂成分100自体がPET、PEN等と同等以上の良好なガスバリア特性を有しているため、ガスバリア層10とともに良好なガスバリア特性を発揮できる。
このような利点を有することで、ガスバリアフィルム2をディスプレイに適用する場合には、ディスプレイ面の表示特性において、CIE色度系のb*値が過度に上昇することがなく、良好な画像表示性能を維持できる。また、ガスバリアフィルム2が優れたガスバリア特性を有することで、LCDの発光層等を外気と遮断して変質を防ぎ、ディスプレイ全体の寿命特性を向上させることができる。
<実施の形態3>
(透明導電膜付フィルム3)
図5(a)に本発明の機能性フィルムの一例である、透明導電膜付フィルム3の模式断面図を示す。
<実施の形態3>
(透明導電膜付フィルム3)
図5(a)に本発明の機能性フィルムの一例である、透明導電膜付フィルム3の模式断面図を示す。
透明導電膜付フィルム3は、実施の形態1の色調補正フィルム1の一方の面に、透明導電膜20を形成してなる。
透明導電膜20は、公知の透明電極であって、10〜150nm程度の膜厚でスパッタリング法や真空蒸着法等の薄膜形成法を用い、所定のパターンで成膜されている。
ここではITO(インジウムスズ酸化物)膜として形成しているが、亜鉛、錫、インジウムのいずれかを含む透明導電酸化物を利用できる。この透明導電酸化物としては、ITO以外に、ZnO(酸化亜鉛)、AZO(アルミドープ酸化亜鉛)、GZO(ガリウムドープ酸化亜鉛)、IWO(タングステンドープ酸化インジウム)、ITiO(チタンドープ酸化インジウム)、SnO2(酸化錫)等を挙げることができる。
透明導電膜20は、公知の透明電極であって、10〜150nm程度の膜厚でスパッタリング法や真空蒸着法等の薄膜形成法を用い、所定のパターンで成膜されている。
ここではITO(インジウムスズ酸化物)膜として形成しているが、亜鉛、錫、インジウムのいずれかを含む透明導電酸化物を利用できる。この透明導電酸化物としては、ITO以外に、ZnO(酸化亜鉛)、AZO(アルミドープ酸化亜鉛)、GZO(ガリウムドープ酸化亜鉛)、IWO(タングステンドープ酸化インジウム)、ITiO(チタンドープ酸化インジウム)、SnO2(酸化錫)等を挙げることができる。
透明導電膜20は、上記したいずれかの透明導電酸化物からなる、単層構造または積層構造とすることもできる。
以上の構成を有する透明導電膜付フィルム3では、実施の形態1の色度調整フィルム1と同様に、優れた耐熱性、耐湿性、高い可視光透過率等の諸特性を期待できる。
従って、上記した薄膜形成法に基づき、透明導電膜をチャンバー内で成膜する場合に基材フィルム(色調補正フィルム1)が加熱されても、熱損傷を防ぎ、良好に透明導電膜20を成膜できる。ここで一般に、透明導電膜20は比較的高温状態で成膜すると、抵抗値の低減を図ることができるが、基材フィルムの熱損傷が問題となる。これに対して耐熱性に優れる色調フィルム1を利用することで、比較的高温での透明導電膜20の成膜が可能となり、優れた電気特性の透明導電膜付フィルム3を得ることができる。
以上の構成を有する透明導電膜付フィルム3では、実施の形態1の色度調整フィルム1と同様に、優れた耐熱性、耐湿性、高い可視光透過率等の諸特性を期待できる。
従って、上記した薄膜形成法に基づき、透明導電膜をチャンバー内で成膜する場合に基材フィルム(色調補正フィルム1)が加熱されても、熱損傷を防ぎ、良好に透明導電膜20を成膜できる。ここで一般に、透明導電膜20は比較的高温状態で成膜すると、抵抗値の低減を図ることができるが、基材フィルムの熱損傷が問題となる。これに対して耐熱性に優れる色調フィルム1を利用することで、比較的高温での透明導電膜20の成膜が可能となり、優れた電気特性の透明導電膜付フィルム3を得ることができる。
なお、抵抗値の低減のほかに、膜厚を増大させることで透明導電膜の低抵抗化が図れるが、透明性に優れる色調補正フィルム1を利用することで、一定の可視光透過性を発揮できるメリットも有する。
(透明導電膜付フィルムの変形例)
本発明の機能性フィルムに用いる基材フィルムは、実施の形態1の色調補正フィルム1を含む積層体であればよく、当該色調補正フィルム1のみに限定されない。例えば色調補正フィルム1の少なくとも一方の面にハードコート(HC)層を積層してなる基材フィルムを用いることもできる。
(透明導電膜付フィルムの変形例)
本発明の機能性フィルムに用いる基材フィルムは、実施の形態1の色調補正フィルム1を含む積層体であればよく、当該色調補正フィルム1のみに限定されない。例えば色調補正フィルム1の少なくとも一方の面にハードコート(HC)層を積層してなる基材フィルムを用いることもできる。
ここで図5(b)は、色調補正フィルム1の両面に、シロキサン系熱硬化型樹脂からなるHC層103A、103Bをそれぞれ形成した基材フィルム15を用い、HC層103Aの上面に透明導電膜20を形成した構成を例示している。
また、ガスバリア層10、10Aの表面に対し、保護層(不図示)を設けることができる。この保護層は、基材フィルム1及びガスバリア層10、10Aに対し、耐溶剤性(特にトルエン、キシレン等に対する耐性)及び耐アルカリ性(エッチング処理等の工程適性)を付与する目的で用いる層であって、120〜180℃の加熱処理で熱硬化する熱硬化型樹脂材料で構成される。具体的には、シロキサン系熱硬化型樹脂(HC剤)である日本精化株式会社製の「NSC−2451」を挙げることができる。
また、ガスバリア層10、10Aの表面に対し、保護層(不図示)を設けることができる。この保護層は、基材フィルム1及びガスバリア層10、10Aに対し、耐溶剤性(特にトルエン、キシレン等に対する耐性)及び耐アルカリ性(エッチング処理等の工程適性)を付与する目的で用いる層であって、120〜180℃の加熱処理で熱硬化する熱硬化型樹脂材料で構成される。具体的には、シロキサン系熱硬化型樹脂(HC剤)である日本精化株式会社製の「NSC−2451」を挙げることができる。
さらに、基材フィルムの一方の面にガスバリア層及び保護層を順次形成し、他方の主面に保護層のみを形成することもできる。このような工夫により、機能性フィルムの表面を良好に保護する効果を期待できる。
また、ガスバリア層および保護層を積層した上に、さらに透明導電膜を設けて、透明導電膜付きのガスバリアフィルムとすることもできる。このような構成とすることで、有機ELディスプレイ(OELD)等のガスバリア電極フィルムとして利用できる。
<性能確認試験>
続いて、本発明の性能確認試験を以下の手順で行った。
[サンプル作製方法]
まず、実施の形態1に記載したフィルム作製方法に基づき、且つ、ブルーイング成分を入れないで未処理基材を作製した。これを比較例1とした。
また、ガスバリア層および保護層を積層した上に、さらに透明導電膜を設けて、透明導電膜付きのガスバリアフィルムとすることもできる。このような構成とすることで、有機ELディスプレイ(OELD)等のガスバリア電極フィルムとして利用できる。
<性能確認試験>
続いて、本発明の性能確認試験を以下の手順で行った。
[サンプル作製方法]
まず、実施の形態1に記載したフィルム作製方法に基づき、且つ、ブルーイング成分を入れないで未処理基材を作製した。これを比較例1とした。
この比較例1の片面に(スパッタリングにて膜厚80nm)の条件で酸化珪素膜(SiOx)を作製した、未処理基材(比較例2)とした。
次に、実施の形態1に記載した作製方法に基づき、ブルーイング成分として、色素A(BASFジャパン株式会社製 K6911D(FP))を(0.4%)の重量比で混合し、フィルムを作製した。これを実施例3とした。
次に、実施の形態1に記載した作製方法に基づき、ブルーイング成分として、色素A(BASFジャパン株式会社製 K6911D(FP))を(0.4%)の重量比で混合し、フィルムを作製した。これを実施例3とした。
また、実施の形態1に記載した作製方法に基づき、ブルーイング成分として、色素B(BASFジャパン株式会社製 K7090(FP))を(0.4%)の重量比で混合し、フィルムを作製した。これを実施例4とした。
続いて、実施例3、4の各フィルムの片面に(スパッタリングにて膜厚80nm)の条件で酸化珪素膜(SiOx)からなる膜厚80nmのガスバリア層を作製し、それぞれ実施例5、6とした。
続いて、実施例3、4の各フィルムの片面に(スパッタリングにて膜厚80nm)の条件で酸化珪素膜(SiOx)からなる膜厚80nmのガスバリア層を作製し、それぞれ実施例5、6とした。
上記得られた比較例1、2、実施例3〜6の各フィルムについて、分光測色計(コニカミノルタ株式会社CM−3600D)を用い、D65光源、10度視野の条件で色度成分の測定を行った。また、ヘイズメーター(日本電色工業株式会社製 NDH−5000)により、全光線透過率およびヘイズの測定を行った。
この測定結果を表4、5に示す。
この測定結果を表4、5に示す。
また、分光光度計(日本分光株式会社製V−670/ARSN−733)を用いた分光透過率の測定結果を図6、7のグラフに示す。
図6の「未処理」は比較例1、「色調補正」は実施例3、「無機膜付未処理」は比較例2、「無機膜付色調補正」は実施例5を示す。
図7の「未処理」は比較例1、「色調補正」は実施例4、「無機膜付未処理」は比較例2、「無機膜付色調補正」は実施例6を示す。
図6の「未処理」は比較例1、「色調補正」は実施例3、「無機膜付未処理」は比較例2、「無機膜付色調補正」は実施例5を示す。
図7の「未処理」は比較例1、「色調補正」は実施例4、「無機膜付未処理」は比較例2、「無機膜付色調補正」は実施例6を示す。
上記実験結果では、まず表4の実施例3、4に示すように、色素A、Bのいずれのブルーイング成分を添加しても、比較例1に比べ、b*値がマイナス側に効果的に変化している。これにより、実施例3、4では良好に青色の色目が付与されたことを確認できる。本発明のブルーイング成分としては、一般的な染料、顔料を利用できると思われる。
さらに、表5に示すように、ガスバリアフィルム(比較例2)ではガスバリア層の存在により、b*値は正の方向の数値を有し、黄色の色目特性を有している。これに対して実施例5、6に示すように、色素AもしくはBを添加すると、b*値が低く抑えられ、色調効果が発揮されていることを確認できる。
なお、今回の実験では透明導電膜付フィルムは測定していないが、比較例2、実施例5、6の結果を見ると、ほぼ同様の結果が得られるものと思われる。
なお、今回の実験では透明導電膜付フィルムは測定していないが、比較例2、実施例5、6の結果を見ると、ほぼ同様の結果が得られるものと思われる。
次に図6、7に示す測定結果を見ると、実施例5、6のいずれも色調補正の効果により波長350〜450nm付近の可視光の吸収が抑えられ、安定した可視光透過が実現されているのが確認できる。また実施例3、4、5、6のいずれについても、ブルーイング成分を含まない比較例1、2と比べて可視光透過率の低下が小さく抑えられている。
以上の結果から、本発明の優位性が確認された。
<その他の事項>
本発明の色度調整フィルムは、実施の形態2、3に例示する機能性フィルムへの適用のほか、例えばAR(反射防止)層を積層した反射防止フィルムとして用いることも可能である。
以上の結果から、本発明の優位性が確認された。
<その他の事項>
本発明の色度調整フィルムは、実施の形態2、3に例示する機能性フィルムへの適用のほか、例えばAR(反射防止)層を積層した反射防止フィルムとして用いることも可能である。
本発明の機能性フィルムでは、基材フィルムの一方の面に、実施の形態2に係るガスバリア層10、他方の面に実施の形態3に係る透明導電膜20をそれぞれ形成することも勿論可能である。
本発明の色調補正フィルム及びこれを用いた機能性フィルムは、例えば有機ELディスプレイや液晶ディスプレイ等のFPDの表面、または電子ペーパー、太陽電池に組み込んだり、携帯電話機やノート型パソコン等の電子機器用タッチパネル、或いは各種券売機、キャッシュディスペンサーの表示面に配設する等、幅広い利用が可能である。
1、1X 色調補正フィルム
2、2A 機能性フィルム(ガスバリアフィルム)
3、3A 機能性フィルム(透明導電膜付フィルム)
10、10A ガスバリア層
15 基材フィルム(HC層付)
20 透明導電膜
100 樹脂成分
101 ブルーイング成分
102 粘着層(PSA層)
103A、103B HC層(紫外線硬化樹脂層)
110A、110B 無機層
120A、120B 有機層
2、2A 機能性フィルム(ガスバリアフィルム)
3、3A 機能性フィルム(透明導電膜付フィルム)
10、10A ガスバリア層
15 基材フィルム(HC層付)
20 透明導電膜
100 樹脂成分
101 ブルーイング成分
102 粘着層(PSA層)
103A、103B HC層(紫外線硬化樹脂層)
110A、110B 無機層
120A、120B 有機層
Claims (6)
- ノルボルネンとエチレンの共重合体である環状オレフィン系樹脂成分に対し、ブルーイング成分を添加してなる
ことを特徴とする、色調補正フィルム。 - 前記環状オレフィン系樹脂は、ノルボルネンとエチレンとの共重合比率が80:20〜90:10であり、
メルトボリュームレートが0.8〜2.0cm3/10分の条件で形成されている
ことを特徴とする、請求項1に記載の色調補正フィルム。 - リタデーションが100〜150nmであることを特徴とする、請求項1または2に記載の色調補正フィルム。
- 基材フィルムの少なくとも一方の表面に無機膜が形成され、
前記基材フィルムが請求項1〜3に記載の色調補正フィルムを含んで構成されている
ことを特徴とする、機能性フィルム。 - 前記無機膜が透明導電膜である
ことを特徴とする、請求項4に記載の機能性フィルム。 - 前記無機膜がガスバリア層である
ことを特徴とする、請求項4に記載の機能性フィルム。
Priority Applications (1)
| Application Number | Priority Date | Filing Date | Title |
|---|---|---|---|
| JP2011032361A JP2012171984A (ja) | 2011-02-17 | 2011-02-17 | 色調補正フィルムとこれを用いた機能性フィルム |
Applications Claiming Priority (1)
| Application Number | Priority Date | Filing Date | Title |
|---|---|---|---|
| JP2011032361A JP2012171984A (ja) | 2011-02-17 | 2011-02-17 | 色調補正フィルムとこれを用いた機能性フィルム |
Publications (1)
| Publication Number | Publication Date |
|---|---|
| JP2012171984A true JP2012171984A (ja) | 2012-09-10 |
Family
ID=46975202
Family Applications (1)
| Application Number | Title | Priority Date | Filing Date |
|---|---|---|---|
| JP2011032361A Withdrawn JP2012171984A (ja) | 2011-02-17 | 2011-02-17 | 色調補正フィルムとこれを用いた機能性フィルム |
Country Status (1)
| Country | Link |
|---|---|
| JP (1) | JP2012171984A (ja) |
Cited By (8)
| Publication number | Priority date | Publication date | Assignee | Title |
|---|---|---|---|---|
| WO2014050743A1 (ja) * | 2012-09-28 | 2014-04-03 | 日本ゼオン株式会社 | 複合ガスバリア積層体及びその製造方法、並びに複合電極 |
| JP2015102975A (ja) * | 2013-11-22 | 2015-06-04 | 大日本印刷株式会社 | フィルムセンサ、フィルムセンサの製造方法、タッチ位置検出機能付き表示装置、およびフィルムセンサを作製するための積層体 |
| WO2015129626A1 (ja) * | 2014-02-26 | 2015-09-03 | リンテック株式会社 | ガスバリア性積層体、電子デバイス用部材、および電子デバイス |
| JP2016020052A (ja) * | 2014-07-14 | 2016-02-04 | 三菱樹脂株式会社 | 積層体 |
| EP3010063A1 (en) * | 2014-10-13 | 2016-04-20 | Samsung Display Co., Ltd. | Transparent display devices and methods of manufacturing transparent display devices |
| KR20160046978A (ko) * | 2014-10-20 | 2016-05-02 | 삼성디스플레이 주식회사 | 투명 표시 장치 및 이의 제조 방법 |
| WO2017051826A1 (ja) * | 2015-09-24 | 2017-03-30 | 日立化成株式会社 | 積層体及びその製造方法、フィルムセット、並びに、感光性導電フィルム |
| JP2020011516A (ja) * | 2014-07-14 | 2020-01-23 | 三菱ケミカル株式会社 | 積層体 |
-
2011
- 2011-02-17 JP JP2011032361A patent/JP2012171984A/ja not_active Withdrawn
Cited By (21)
| Publication number | Priority date | Publication date | Assignee | Title |
|---|---|---|---|---|
| EP2907657A4 (en) * | 2012-09-28 | 2016-06-22 | Zeon Corp | COMPOUND GASSPERRLAMINATE AND METHOD FOR THE PRODUCTION THEREOF AND COMPOSITE ELECTRODE |
| CN104619485A (zh) * | 2012-09-28 | 2015-05-13 | 日本瑞翁株式会社 | 复合阻气叠层体及其制造方法、以及复合电极 |
| KR20150065671A (ko) * | 2012-09-28 | 2015-06-15 | 니폰 제온 가부시키가이샤 | 복합 가스 배리어 적층체 및 그의 제조 방법, 및 복합 전극 |
| WO2014050743A1 (ja) * | 2012-09-28 | 2014-04-03 | 日本ゼオン株式会社 | 複合ガスバリア積層体及びその製造方法、並びに複合電極 |
| US10707442B2 (en) | 2012-09-28 | 2020-07-07 | Zeon Corporation | Composite gas barrier multilayer body, method for producing the same, and composite electrode |
| KR102049841B1 (ko) | 2012-09-28 | 2019-11-28 | 니폰 제온 가부시키가이샤 | 복합 가스 배리어 적층체 및 그의 제조 방법, 및 복합 전극 |
| JP2015102975A (ja) * | 2013-11-22 | 2015-06-04 | 大日本印刷株式会社 | フィルムセンサ、フィルムセンサの製造方法、タッチ位置検出機能付き表示装置、およびフィルムセンサを作製するための積層体 |
| WO2015129626A1 (ja) * | 2014-02-26 | 2015-09-03 | リンテック株式会社 | ガスバリア性積層体、電子デバイス用部材、および電子デバイス |
| JPWO2015129626A1 (ja) * | 2014-02-26 | 2017-03-30 | リンテック株式会社 | ガスバリア性積層体、電子デバイス用部材、および電子デバイス |
| JP2016020052A (ja) * | 2014-07-14 | 2016-02-04 | 三菱樹脂株式会社 | 積層体 |
| JP2020011516A (ja) * | 2014-07-14 | 2020-01-23 | 三菱ケミカル株式会社 | 積層体 |
| KR20160043549A (ko) * | 2014-10-13 | 2016-04-22 | 삼성디스플레이 주식회사 | 투명 표시 장치 및 이의 제조 방법 |
| CN105514051A (zh) * | 2014-10-13 | 2016-04-20 | 三星显示有限公司 | 透明显示装置和制造透明显示装置的方法 |
| US10510984B2 (en) | 2014-10-13 | 2019-12-17 | Samsung Display Co., Ltd. | Transparent display devices and methods of manufacturing transparent display devices |
| EP3010063A1 (en) * | 2014-10-13 | 2016-04-20 | Samsung Display Co., Ltd. | Transparent display devices and methods of manufacturing transparent display devices |
| CN105514051B (zh) * | 2014-10-13 | 2020-09-04 | 三星显示有限公司 | 透明显示装置和制造透明显示装置的方法 |
| US10971701B2 (en) | 2014-10-13 | 2021-04-06 | Samsung Display Co., Ltd. | Transparent display devices and methods of manufacturing transparent display devices |
| KR102329691B1 (ko) * | 2014-10-13 | 2021-11-23 | 삼성디스플레이 주식회사 | 투명 표시 장치 및 이의 제조 방법 |
| KR20160046978A (ko) * | 2014-10-20 | 2016-05-02 | 삼성디스플레이 주식회사 | 투명 표시 장치 및 이의 제조 방법 |
| KR102410985B1 (ko) * | 2014-10-20 | 2022-06-21 | 삼성디스플레이 주식회사 | 투명 표시 장치 및 이의 제조 방법 |
| WO2017051826A1 (ja) * | 2015-09-24 | 2017-03-30 | 日立化成株式会社 | 積層体及びその製造方法、フィルムセット、並びに、感光性導電フィルム |
Similar Documents
| Publication | Publication Date | Title |
|---|---|---|
| JP2012171984A (ja) | 色調補正フィルムとこれを用いた機能性フィルム | |
| JP4575384B2 (ja) | 透明導電性積層体および透明タッチパネル | |
| TWI556269B (zh) | 透明導體、製備其的方法以及包括其的光學顯示器 | |
| US7781055B2 (en) | Transparent heat shielding multilayer structure | |
| KR102161963B1 (ko) | 투명 적층 필름, 투명 도전성 필름 및 가스 배리어성 적층 필름 | |
| KR101819094B1 (ko) | 투명 플렉시블 필름 및 이의 제조방법 | |
| KR101959712B1 (ko) | 적외선 흡수층을 포함하는 광학 필름 | |
| JPWO2005100014A1 (ja) | 透明ガスバリア性積層フィルム | |
| JP5417698B2 (ja) | 機能性フィルムの製造方法 | |
| JP2011079219A (ja) | ガスバリアフィルムおよびその製造方法 | |
| WO2020031632A1 (ja) | 光透過性導電フィルムおよび調光フィルム | |
| KR102020990B1 (ko) | 스마트 윈도우용 투명전극필름, 이의 제조방법 및 이를 포함하는 pdlc 스마트 윈도우 | |
| CN105636775A (zh) | 阻挡膜及制备该阻挡膜方法 | |
| EP3603960B1 (en) | Transparent conductive gas barrier laminate | |
| JP2011218586A (ja) | 透明ガスバリアフィルム | |
| JP5192792B2 (ja) | 透明導電膜とその製造方法 | |
| JP5673158B2 (ja) | 薄膜の製造方法及び薄膜形成用の共蒸着用蒸着材 | |
| JP2013091290A (ja) | 透明ガスバリア積層体 | |
| JP6434366B2 (ja) | 透明導電性積層体 | |
| JP2015044302A (ja) | 透明積層フィルム及び透明基板 | |
| CN108602316A (zh) | 层叠薄膜 | |
| JP4316868B2 (ja) | 透明導電積層体 | |
| CN105814647A (zh) | 透明导电性层合体、透明导电性层合体的制造方法、以及使用透明导电性层合体而成的电子装置 | |
| JP7100368B2 (ja) | ガスバリアフィルム | |
| JP2008210613A (ja) | 透明導電性積層体及びそれを用いた表示装置 |
Legal Events
| Date | Code | Title | Description |
|---|---|---|---|
| A300 | Withdrawal of application because of no request for examination |
Free format text: JAPANESE INTERMEDIATE CODE: A300 Effective date: 20140513 |
